CN213220267U - A pressurized breathing mask that can suck phlegm - Google Patents

A pressurized breathing mask that can suck phlegm Download PDF

Info

Publication number
CN213220267U
CN213220267U CN202020922183.3U CN202020922183U CN213220267U CN 213220267 U CN213220267 U CN 213220267U CN 202020922183 U CN202020922183 U CN 202020922183U CN 213220267 U CN213220267 U CN 213220267U
Authority
CN
China
Prior art keywords
main body
joint
water
mask
sputum
Prior art date
Legal status (The legal status is an assumption and is not a legal conclusion. Google has not performed a legal analysis and makes no representation as to the accuracy of the status listed.)
Expired - Fee Related
Application number
CN202020922183.3U
Other languages
Chinese (zh)
Inventor
陶小燕
路建
王庆霞
Current Assignee (The listed assignees may be inaccurate. Google has not performed a legal analysis and makes no representation or warranty as to the accuracy of the list.)
Zhejiang Yage Biotechnology Co ltd
Original Assignee
Second Hospital Iaxing
Priority date (The priority date is an assumption and is not a legal conclusion. Google has not performed a legal analysis and makes no representation as to the accuracy of the date listed.)
Filing date
Publication date
Application filed by Second Hospital Iaxing filed Critical Second Hospital Iaxing
Priority to CN202020922183.3U priority Critical patent/CN213220267U/en
Application granted granted Critical
Publication of CN213220267U publication Critical patent/CN213220267U/en
Expired - Fee Related legal-status Critical Current
Anticipated expiration legal-status Critical

Links

Images

Landscapes

  • Respiratory Apparatuses And Protective Means (AREA)

Abstract

本实用新型公开了一种可以吸痰的加压呼吸面罩,包括吸痰通道主体、面罩主体、吸水圆锥接头和呼出气体消毒机;所述吸痰通道主体右侧设有密封盖,所述吸痰通道主体内部设有密封单向瓣膜,所述面罩主体位于吸痰通道主体左侧,所述面罩主体下方设有第一接头和第二接头,所述第一接头和第二接头中间设有吸水圆锥接头,所述呼出气体消毒机位于第二接头所连接的通路上。本实用新型科学合理,使用安全方便,不卸下患者呼吸面罩即可吸痰,防止吸痰过程中气溶胶污染环境,有利于保护医护人员。吸水圆锥接口吸收管路中的水滴,防止水滴流入面罩内,同时含有香精可减轻呼吸面罩的塑料味,提高舒适感。且呼出气体消毒后无害化排放,有利于防止病毒细菌传播。

Figure 202020922183

The utility model discloses a pressurized breathing mask capable of sucking sputum, comprising a sputum-suction channel body, a mask body, a water-absorbing conical joint and an exhaled gas sterilizer; a sealing cover is provided on the right side of the sputum-suction channel body, and the suction A sealed one-way valve is arranged inside the main body of the sputum channel, the main body of the mask is located on the left side of the main body of the suction channel, a first joint and a second joint are arranged under the main body of the mask, and there is a middle between the first joint and the second joint. A water suction cone joint, and the exhaled gas sterilizer is located on the passage connected with the second joint. The utility model is scientific and reasonable, safe and convenient to use, can suck sputum without removing the patient's breathing mask, prevents aerosol from polluting the environment during the sputum sucking process, and is beneficial to protecting medical staff. The water-absorbing cone interface absorbs water droplets in the pipeline to prevent the water droplets from flowing into the mask, and the fragrance can reduce the plastic smell of the breathing mask and improve the comfort. In addition, the exhaled air is discharged harmlessly after disinfection, which is beneficial to prevent the spread of viruses and bacteria.

Figure 202020922183

Description

Pressure breathing mask capable of sucking phlegm
Technical Field
The utility model relates to a respirator technical field specifically is a pressurization respirator that can inhale phlegm.
Background
The pressurizing breathing mask mainly comprises a nose clip, a mask, an elastic band, a mask joint, a conical joint and the like, and is made of plastic, organic silicon or rubber. When in use, the mask is covered on the nose or the mouth and the nose and is connected with oxygen for oxygen therapy of patients with dyspnea and anoxia; for patients who cannot breathe spontaneously, the ventilator may be used to assist in breathing.
The existing breathing mask is not provided with a hole into which a sputum suction tube is inserted, the breathing mask needs to be taken off when sputum is sucked, but a large amount of aerosol is generated in the sputum suction process, and a ward or an operation environment is polluted. If the patient who sucks the sputum carries the virus infected by the respiratory tract, the virus is very easy to spread, and if the protective measures of the medical care personnel are not in place, the risk of infection exists. The device is provided with the sputum suction channel consisting of three overlapped valves, so that medical personnel can suck sputum without detaching the breathing mask of the patient, the use is convenient, aerosol pollution to the environment in the sputum suction process is prevented, and the protection of the medical personnel is facilitated. Secondly, when the existing breathing mask is connected with a breathing machine pipeline or an oxygen pipeline, humidified oxygen passes through the pipeline, and then the inner wall of the pipeline easily forms water drops and flows into the inner wall of the mask, so that the use of a patient is influenced; this device sets up the interlayer in the circular cone interface in order to place the cotton that absorbs water, absorbs the water droplet in the pipeline, prevents in the water droplet inflow face guard that contains essence in the cotton that absorbs water simultaneously and can alleviate respirator's plastics flavor, improves the comfort. Finally, the existing breathing mask does not sterilize the exhaled air, and if the patient carries viruses infected by the respiratory tract, the patient is easy to be infected by other people. This device is equipped with the expired gas sterilizer, and the gas of expiration discharges from expired gas passageway, and the innoxious emission after the disinfection is favorable to preventing the propagation of virus bacterium.
Therefore, a pressurized respiratory mask capable of sucking sputum is required to solve the above problems.
SUMMERY OF THE UTILITY MODEL
An object of the utility model is to provide a pressurization respirator that can inhale phlegm to solve the problem that provides among the prior art.
In order to achieve the above object, the utility model provides a following technical scheme: comprises a sputum suction channel main body, a mask main body, a water suction conical joint and an exhaled air sterilizer; inhale phlegm passageway main part right side and be equipped with sealed lid, sealed lid right side is equipped with the fixture block, inhale the inside sealed check valve that is equipped with of phlegm passageway main part, it is equipped with the draw-in groove to inhale phlegm passageway main part top, it is equipped with locking device to inhale phlegm passageway main part below, the face guard main part is located inhales phlegm passageway main part left side, face guard main part below is equipped with first joint and second and connects, be equipped with the conical joint that absorbs water in the middle of first joint and the second connect, face guard main part left side is equipped with the gasbag, the gasbag edge is equipped with the bandeau, the gasbag below is equipped with aerifys the interface, the gaseous sterilizing machine of exhalation is located the.
The sputum suction channel main body is beneficial to the placement of the sputum suction tube, and the breathing mask does not need to be detached when in use. The sealing cover is beneficial to sealing the sputum suction channel body when not in use. The clamping block and the clamping groove are favorable for fixing the sealing cover after the sealing cover is opened, and the operation of the sputum suction tube is facilitated. The sealed one-way valve only allows the sputum suction tube to enter and take out in one way, and seals the contact part of the valve and the sputum suction tube, thereby preventing aerosol, sputum and the like generated in the sputum suction process from splashing. The locking means facilitate the closure of the sealing cover. The first connector is used for connecting an oxygen pipeline and can assist in supplying oxygen for the sputum suction of the patient with dyspnea; the second joint is used for connecting an expired gas pipeline and is beneficial to exhausting expired gas; the water absorption conical joint is used for connecting a breathing machine pipeline or an oxygen pipeline and is used when a patient inhales oxygen, and the breathing machine can be used for assisting breathing when the patient cannot breathe independently, so that water drops generated by the absorption pipeline are favorably absorbed. The air bag is beneficial to the attachment of the breathing mask and the face, can prevent pressure sores, and the head band is beneficial to fixing the breathing mask. The exhaled air sterilizer is favorable for harmless emission after sterilizing exhaled air.
Preferably, the water absorption conical joint comprises a connector, a water absorption head and water absorption cotton; the improved water absorption device is characterized in that an embedded block is connected to the lower portion of the connector, the water absorption head is located on the lower portion of the connector, an interlayer is arranged in the middle of the water absorption head, the water absorption cotton is located in the interlayer, and a fixing strip is arranged on the outer portion of the water absorption cotton.
The connector is favorable for connecting a breathing machine pipeline or an oxygen pipeline, the embedded block is matched with the interlayer to enable the connector to be connected with the water suction head, the interlayer is favorable for placing absorbent cotton, the absorbent cotton is favorable for absorbing water drops in the pipeline, and the fixing strip is favorable for fixing the absorbent cotton.
Preferably, the absorbent cotton comprises a surface layer, an absorbent layer and a bottom layer; the outer side of the surface layer is provided with a water absorbing layer, and the outer side of the water absorbing layer is provided with a bottom layer. The surface layer is favorable for quick water absorption, the water absorption layer can absorb and store water, and the bottom layer can prevent water from penetrating through the bottom of the absorbent cotton.
Preferably, the water absorbing layer is a water absorbing layer composed of high molecular water absorbing resin particles. The water absorbing capacity and water locking capacity of the polymer water absorbing resin particles are strong.
Preferably, the essence is added to the water absorbing layer, so that the plastic smell generated in the oxygen inhalation process after the pressurized breathing mask is worn is reduced, and the comfort of a user is improved.
Preferably, the locking device comprises a locking block and a lock catch; the locking block is positioned on the side surface of the sputum suction channel body, and the lock catch is positioned on the side surface of the sealing cover. The locking piece is favorable for locking the locking buckle to fix the sealing cover.
Preferably, the sealed one-way valve is formed by overlapping a plurality of valves. Several valves are overlapped to increase the sealing performance of the sputum-aspirating tube sealed by the one-way valve.
Compared with the prior art, the beneficial effects of the utility model are that:
1. the device is provided with the sputum suction channel consisting of three overlapped valves, so that medical personnel can suck sputum without detaching the breathing mask of the patient, the use is convenient, aerosol pollution to the environment in the sputum suction process is prevented, and the protection of the medical personnel is facilitated.
2. This device sets up the interlayer in the circular cone interface in order to place the cotton that absorbs water, absorbs the water droplet in the pipeline, prevents in the water droplet inflow face guard that contains essence in the cotton that absorbs water simultaneously and can alleviate respirator's plastics flavor, improves the comfort.
3. This device is equipped with the expired gas sterilizer, and the gas of expiration discharges from expired gas passageway, and the innoxious emission after the disinfection is favorable to preventing the propagation of virus bacterium.
Drawings
FIG. 1 is a schematic front view of a pressurized respirator for sucking sputum according to the present invention;
FIG. 2 is a schematic side view of a pressurized respirator for sucking sputum according to the present invention;
FIG. 3 is a schematic view of the whole three-dimensional structure of the water-absorbing cone joint of the pressurized respirator capable of sucking sputum;
FIG. 4 is a schematic view of a separated three-dimensional structure of a water-absorbing conical joint of a pressurized respirator capable of sucking sputum;
fig. 5 is a schematic view of the absorbent cotton structure of the pressurized respirator capable of sucking sputum according to the present invention.
Fig. 6 is a schematic view of the three-dimensional structure of the sputum aspirating channel main body and the sealing cover of the pressurized respirator capable of aspirating sputum of the present invention.
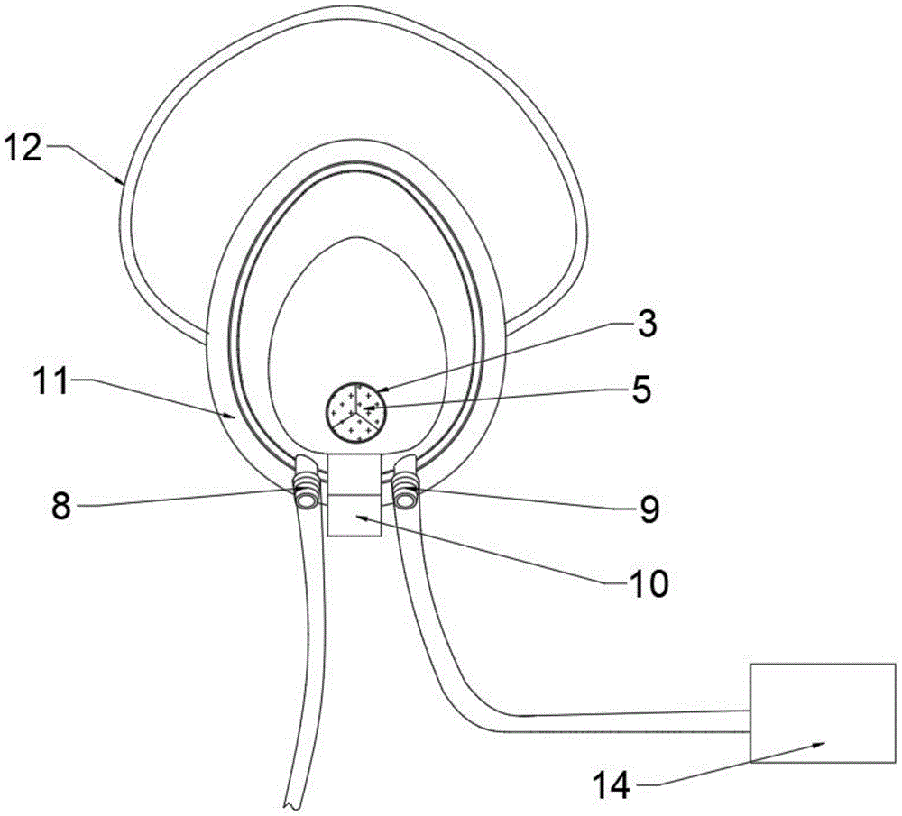
Reference numbers in the figures: 1. a clamping block; 2. a sealing cover; 3. a sputum aspirating channel body; 4. a locking device; 4-1, locking block; 4-2, locking; 5. sealing the one-way valve; 6. a card slot; 7. a mask body; 8. a first joint; 9. a second joint; 10. a water-absorbing conical joint; 10-1, a connector; 10-2, embedding blocks; 10-3, a water suction head; 10-4, an interlayer; 10-5, fixing strips; 10-6, absorbent cotton; 10-6-1, surface layer; 10-6-2 parts of a water absorbing layer; 10-6-3, bottom layer; 11. an air bag; 12. a headband; 13. an inflation interface; 14. an expired air sterilizer.
Detailed Description
The technical solutions in the embodiments of the present invention will be described clearly and completely with reference to the accompanying drawings in the embodiments of the present invention, and it is obvious that the described embodiments are only some embodiments of the present invention, not all embodiments. Based on the embodiments in the present invention, all other embodiments obtained by a person skilled in the art without creative work belong to the protection scope of the present invention.
Example (b): as shown in figures 1-6, the utility model provides a technical proposal, a pressure breathing mask capable of sucking phlegm, which comprises a phlegm sucking channel main body 3, a mask main body 7, a water absorption conical joint 10 and an expired air sterilizer 14. The sputum suction channel body 3 is used for placing a sputum suction tube, and a breathing mask does not need to be detached when the sputum suction channel is used. The right side of the sputum suction channel body 3 is provided with a sealing cover 2 for sealing the sputum suction channel body 3 when not in use. The right side of the sealing cover 2 is provided with a clamping block 1, a sealing one-way valve 5 is arranged in the sputum suction channel main body 3, the sealing one-way valve 5 only allows the sputum suction tube to enter and take out in one way and seals the contact place of the valve and the sputum suction tube, so that aerosol, sputum and the like generated in the sputum suction process are prevented from splashing; a clamping groove 6 is formed above the sputum suction channel main body 3, and the clamping block 1 and the clamping groove 6 are beneficial to fixing the sealing cover 2 after being opened and are beneficial to the operation of a sputum suction pipe. A locking device 4 is arranged below the sputum suction channel body 3 and used for closing the sealing cover 2. The mask main body 7 is positioned at the left side of the sputum suction channel main body 3, a first joint 8 and a second joint 9 are arranged below the mask main body 7, and a water absorption conical joint 10 is arranged between the first joint 8 and the second joint 9; the first connector 8 is used for connecting an oxygen pipeline and can assist in supplying oxygen for the sputum suction of the patient with dyspnea; the second joint 9 is used for connecting an expired gas pipeline and can exhaust expired gas; the water absorption conical joint 10 is used for connecting a breathing machine pipeline or an oxygen pipeline, the breathing machine can be used for assisting breathing when a patient cannot breathe by oneself, and water drops generated by the pipeline can be absorbed. The left side of the mask main body 7 is provided with an air bag 11, and the air bag 11 is used for the jointing of the breathing mask and the face and can prevent pressure sores. The edges of the air bag 11 are provided with a head band 12, and the head band 12 is beneficial to fixing the breathing mask. An inflation interface is arranged below the air bag 11, and an expired air sterilizer 14 is positioned on a passage connected with the second connector 9 and used for discharging the expired air after sterilization.
The water absorption conical joint 10 comprises a connector 10-1, a water absorption head 10-3 and water absorption cotton 10-6; the connector 10-1 is used for connecting a breathing machine pipeline or an oxygen pipeline, an embedded block 10-2 is connected below the connector 10-1, and the embedded block 10-2 is matched with the interlayer 10-4 to connect the connector 10-1 with the water suction head 10-3. The water suction head 10-3 is positioned below the connector 10-1, the middle of the water suction head 10-3 is provided with an interlayer 10-4, and the interlayer 10-4 is used for placing absorbent cotton. The absorbent cotton 10-6 is positioned in the interlayer 10-4 and is used for absorbing water drops in the pipeline. The outside of the absorbent cotton 10-6 is provided with a fixing strip 10-5 for fixing the absorbent cotton 10-6.
The absorbent cotton 10-6 comprises a surface layer 10-6-1, an absorbent layer 10-6-2 and a bottom layer 10-6-3; the outer side of the surface layer 10-6-1 is provided with a water absorption layer 10-6-2, and the outer side of the water absorption layer 10-6-2 is provided with a bottom layer 10-6-3. The surface layer 10-6-1 can absorb water quickly, the water absorbing layer 10-6-2 can absorb water and store the water, and the bottom layer 10-6-3 can prevent the water from penetrating through the bottom of the water absorbing cotton 10-6.
The water absorbing layer 10-6-2 is a water absorbing layer 10-6-2 composed of high molecular water absorbing resin particles, and has strong water absorbing capacity and water locking capacity.
The essence is added into the water absorption layer 10-6-2, so that the plastic smell in the oxygen inhalation process after the pressurized breathing mask is worn can be reduced, and the comfort of a user is improved.
The locking device 4 comprises a locking block 4-1 and a lock catch 4-2; the locking block 4-1 is positioned on the side surface of the sputum suction channel body 3, and the lock catch 4-2 is positioned on the side surface of the sealing cover 2. The locking piece 4-1 is beneficial to the locking buckle 4-2 to fix the sealing cover 2.
The sealed one-way valve 5 is a sealed one-way valve 5 formed by overlapping a plurality of valves. The sealed one-way valve 5 is formed by overlapping three valves, and the sealing performance of the sealed one-way valve 5 on the sputum suction tube is improved.
The utility model discloses a theory of operation is: when in use, the mask body 7 is buckled on the mouth and nose parts of a patient, and the head bands 12 are worn to ensure that the air bag 11 is tightly attached to the face parts. If need inhale the phlegm, open locking device 4, then open sealed lid 2, with 1 block of fixture block inside draw-in groove 6, will inhale the phlegm pipe and stretch into from inhaling phlegm passageway main part 3, advance into patient's mouth and inhale the phlegm behind sealed one-way valve 5, sealed one-way valve 5 only allows to inhale the one-way entering of phlegm pipe and takes out to seal the valve and inhale the place that the phlegm pipe contacted, prevent to inhale the spill such as aerosol, sputum that the phlegm in-process produced. If the respiratory function of the patient is poor, the patient can be connected with an oxygen passage in the sputum aspiration process. If the patient does not need to inhale the sputum, the first connector 8 is used for connecting an oxygen pipeline, the second connector 9 is used for connecting an exhalation gas pipeline to discharge exhalation gas, and the water absorption conical connector 10 is used for connecting a breathing machine pipeline or an oxygen pipeline to supply the patient to inhale the oxygen. During the oxygen inhalation process, water drops can be generated in the pipeline and flow into the mask main body 7, and the water absorption conical joint 10 can absorb the water drops generated in the pipeline. The exhaled air sterilizer 14 sterilizes the exhaled air of the patient and then discharges the sterilized exhaled air harmlessly.
It is obvious to a person skilled in the art that the invention is not restricted to details of the above-described exemplary embodiments, but that it can be implemented in other specific forms without departing from the spirit or essential characteristics of the invention. The present embodiments are therefore to be considered in all respects as illustrative and not restrictive, the scope of the invention being indicated by the appended claims rather than by the foregoing description, and all changes which come within the meaning and range of equivalency of the claims are therefore intended to be embraced therein. Any reference sign in a claim should not be construed as limiting the claim concerned.

Claims (7)

1. A pressure breathing mask capable of sucking phlegm is characterized in that: comprises a sputum suction channel main body (3), a mask main body (7), a water suction conical joint (10) and an expired air sterilizer (14); a sealing cover (2) is arranged on the right side of the sputum suction channel main body (3), a clamping block (1) is arranged on the right side of the sealing cover (2), a sealing one-way valve (5) is arranged inside the sputum suction channel main body (3), a clamping groove (6) is arranged above the sputum suction channel main body (3), a locking device (4) is arranged below the sputum suction channel main body (3), the mask main body (7) is positioned at the left side of the sputum suction channel main body (3), a first joint (8) and a second joint (9) are arranged below the mask main body (7), a water absorption conical joint (10) is arranged between the first joint (8) and the second joint (9), an air bag (11) is arranged on the left side of the mask main body (7), a head band (12) is arranged on the edge of the air bag (11), an inflation interface is arranged below the air bag (11), and the exhaled air sterilizer (14) is positioned on a passage connected with the second connector (9).
2. The pressurized respiratory mask as claimed in claim 1, wherein: the water absorption conical joint (10) comprises a connector (10-1), a water absorption head (10-3) and water absorption cotton (10-6); the water absorption device is characterized in that an embedded block (10-2) is connected below the connector (10-1), the water absorption head (10-3) is located below the connector (10-1), an interlayer (10-4) is arranged in the middle of the water absorption head (10-3), the water absorption cotton (10-6) is located in the interlayer (10-4), and a fixing strip (10-5) is arranged outside the water absorption cotton (10-6).
3. A pressurized respiratory mask as claimed in claim 2, wherein: the water-absorbing cotton (10-6) comprises a surface layer (10-6-1), a water-absorbing layer (10-6-2) and a bottom layer (10-6-3); the outer side of the surface layer (10-6-1) is provided with a water absorption layer (10-6-2), and the outer side of the water absorption layer (10-6-2) is provided with a bottom layer (10-6-3).
4. A pressurized respiratory mask as claimed in claim 3, wherein: the water absorbing layer (10-6-2) is a water absorbing layer (10-6-2) composed of high molecular water absorbing resin particles.
5. The pressurized respiratory mask for sputum aspiration as claimed in claim 4, wherein: essence is added into the water absorption layer (10-6-2).
6. The pressurized respiratory mask as claimed in claim 1, wherein: the locking device (4) comprises a locking block (4-1) and a lock catch (4-2); the lock block (4-1) is positioned on the side surface of the sputum suction channel main body (3), and the lock catch (4-2) is positioned on the side surface of the sealing cover (2).
7. The pressurized respiratory mask as claimed in claim 1, wherein: the sealing one-way valve (5) is formed by overlapping a plurality of valves.
CN202020922183.3U 2020-05-27 2020-05-27 A pressurized breathing mask that can suck phlegm Expired - Fee Related CN213220267U (en)

Priority Applications (1)

Application Number Priority Date Filing Date Title
CN202020922183.3U CN213220267U (en) 2020-05-27 2020-05-27 A pressurized breathing mask that can suck phlegm

Applications Claiming Priority (1)

Application Number Priority Date Filing Date Title
CN202020922183.3U CN213220267U (en) 2020-05-27 2020-05-27 A pressurized breathing mask that can suck phlegm

Publications (1)

Publication Number Publication Date
CN213220267U true CN213220267U (en) 2021-05-18

Family

ID=75868023

Family Applications (1)

Application Number Title Priority Date Filing Date
CN202020922183.3U Expired - Fee Related CN213220267U (en) 2020-05-27 2020-05-27 A pressurized breathing mask that can suck phlegm

Country Status (1)

Country Link
CN (1) CN213220267U (en)

Similar Documents

Publication Publication Date Title
US8001968B2 (en) Apparatus for delivering and/or scavenging gas in the nose/mouth area of a patient
CN111053984A (en) Device for blocking transmission of diseases such as new coronavirus through droplet
CN111053979A (en) A large ventilation mask for preventing virus transmission
CN207286424U (en) Emergency surgery inhalation device
CN210384624U (en) Device for blocking transmission of diseases such as new coronavirus through droplet
CN1539394A (en) Tracheal intubation isolation protection method and isolation cover for severe respiratory infectious diseases
CN111317926A (en) a disinfectant mask
JP2023528044A (en) medical ventilation mask
CN107233644B (en) Ventilator tubing and endotracheal intubation protection devices
CN106039379B (en) Prevention of infectious disease droplet gas sterilizing unit
CN109091737A (en) A kind of surgical anaesthesia breathing equipment
CN2721141Y (en) a breathing mask
CN213220267U (en) A pressurized breathing mask that can suck phlegm
CN214596618U (en) Clinical internal medicine is with breathing sterilizer
CN211863610U (en) Convenient dual air valve dual channel depth gas mask
CN203060618U (en) Breath shunting device
CN111602878A (en) Healthy and safe mask
CN212088298U (en) Negative pressure isolation clothes
CN211835867U (en) Anti-virus-spreading large-ventilation mask
CN206167582U (en) Portable biography catch disease respiratory mask
CN114432606A (en) Inflatable mask and mask device
CN213428468U (en) Special mask for respiratory tract infectious patient
CN212306922U (en) Portable breathing device for isolating and removing virus from source
CN212545657U (en) Protective mask
CN211794459U (en) Letter way formula glasses gauze mask

Legal Events

Date Code Title Description
GR01 Patent grant
GR01 Patent grant
TR01 Transfer of patent right
TR01 Transfer of patent right

Effective date of registration: 20230817

Address after: Room 315, 3rd Floor, Building 1, No. 1598 Huayu Road, Economic and Technological Development Zone, Jiaxing City, Zhejiang Province, 314000

Patentee after: Zhejiang Yage Biotechnology Co.,Ltd.

Address before: 314000 No. 1518 North Ring Road, Zhejiang, Jiaxing

Patentee before: Jiaxing City No.2 Hospital

CF01 Termination of patent right due to non-payment of annual fee
CF01 Termination of patent right due to non-payment of annual fee

Granted publication date: 20210518