CN213198472U - An environmentally friendly inner tube cooling water tank - Google Patents
An environmentally friendly inner tube cooling water tank Download PDFInfo
- Publication number
- CN213198472U CN213198472U CN202021476645.XU CN202021476645U CN213198472U CN 213198472 U CN213198472 U CN 213198472U CN 202021476645 U CN202021476645 U CN 202021476645U CN 213198472 U CN213198472 U CN 213198472U
- Authority
- CN
- China
- Prior art keywords
- sewage
- tank
- main body
- cooling water
- inner tube
- Prior art date
- Legal status (The legal status is an assumption and is not a legal conclusion. Google has not performed a legal analysis and makes no representation as to the accuracy of the status listed.)
- Active
Links
Images
Landscapes
- Filtration Of Liquid (AREA)
Abstract
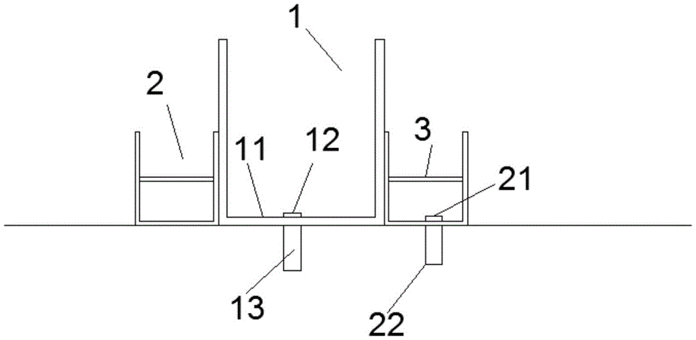
本实用新型公开一种环保内胎冷却水槽,包括冷却水槽主体,主体为不封顶的长方体槽体,主体两侧设有污水收集槽,污水收集槽高度为与之贴合的主体侧面高度的一半,污水收集槽内设有过滤网板,污水收集槽底部设有污水排出口,主体的底面设有出水口,出水口连接出水管。有益效果:传统的冷却水槽均为侧面或上面向下出水,本结构从底部向上出水,这样漂浮物升至顶面后会从两侧流下,水流顺至污水收集槽中,杂质本滤网板挡住,后续工作人员可以将滤网板拆下清理,而低杂质含量的污水会睡着污水的排出口流出,该结构能够极大的减少冷却水中杂质的含量,并且处理过的水可以再次利用,节能减排的同时有效的保证了产品的质量。
The utility model discloses an environmental protection inner tube cooling water tank, which comprises a cooling water tank main body, the main body is an uncapped cuboid tank body, two sides of the main body are provided with sewage collection tanks, and the height of the sewage collection tank is half of the height of the side surface of the main body attached to it. A filter screen plate is arranged in the sewage collection tank, a sewage outlet is arranged at the bottom of the sewage collection tank, a water outlet is arranged on the bottom surface of the main body, and the water outlet is connected with a water outlet. Beneficial effects: The traditional cooling water tank is the side or the top to discharge water downwards, this structure discharges water from the bottom upwards, so that the floating objects will flow down from both sides after rising to the top surface, the water will flow to the sewage collection tank, and the impurities will be filtered by the screen plate. Block, the follow-up staff can remove the screen plate for cleaning, and the sewage with low impurity content will flow out from the discharge port of the sewage. This structure can greatly reduce the content of impurities in the cooling water, and the treated water can be reused. , Energy saving and emission reduction while effectively ensuring the quality of the products.
Description
Claims (5)
Priority Applications (1)
| Application Number | Priority Date | Filing Date | Title |
|---|---|---|---|
| CN202021476645.XU CN213198472U (en) | 2020-07-23 | 2020-07-23 | An environmentally friendly inner tube cooling water tank |
Applications Claiming Priority (1)
| Application Number | Priority Date | Filing Date | Title |
|---|---|---|---|
| CN202021476645.XU CN213198472U (en) | 2020-07-23 | 2020-07-23 | An environmentally friendly inner tube cooling water tank |
Publications (1)
| Publication Number | Publication Date |
|---|---|
| CN213198472U true CN213198472U (en) | 2021-05-14 |
Family
ID=75834920
Family Applications (1)
| Application Number | Title | Priority Date | Filing Date |
|---|---|---|---|
| CN202021476645.XU Active CN213198472U (en) | 2020-07-23 | 2020-07-23 | An environmentally friendly inner tube cooling water tank |
Country Status (1)
| Country | Link |
|---|---|
| CN (1) | CN213198472U (en) |
-
2020
- 2020-07-23 CN CN202021476645.XU patent/CN213198472U/en active Active
Similar Documents
| Publication | Publication Date | Title |
|---|---|---|
| CN201198461Y (en) | Zero discharge apparatus for papermaking waste water | |
| CN104591518A (en) | Sludge deep treatment equipment | |
| CN213198472U (en) | An environmentally friendly inner tube cooling water tank | |
| CN207294308U (en) | Drawer type bio-trickling filler device | |
| CN206570185U (en) | A kind of sludge press filtration processing unit | |
| CN216863854U (en) | Three-stage treatment system for papermaking white water | |
| CN209612287U (en) | A kind of cutting mud reclaiming system | |
| CN207659195U (en) | A kind of environment-protection wastewater processing equipment | |
| CN207614434U (en) | A kind of water filtering device on algin production line | |
| CN105671597A (en) | Turbulent electrolytic cell and turbulent electrolytic production system consisting of turbulent electrolytic cell | |
| CN212039145U (en) | Central transmission thickener | |
| CN204607581U (en) | A kind of acid-restoring plant of lead acid cell | |
| CN212731170U (en) | Double-layer sedimentation tank | |
| CN203577463U (en) | Treatment system for treating waste sulfuric acid produced after treatment of furnace gas | |
| CN203429499U (en) | Anti-blocking pulping waste water recycling system | |
| CN210495956U (en) | Immersed large-flux flat ceramic membrane device | |
| CN207928849U (en) | A kind of pump pressure Circulated water filter | |
| CN220959695U (en) | Recycling device for steam in chemical production | |
| CN208815347U (en) | Papermaking water circulation use reclaimer | |
| CN206666270U (en) | A kind of Copper fabrication wastewater treatment equipment | |
| CN205367793U (en) | Water conservancy oily sewage pretreatment systems | |
| CN219992682U (en) | Water collecting well | |
| CN221662775U (en) | A sludge concentration and transfer device for oilfield produced water treatment system | |
| CN212881254U (en) | A kind of waste water treatment device for papermaking production which is convenient for impurity recovery and treatment | |
| CN217686834U (en) | Improved condensate water recovery device |
Legal Events
| Date | Code | Title | Description |
|---|---|---|---|
| GR01 | Patent grant | ||
| GR01 | Patent grant | ||
| TR01 | Transfer of patent right | ||
| TR01 | Transfer of patent right |
Effective date of registration: 20250725 Address after: 432400 Hubei Province Xiaogan City Yingcheng City Dongmafang Dongcheng Industrial Park Patentee after: Yingcheng Jinwei Chemical Co.,Ltd. Country or region after: China Address before: 223800 east of Lijiang road and south of Fujian Road in Siyang Economic Development Zone, Suqian City, Jiangsu Province Patentee before: Jiangsu enbang Rubber Technology Co.,Ltd. Country or region before: China |
