CN213166691U - 一种可实现顺序抽芯动作的模具 - Google Patents
一种可实现顺序抽芯动作的模具 Download PDFInfo
- Publication number
- CN213166691U CN213166691U CN202021299205.1U CN202021299205U CN213166691U CN 213166691 U CN213166691 U CN 213166691U CN 202021299205 U CN202021299205 U CN 202021299205U CN 213166691 U CN213166691 U CN 213166691U
- Authority
- CN
- China
- Prior art keywords
- die
- plate
- inclined guide
- slide block
- bottom plate
- Prior art date
- Legal status (The legal status is an assumption and is not a legal conclusion. Google has not performed a legal analysis and makes no representation as to the accuracy of the status listed.)
- Expired - Fee Related
Links
- 239000008358 core component Substances 0.000 claims description 12
- 238000007493 shaping process Methods 0.000 abstract 2
- 150000001875 compounds Chemical class 0.000 abstract 1
- 230000008901 benefit Effects 0.000 description 5
- 238000002347 injection Methods 0.000 description 5
- 239000007924 injection Substances 0.000 description 5
- 238000001746 injection moulding Methods 0.000 description 4
- 238000000034 method Methods 0.000 description 4
- 238000001816 cooling Methods 0.000 description 3
- 238000004519 manufacturing process Methods 0.000 description 3
- 239000000463 material Substances 0.000 description 3
- 239000000306 component Substances 0.000 description 1
- 230000003111 delayed effect Effects 0.000 description 1
- 238000010586 diagram Methods 0.000 description 1
- 230000005489 elastic deformation Effects 0.000 description 1
- 239000000243 solution Substances 0.000 description 1
Images
Landscapes
- Moulds For Moulding Plastics Or The Like (AREA)
Abstract
本实用新型公开一种可实现顺序抽芯动作的模具,其特征在于:所述的模具包括定模底板,所述定模底板的下方设置有定模板,所述定模底板内设置有定模型芯组件,所述模具还包括动模底板,所述动模底板的上方依次设置顶杆垫板、顶杆板和动模板,所述动模板内设置有动模型芯组件,所述定模型芯组件和动模型芯组件能够在合模时形成型腔,所述定模板的底端面上设置有斜导柱,所述母滑块滑动连接在动模板上,所述子滑块则滑动连接在母滑块上,所述母滑块的侧面为型腔的一部分,在母滑块上开设有成型孔,所述成型孔内活动插接有侧抽芯,所述侧抽芯的尾端则连接在子滑块上。
Description
技术领域
本实用新型涉及注塑模具领域,特别是一种可实现顺序抽芯动作的模具。
背景技术
注塑模具是一种生产塑胶制品的工具,也是赋予塑胶制品完整结构和精确尺寸的工具。将受热融化的塑料通过注塑机高压射入注塑模具的型腔,经冷却固化后,即可得到与型腔形状吻合的制品。
在实际生产时,有时会遇到形状复杂的制品。如图1所述的制品,该制品在A处存在倒扣,如果采用强脱的方式脱模,极可能导致制品的损伤,至少会在制品表面留下强脱时产生的痕迹,为了解决这个问题,传统上会将该倒扣处所对应的型芯设计成多块拼接的方式,脱模时让这些型芯朝着不同的方向运动,首先将倒扣处的型芯让开,然后才能实现脱模。这样就会导致整体结构十分复杂,造价也会相应的提高;
此外,有时还需要利用注塑模具生产一些带有一定角度的制品,这样同样存在脱模困难的问题。
因此现在需要一种能够解决上述问题的方法或装置。
发明内容
本实用新型是为了解决现有技术所存在的上述不足,提出一种结构简单,设计巧妙,布局合理,成本低廉,动作流程,能够同时解决倒扣脱模和斜面脱模两种问题的可实现顺序抽芯动作的模具。
本实用新型的技术解决方案是:一种可实现顺序抽芯动作的模具,其特征在于:所述的模具包括定模底板1,所述定模底板1的下方设置有定模板2,所述定模底板1内设置有定模型芯组件,所述模具还包括动模底板3,所述动模底板3的上方依次设置顶杆垫板4、顶杆板5和动模板6,所述动模板6内设置有动模型芯组件,所述定模型芯组件和动模型芯组件能够在合模时形成型腔,
所述定模板2的底端面上设置有斜导柱7,母滑块8滑动连接在动模板6上,子滑块9则滑动连接在母滑块8上,母滑块8的侧面为型腔的一部分,在母滑块8上开设有成型孔10,所述成型孔10内活动插接有侧抽芯11,所述侧抽芯11的尾端则连接在子滑块9上,子滑块9上开设有与斜导柱7等径的第一斜导槽12,母滑块8上开设有与斜导柱7相配的第二斜导槽13,且所述第二斜导槽13的宽度与斜导柱7的直径相配,长度则大于斜导柱7的直径,所述斜导柱7同时与第一斜导槽12和第二斜导槽13滑动连接,
所述定模底板1的底端面上还通过水平滑道滑动连接有斜滑块14,所述斜滑块14的轴线与水平面之间存在5-10°的夹角,所述定模板2上设置有导向板15,所述导向板15上开设有与所述斜滑块14相配的导向孔,所述的斜滑块14滑动连接在导向孔中,所述斜滑块14的底端面为型腔的一部分。
本实用新型同现有技术相比,具有如下优点:
本种结构形式的可实现顺序抽芯动作的模具,其结构简单,设计巧妙,布局合理,它针对传统注塑模具在制备某些特殊形状的工件时所存在的种种问题,设计出一种特殊的结构。它通过两个滑块顺序动作的方式,让子滑块上的侧抽芯首先从产品的倒扣处抽出,然后母滑块再从产品上抽出,利用产品具有弹性变形这一特性,快捷、方便地实现了倒扣结构处的脱模操作,与传统的方案相比结构更加简单,成本更加低廉;同时它还利用一个滑动连接在水平滑道上的斜滑块作为型腔的一部分,从而实现具有一定角度的斜面部分的注塑成型,该斜滑块在开模时会沿着垂直于斜面部分的方向向上运动,从而实现快速、顺畅的开模。综上所述,可以说这种模具具有多种优点,特别适合于在本领域中推广应用,其市场前景十分广阔。
附图说明
图1是带有倒扣结构的制品的结构示意图。
图2本实用新型实施例的结构示意图。
图3是图2中的B部放大图。
图4是图2中的C部放大图。
具体实施方式
下面将结合附图说明本实用新型的具体实施方式。如图1所示:一种可实现顺序抽芯动作的模具,该模具包括定模底板1,所述定模底板1的下方设置有定模板2,所述定模底板1内设置有定模型芯组件,所述模具还包括动模底板3,所述动模底板3的上方依次设置顶杆垫板4、顶杆板5和动模板6,所述动模板6内设置有动模型芯组件,所述定模型芯组件和动模型芯组件能够在合模时形成型腔,
所述定模板2的底端面上设置有斜导柱7,母滑块8滑动连接在动模板6上,子滑块9则滑动连接在母滑块8上,母滑块8的侧面为型腔的一部分,在母滑块8上开设有成型孔10,所述成型孔10内活动插接有侧抽芯11,所述侧抽芯11的尾端则连接在子滑块9上,子滑块9上开设有与斜导柱7等径的第一斜导槽12,母滑块8上开设有与斜导柱7相配的第二斜导槽13,且所述第二斜导槽13的宽度与斜导柱7的直径相配,长度则大于斜导柱7的直径,所述斜导柱7同时与第一斜导槽12和第二斜导槽13滑动连接,
所述定模底板1的底端面上还通过水平滑道滑动连接有斜滑块14,所述斜滑块14的轴线与水平面之间存在5-10°的夹角,所述定模板2上设置有导向板15,所述导向板15上开设有与所述斜滑块14相配的导向孔,所述的斜滑块14滑动连接在导向孔中,所述斜滑块14的底端面为型腔的一部分。
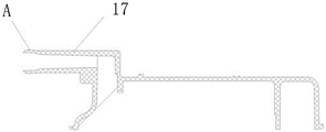
本实用新型实施例的可实现顺序抽芯动作的模具的工作过程如下:合模状态下,定模型芯组件和动模型芯组件共同形成型腔,通过注塑成型机向型腔中注入熔融状态的物料,物料充满型腔,并在冷却后形成制品16,
制品16上存在一个突出部17,突出部17上设有内孔,并且在内孔的端部为倒扣部A,合模后,母滑块8和侧抽芯11之间的空间,会被物料填满,并在冷却后形成突出部17,
开模时,动模底板3带动其上的所有部件朝着远离定模底板3的方向运动,斜导柱3也相对于子滑块9向上运动,由于子滑块9上的第一斜导槽12的内径与斜导柱3的外径相匹配,因此会将竖直的运动转化为水平的运动,子滑块9朝着远离型腔的方向运动,进而带动侧抽芯11向外抽出,侧抽芯11从制品16上的内孔抽出,由于倒扣位置就在侧抽芯11上,因此这个动作相当于首先解放了倒扣位置,
在上述运动过程中,由于母滑块8上的第二斜导槽13的长度是大于斜导柱7的直径的,因此斜导柱7在运动的初期并不会驱动母滑块8动作,当斜导柱7运动一段距离后(此时已经足够让子滑块9带动侧抽芯11从制品16上的内孔中抽出了),斜导柱7的侧面才会与第二斜导槽13的另一端接触,进而驱动母滑块8动作,也就是说子滑块9先行做侧抽动作,一段时间后母滑块8再做侧抽动作,当母滑块8与突出部17做相对运动是,由于突出部17具有一定的弹性(塑料制品都具有一定的弹性),因此突出部17端部的倒扣部A会发生弹性变形,并让母滑块8顺利地抽出,进而通过这种滑块延迟抽出动作的方式,实现了带有倒扣部A的突出部17处的脱模;
同样在开模时,在导向板15上的导向孔的导向作用下,斜滑块14会一边相对于制品16向上运动,一边相对于制品向水平方向运动,上述两种运动的结合,便可实现斜滑块14沿着自身轴线的倾斜向上运动,从而实现制品16上倾斜部分18的脱模动作,
综上所述,本种模具适用于同时具有侧抽倒扣和倾斜部分的制品的注塑成型生产。
Claims (1)
1.一种可实现顺序抽芯动作的模具,其特征在于:所述的模具包括定模底板(1),所述定模底板(1)的下方设置有定模板(2),所述定模底板(1)内设置有定模型芯组件,所述模具还包括动模底板(3),所述动模底板(3)的上方依次设置顶杆垫板(4)、顶杆板(5)和动模板(6),所述动模板(6)内设置有动模型芯组件,所述定模型芯组件和动模型芯组件能够在合模时形成型腔,
所述定模板(2)的底端面上设置有斜导柱(7),母滑块(8)滑动连接在动模板(6)上,子滑块(9)则滑动连接在母滑块(8)上,母滑块(8)的侧面为型腔的一部分,在母滑块(8)上开设有成型孔(10),所述成型孔(10)内活动插接有侧抽芯(11),所述侧抽芯(11)的尾端则连接在子滑块(9)上,子滑块(9)上开设有与斜导柱(7)等径的第一斜导槽(12),母滑块(8)上开设有与斜导柱(7)相配的第二斜导槽(13),且所述第二斜导槽(13)的宽度与斜导柱(7)的直径相配,长度则大于斜导柱(7)的直径,所述斜导柱(7)同时与第一斜导槽(12)和第二斜导槽(13)滑动连接,
所述定模底板(1)的底端面上还通过水平滑道滑动连接有斜滑块(14),所述斜滑块(14)的轴线与水平面之间存在5-10°的夹角,所述定模板(2)上设置有导向板(15),所述导向板(15)上开设有与所述斜滑块(14)相配的导向孔,所述的斜滑块(14)滑动连接在导向孔中,所述斜滑块(14)的底端面为型腔的一部分。
Priority Applications (1)
| Application Number | Priority Date | Filing Date | Title |
|---|---|---|---|
| CN202021299205.1U CN213166691U (zh) | 2020-07-06 | 2020-07-06 | 一种可实现顺序抽芯动作的模具 |
Applications Claiming Priority (1)
| Application Number | Priority Date | Filing Date | Title |
|---|---|---|---|
| CN202021299205.1U CN213166691U (zh) | 2020-07-06 | 2020-07-06 | 一种可实现顺序抽芯动作的模具 |
Publications (1)
| Publication Number | Publication Date |
|---|---|
| CN213166691U true CN213166691U (zh) | 2021-05-11 |
Family
ID=75791922
Family Applications (1)
| Application Number | Title | Priority Date | Filing Date |
|---|---|---|---|
| CN202021299205.1U Expired - Fee Related CN213166691U (zh) | 2020-07-06 | 2020-07-06 | 一种可实现顺序抽芯动作的模具 |
Country Status (1)
| Country | Link |
|---|---|
| CN (1) | CN213166691U (zh) |
Cited By (1)
| Publication number | Priority date | Publication date | Assignee | Title |
|---|---|---|---|---|
| CN113665063A (zh) * | 2021-08-25 | 2021-11-19 | 中国华录·松下电子信息有限公司 | 一种具有可控制开合模顺序机构的模具 |
-
2020
- 2020-07-06 CN CN202021299205.1U patent/CN213166691U/zh not_active Expired - Fee Related
Cited By (1)
| Publication number | Priority date | Publication date | Assignee | Title |
|---|---|---|---|---|
| CN113665063A (zh) * | 2021-08-25 | 2021-11-19 | 中国华录·松下电子信息有限公司 | 一种具有可控制开合模顺序机构的模具 |
Similar Documents
| Publication | Publication Date | Title |
|---|---|---|
| CN113752493A (zh) | 一种注塑模具交叉斜顶脱倒扣机构 | |
| CN213166616U (zh) | 注塑模具 | |
| CN213166691U (zh) | 一种可实现顺序抽芯动作的模具 | |
| CN115071072A (zh) | 一种具有曲线轨道抽芯机构的注塑模具 | |
| CN213860419U (zh) | 行位延时开模的注塑模具 | |
| CN119748779A (zh) | 一种多机构全自动生产注塑模具 | |
| CN210362293U (zh) | 一种注塑模具的内置顶针抽芯结构 | |
| CN219903161U (zh) | 一种发动机歧管注塑模具组合脱模结构 | |
| CN216001295U (zh) | 一种可保证外观面品质的内抽芯脱模模具 | |
| CN215849426U (zh) | 一种复合侧向抽芯注塑模 | |
| CN219338462U (zh) | 一种注塑模具的抽芯脱模结构 | |
| CN108859017B (zh) | 一种可快速开模、合模的注塑模具 | |
| CN210139584U (zh) | 一种定模智能二次脱模注塑模结构 | |
| CN219855571U (zh) | 一种塑料模具油缸斜抽滑块内置斜顶装置 | |
| CN223290230U (zh) | 一种滑块内双向抽芯机构及模具 | |
| CN222201546U (zh) | 一种扫地机地刷底座模具 | |
| CN223058256U (zh) | 一种二次顶出脱模的模具 | |
| CN220741995U (zh) | 模具行位顶出结构 | |
| CN222987452U (zh) | 一种冰箱玻璃门盖模具 | |
| CN116373237B (zh) | 一种二次抽芯模具结构 | |
| CN219968570U (zh) | 一种用于斜滑块的抽芯机构 | |
| CN216465988U (zh) | 一种针对透明产品的无痕脱模模具 | |
| CN216992937U (zh) | 一种铲机组件和脱模机构 | |
| CN212684603U (zh) | 一种注塑模具的侧抽芯机构 | |
| CN221249726U (zh) | 一种滑块顶出出模结构 |
Legal Events
| Date | Code | Title | Description |
|---|---|---|---|
| GR01 | Patent grant | ||
| GR01 | Patent grant | ||
| CF01 | Termination of patent right due to non-payment of annual fee | ||
| CF01 | Termination of patent right due to non-payment of annual fee |
Granted publication date: 20210511 |