CN213153037U - An adjustable spectral plant lighting device - Google Patents

An adjustable spectral plant lighting device Download PDF

Info

Publication number
CN213153037U
CN213153037U CN202021826609.1U CN202021826609U CN213153037U CN 213153037 U CN213153037 U CN 213153037U CN 202021826609 U CN202021826609 U CN 202021826609U CN 213153037 U CN213153037 U CN 213153037U
Authority
CN
China
Prior art keywords
side wall
bolt
motor
arc
upright post
Prior art date
Legal status (The legal status is an assumption and is not a legal conclusion. Google has not performed a legal analysis and makes no representation as to the accuracy of the status listed.)
Expired - Fee Related
Application number
CN202021826609.1U
Other languages
Chinese (zh)
Inventor
魏洪荣
Current Assignee (The listed assignees may be inaccurate. Google has not performed a legal analysis and makes no representation or warranty as to the accuracy of the list.)
Quanzhou Camled Photoelectricity Co ltd
Original Assignee
Quanzhou Camled Photoelectricity Co ltd
Priority date (The priority date is an assumption and is not a legal conclusion. Google has not performed a legal analysis and makes no representation as to the accuracy of the date listed.)
Filing date
Publication date
Application filed by Quanzhou Camled Photoelectricity Co ltd filed Critical Quanzhou Camled Photoelectricity Co ltd
Priority to CN202021826609.1U priority Critical patent/CN213153037U/en
Application granted granted Critical
Publication of CN213153037U publication Critical patent/CN213153037U/en
Expired - Fee Related legal-status Critical Current
Anticipated expiration legal-status Critical

Links

Images

Landscapes

  • Non-Portable Lighting Devices Or Systems Thereof (AREA)

Abstract

本实用新型公开了一种可调节式光谱植物照明装置,包括立柱和照明灯,所述立柱侧壁滑动连接有滑块,所述滑块上端侧壁通过螺栓连接有弧形轨道,所述弧形轨道中间滑动连接有支撑块,本实用新型在立柱上端安装通过滑块连接的弧形轨道,弧形轨道中间通过支撑块安装照明灯,接通第一电机的电源,第一电机带动滚轮转动,从而驱动支撑块沿着弧形轨道移动,调整照明灯的照射角度,适应不同角度的光照需求;在滑块侧壁安装第二电机,接通第二电机的电源,第二电机驱动滑块沿着立柱升降,改变滑块上端安装的带有支撑块的弧形轨道的高度,从而调整安装在支撑块中间位置的照明灯的位置,用于适应不同高度的照明需求定。

Figure 202021826609

The utility model discloses an adjustable spectral plant lighting device, which comprises a column and a lighting lamp. A slider is slidably connected to the side wall of the column, and an arc track is connected to the upper end side wall of the slider through bolts. A support block is slidably connected in the middle of the shaped track, the utility model is provided with an arc-shaped track connected by a sliding block at the upper end of the column, a lighting lamp is installed in the middle of the arc-shaped track through the support block, the power supply of the first motor is turned on, and the first motor drives the roller to rotate , so as to drive the support block to move along the arc track, adjust the illumination angle of the lighting lamp, and adapt to the illumination requirements of different angles; install a second motor on the side wall of the slider, turn on the power of the second motor, and the second motor drives the slider Lifting along the column, changing the height of the arc-shaped track with the support block installed on the upper end of the slider, so as to adjust the position of the lighting lamp installed in the middle of the support block to adapt to the lighting needs of different heights.

Figure 202021826609

Description

Adjustable spectrum plant lighting device
Technical Field
The utility model relates to a plant technical field, specifically be an adjustable spectrum plant lighting device.
Background
Plant lamps, as the name implies, are lamps used by plants. The plant lamp simulates the principle that plants need sunlight for photosynthesis, and supplements light to the plants or completely replaces the sunlight. The LED plant lamp is very suitable for the growth, flowering and fruiting of plants. General indoor plant flowers grow worse and worse along with time due to lack of natural illumination, and the LED plant lamps with the spectrum (light quality combination) required by the plants are used for irradiation, so that the growth of the flowers can be promoted, the flowering phase can be prolonged, and the flower quality is improved. The efficient light source system is applied to agricultural production of facilities such as greenhouses, greenhouses and the like, so that the defect that the taste of greenhouse vegetables such as tomatoes and cucumbers is reduced due to insufficient sunlight can be overcome, and greenhouse solanaceous vegetables can be brought into the market before and after spring festival in winter, so that the purpose of out-of-season cultivation is achieved.
When the existing plant lamp is used, the existing plant lamp is usually fixed at the top of a greenhouse or a greenhouse, but the distance and the position are fixed, the plants planted at different positions are different in the received light, the plants can grow unevenly, and therefore the light position needs to be adjusted frequently or more lighting lamps need to be added to increase the light intensity, so that the growth of the plants is guaranteed.
Therefore, the adjustable spectrum plant lighting device is provided for solving the problems in the prior art, so that the position of the lighting lamp can be conveniently adjusted, the plants at different positions can be maintained to receive uniform lighting, and the uniformity of plant growth is guaranteed.
SUMMERY OF THE UTILITY MODEL
An object of the utility model is to provide an adjustable spectrum plant lighting device to solve the problem that proposes in the above-mentioned background art.
In order to achieve the above object, the utility model provides a following technical scheme: an adjustable spectrum plant lighting device comprises an upright post and a lighting lamp, wherein the side wall of the upright post is connected with a slide block in a sliding manner, the side wall of the upper end of the slide block is connected with an arc-shaped track through a bolt, the middle of the arc-shaped track is connected with a supporting block in a sliding manner, the lighting lamp is connected to the middle position of the supporting block through a pipe clamp, the side wall of the upper end of the supporting block is connected with a first motor through a bolt, a main shaft end key of the first motor is connected with a roller;
the side wall of the sliding block is connected with a second motor through a bolt, the end key of a main shaft of the second motor is connected with a gear, the gear is positioned on the inner side of a groove in the middle of the sliding block, the middle position of the side wall of the upright post is connected with a rack plate through a bolt, and the gear is meshed with the rack plate;
the lower end of the upright post is connected to the upper end of the base through a rotating shaft, a bolt rod is inserted into the side wall of the upright post, a bolt hole matched with the bolt rod is formed in the side wall of the upper end of the base, and the end part of the bolt rod is inserted into the bolt hole.
Preferably, there are two sets of reversing switches on the base lower extreme lateral wall through bolted connection, reversing switch quantity is just two sets of reversing switch passes through wire and first motor and second motor electric connection respectively.
Preferably, the supporting block side wall is in threaded connection with a handle bolt, and the end part of the handle bolt penetrates through the supporting block side wall to be in contact with the arc-shaped track.
Preferably, a plug rod is inserted into the cavity in the lower end of the sliding block, and a boss edge structure matched with the rack of the rack plate is arranged at the end part of the plug rod.
Preferably, the side wall of the lower end of the sliding block is connected with an electromagnet through a bolt, the end part of the electromagnet is connected with a spring in a clamping mode, the other end of the spring is connected to the end part of the inserted bar through a bolt, and the inserted bar is located on one side of the electromagnet.
Preferably, the middle of the bolt rod is sleeved with a tension spring, one end of the tension spring is clamped on the inner side wall of the upright post, and the other end of the tension spring is clamped in the middle of the bolt rod.
Compared with the prior art, the beneficial effects of the utility model are that:
the utility model discloses install the arc track through the slider connection in stand upper end, install the light through the supporting shoe in the middle of the arc track, switch on the power of first motor, first motor drives the gyro wheel and rotates to drive the supporting shoe along the arc track removal, the illumination angle of adjustment light adapts to the illumination demand of different angles; a second motor is arranged on the side wall of the sliding block, a power supply of the second motor is switched on, the second motor drives the gear to rotate, the sliding block is driven to lift along the upright column under the matching of a rack plate on the side wall of the upright column, the height of an arc-shaped track with a supporting block arranged at the upper end of the sliding block is changed, and therefore the position of an illuminating lamp arranged in the middle of the supporting block is adjusted, and the illuminating lamp is used for adapting to illumination requirements of different heights; increase the base and be used for the cooperation installation stand, rotate the stand, insert the bolt hole of different angles with the bolt pole of stand lateral wall, conveniently adjust the angle of stand on the base, maintain the stability of stand position.
Drawings
FIG. 1 is a schematic structural view of the present invention;
FIG. 2 is a schematic structural view of the support block assembly of the present invention;
FIG. 3 is a schematic structural view of the slider assembly of the present invention;
FIG. 4 is a schematic structural view of the insertion rod assembly of the present invention;
fig. 5 is a schematic structural view of the base assembly of the present invention.
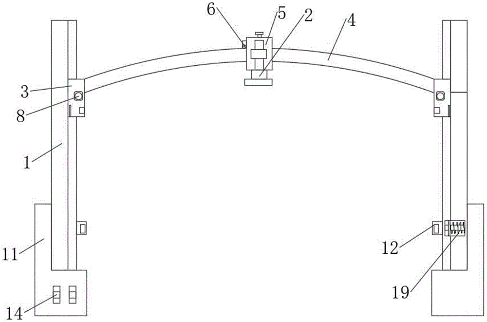
In the figure: the device comprises an upright post 1, a lighting lamp 2, a sliding block 3, an arc-shaped track 4, a supporting block 5, a first motor 6, a roller 7, a second motor 8, a gear 9, a rack plate 10, a base 11, a bolt rod 12, a bolt hole 13, a reversing switch 14, a handle bolt 15, a bolt rod 16, an electromagnet 17, a spring 18 and a tension spring 19.
Detailed Description
The technical solutions in the embodiments of the present invention will be described clearly and completely with reference to the accompanying drawings in the embodiments of the present invention, and it is obvious that the described embodiments are only some embodiments of the present invention, not all embodiments. Based on the embodiments in the present invention, all other embodiments obtained by a person skilled in the art without creative work belong to the protection scope of the present invention.
Referring to fig. 1-5, the present invention provides a technical solution: an adjustable spectrum plant lighting device comprises an upright post 1 and a lighting lamp 2, wherein the side wall of the upright post 1 is connected with a slide block 3 in a sliding manner, the side wall of the upper end of the slide block 3 is connected with an arc-shaped track 4 through a bolt, the middle of the arc-shaped track 4 is connected with a supporting block 5 in a sliding manner, the lighting lamp 2 is connected to the middle of the supporting block 5 through a pipe clamp, the side wall of the upper end of the supporting block 5 is connected with a first motor 6 through a bolt, the end key of the main shaft of the first motor 6 is connected with a roller 7, the roller 7 is in rolling contact with the upper end surface of the arc-shaped track 4, the arc-shaped track 4 connected with the slide block 3 is arranged at the upper end of the upright post 1, the lighting lamp 2 is arranged in the middle of the arc-shaped track 4 through the supporting, the illumination requirements of different angles are met;
the side wall of the sliding block 3 is connected with a second motor 8 through a bolt, the end key of a main shaft of the second motor 8 is connected with a gear 9, the gear 9 is positioned on the inner side of a middle groove of the sliding block 3, the middle position of the side wall of the upright post 1 is connected with a rack plate 10 through a bolt, the gear 9 is meshed with the rack plate 10, the second motor 8 is installed on the side wall of the sliding block 3 and is switched on, the second motor 8 drives the gear 9 to rotate, the sliding block 3 is driven to ascend and descend along the upright post 1 under the matching of the rack plate 10 on the side wall of the upright post 1, the height of an arc-shaped track 4 with a supporting block 5 installed at the upper end of the sliding block 3 is changed, and therefore the position of an illuminating lamp;
the lower end of the upright post 1 is connected to the upper end of the base 11 through a rotating shaft, the side wall of the upright post 1 is inserted with a bolt rod 12, the side wall of the upper end of the base 11 is provided with a bolt hole 13 matched with the bolt rod 12, the end part of the bolt rod 12 is inserted into the bolt hole 13, the base 11 is additionally provided for being matched with the upright post 1 to install the upright post 1, the upright post 1 is rotated, the bolt rod 12 on the side wall of the upright post 1 is inserted into the bolt holes 13 with different angles, the angle of the upright post 1 on the base 11 is conveniently adjusted, and the position.
Specifically, there are two sets of the switch 14 that commutes through bolted connection to the base 11 lower extreme lateral wall, the switch 14 quantity that commutes is two sets of, and two sets of the switch 14 that commutes respectively through wire and first motor 6 and 8 electric connection of second motor, at base 11 lower extreme installation switch 14 that commutes, conveniently adjusts the operating condition of first motor 6 and second motor 8 to change lighting device's height and banks spare's position, adapt to the demand of shining of different positions and distance.
Specifically, the side wall of the supporting block 5 is in threaded connection with a handle bolt 15, the end of the handle bolt 15 penetrates through the side wall of the supporting block 5 to be in contact with the arc-shaped track 4, the handle bolt 15 is installed on the side wall of the supporting block 5, the supporting block 5 can be fixed on the arc-shaped track 4 by screwing the handle bolt 15, and the position of the supporting block 5 is maintained stable.
Specifically, a plug rod 16 is inserted into a cavity in the lower end of the slider 3, a boss edge structure matched with a rack of the rack plate 10 is arranged at the end part of the plug rod 16, the side wall of the lower end of the slider 3 is connected with an electromagnet 17 through a bolt, a spring 18 is clamped at the end part of the electromagnet 17, the other end of the spring 18 is connected at the end part of the plug rod 16 through a bolt, the plug rod 16 is positioned on one side of the electromagnet 17, the plug rod 16 connected through the electromagnet 17 and the spring 18 is installed at the lower end of the slider 3, after the power supply of the device is switched on, the electromagnet 17 is electrified to adsorb the plug rod 16 to be separated from the contact with the rack plate 10, the clamping state of the rack plate 10 and the plug rod 16 is contacted, the slider 3 component is convenient to move, when the device is powered off when the device moves to a specified height, the electromagnet 17 does not continuously adsorb the, the slide block 3 assembly is clamped by matching with the rack plate 10, and the stability of the height of the slide block 3 assembly is maintained.
Specifically, extension spring 19 has been cup jointed in the middle of the bolt pole 12, 19 one end joints of extension spring are in 1 inside wall of stand, 19 other ends joints of extension spring are in 12 intermediate positions of bolt pole, install extension spring 19 in the middle of bolt pole 12, and the extension spring 19 other end is installed at 1 inside wall of stand, and when outside pull bolt pole 12, extension spring 19 can provide reverse pulling force, maintains bolt pole 12 and pegs graft in bolt hole 13.
The structure principle is as follows: the upper end of the upright post 1 is provided with an arc-shaped track 4 connected through a slide block 3, the middle of the arc-shaped track 4 is provided with an illuminating lamp 2 through a supporting block 5, the power supply of a first motor 6 is switched on, and the first motor 6 drives a roller 7 to rotate, so that the supporting block 5 is driven to move along the arc-shaped track 4, the irradiation angle of the illuminating lamp 2 is adjusted, and the illumination requirements of different angles are met; a second motor 8 is arranged on the side wall of the sliding block 3, the power supply of the second motor 8 is switched on, the second motor 8 drives a gear 9 to rotate, the sliding block 3 is driven to lift along the upright post 1 under the matching of a rack plate 10 on the side wall of the upright post 1, the height of an arc-shaped track 4 with a supporting block 5 arranged at the upper end of the sliding block 3 is changed, and therefore the position of an illuminating lamp 2 arranged in the middle of the supporting block 5 is adjusted, and the illuminating lamp is used for meeting the illuminating requirements of different heights; increase base 11 and be used for the cooperation installation stand 1, rotate stand 1, insert the bolt hole 13 of different angles with the bolt pole 12 of stand 1 lateral wall, conveniently adjust the angle of stand 1 on base 11, maintain the stability of stand 1 position.
Although embodiments of the present invention have been shown and described, it will be appreciated by those skilled in the art that changes, modifications, substitutions and alterations can be made in these embodiments without departing from the principles and spirit of the invention, the scope of which is defined in the appended claims and their equivalents.

Claims (6)

1. An adjustable spectrum plant lighting device, includes stand (1) and light (2), its characterized in that: the side wall of the upright post (1) is connected with a sliding block (3) in a sliding mode, the side wall of the upper end of the sliding block (3) is connected with an arc-shaped track (4) through a bolt, the middle of the arc-shaped track (4) is connected with a supporting block (5) in a sliding mode, the illuminating lamp (2) is connected to the middle of the supporting block (5) through a pipe clamp, the side wall of the upper end of the supporting block (5) is connected with a first motor (6) through a bolt, a roller (7) is connected to a main shaft end key of the first motor (6), and the roller (7;
the side wall of the sliding block (3) is connected with a second motor (8) through a bolt, a main shaft end key of the second motor (8) is connected with a gear (9), the gear (9) is located on the inner side of a middle groove of the sliding block (3), the middle position of the side wall of the upright post (1) is connected with a rack plate (10) through a bolt, and the gear (9) is meshed with the rack plate (10);
the lower end of the upright post (1) is connected to the upper end of the base (11) through a rotating shaft, a bolt rod (12) is inserted into the side wall of the upright post (1), a bolt hole (13) matched with the bolt rod (12) is formed in the side wall of the upper end of the base (11), and the end part of the bolt rod (12) is inserted into the bolt hole (13).
2. The adjustable spectral plant lighting apparatus of claim 1, wherein: the base (11) lower extreme lateral wall has switch (14) of falling in the same direction through bolted connection, switch (14) quantity of falling in the same direction is two sets of, and two sets of switch (14) of falling in the same direction is respectively through wire and first motor (6) and second motor (8) electric connection.
3. The adjustable spectral plant lighting apparatus of claim 1, wherein: the side wall of the supporting block (5) is in threaded connection with a handle bolt (15), and the end part of the handle bolt (15) penetrates through the side wall of the supporting block (5) to be in contact with the arc-shaped track (4).
4. The adjustable spectral plant lighting apparatus of claim 1, wherein: an insert rod (16) is inserted into a cavity in the lower end of the sliding block (3), and a boss edge structure matched with the rack of the rack plate (10) is formed in the end part of the insert rod (16).
5. The adjustable spectral plant lighting apparatus of claim 4, wherein: the slide block (3) lower extreme lateral wall has electro-magnet (17) through bolted connection, electro-magnet (17) tip joint has spring (18), the other end of spring (18) passes through bolted connection at inserted bar (16) tip, just inserted bar (16) are located electro-magnet (17) one side.
6. The adjustable spectral plant lighting apparatus of claim 1, wherein: the middle of the bolt rod (12) is sleeved with a tension spring (19), one end of the tension spring (19) is clamped on the inner side wall of the upright post (1), and the other end of the tension spring (19) is clamped in the middle of the bolt rod (12).
CN202021826609.1U 2020-08-27 2020-08-27 An adjustable spectral plant lighting device Expired - Fee Related CN213153037U (en)

Priority Applications (1)

Application Number Priority Date Filing Date Title
CN202021826609.1U CN213153037U (en) 2020-08-27 2020-08-27 An adjustable spectral plant lighting device

Applications Claiming Priority (1)

Application Number Priority Date Filing Date Title
CN202021826609.1U CN213153037U (en) 2020-08-27 2020-08-27 An adjustable spectral plant lighting device

Publications (1)

Publication Number Publication Date
CN213153037U true CN213153037U (en) 2021-05-11

Family

ID=75768202

Family Applications (1)

Application Number Title Priority Date Filing Date
CN202021826609.1U Expired - Fee Related CN213153037U (en) 2020-08-27 2020-08-27 An adjustable spectral plant lighting device

Country Status (1)

Country Link
CN (1) CN213153037U (en)

Cited By (4)

* Cited by examiner, † Cited by third party
Publication number Priority date Publication date Assignee Title
CN113661933A (en) * 2021-08-16 2021-11-19 陕西君行生物科技有限公司 An experimental guinea pig survival simulation device
CN114924603A (en) * 2022-05-18 2022-08-19 慧之安信息技术股份有限公司 Building pig farm environment intelligent regulation system based on edge cloud cooperation
CN115486281A (en) * 2022-08-01 2022-12-20 贵溪欧绿多肉植物有限公司 Light adjustment device for plant planting based on bluetooth communication technology
CN118293369A (en) * 2024-05-11 2024-07-05 张家口市畜牧技术推广站(张家口市草原畜牧研究所、张家口市饲草饲料技术推广站、张家口市饲料检测站) A chicken house lamp that can simulate stable natural light

Cited By (6)

* Cited by examiner, † Cited by third party
Publication number Priority date Publication date Assignee Title
CN113661933A (en) * 2021-08-16 2021-11-19 陕西君行生物科技有限公司 An experimental guinea pig survival simulation device
CN114924603A (en) * 2022-05-18 2022-08-19 慧之安信息技术股份有限公司 Building pig farm environment intelligent regulation system based on edge cloud cooperation
CN114924603B (en) * 2022-05-18 2025-08-05 慧之安信息技术股份有限公司 Intelligent environmental regulation system for building pig farms based on edge-cloud collaboration
CN115486281A (en) * 2022-08-01 2022-12-20 贵溪欧绿多肉植物有限公司 Light adjustment device for plant planting based on bluetooth communication technology
CN118293369A (en) * 2024-05-11 2024-07-05 张家口市畜牧技术推广站(张家口市草原畜牧研究所、张家口市饲草饲料技术推广站、张家口市饲料检测站) A chicken house lamp that can simulate stable natural light
CN118293369B (en) * 2024-05-11 2025-10-31 张家口市畜牧技术推广站(张家口市草原畜牧研究所、张家口市饲草饲料技术推广站、张家口市饲料检测站) Henhouse lamp capable of simulating and stabilizing natural light

Similar Documents

Publication Publication Date Title
CN213153037U (en) An adjustable spectral plant lighting device
TW201429387A (en) Movable artificial cultivation light source control system
KR20100012973U (en) An apparatus for cultivation using LED lamp
CN111963949A (en) Plant growth lamp that reflectivity is high
CN108709135A (en) A kind of anti-LED garden lamp blocked being suitable for afforesting cell
CN214070822U (en) OLED lamp flowerpot of growing flower of illumination angularly adjustable
KR20160103303A (en) Cultivation device for vertical rotational type of potted plants
CN112923338A (en) Light control device based on computer control technology
CN209609357U (en) A plant seedling raising device
CN220088091U (en) Heating greenhouse
CN113228980B (en) A LED light filling device for plant is cultivated in a pot
CN114208472B (en) A device for spraying fertilizer on leaves of passion fruit
CN211630977U (en) Multi-angle multi-directional automatic adjustment type intelligent plant lamp
CN117530075A (en) A liftable LED light supplement device for vegetable seedling cultivation
CN212306227U (en) Illumination angle adjustable is lighting device for warmhouse booth
CN212278983U (en) A facility agriculture LED plant growth light
CN211559566U (en) Take flowers show box of LED vegetation lamp
CN215294605U (en) A special plant growth lamp for Arabidopsis
CN215957379U (en) Large-span ecological sunlight greenhouse
CN221035617U (en) A lighting mechanism for a rose planting room
CN207574010U (en) A kind of Multifunctional garden flower stand
CN221222607U (en) Intelligent light supplementing device
CN214628322U (en) A convenient and adjustable quantum tube plant lamp
CN221948813U (en) A fluorescent powder fill light for plant growth
CN111247988A (en) Adaptive light supplementing device for seedling culture

Legal Events

Date Code Title Description
GR01 Patent grant
GR01 Patent grant
CF01 Termination of patent right due to non-payment of annual fee
CF01 Termination of patent right due to non-payment of annual fee

Granted publication date: 20210511