CN213104826U - 一种钢材用切割设备 - Google Patents
一种钢材用切割设备 Download PDFInfo
- Publication number
- CN213104826U CN213104826U CN202021573296.3U CN202021573296U CN213104826U CN 213104826 U CN213104826 U CN 213104826U CN 202021573296 U CN202021573296 U CN 202021573296U CN 213104826 U CN213104826 U CN 213104826U
- Authority
- CN
- China
- Prior art keywords
- cutting
- diaphragm
- frame
- steel
- motor
- Prior art date
- Legal status (The legal status is an assumption and is not a legal conclusion. Google has not performed a legal analysis and makes no representation as to the accuracy of the status listed.)
- Expired - Fee Related
Links
- 238000005520 cutting process Methods 0.000 title claims abstract description 75
- 229910000831 Steel Inorganic materials 0.000 title claims abstract description 25
- 239000010959 steel Substances 0.000 title claims abstract description 25
- 241000883990 Flabellum Species 0.000 claims abstract description 12
- 239000002699 waste material Substances 0.000 abstract description 8
- 230000001360 synchronised effect Effects 0.000 description 7
- 238000000034 method Methods 0.000 description 2
- 239000004566 building material Substances 0.000 description 1
- 238000004140 cleaning Methods 0.000 description 1
- 230000007547 defect Effects 0.000 description 1
- 238000010586 diagram Methods 0.000 description 1
Images
Landscapes
- Sawing (AREA)
Abstract
本实用新型属于切割设备技术领域,尤其为一种钢材用切割设备,针对现有的切割设备大多无法在切割的同时将废料进行清理的功能,从而造成切割过程较为繁琐的问题,现提出如下方案,其包括机架,所述机架的内部转动安装有两个螺纹杆,两个螺纹杆的外侧螺纹连接有同一个横板,横板的外侧与机架的内侧滑动连接,横板的前侧转动安装有切割刀片,横板的内部转动安装有转轴,转轴的底端固定安装有扇叶,横板的顶部一侧转动安装有两个第二锥齿轮。本实用新型将切割和清理废料同步进行,设置的两个螺纹杆,驱动第一电机使得两个螺纹杆转动,带动横板得到竖直方向的运作,从而带动切割刀片与扇叶得到同样的运作,从而进行切割工作。
Description
技术领域
本实用新型涉及切割设备技术领域,尤其涉及一种钢材用切割设备。
背景技术
钢材作为现代建筑的骨架,是建筑上必不可少的建材,一般钢材并不能直接使用的,需要根据建筑环境的不同,对其进行切割,所以一种钢材切割机就非常重要。
现有的切割设备大多无法在切割的同时将废料进行清理的功能,从而造成切割过程较为繁琐的缺点,因此我们提出了一种钢材用切割设备用于解决上述问题。
发明内容
本实用新型的目的是为了解决现有的切割设备大多无法在切割的同时将废料进行清理的功能,从而造成切割过程较为繁琐的缺点,而提出的一种钢材用切割设备。
为了实现上述目的,本实用新型采用了如下技术方案:
一种钢材用切割设备,包括机架,所述机架的内部转动安装有两个螺纹杆,两个螺纹杆的外侧螺纹连接有同一个横板,横板的外侧与机架的内侧滑动连接,横板的前侧转动安装有切割刀片,横板的内部转动安装有转轴,转轴的底端固定安装有扇叶,横板的顶部一侧转动安装有两个第二锥齿轮,两个第二锥齿轮相互啮合,转轴的顶端延伸至横板的顶部并与两个第二锥齿轮中的一个第二锥齿轮的底部固定连接,另一个第二锥齿轮的后侧与切割刀片的后侧均固定安装有皮带轮,两个皮带轮上传动连接有同一个皮带,机架的顶部转动安装有四个第一锥齿轮与一个转动杆,四个第一锥齿轮中位于同一侧的两个第一锥齿轮相互啮合,位于同一水平轴线上的两个第一锥齿轮的内侧与转动杆的外侧固定连接,两个螺纹杆的顶端均延伸至机架的外侧并与另外两个第一锥齿轮的底部固定连接。
优选的,所述机架的外侧顶部固定安装有第一电机,第一电机的输出轴与转动杆的一端固定连接,通过设置的第一电机,驱动第一电机,从而使得转动杆转动,从而带动四个第一锥齿轮同步转动,使得两个螺纹杆同步转动,从而带动横板得到竖直方向的运作,从而带动切割刀片与扇叶得到同样的运作,从而进行切割工作。
优选的,所述横板的后侧固定安装有第二电机,第二电机的输出轴与两个皮带轮中的一个皮带轮的后侧固定连接,通过设置的第二电机,驱动第二电机从而使得两个皮带轮同步转动,从而带动切割刀片与两个第二锥齿轮同步转动,第二锥齿轮的转动带动转轴转动,从而带动扇叶转动,最终使得切割刀片与扇叶同步转动,从而使得切割过程中能够清理切割过程中产生的废料。
优选的,所述机架的底部内壁上固定安装有支撑柱,支撑柱的顶部固定安装有切割台,通过设置的切割台,能够将需要切割的钢材放在切割台的顶部。
优选的,所述机架的顶部两侧均固定安装有限位杆,转动杆的外侧转动安装在两个限位杆的内侧,通过设置的限位杆,从而使得转动杆的转动有一定的范围限定。
优选的,所述机架的外侧顶部固定安装有支撑板,第一电机固定安装在支撑板的顶部,通过设置的支撑板从而为第一电机提供一定的支撑作用。
本实用新型中,所述的一种钢材用切割设备,通过设置的皮带轮,驱动第二电机从而使得两个皮带轮同步转动,从而带动切割刀片与两个第二锥齿轮同步转动,第二锥齿轮的转动带动转轴转动,从而带动扇叶转动,最终使得切割刀片与扇叶同步转动,从而使得切割过程中能够清理切割过程中产生的废料;
本实用新型通过设置的两个螺纹杆,驱动第一电机从而使得转动杆转动,从而带动四个第一锥齿轮同步转动,使得两个螺纹杆同步转动,从而带动横板得到竖直方向的运作,从而带动切割刀片与扇叶得到同样的运作,从而进行切割工作。
附图说明
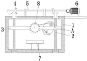
图1为本实用新型提出的一种钢材用切割设备的结构示意图;
图2为本实用新型提出的一种钢材用切割设备的A部分的结构示意图;
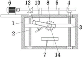
图3为本实用新型提出的一种钢材用切割设备的后视结构示意图。
图中:1、机架;2、螺纹杆;3、横板;4、第一锥齿轮;5、转动杆;6、第一电机;7、切割台;8、切割刀片;9、转轴;10、扇叶;11、第二锥齿轮;12、皮带轮;13、皮带;14、第二电机。
具体实施方式
下面将结合本实用新型实施例中的附图,对本实用新型实施例中的技术方案进行清楚、完整地描述,显然,所描述的实施例仅仅是本实用新型一部分实施例,而不是全部的实施例。
参照图1-3,一种钢材用切割设备,包括机架1,机架1的内部转动安装有两个螺纹杆2,两个螺纹杆2的外侧螺纹连接有同一个横板3,横板3的外侧与机架1的内侧滑动连接,横板3的前侧转动安装有切割刀片8,横板3的内部转动安装有转轴9,转轴9的底端固定安装有扇叶10,横板3的顶部一侧转动安装有两个第二锥齿轮11,两个第二锥齿轮11相互啮合,转轴9的顶端延伸至横板3的顶部并与两个第二锥齿轮11中的一个第二锥齿轮11的底部固定连接,另一个第二锥齿轮11的后侧与切割刀片8的后侧均固定安装有皮带轮12,两个皮带轮12上传动连接有同一个皮带13,机架1的顶部转动安装有四个第一锥齿轮4与一个转动杆5,四个第一锥齿轮4中位于同一侧的两个第一锥齿轮4相互啮合,位于同一水平轴线上的两个第一锥齿轮4的内侧与转动杆5的外侧固定连接,两个螺纹杆2的顶端均延伸至机架1的外侧并与另外两个第一锥齿轮4的底部固定连接。
本实用新型中,机架1的外侧顶部固定安装有第一电机6,第一电机6的输出轴与转动杆5的一端固定连接,通过设置的第一电机6,驱动第一电机6,从而使得转动杆5转动,从而带动四个第一锥齿轮4同步转动,使得两个螺纹杆2同步转动,从而带动横板3得到竖直方向的运作,从而带动切割刀片8与扇叶10得到同样的运作,从而进行切割工作。
本实用新型中,横板3的后侧固定安装有第二电机14,第二电机14的输出轴与两个皮带轮12中的一个皮带轮12的后侧固定连接,通过设置的第二电机14,驱动第二电机14从而使得两个皮带轮12同步转动,从而带动切割刀片8与两个第二锥齿轮11同步转动,第二锥齿轮11的转动带动转轴9转动,从而带动扇叶10转动,最终使得切割刀片8与扇叶10同步转动,从而使得切割过程中能够清理切割过程中产生的废料。
本实用新型中,机架1的底部内壁上固定安装有支撑柱,支撑柱的顶部固定安装有切割台7,通过设置的切割台7,能够将需要切割的钢材放在切割台7的顶部。
本实用新型中,机架1的顶部两侧均固定安装有限位杆,转动杆5的外侧转动安装在两个限位杆的内侧,通过设置的限位杆,从而使得转动杆5的转动有一定的范围限定。
本实用新型中,机架1的外侧顶部固定安装有支撑板,第一电机6固定安装在支撑板的顶部,通过设置的支撑板从而为第一电机6提供一定的支撑作用。
该切割设备的工作原理如下:首先将需要切割的钢材放在切割台7的顶部,然后驱动第二电机14从而使得两个皮带轮12同步转动,从而带动切割刀片8与两个第二锥齿轮11同步转动,第二锥齿轮11的转动带动转轴9转动,从而带动扇叶10转动,最终使得切割刀片8与扇叶10同步转动,从而使得切割过程中能够清理切割过程中产生的废料,接着驱动第一电机6,从而使得转动杆5转动,从而带动四个第一锥齿轮4同步转动,使得两个螺纹杆2同步转动,从而带动横板3得到竖直方向的运作,从而带动切割刀片8与扇叶10得到同样的运作,从而进行切割工作,当切割刀片8向下运动的时候从而能够将放置在切割台7表面的钢材进行切割处理。
Claims (6)
1.一种钢材用切割设备,包括机架(1),其特征在于,所述机架(1)的内部转动安装有两个螺纹杆(2),两个螺纹杆(2)的外侧螺纹连接有同一个横板(3),横板(3)的外侧与机架(1)的内侧滑动连接,横板(3)的前侧转动安装有切割刀片(8),横板(3)的内部转动安装有转轴(9),转轴(9)的底端固定安装有扇叶(10),横板(3)的顶部一侧转动安装有两个第二锥齿轮(11),两个第二锥齿轮(11)相互啮合,转轴(9)的顶端延伸至横板(3)的顶部并与两个第二锥齿轮(11)中的一个第二锥齿轮(11)的底部固定连接,另一个第二锥齿轮(11)的后侧与切割刀片(8)的后侧均固定安装有皮带轮(12),两个皮带轮(12)上传动连接有同一个皮带(13),机架(1)的顶部转动安装有四个第一锥齿轮(4)与一个转动杆(5),四个第一锥齿轮(4)中位于同一侧的两个第一锥齿轮(4)相互啮合,位于同一水平轴线上的两个第一锥齿轮(4)的内侧与转动杆(5)的外侧固定连接,两个螺纹杆(2)的顶端均延伸至机架(1)的外侧并与另外两个第一锥齿轮(4)的底部固定连接。
2.根据权利要求1所述的一种钢材用切割设备,其特征在于,所述机架(1)的外侧顶部固定安装有第一电机(6),第一电机(6)的输出轴与转动杆(5)的一端固定连接。
3.根据权利要求1所述的一种钢材用切割设备,其特征在于,所述横板(3)的后侧固定安装有第二电机(14),第二电机(14)的输出轴与两个皮带轮(12)中的一个皮带轮(12)的后侧固定连接。
4.根据权利要求1所述的一种钢材用切割设备,其特征在于,所述机架(1)的底部内壁上固定安装有支撑柱,支撑柱的顶部固定安装有切割台(7)。
5.根据权利要求1所述的一种钢材用切割设备,其特征在于,所述机架(1)的顶部两侧均固定安装有限位杆,转动杆(5)的外侧转动安装在两个限位杆的内侧。
6.根据权利要求1所述的一种钢材用切割设备,其特征在于,所述机架(1)的外侧顶部固定安装有支撑板,第一电机(6)固定安装在支撑板的顶部。
Priority Applications (1)
| Application Number | Priority Date | Filing Date | Title |
|---|---|---|---|
| CN202021573296.3U CN213104826U (zh) | 2020-08-03 | 2020-08-03 | 一种钢材用切割设备 |
Applications Claiming Priority (1)
| Application Number | Priority Date | Filing Date | Title |
|---|---|---|---|
| CN202021573296.3U CN213104826U (zh) | 2020-08-03 | 2020-08-03 | 一种钢材用切割设备 |
Publications (1)
| Publication Number | Publication Date |
|---|---|
| CN213104826U true CN213104826U (zh) | 2021-05-04 |
Family
ID=75682693
Family Applications (1)
| Application Number | Title | Priority Date | Filing Date |
|---|---|---|---|
| CN202021573296.3U Expired - Fee Related CN213104826U (zh) | 2020-08-03 | 2020-08-03 | 一种钢材用切割设备 |
Country Status (1)
| Country | Link |
|---|---|
| CN (1) | CN213104826U (zh) |
-
2020
- 2020-08-03 CN CN202021573296.3U patent/CN213104826U/zh not_active Expired - Fee Related
Similar Documents
| Publication | Publication Date | Title |
|---|---|---|
| CN213440154U (zh) | 一种家具自动切割打磨一体化装置 | |
| CN213104826U (zh) | 一种钢材用切割设备 | |
| CN214979357U (zh) | 一种工艺品加工用开孔装置 | |
| CN211438418U (zh) | 一种五金件自动化线切割加工装置 | |
| CN219666192U (zh) | 一种旋振筛不锈钢筛格双面抛光装置 | |
| CN217802154U (zh) | 夹持式家具加工推锯台 | |
| CN218658427U (zh) | 一种防弹玻璃基片磨边加工设备 | |
| CN110682347A (zh) | 一种塑料制品的切割装置 | |
| CN211708163U (zh) | 一种变压器夹件生产用联合冲剪机 | |
| CN218700268U (zh) | 一种石材加工用的循环回转机构 | |
| CN209937029U (zh) | 一种橡胶产品切割装置 | |
| CN114054978A (zh) | 一种钢质椅高数控切割装置及其生产方法 | |
| CN214925215U (zh) | 一种环保型家具加工用木材切割装置 | |
| CN222372417U (zh) | 一种便于安装的eva内膜袋生产装置 | |
| CN221364986U (zh) | 一种耐力板生产用裁边机构 | |
| CN220463225U (zh) | 墙板磨削加工动力机构 | |
| CN217858574U (zh) | 一种建筑工程用的钢筋切割装置 | |
| CN223130337U (zh) | 一种不锈钢生产用抛光设备 | |
| CN215152365U (zh) | 一种塑料袋生产用切割装置 | |
| CN221132365U (zh) | 一种原料加工设备 | |
| CN220699009U (zh) | 一种卧式高效数控加工单元 | |
| CN216914721U (zh) | 一种塑胶制品潜进胶水口自动处理装置 | |
| CN216300629U (zh) | 一种自动清尘雕刻机 | |
| CN213794555U (zh) | 一种实验室通风柜面板切割装置 | |
| CN223507266U (zh) | 一种自动化纸张裁剪装置 |
Legal Events
| Date | Code | Title | Description |
|---|---|---|---|
| GR01 | Patent grant | ||
| GR01 | Patent grant | ||
| CF01 | Termination of patent right due to non-payment of annual fee | ||
| CF01 | Termination of patent right due to non-payment of annual fee |
Granted publication date: 20210504 Termination date: 20210803 |