CN213073568U - An agricultural seeding and fertilizing device - Google Patents

An agricultural seeding and fertilizing device Download PDF

Info

Publication number
CN213073568U
CN213073568U CN202021589332.5U CN202021589332U CN213073568U CN 213073568 U CN213073568 U CN 213073568U CN 202021589332 U CN202021589332 U CN 202021589332U CN 213073568 U CN213073568 U CN 213073568U
Authority
CN
China
Prior art keywords
fixed mounting
fixedly connected
sweep
electric telescopic
fertilizer
Prior art date
Legal status (The legal status is an assumption and is not a legal conclusion. Google has not performed a legal analysis and makes no representation as to the accuracy of the status listed.)
Expired - Fee Related
Application number
CN202021589332.5U
Other languages
Chinese (zh)
Inventor
李春雨
多赛别克·努特别克
高丽辉
李家如
Current Assignee (The listed assignees may be inaccurate. Google has not performed a legal analysis and makes no representation or warranty as to the accuracy of the list.)
Individual
Original Assignee
Individual
Priority date (The priority date is an assumption and is not a legal conclusion. Google has not performed a legal analysis and makes no representation as to the accuracy of the date listed.)
Filing date
Publication date
Application filed by Individual filed Critical Individual
Priority to CN202021589332.5U priority Critical patent/CN213073568U/en
Application granted granted Critical
Publication of CN213073568U publication Critical patent/CN213073568U/en
Expired - Fee Related legal-status Critical Current
Anticipated expiration legal-status Critical

Links

Images

Landscapes

  • Sowing (AREA)
  • Fertilizing (AREA)

Abstract

本实用新型公开了一种农业用播种施肥装置,包括车板,所述车板顶部的右端固定连接有种子箱,所述车板顶部的中端固定连接有肥料箱,所述种子箱内腔底部的左端和肥料箱内腔底部的右端均固定连接有出料管,所述出料管的底部延伸至车板底部的下端,所述出料管的内腔固定安装有电磁阀,所述车板底部的右端固定安装有第一电动伸缩杆,所述第一电动伸缩杆的底部固定安装有破土犁。本实用新型通过第一电动伸缩杆、破土犁、出料管、推土块、第二电动伸缩杆、喷头、泵机、水箱、肥料箱、种子箱和电磁阀相互配合,解决了现在的播种和施肥是分开的,导致效率不高,并且不具有洒水功能,导致肥料不容易被种子吸收的问题。

Figure 202021589332

The utility model discloses an agricultural seeding and fertilizing device, comprising a truck board, a seed box is fixedly connected to the right end of the top of the truck board, a fertilizer box is fixedly connected to the middle end of the top of the truck board, and an inner cavity of the seed box is fixedly connected. The left end of the bottom and the right end of the bottom of the inner cavity of the fertilizer box are fixedly connected with a discharge pipe, the bottom of the discharge pipe extends to the lower end of the bottom of the vehicle deck, and a solenoid valve is fixedly installed in the inner cavity of the discharge pipe. A first electric telescopic rod is fixedly installed at the right end of the bottom of the car board, and a soil-breaking plow is fixedly installed at the bottom of the first electric telescopic rod. The utility model solves the problem of current sowing through the mutual cooperation of the first electric telescopic rod, the ground breaking plow, the discharge pipe, the bulldozer, the second electric telescopic rod, the spray head, the pump, the water tank, the fertilizer box, the seed box and the electromagnetic valve. It is separate from fertilization, resulting in inefficiency, and it does not have the function of watering, resulting in the problem that the fertilizer is not easily absorbed by the seeds.

Figure 202021589332

Description

Agricultural is with seeding fertilizer injection unit
Technical Field
The utility model relates to an equipment technical field for the agricultural specifically is a seeding fertilizer injection unit is used to agricultural.
Background
Agricultural machinery refers to various machines used in the production process of crop planting and animal husbandry and the primary processing and treatment process of agricultural and animal products, the agricultural machinery includes agricultural power machinery, farmland construction machinery, soil cultivation machinery, planting and fertilizing machinery, plant protection machinery, farmland irrigation and drainage machinery, crop harvesting machinery, agricultural product processing machinery, animal husbandry machinery and agricultural transportation machinery, etc., China is a big agricultural country, a large amount of crops are planted and harvested every year, when the crops are planted, soil is turned over and seeds and fertilizers are scattered, but the current sowing and fertilizing are separated, so that the efficiency is low, the water sprinkling function is not provided, the fertilizers are not easily absorbed by the seeds, and therefore, the agricultural sowing and fertilizing device is provided.
SUMMERY OF THE UTILITY MODEL
An object of the utility model is to provide an agricultural is with seeding fertilizer injection unit possesses and fertilizes in the seeding, and has the advantage of watering function, has solved present seeding and fertilization and is detached, leads to efficiency not high to do not have the watering function, lead to fertilizer to be difficult to by the absorptive problem of seed.
In order to achieve the above object, the utility model provides a following technical scheme: the agricultural seeding and fertilizing device comprises a turning plate, wherein a seed box is fixedly connected to the right end of the top of the turning plate, a fertilizer box is fixedly connected to the middle end of the top of the turning plate, discharging pipes are fixedly connected to the left end of the bottom of an inner cavity of the seed box and the right end of the bottom of an inner cavity of the fertilizer box, the bottom of the discharging pipes extends to the lower end of the bottom of the turning plate, an electromagnetic valve is fixedly installed in the inner cavity of the discharging pipes, a first electric telescopic rod is fixedly installed at the right end of the bottom of the turning plate, a soil breaking plough is fixedly installed at the bottom of the first electric telescopic rod, a second electric telescopic rod is fixedly installed at the left end of the bottom of the turning plate, a soil pushing block is fixedly installed at the bottom of the second electric telescopic rod, a spray head is fixedly installed at the left end of the bottom of the turning plate and at the left end of the, the left bottom fixed mounting of water tank has the pump machine, the water sucking mouth of pump machine passes through pipeline and water tank inner chamber left bottom fixed connection, the delivery port of pump machine passes through pipeline and shower nozzle fixed connection.
Preferably, the periphery of the bottom of the sweeping board is fixedly provided with supporting legs, the bottoms of the supporting legs are provided with grooves, and inner cavities of the grooves are rotatably connected with rollers through rotating shafts.
Preferably, the bottom of the inner cavity of the seed box and the bottom of the inner cavity of the fertilizer box are both fixedly connected with a material guide plate, and the front end and the rear end of the upper part of the left side of the water box are both fixedly connected with a pushing handle.
Preferably, the water filling port has been seted up to the left end at water tank top, first feed inlet has been seted up to the left end at fertilizer tank top, the second feed inlet has been seted up to the right-hand member at seed tank top.
Preferably, the display is fixedly mounted at the left end of the front face of the vehicle plate, and the PLC is fixedly mounted at the right end of the front face of the vehicle plate.
Compared with the prior art, the beneficial effects of the utility model are as follows:
the utility model can drive the soil breaking plough to move up and down through the first electric telescopic rod, and when in use, the first electric telescopic rod and the second electric telescopic rod are controlled to move down, thereby driving the soil breaking plough and the bulldozing block to move down, and the soil can be broken by the soil breaking plough, then the electromagnetic valve is opened to lead the seeds and the fertilizer to fall into the broken soil simultaneously, then the soil can be covered by pushing the soil blocks, so that the seeds and the fertilizer are covered by the soil, the water in the water tank can be sucked out by the pump, and is sent into a spray head, water is sprayed out by the spray head, the seeds can absorb the fertilizer more easily by sprinkling, and this device will sow and fertilize and go on simultaneously, the effectual work efficiency that has improved has solved present seeding and fertilization and is partd, leads to efficiency not high to do not have the watering function, lead to fertilizer to be difficult to by the absorptive problem of seed.
Drawings
The accompanying drawings, which are included to provide a further understanding of the application and are incorporated in and constitute a part of this application, illustrate embodiment(s) of the application and together with the description serve to explain the application and not to limit the application, and in which:
FIG. 1 is a schematic structural view of the present invention;
FIG. 2 is a schematic sectional view of the present invention in a front view;
FIG. 3 is a right side view of the supporting leg of the present invention;
fig. 4 is a schematic view of the soil pushing block of the present invention.
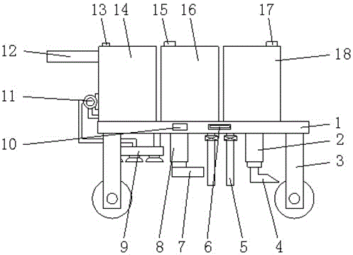
In the figure: 1. turning a plate; 2. a first electric telescopic rod; 3. supporting legs; 4. a soil breaking plough; 5. a discharge pipe; 6. a PLC controller; 7. pushing the soil blocks; 8. a second electric telescopic rod; 9. a spray head; 10. a display; 11. a pump machine; 12. a push handle; 13. a water injection port; 14. a water tank; 15. a first feed port; 16. a fertilizer box; 17. a second feed port; 18. a seed box; 19. a material guide plate; 20. a liquid level sensor; 21. a groove; 22. a roller; 23. an electromagnetic valve.
Detailed Description
The technical solutions in the embodiments of the present invention will be described clearly and completely with reference to the accompanying drawings in the embodiments of the present invention, and it is obvious that the described embodiments are only some embodiments of the present invention, not all embodiments. Based on the embodiments in the present invention, all other embodiments obtained by a person skilled in the art without creative work belong to the protection scope of the present invention.
In the description of the present invention, it is to be noted that, unless otherwise explicitly specified or limited, the terms "mounted", "provided", "connected", and the like are to be construed broadly, such as "connected", which may be fixedly connected, detachably connected, or integrally connected; can be mechanically or electrically connected; they may be connected directly or indirectly through intervening media, or they may be interconnected between two elements. The specific meaning of the above terms in the present invention can be understood in specific cases to those skilled in the art.
The utility model discloses a sweep 1, first electric telescopic handle 2, supporting leg 3, broken soil plough 4, discharging pipe 5, PLC controller 6, bulldoze piece 7, second electric telescopic handle 8, shower nozzle 9, display 10, pump 11, push away 12, water filling port 13, water tank 14, first feed inlet 15, can fertilizer 16, second feed inlet 17, seed box 18, stock guide 19, level sensor 20, recess 21, gyro wheel 22 and 23 parts of solenoid valve are the parts that general standard or technical personnel in the field know, its structure and principle all are that this technical personnel all can learn through the technical manual or learn through conventional experimental method.
Referring to fig. 1-4, an agricultural seeding and fertilizing device comprises a turning plate 1, a seed box 18 is fixedly connected to the right end of the top of the turning plate 1, a fertilizer box 16 is fixedly connected to the middle end of the top of the turning plate 1, a discharging pipe 5 is fixedly connected to both the left end of the bottom of the inner cavity of the seed box 18 and the right end of the bottom of the inner cavity of the fertilizer box 16, the bottom of the discharging pipe 5 extends to the lower end of the bottom of the turning plate 1, an electromagnetic valve 23 is fixedly installed in the inner cavity of the discharging pipe 5, a first electric telescopic rod 2 is fixedly installed at the right end of the bottom of the turning plate 1, a soil breaking plough 4 is fixedly installed at the bottom of the first electric telescopic rod 2, a second electric telescopic rod 8 is fixedly installed at the left end of the bottom of the turning plate 1, a soil pushing block 7 is fixedly installed at the bottom of the second electric telescopic rod 8, a spray head 9 is fixedly installed, a liquid level sensor 20 is fixedly arranged in the inner cavity of the water tank 14, a pump 11 is fixedly arranged at the left bottom of the water tank 14, a water suction port of the pump 11 is fixedly connected with the left bottom of the inner cavity of the water tank 14 through a pipeline, a water outlet of the pump 11 is fixedly connected with a spray head 9 through a pipeline, supporting legs 3 are fixedly arranged around the bottom of the vehicle plate 1, the bottom of each supporting leg 3 is provided with a groove 21, the inner cavity of each groove 21 is rotatably connected with a roller 22 through a rotating shaft, the bottoms of the inner cavities of the seed tank 18 and the fertilizer tank 16 are respectively and fixedly connected with a material guide plate 19, the front end and the rear end of the upper part at the left side of the water tank 14 are respectively and fixedly connected with a push handle 12, the left end of the top of the water tank 14 is provided with a water injection port 13, the left end of the top of the fertilizer tank 16 is provided with a, the soil breaking plough 4 can be driven to move up and down through the first electric telescopic rod 2, the first electric telescopic rod 2 and the second electric telescopic rod 8 are controlled to move down when in use, so that the soil breaking plough 4 and the soil pushing block 7 are driven to move down, the soil breaking plough 4 can break the soil, then the electromagnetic valve 23 is opened, the seeds and the fertilizer simultaneously fall into the broken soil, then the soil pushing block 7 can be used for covering the soil, the soil covers the seeds and the fertilizer, the pump 11 can suck out the water in the water tank 14 and send the water into the spray head 9, the water is sprayed out through the spray head 9, the fertilizer can be absorbed more easily by the seeds through watering, the device can simultaneously carry out the seeding and the fertilizing, the working efficiency is effectively improved, the problem that the existing seeding and the fertilizing are separated, the efficiency is low, and the water spraying function is not available is solved, leading to the problem that the fertilizer is not easily absorbed by the seeds.
When the device is used, the soil breaking plough 4 can be driven to move up and down through the first electric telescopic rod 2, when the device is needed, the first electric telescopic rod 2 and the second electric telescopic rod 8 are controlled to move down, so that the soil breaking plough 4 and the bulldozing block 7 are driven to move down, soil can be broken through by using the soil breaking plough 4, then the electromagnetic valve 23 is opened, seeds and fertilizer can fall into the broken soil simultaneously, then the soil pushing block 7 can be used for covering soil, so that the seeds and the fertilizer are covered by the soil, water in the water tank 14 can be sucked out by using the pump 11 and is sent into the spray head 9, the spray head 9 is used for spraying water, the seeds can absorb the fertilizer more easily, and the device can simultaneously carry out sowing and fertilizing, thereby effectively improving the working efficiency, solving the problem that the existing sowing and fertilizing are separated, which causes low efficiency, and the fertilizer has no water spraying function, so that the fertilizer is not easily absorbed by seeds.
Although embodiments of the present invention have been shown and described, it will be appreciated by those skilled in the art that changes, modifications, substitutions and alterations can be made in these embodiments without departing from the principles and spirit of the invention, the scope of which is defined in the appended claims and their equivalents.

Claims (5)

1. The utility model provides an agricultural is with seeding fertilizer injection unit, includes sweep (1), its characterized in that: the utility model discloses a soil breaking plough, including sweep board (1), feed bin (16), left end fixedly connected with kind case (18) at sweep board (1) top, the middle-end fixedly connected with fertilizer case (16) at the middle-end fixedly connected with of sweep board (1) top, the left end of the inner chamber bottom of kind case (18) and the equal fixedly connected with discharging pipe (5) of the right-hand member of fertilizer case (16) inner chamber bottom, the bottom of discharging pipe (5) extends to the lower extreme of sweep board (1) bottom, the inner chamber fixed mounting of discharging pipe (5) has solenoid valve (23), the right-hand member fixed mounting of sweep board (1) bottom has first electric telescopic handle (2), the bottom fixed mounting of first electric telescopic handle (2) has broken native plough (4), the left end fixed mounting of sweep board (1) bottom has second electric telescopic handle (8), the bottom fixed mounting of second electric telescopic handle (8) has soil pushing block (7), the left end of sweep board (1) bottom and the left, the left end fixed mounting at sweep (1) top has water tank (14), the inner chamber fixed mounting of water tank (14) has level sensor (20), the left bottom fixed mounting of water tank (14) has pump machine (11), the water sucking mouth of pump machine (11) passes through pipeline and the left bottom fixed connection of water tank (14) inner chamber, the delivery port of pump machine (11) passes through pipeline and shower nozzle (9) fixed connection.
2. The agricultural seeding and fertilizing device as claimed in claim 1, characterized in that: all fixed mounting all around of sweep (1) bottom has supporting leg (3), the bottom of supporting leg (3) is seted up flutedly (21), the inner chamber of recess (21) is rotated through the pivot and is connected with gyro wheel (22).
3. The agricultural seeding and fertilizing device as claimed in claim 1, characterized in that: the bottom of the inner cavity of the seed box (18) and the bottom of the inner cavity of the fertilizer box (16) are both fixedly connected with a material guide plate (19), and the front end and the rear end of the upper part of the left side of the water tank (14) are both fixedly connected with a pushing handle (12).
4. The agricultural seeding and fertilizing device as claimed in claim 1, characterized in that: the water filling port (13) has been seted up to the left end at water tank (14) top, first feed inlet (15) have been seted up to the left end at fertilizer case (16) top, second feed inlet (17) have been seted up to the right-hand member at seed case (18) top.
5. The agricultural seeding and fertilizing device as claimed in claim 1, characterized in that: the front left end of sweep (1) fixed mounting has display (10), the front right-hand member fixed mounting of sweep (1) has PLC controller (6).
CN202021589332.5U 2020-08-04 2020-08-04 An agricultural seeding and fertilizing device Expired - Fee Related CN213073568U (en)

Priority Applications (1)

Application Number Priority Date Filing Date Title
CN202021589332.5U CN213073568U (en) 2020-08-04 2020-08-04 An agricultural seeding and fertilizing device

Applications Claiming Priority (1)

Application Number Priority Date Filing Date Title
CN202021589332.5U CN213073568U (en) 2020-08-04 2020-08-04 An agricultural seeding and fertilizing device

Publications (1)

Publication Number Publication Date
CN213073568U true CN213073568U (en) 2021-04-30

Family

ID=75628389

Family Applications (1)

Application Number Title Priority Date Filing Date
CN202021589332.5U Expired - Fee Related CN213073568U (en) 2020-08-04 2020-08-04 An agricultural seeding and fertilizing device

Country Status (1)

Country Link
CN (1) CN213073568U (en)

Similar Documents

Publication Publication Date Title
CN106717192B (en) Rotary tillage seeding fertilization pesticide application multifunctional dry direct seeding machine
CN102598935B (en) Single-bud/double-bud transverse planter for sugarcanes
CN213548313U (en) Agricultural fertilizing and seeding device
CN108184352A (en) A kind of composite type integration farm equipment
CN104798467A (en) Ridging, pesticide spraying, under-film water applying, earthing and hole sowing combined machine
CN206821222U (en) A kind of ultra-high pressure water fluid jet stalk pre-cut cutter, ditching machine and no-tillage seeding machine
CN204697486U (en) Water earthing bunch planting combine is executed under a kind of ridging spray medicine film
CN105165155A (en) Combination type operation machine capable of conducting fertilizer spreading, rotary tillage, sowing and spraying
CN219046654U (en) Harvesting, sowing and irrigation integrated harvester
CN206165139U (en) Sweet potato seeding fertilization combined operation machine
CN101627674A (en) Seed sowing machinery for synchronously ditching, ridging and spraying
CN204244676U (en) The spray of seed produces is fertile, spray medicine equipment
CN204090503U (en) The full overlay film precision drill of sunflower electrically driven sucking
CN207885140U (en) A kind of straw decomposition into field device
CN213073568U (en) An agricultural seeding and fertilizing device
CN211557912U (en) A warm tulip seeder
CN103891441A (en) Machine and method for soil covering, soil removing, rotary tillage, soil preparation, insecticide spraying and fertilization for grapes
CN203353060U (en) Dry land all-plastic-film double-furrow corn stubble processing operation machine
CN213404067U (en) Soil loosening device for agricultural planting
CN105247992A (en) Seeder capable of realizing deep irrigation
CN113141800B (en) Agricultural automatic intermittent seeder
CN208317361U (en) Integrated multifunctional seed drill is irrigated and topdressed to a kind of collection
CN205030064U (en) It spouts medicine double entry workover rig to spill fertile rotary tillage seeding
CN210694826U (en) Corn planting is with fertilizer injection unit that loosens soil
CN2682780Y (en) Corn no-tillage planting combine for fertilizing and spraying chemical

Legal Events

Date Code Title Description
GR01 Patent grant
GR01 Patent grant
CF01 Termination of patent right due to non-payment of annual fee

Granted publication date: 20210430

CF01 Termination of patent right due to non-payment of annual fee