CN213026578U - 一种压铸成型的锌合金电缆连接器 - Google Patents
一种压铸成型的锌合金电缆连接器 Download PDFInfo
- Publication number
- CN213026578U CN213026578U CN202022000318.3U CN202022000318U CN213026578U CN 213026578 U CN213026578 U CN 213026578U CN 202022000318 U CN202022000318 U CN 202022000318U CN 213026578 U CN213026578 U CN 213026578U
- Authority
- CN
- China
- Prior art keywords
- wall
- block
- die
- zinc alloy
- cable connector
- Prior art date
- Legal status (The legal status is an assumption and is not a legal conclusion. Google has not performed a legal analysis and makes no representation as to the accuracy of the status listed.)
- Active
Links
- 229910001297 Zn alloy Inorganic materials 0.000 title abstract description 11
- 238000004512 die casting Methods 0.000 title abstract description 11
- RYGMFSIKBFXOCR-UHFFFAOYSA-N Copper Chemical compound [Cu] RYGMFSIKBFXOCR-UHFFFAOYSA-N 0.000 claims abstract description 19
- 229910052802 copper Inorganic materials 0.000 claims abstract description 19
- 239000010949 copper Substances 0.000 claims abstract description 19
- 229910001229 Pot metal Inorganic materials 0.000 claims description 10
- 229910045601 alloy Inorganic materials 0.000 claims description 10
- 239000000956 alloy Substances 0.000 claims description 10
- 230000006978 adaptation Effects 0.000 claims description 5
- 210000003781 tooth socket Anatomy 0.000 description 4
- 238000004519 manufacturing process Methods 0.000 description 3
- 230000000149 penetrating effect Effects 0.000 description 2
- 230000004075 alteration Effects 0.000 description 1
- 230000009286 beneficial effect Effects 0.000 description 1
- 238000004891 communication Methods 0.000 description 1
- 230000007797 corrosion Effects 0.000 description 1
- 238000005260 corrosion Methods 0.000 description 1
- 230000007547 defect Effects 0.000 description 1
- 238000010586 diagram Methods 0.000 description 1
- 230000000694 effects Effects 0.000 description 1
- 238000000034 method Methods 0.000 description 1
- 238000012986 modification Methods 0.000 description 1
- 230000004048 modification Effects 0.000 description 1
- 238000007789 sealing Methods 0.000 description 1
- 238000006467 substitution reaction Methods 0.000 description 1
- 239000002699 waste material Substances 0.000 description 1
Images
Landscapes
- Details Of Connecting Devices For Male And Female Coupling (AREA)
Abstract
本实用新型涉及电缆连接器技术领域,且公开了一种压铸成型的锌合金电缆连接器,包括连接器外管,所述连接器外管内壁底端固定连接有限位块,所述限位块顶端固定安装有铜管,所述铜管内壁活动连接有电缆,所述铜管外壁四角均固定安装有卡块,所述卡块正面固定安装有第二滑块,所述固定块顶端固定安装有限位板,所述螺纹圆盘顶端和底端均固定安装有第一滑块,该压铸成型的锌合金电缆连接器,通过旋转旋钮,带动转杆转动,转杆转动带动主动锥形齿轮转动,主动锥形齿轮转动带动从动锥形齿轮转动,从动锥形齿轮转动带动螺纹圆盘转动,螺纹圆盘转动带动卡块相螺纹圆盘圆心处收缩,使卡块夹紧铜管,达到固定连接两条电缆的目的。
Description
技术领域
本实用新型涉及电缆连接器技术领域,具体为一种压铸成型的锌合金电缆连接器。
背景技术
电缆连接器是电子工程技术人员经常接触的一种部件,它的作用是在电路内被阻断处或孤立不通的电路之间,架起沟通的桥梁,从而使电流流通,使电路实现预定的功能。电缆连接器简化电子产品的装配过程,也简化了批量生产过程。
传统的电缆连接器由于结构复杂,制造工艺较为繁琐,生产成本高,耐腐蚀性能差。现提供一种压铸成型的锌合金电缆连接器,方便对两段电缆进行连接,操作简易方便,固定性良好,对多种不同直径的电缆均能够进行再次拼接,不会造成电缆线的浪费。
实用新型内容
(一)解决的技术问题
针对现有技术的不足,本实用新型提供了一种压铸成型的锌合金电缆连接器,具备固定连接两条电缆的优点,解决了固定连接两条电缆不便的问题。
(二)技术方案
为实现上述固定连接两条电缆的目的,本实用新型提供如下技术方案:一种压铸成型的锌合金电缆连接器,包括连接器外管,所述连接器外管内壁底端固定连接有限位块,所述限位块顶端固定安装有铜管,所述铜管内壁活动连接有电缆,所述铜管外壁四角均固定安装有卡块,所述卡块正面固定安装有第二滑块,四个所述卡块靠近限位块垂直中心线的一端分别螺纹连接有螺纹圆盘,所述螺纹圆盘顶端和底端均固定安装有第一滑块,两个所述螺纹圆盘相对一侧分别固定安装有从动锥形齿轮,两个所述从动锥形齿轮相对一侧啮合连接有主动锥形齿轮,所述主动锥形齿轮顶端固定安装有转杆,所述转杆顶端固定安装有旋钮,所述连接器外管底端固定安装有空箱,所述空箱内壁底端固定安装有固定块;
所述固定块顶端固定安装有限位板,位于下方的所述卡块内壁右侧固定安装有短杆,所述短杆左侧固定安装有挡板,所述挡板左侧固定安装有弹簧,所述弹簧左侧固定安装有活动板,所述活动板右侧固定安装有圆杆。
优选的,所述转杆顶端贯穿连接器外管内壁顶端,并且延伸至外侧与旋钮底端固定连接,方便旋钮转动带动转杆转动。
优选的,四个所述卡块靠近螺纹圆盘垂直中心线的一端均固定安装有绝缘套,不会影响电缆工作,所述卡块正面和背面均固定安装有第二滑块,所述连接器外管正面和背面均开设有第一滑槽,所述第一滑槽分别与两个第二滑块相适配,使卡块只会上下移动,不会跟着螺纹圆盘前后旋转运动。
优选的,四个所述卡块均贯穿连接器外管外壁,并且延伸至内壁与铜管外壁固定连接,固定卡块位置,使其只能上下移动。
优选的,所述连接器外管开设有两个环形滑槽,两个所述环形滑槽分别与两个螺纹圆盘的第一滑块相适配,固定螺纹圆盘位置并且使其能够旋转。
优选的,所述活动板底端贯穿固定块内壁底端并且延伸至外侧,被贯穿通道左右方向开设有第二滑槽,所述第二滑槽与活动板相适配,所述空箱内壁底端开设有光滑通道,所述光滑通道与活动板相适配,所述光滑通道左右方向开设有第三滑槽,所述第三滑槽与活动板相适配,使活动板能够左右移动。
优选的,所述活动板左侧开设有第一齿槽,所述限位板右侧开设有第二齿槽,所述第一齿槽与第二齿槽相互啮合,使限位板能够固定活动板位置,从而固定位于下方的卡块位置。
优选的,所述圆杆右侧固定安装有挡块,使圆杆不会从挡板上脱落,所述圆杆右侧贯穿挡板左侧并且延伸至右侧与挡块左侧固定连接,方便圆杆左右移动。
(三)有益效果
与现有技术相比,本实用新型提供了一种压铸成型的锌合金电缆连接器,具备以下有益效果:
1、该压铸成型的锌合金电缆连接器,通过旋转旋钮,带动转杆转动,转杆转动带动主动锥形齿轮转动,主动锥形齿轮转动带动从动锥形齿轮转动,从动锥形齿轮转动带动螺纹圆盘转动,螺纹圆盘转动带动卡块相螺纹圆盘圆心处收缩,使卡块夹紧铜管,达到固定连接两条电缆的目的。
2、该压铸成型的锌合金电缆连接器,通过弹簧向左对活动板施加一个向左的力,使活动板的第一齿槽始终与限位板的第二齿槽相互啮合,达到固定卡块的目的,从而达到固定螺纹圆盘的目的,进而固定卡块卡住电缆,达到固定电缆的目的,向右移动活动板,使限位板的第二齿槽不再与活动板的第一齿槽相互啮合,达到松开电缆的目的。
附图说明
图1为本实用新型结构立体图;
图2为本实用新型结构示意图;
图3为本实用新型螺纹圆盘结构侧视图;
图4为本实用新型活动板结构示意图;
图5为本实用新型结构A处放大图。
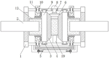
图中:1、连接器外管;2、电缆;3、第一滑块;4、从动锥形齿轮;5、固定块;6、主动锥形齿轮;7、转杆;8、旋钮;9、螺纹圆盘;10、卡块;11、第二滑块;12、铜管;13、活动板;14、限位板;15、短杆;16、挡板;17、圆杆;18、弹簧;19、限位块。
具体实施方式
下面将结合本实用新型实施例中的附图,对本实用新型实施例中的技术方案进行清楚、完整地描述,显然,所描述的实施例仅仅是本实用新型一部分实施例,而不是全部的实施例。基于本实用新型中的实施例,本领域普通技术人员在没有做出创造性劳动前提下所获得的所有其他实施例,都属于本实用新型保护的范围。
请参阅图1-2和图3,一种压铸成型的锌合金电缆连接器,包括连接器外管1,连接器外管1左右两侧均套设有橡胶套,只有圆心处开设有小孔,起到半密封的作用,连接器外管1内壁底端固定连接有限位块19,限位块19顶端固定安装有铜管12,铜管12内壁活动连接有电缆2,铜管12外壁四角均固定安装有卡块10,位于上方的卡块10内部没有位于下方的卡块10内部的结构,四个卡块10靠近螺纹圆盘9垂直中心线的一端均固定安装有绝缘套,不会影响电缆2工作,卡块10正面和背面均固定安装有第二滑块11,连接器外管1正面和背面均开设有第一滑槽,第一滑槽分别与两个第二滑块11相适配,使卡块10只会上下移动,不会跟着螺纹圆盘9前后旋转运动,四个卡块10均贯穿连接器外管1外壁,并且延伸至内壁与铜管12外壁固定连接,固定卡块10位置,使其只能上下移动,卡块10正面固定安装有第二滑块11,四个卡块10靠近限位块19垂直中心线的一端分别螺纹连接有螺纹圆盘9,两个螺纹圆盘9的螺纹方向相反,使两个螺纹圆盘9向相反方向转动时也可以同时收缩短与其适配的卡块10,每个螺纹圆盘9上均匀螺纹连接有四个卡块10,每两个卡块10之间形成角度为九十度,连接器外管1开设有两个环形滑槽,两个环形滑槽分别与两个螺纹圆盘9的第一滑块3相适配,固定螺纹圆盘9位置并且使其能够旋转,螺纹圆盘9顶端和底端均固定安装有第一滑块3,两个螺纹圆盘9相对一侧分别固定安装有从动锥形齿轮4,两个从动锥形齿轮4相对一侧啮合连接有主动锥形齿轮6,主动锥形齿轮6顶端固定安装有转杆7,转杆7顶端贯穿连接器外管1内壁顶端,并且延伸至外侧与旋钮8底端固定连接,方便旋钮8转动带动转杆7转动,转杆7顶端固定安装有旋钮8,连接器外管1底端固定安装有空箱,空箱内壁底端固定安装有固定块5;
请参阅图4-5,固定块5顶端固定安装有限位板14,位于下方的卡块10内壁右侧固定安装有短杆15,短杆15及其所属结构数量为三个,均匀排列在活动板13右侧,短杆15左侧固定安装有挡板16,挡板16左侧固定安装有弹簧18,弹簧18左侧固定安装有活动板13,活动板13底端贯穿固定块5内壁底端并且延伸至外侧,被贯穿通道左右方向开设有第二滑槽,第二滑槽与活动板13相适配,空箱内壁底端开设有光滑通道,光滑通道与活动板13相适配,光滑通道左右方向开设有第三滑槽,第三滑槽与活动板13相适配,使活动板13能够左右移动,活动板13左侧开设有第一齿槽,限位板14右侧开设有第二齿槽,第一齿槽与第二齿槽相互啮合,使限位板14能够固定活动板13位置,从而固定位于下方的卡块10位置,活动板13右侧固定安装有圆杆17,圆杆17右侧固定安装有挡块,使圆杆17不会从挡板16上脱落,圆杆17右侧贯穿挡板16左侧并且延伸至右侧与挡块左侧固定连接,方便圆杆17左右移动。
工作原理:通过向两个活动板13相对一侧方向移动两个活动板13,活动板13向相对一侧方向移动带动圆杆17向相对一侧方向移动,圆杆17向相对一侧方向移动使弹簧18向相对一侧方向移动,使弹簧18受到挤压,使限位板14的第二齿槽不再与活动板13的第一齿槽相互啮合,使卡块10能够自由上下移动,旋转旋钮8,旋钮8旋转带动转杆7转动,转杆7转动带动主动锥形齿轮6转动,主动锥形齿轮6转动带动两个从动锥形齿轮4转动,两个从动锥形齿轮4转动分别带动两个螺纹圆盘9转动,螺纹圆盘9转动带动四个卡块10向螺纹圆盘9圆心处收缩,使卡块10夹紧铜管12,铜管12收缩夹紧内壁的电缆2,达到固定连接两条电缆2的目的,同时松开两个活动板13,两个活动板13受到弹簧18的推力向相背一侧方向移动,使活动板13的第一齿槽与限位板14的第二齿槽相互啮合,从而固定卡块10,进而固定螺纹圆盘9的目的,最终通过固定卡块10卡住电缆2,达到固定电缆2的目的。
综上所述,该压铸成型的锌合金电缆连接器,通过旋转旋钮8,带动转杆7转动,转杆7转动带动主动锥形齿轮6转动,主动锥形齿轮6转动带动从动锥形齿轮4转动,从动锥形齿轮4转动带动螺纹圆盘9转动,螺纹圆盘9转动带动卡块10向螺纹圆盘9圆心处收缩,使卡块10夹紧铜管12,达到固定连接两条电缆2的目的,通过弹簧18向左对活动板13施加一个向左的力,使活动板13的第一齿槽始终与限位板14的第二齿槽相互啮合,达到固定卡块10的目的,从而达到固定螺纹圆盘9的目的,进而固定卡块10卡住电缆2,达到固定电缆2的目的,向右移动活动板13,使限位板14的第二齿槽不再与活动板13的第一齿槽相互啮合,达到松开电缆2的目的。
尽管已经示出和描述了本实用新型的实施例,对于本领域的普通技术人员而言,可以理解在不脱离本实用新型的原理和精神的情况下可以对这些实施例进行多种变化、修改、替换和变型,本实用新型的范围由所附权利要求及其等同物限定。
Claims (8)
1.一种压铸成型的锌合金电缆连接器,包括连接器外管(1),其特征在于:所述连接器外管(1)内壁底端固定连接有限位块(19),所述限位块(19)顶端固定安装有铜管(12),所述铜管(12)内壁活动连接有电缆(2),所述铜管(12)外壁四角均固定安装有卡块(10),所述卡块(10)正面固定安装有第二滑块(11),四个所述卡块(10)靠近限位块(19)垂直中心线的一端分别螺纹连接有螺纹圆盘(9),所述螺纹圆盘(9)顶端和底端均固定安装有第一滑块(3),两个所述螺纹圆盘(9)相对一侧分别固定安装有从动锥形齿轮(4),两个所述从动锥形齿轮(4)相对一侧啮合连接有主动锥形齿轮(6),所述主动锥形齿轮(6)顶端固定安装有转杆(7),所述转杆(7)顶端固定安装有旋钮(8),所述连接器外管(1)底端固定安装有空箱,所述空箱内壁底端固定安装有固定块(5);
所述固定块(5)顶端固定安装有限位板(14),位于下方的所述卡块(10)内壁右侧固定安装有短杆(15),所述短杆(15)左侧固定安装有挡板(16),所述挡板(16)左侧固定安装有弹簧(18),所述弹簧(18)左侧固定安装有活动板(13),所述活动板(13)右侧固定安装有圆杆(17)。
2.根据权利要求1所述的一种压铸成型的锌合金电缆连接器,其特征在于:所述转杆(7)顶端贯穿连接器外管(1)内壁顶端,并且延伸至外侧与旋钮(8)底端固定连接。
3.根据权利要求1所述的一种压铸成型的锌合金电缆连接器,其特征在于:四个所述卡块(10)靠近螺纹圆盘(9)垂直中心线的一端均固定安装有绝缘套,所述卡块(10)正面和背面均固定安装有第二滑块(11),所述连接器外管(1)正面和背面均开设有第一滑槽,所述第一滑槽分别与两个第二滑块(11)相适配。
4.根据权利要求3所述的一种压铸成型的锌合金电缆连接器,其特征在于:四个所述卡块(10)均贯穿连接器外管(1)外壁,并且延伸至内壁与铜管(12)外壁固定连接。
5.根据权利要求1所述的一种压铸成型的锌合金电缆连接器,其特征在于:所述连接器外管(1)开设有两个环形滑槽,两个所述环形滑槽分别与两个螺纹圆盘(9)的第一滑块(3)相适配。
6.根据权利要求1所述的一种压铸成型的锌合金电缆连接器,其特征在于:所述活动板(13)底端贯穿固定块(5)内壁底端并且延伸至外侧,被贯穿通道左右方向开设有第二滑槽,所述第二滑槽与活动板(13)相适配,所述空箱内壁底端开设有光滑通道,所述光滑通道与活动板(13)相适配,所述光滑通道左右方向开设有第三滑槽,所述第三滑槽与活动板(13)相适配。
7.根据权利要求1所述的一种压铸成型的锌合金电缆连接器,其特征在于:所述活动板(13)左侧开设有第一齿槽,所述限位板(14)右侧开设有第二齿槽,所述第一齿槽与第二齿槽相互啮合。
8.根据权利要求1所述的一种压铸成型的锌合金电缆连接器,其特征在于:所述圆杆(17)右侧固定安装有挡块,所述圆杆(17)右侧贯穿挡板(16)左侧并且延伸至右侧与挡块左侧固定连接。
Priority Applications (1)
| Application Number | Priority Date | Filing Date | Title |
|---|---|---|---|
| CN202022000318.3U CN213026578U (zh) | 2020-09-14 | 2020-09-14 | 一种压铸成型的锌合金电缆连接器 |
Applications Claiming Priority (1)
| Application Number | Priority Date | Filing Date | Title |
|---|---|---|---|
| CN202022000318.3U CN213026578U (zh) | 2020-09-14 | 2020-09-14 | 一种压铸成型的锌合金电缆连接器 |
Publications (1)
| Publication Number | Publication Date |
|---|---|
| CN213026578U true CN213026578U (zh) | 2021-04-20 |
Family
ID=75476050
Family Applications (1)
| Application Number | Title | Priority Date | Filing Date |
|---|---|---|---|
| CN202022000318.3U Active CN213026578U (zh) | 2020-09-14 | 2020-09-14 | 一种压铸成型的锌合金电缆连接器 |
Country Status (1)
| Country | Link |
|---|---|
| CN (1) | CN213026578U (zh) |
Cited By (1)
| Publication number | Priority date | Publication date | Assignee | Title |
|---|---|---|---|---|
| CN114709789A (zh) * | 2022-03-24 | 2022-07-05 | 国网河南省电力公司漯河供电公司 | 一种直埋电缆接头绝缘防水处理装置 |
-
2020
- 2020-09-14 CN CN202022000318.3U patent/CN213026578U/zh active Active
Cited By (1)
| Publication number | Priority date | Publication date | Assignee | Title |
|---|---|---|---|---|
| CN114709789A (zh) * | 2022-03-24 | 2022-07-05 | 国网河南省电力公司漯河供电公司 | 一种直埋电缆接头绝缘防水处理装置 |
Similar Documents
| Publication | Publication Date | Title |
|---|---|---|
| CN211231846U (zh) | 一种市政工程管道快速连接设备 | |
| CN213026578U (zh) | 一种压铸成型的锌合金电缆连接器 | |
| CN211163948U (zh) | 一种用于电子产品组装的机械手臂 | |
| CN219725044U (zh) | 一种tx揭合焊接机负角度焊接装置 | |
| CN218732322U (zh) | 电力工程用接线装置 | |
| CN220782806U (zh) | 一种金属焊接用夹具 | |
| CN212162298U (zh) | 一种同轴电缆组件的组装对心夹具 | |
| CN112202266B (zh) | 机器人驱动电机 | |
| CN215149110U (zh) | 一种具有激光灯的机械手臂装置 | |
| CN115579686A (zh) | 一种易于接线的配电自动化站所终端 | |
| CN115673383A (zh) | 一种轮子用钻孔加工工装 | |
| CN218560707U (zh) | 一种带有收紧结构的橡皮电缆 | |
| CN210985542U (zh) | 一种稳定性好的扬声器接线盒安装结构 | |
| CN223583774U (zh) | 一种光伏发电用光伏组件接线装置 | |
| CN214674209U (zh) | 一种照明节能型母线槽 | |
| CN223273758U (zh) | 一种监控安防光通讯线缆用铺设装置 | |
| CN222814312U (zh) | 一种新型步进电机的固定座 | |
| CN220042300U (zh) | 一种五金接线端子连接器 | |
| CN112621329A (zh) | 一种用于环形换钻头的机械钻头装置 | |
| CN214998815U (zh) | 一种适用性广的连杆球头 | |
| CN223347083U (zh) | 一种新型光纤活动连接器固定夹具 | |
| CN219393904U (zh) | 一种石墨基接地装置导线连接结构 | |
| CN220108400U (zh) | 触摸显示屏用面盖 | |
| CN220198062U (zh) | 一种瓷砖储坯机 | |
| CN222355884U (zh) | 一种方便组装的电缆托架 |
Legal Events
| Date | Code | Title | Description |
|---|---|---|---|
| GR01 | Patent grant | ||
| GR01 | Patent grant |