CN213007790U - Automatically controlled dolly with independently stand up function - Google Patents

Automatically controlled dolly with independently stand up function Download PDF

Info

Publication number
CN213007790U
CN213007790U CN202021724024.9U CN202021724024U CN213007790U CN 213007790 U CN213007790 U CN 213007790U CN 202021724024 U CN202021724024 U CN 202021724024U CN 213007790 U CN213007790 U CN 213007790U
Authority
CN
China
Prior art keywords
welded
electric telescopic
telescopic rod
transport
plate
Prior art date
Legal status (The legal status is an assumption and is not a legal conclusion. Google has not performed a legal analysis and makes no representation as to the accuracy of the status listed.)
Expired - Fee Related
Application number
CN202021724024.9U
Other languages
Chinese (zh)
Inventor
王仕臣
李丹丹
刘鼎一
Current Assignee (The listed assignees may be inaccurate. Google has not performed a legal analysis and makes no representation or warranty as to the accuracy of the list.)
Northeast Forestry University
Original Assignee
Northeast Forestry University
Priority date (The priority date is an assumption and is not a legal conclusion. Google has not performed a legal analysis and makes no representation as to the accuracy of the date listed.)
Filing date
Publication date
Application filed by Northeast Forestry University filed Critical Northeast Forestry University
Priority to CN202021724024.9U priority Critical patent/CN213007790U/en
Application granted granted Critical
Publication of CN213007790U publication Critical patent/CN213007790U/en
Expired - Fee Related legal-status Critical Current
Anticipated expiration legal-status Critical

Links

Images

Landscapes

  • Handcart (AREA)

Abstract

本实用新型涉及电控小车技术领域,尤其涉及一种具有自主翻身功能的电控小车,包括控制箱、车轮、传动轮、履带、电动伸缩杆和运输盘,所述控制箱的两端均通过传动轴的连接设置了一对车轮;所述控制箱中设置有电动伸缩杆,且电动伸缩杆的一端焊接了第二铰接块,第二铰接块与固定块铰接相连,所述固定块焊接在所述运输盘的底部;所述运输盘的底部焊接了插杆,且插杆的两端均插接在连接块中;所述运输盘的一端设置有由电机带动运转的翻转板,且运输板的另一端焊接有挡板。本实用新型,可以控制电动伸缩杆做伸展运动时,推动运输盘带动插杆做角度的调整,从而实现对运输盘的翻转控制,使得小车具有自主翻身的功能。

Figure 202021724024

The utility model relates to the technical field of electronically controlled trolleys, in particular to an electronically controlled trolley with an autonomous turning function, comprising a control box, a wheel, a transmission wheel, a crawler, an electric telescopic rod and a transport disc. A pair of wheels is set for the connection of the transmission shaft; an electric telescopic rod is set in the control box, and one end of the electric telescopic rod is welded with a second hinge block, and the second hinge block is hingedly connected with the fixed block, and the fixed block is welded on the The bottom of the transport tray; the bottom of the transport tray is welded with insertion rods, and both ends of the rods are inserted into the connecting block; one end of the transport tray is provided with a turning plate driven by a motor, and the The other end of the board is welded with a baffle. The utility model can control the electric telescopic rod to stretch, push the transport tray to drive the insertion rod to adjust the angle, so as to realize the overturn control of the transport tray, and make the trolley have the function of turning over automatically.

Figure 202021724024

Description

Automatically controlled dolly with independently stand up function
Technical Field
The utility model relates to an automatically controlled dolly technical field especially relates to an automatically controlled dolly with independently stand up function.
Background
With the rapid development of economy, the technological level is improved more and more, and the manual work is replaced by the machine control in many occasions to reach the effect of improving efficiency and reducing danger, for example automatically controlled dolly, the operator can realize tasks such as exploration, transportation through remote control it.
The existing transportation equipment adopts a manual running transport vehicle to transport articles in a warehouse or a factory, and the transport vehicle is inconvenient to turn over and unload, so that the use effect is reduced.
Therefore, the electric control trolley with the automatic turning function is provided to solve the problems.
SUMMERY OF THE UTILITY MODEL
The utility model aims at solving the defects existing in the prior art and providing an electric control trolley with an independent turning function.
In order to achieve the above purpose, the utility model adopts the following technical scheme:
an electric control trolley with an autonomous turning-over function comprises a control box, wheels, a driving wheel, a crawler belt, an electric telescopic rod and a transport plate, wherein a pair of wheels is arranged at two ends of the control box through connection of a transmission shaft;
an electric telescopic rod is arranged in the control box, a second hinge block is welded at one end of the electric telescopic rod and is hinged and connected with a fixed block, and the fixed block is welded at the bottom of the transport plate;
the bottom of the transport disc is welded with an insertion rod, and two ends of the insertion rod are inserted into the connecting blocks;
one end of the conveying disc is provided with a turnover plate driven by a motor to operate, and the other end of the conveying plate is welded with a baffle plate.
Preferably, the bottom welding of control box has two fixed plates, and articulated linking has first articulated piece between the fixed plate.
Preferably, the first hinge block is welded to the electric telescopic rod.
Preferably, the two ends of the turnover plate are welded with rotating rods, and one ends of the rotating rods are fixedly connected with the output shaft of the motor through the coupler.
Preferably, the other end of the rotating rod is inserted into the supporting plate, and one end of the supporting plate is welded on the transport disc.
Preferably, one side of the wheel is provided with a driving wheel through the connection of the crawler.
The utility model has the advantages that:
1. the utility model discloses, when can controlling electric telescopic handle and be the extension motion, promote the transport disc and drive the inserted bar and do the adjustment of angle to the realization is to the roll-over control of transport disc, makes the dolly have the function of independently standing up.
2. The utility model discloses, when bearing article on the transport disc, article with convenient and fast from being the transport disc under the upset tilt state slip, accomplish unloading of article, simple structure convenient operation and suitability are strong.
Drawings
Fig. 1 is a schematic view of a front view structure of an electric control cart with an autonomous turning function provided by the utility model;
fig. 2 is a schematic diagram of a right-view structure of an electric control trolley with an autonomous turning-over function provided by the utility model;
fig. 3 is a schematic view of the overlooking structure of the position relationship among the turning plate, the transportation tray and the blocking frame of the electric control trolley with the function of self-turning over.
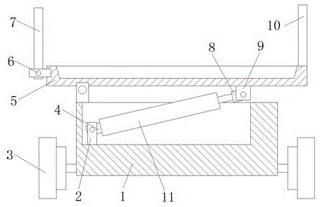
In the figure: the device comprises a control box 1, a fixing plate 2, wheels 3, a first hinging block 4, a transport plate 5, a rotating rod 6, a turning plate 7, a second hinging block 8, a fixing block 9, a blocking frame 10, an electric telescopic rod 11, a motor 12, a crawler 13 and a driving wheel 14.
Detailed Description
The technical solutions in the embodiments of the present invention will be described clearly and completely with reference to the accompanying drawings in the embodiments of the present invention, and it is obvious that the described embodiments are only some embodiments of the present invention, not all embodiments.
Example (b): referring to fig. 1-3, an electric control trolley with an autonomous turning function comprises a control box 1, wheels 3, a transmission wheel 14, a crawler belt 13, an electric telescopic rod 11 and a transport plate 5, wherein a pair of wheels 3 are arranged at two ends of the control box 1 through connection of transmission shafts, and the transmission wheel 14 is arranged at one side of each wheel 3 through connection of the crawler belt 13;
the control box 1 is internally provided with an electric telescopic rod 11, one end of the electric telescopic rod 11 is welded with a second hinging block 8, the second hinging block 8 is hinged with a fixed block 9, the fixed block 9 is welded at the bottom of the transport tray 5, the inner bottom of the control box 1 is welded with two fixed plates 2, a first hinging block 4 is hinged between the fixed plates 2, and the first hinging block 4 is welded on the electric telescopic rod 11;
the one end of transport disc 5 is provided with and drives moving returning face plate 7 by motor 12, and the other end welding of transport plate has the baffle, and bull stick 6 has all been welded at the both ends of returning face plate 7, and the output shaft fixed connection of shaft coupling and motor 12 is passed through to the one end of bull stick 6, and the other end of bull stick 6 is pegged graft on the fagging, and the one end welding of fagging is on transport disc 5.
Specifically, under the connecting action of the transmission shaft, the wheels 3 are driven to run, and under the connecting action of the crawler belts 13, the transmission wheels 14 and the wheels 3 are driven to run simultaneously, so that the adaptability of the electric control trolley to various terrains of the forest land is improved through a transmission mode combining crawler belt 13 transmission and wheel type transmission, the running effect of the trolley is ensured, and the safety and stability of the trolley running on the ground of a forest path are also ensured;
by utilizing the hinged connection relationship between the first hinged block 4 and the fixed plate 2 and the hinged connection relationship between the second hinged block 8 and the fixed block 9, because the bottom of the transport disc 5 is welded with the inserted rod, and both ends of the inserted rod are inserted in the connecting blocks, when the electric telescopic rod 11 can be controlled to do stretching motion, the transport disc 5 is pushed to drive the inserted rod to do angle adjustment (at the moment, the inserted rod is driven by the transport disc 5 to rotate in the connecting blocks), thereby realizing the turnover control of the transport disc 5 and leading the trolley to have the function of autonomous turnover;
when the transport tray 5 bears the articles, the articles can conveniently and quickly slide off the transport tray 5 in the overturning and inclining state, so that the unloading of the articles is completed, the structure is simple, the operation is convenient, and the applicability is strong;
the control motor 12 drives the rotating rod 6 to rotate, so that the turnover plate 7 is driven to turn over, the turnover plate 7 rotates from a vertical state to a horizontal state on the same horizontal plane with the transport tray 5, when the subsequent transport tray 5 turns over, articles can conveniently slide off the transport tray 5, and then slide off along the turnover plate 7, so that unloading is completed;
the baffle in the fixed state and the turnover plate 7 in the vertical state are mutually matched to play a role of shielding articles placed on the transport tray 5.
Those not described in detail in this specification are within the skill of the art.
The utility model discloses the standard part that uses all can purchase from the market, and dysmorphism piece all can be customized according to the description with the record of drawing of description, and the concrete connection mode of each part all adopts conventional means such as ripe bolt, rivet, welding among the prior art, and machinery, part and equipment all adopt prior art, and conventional model, including circuit connection adopts conventional connection mode among the prior art, does not detailed here again.
In the description of the present invention, it is to be understood that the terms "center", "longitudinal", "lateral", "length", "width", "thickness", "upper", "lower", "front", "rear", "left", "right", "vertical", "horizontal", "top", "bottom", "inner", "outer", "clockwise", "counterclockwise", and the like indicate orientations or positional relationships based on the orientations or positional relationships shown in the drawings, and are only for convenience of description and to simplify the description, but do not indicate or imply that the device or element referred to must have a particular orientation, be constructed and operated in a particular orientation, and therefore should not be construed as limiting the present invention.
Furthermore, the terms "first", "second" and "first" are used for descriptive purposes only and are not to be construed as indicating or implying relative importance or implicitly indicating the number of technical features indicated. Thus, a feature defined as "first" or "second" may explicitly or implicitly include one or more of that feature. In the description of the present invention, "a plurality" means two or more unless specifically limited otherwise.
The above, only be the concrete implementation of the preferred embodiment of the present invention, but the protection scope of the present invention is not limited thereto, and any person skilled in the art is in the technical scope of the present invention, according to the technical solution of the present invention and the utility model, the concept of which is equivalent to replace or change, should be covered within the protection scope of the present invention.

Claims (6)

1.一种具有自主翻身功能的电控小车,包括控制箱(1)、车轮(3)、传动轮(14)、履带(13)、电动伸缩杆(11)和运输盘(5),其特征在于,所述控制箱(1)的两端均通过传动轴的连接设置了一对车轮(3);1. An electronically controlled trolley with an autonomous turning function, comprising a control box (1), a wheel (3), a transmission wheel (14), a crawler track (13), an electric telescopic rod (11) and a transport tray (5), which Characterized in that, both ends of the control box (1) are provided with a pair of wheels (3) through the connection of the transmission shaft; 所述控制箱(1)中设置有电动伸缩杆(11),且电动伸缩杆(11)的一端焊接了第二铰接块(8),第二铰接块(8)与固定块(9)铰接相连,所述固定块(9)焊接在所述运输盘(5)的底部;The control box (1) is provided with an electric telescopic rod (11), and one end of the electric telescopic rod (11) is welded with a second hinge block (8), and the second hinge block (8) is hinged with the fixed block (9) connected, the fixing block (9) is welded on the bottom of the transport tray (5); 所述运输盘(5)的底部焊接了插杆,且插杆的两端均插接在连接块中;An insertion rod is welded to the bottom of the transport tray (5), and both ends of the insertion rod are inserted into the connecting block; 所述运输盘(5)的一端设置有由电机(12)带动运转的翻转板(7),且运输板的另一端焊接有挡板。One end of the transport tray (5) is provided with a turning plate (7) driven and operated by the motor (12), and the other end of the transport plate is welded with a baffle plate. 2.根据权利要求1所述的一种具有自主翻身功能的电控小车,其特征在于,所述控制箱(1)的内底部焊接有两个固定板(2),且固定板(2)之间铰接相连有第一铰接块(4)。2. An electronically controlled trolley with an autonomous turning function according to claim 1, characterized in that two fixing plates (2) are welded to the inner bottom of the control box (1), and the fixing plates (2) A first hinge block (4) is hingedly connected therebetween. 3.根据权利要求2所述的一种具有自主翻身功能的电控小车,其特征在于,所述第一铰接块(4)焊接在所述电动伸缩杆(11)上。3 . The electronically controlled trolley with an autonomous turning function according to claim 2 , wherein the first hinge block ( 4 ) is welded on the electric telescopic rod ( 11 ). 4 . 4.根据权利要求1所述的一种具有自主翻身功能的电控小车,其特征在于,所述翻转板(7)的两端均焊接有转杆(6),且转杆(6)的一端通过联轴器与电机(12)的输出轴固定连接。4. An electronically controlled trolley with an autonomous turning function according to claim 1, characterized in that both ends of the turning plate (7) are welded with rotating rods (6), and the rotating rods (6) are One end is fixedly connected with the output shaft of the motor (12) through a coupling. 5.根据权利要求4所述的一种具有自主翻身功能的电控小车,其特征在于,所述转杆(6)的另一端插接在撑板上,撑板的一端焊接在所述运输盘(5)上。5 . The electronically controlled trolley with an autonomous turning function according to claim 4 , wherein the other end of the rotating rod ( 6 ) is inserted into a support plate, and one end of the support plate is welded to the transport plate. 6 . plate (5). 6.根据权利要求1所述的一种具有自主翻身功能的电控小车,其特征在于,所述车轮(3)的一侧通过履带(13)的连接设置了传动轮(14)。6 . The electronically controlled trolley with an autonomous turning function according to claim 1 , wherein a transmission wheel ( 14 ) is provided on one side of the wheel ( 3 ) through the connection of the track ( 13 ). 7 .
CN202021724024.9U 2020-08-18 2020-08-18 Automatically controlled dolly with independently stand up function Expired - Fee Related CN213007790U (en)

Priority Applications (1)

Application Number Priority Date Filing Date Title
CN202021724024.9U CN213007790U (en) 2020-08-18 2020-08-18 Automatically controlled dolly with independently stand up function

Applications Claiming Priority (1)

Application Number Priority Date Filing Date Title
CN202021724024.9U CN213007790U (en) 2020-08-18 2020-08-18 Automatically controlled dolly with independently stand up function

Publications (1)

Publication Number Publication Date
CN213007790U true CN213007790U (en) 2021-04-20

Family

ID=75467079

Family Applications (1)

Application Number Title Priority Date Filing Date
CN202021724024.9U Expired - Fee Related CN213007790U (en) 2020-08-18 2020-08-18 Automatically controlled dolly with independently stand up function

Country Status (1)

Country Link
CN (1) CN213007790U (en)

Cited By (1)

* Cited by examiner, † Cited by third party
Publication number Priority date Publication date Assignee Title
CN113665919A (en) * 2021-09-01 2021-11-19 湖南复星合力新材料有限公司 Packing production line for processing straight steel bars

Cited By (1)

* Cited by examiner, † Cited by third party
Publication number Priority date Publication date Assignee Title
CN113665919A (en) * 2021-09-01 2021-11-19 湖南复星合力新材料有限公司 Packing production line for processing straight steel bars

Similar Documents

Publication Publication Date Title
KR101746132B1 (en) A transfer conveyor for a tractor
US9956976B1 (en) Multi-purpose all-terrain cart
US5507509A (en) Adjusting brace panel cart
CN213007790U (en) Automatically controlled dolly with independently stand up function
US6210095B1 (en) Carpet loading system
GB2104052A (en) Handling storage units, e.g. pallets
US4820110A (en) Container transport system
CN105731304B (en) A kind of electric boosted trailer based on Internet of Things
US12312190B2 (en) Container handling apparatus and system for interfacing with a telescoping conveyor
CN215247885U (en) Automatic unloading equipment for duck wool baskets
CN216582293U (en) Wine box conveying device
CN216034507U (en) Electric trolley for building construction site
US3412840A (en) Apparatus for picking up bundles
KR100606855B1 (en) Container Container Carrier
US2617683A (en) Barge
CN214877991U (en) Adjustable cargo conveying equipment
US1021880A (en) Pallet-truck.
CN222959819U (en) Liftable single-wheel trolley
KR20170003307U (en) Transport carts
CN110921579A (en) An AGV trolley for automatic loading and unloading of goods
CN112758155A (en) Mechanical cart convenient for loading and unloading goods and use method thereof
CN213262455U (en) Material carrier for construction
JP2000108894A (en) Single rail transportation / working equipment
CN214267702U (en) An expandable flatbed cart for logistics and transportation
CN217534099U (en) Placing rack

Legal Events

Date Code Title Description
GR01 Patent grant
GR01 Patent grant
CF01 Termination of patent right due to non-payment of annual fee

Granted publication date: 20210420

Termination date: 20210818

CF01 Termination of patent right due to non-payment of annual fee