CN213006326U - 一种滑块与油缸抽芯配合的注塑模具 - Google Patents
一种滑块与油缸抽芯配合的注塑模具 Download PDFInfo
- Publication number
- CN213006326U CN213006326U CN202021592736.XU CN202021592736U CN213006326U CN 213006326 U CN213006326 U CN 213006326U CN 202021592736 U CN202021592736 U CN 202021592736U CN 213006326 U CN213006326 U CN 213006326U
- Authority
- CN
- China
- Prior art keywords
- core
- pulling
- locking
- magnet
- slider
- Prior art date
- Legal status (The legal status is an assumption and is not a legal conclusion. Google has not performed a legal analysis and makes no representation as to the accuracy of the status listed.)
- Expired - Fee Related
Links
- 238000002347 injection Methods 0.000 title claims abstract description 34
- 239000007924 injection Substances 0.000 title claims abstract description 34
- 238000003825 pressing Methods 0.000 claims description 15
- 238000000034 method Methods 0.000 claims description 7
- 238000007493 shaping process Methods 0.000 claims description 4
- 239000000758 substrate Substances 0.000 claims description 4
- 238000001746 injection moulding Methods 0.000 description 5
- 238000000465 moulding Methods 0.000 description 5
- 230000000903 blocking effect Effects 0.000 description 1
- 238000000071 blow moulding Methods 0.000 description 1
- 238000000748 compression moulding Methods 0.000 description 1
- 230000000694 effects Effects 0.000 description 1
- 238000001125 extrusion Methods 0.000 description 1
- 238000005187 foaming Methods 0.000 description 1
- 210000001503 joint Anatomy 0.000 description 1
- 238000004519 manufacturing process Methods 0.000 description 1
- 238000012986 modification Methods 0.000 description 1
- 230000004048 modification Effects 0.000 description 1
- 239000012778 molding material Substances 0.000 description 1
- 239000000243 solution Substances 0.000 description 1
- 230000008961 swelling Effects 0.000 description 1
Images
Landscapes
- Moulds For Moulding Plastics Or The Like (AREA)
Abstract
一种滑块与油缸抽芯配合的注塑模具,包括:公模(1)、母模(2)、滑块顶出机构(3)、抽芯机构(4)和锁定机构(5),公模(1)与母模(2)之间具有型腔,滑块顶出机构(3)设置在母模(2)中,滑块顶出机构(3)和锁定机构(5)都延伸至型腔;抽芯机构(4)包括:油缸(41)、中心填充件(42)和抽芯轨道(43)、第一磁体(44)和第二磁体(45),第一磁体(44)固定在中心填充件(42)上,第二磁体(45)固定在抽芯轨道(43)上,第一磁体(44)与第二磁体(45)沿前后方向相互对齐并且极性相反。上述注塑模具通过吸引力的作用将油缸维持在抽芯的状态,保证塑胶件可以被顺利地取出。
Description
技术领域
本实用新型涉及注塑模具,尤其是实际一种滑块与油缸抽芯配合的注塑模具。
背景技术
塑胶模具是一种用于压塑、挤塑、注射、吹塑和低发泡成型的组合式模具的简称。模具凸、凹模及辅助成型系统的协调变化,可以加工出不同形状、不同尺寸的一系列塑胶件。有的模具开模后,内部的塑胶件不方便取出,此时,需要在母模中安装滑块顶出机构,通过滑块带动顶杆移动,在开模后顶出塑胶件。此外,有的塑胶件需要通过设置填充件来辅助成型,在顶出之前,需要先通过有空抽芯来撤出填充件,实现滑块与油缸抽芯配合的卸料操作。
然而,有的注塑模具为单工位注塑,在大批量生产的过程中,需要进行多次的抽芯操作,当油缸运作时间过长时,可能出现液压不稳定的问题,从而造成抽芯不充分的情况,导致塑胶件无法顺利地取出。
实用新型内容
本实用新型技术方案是针对上述情况的,为了解决上述问题而提供一种滑块与油缸抽芯配合的注塑模具,所述注塑模具包括:公模、母模、滑块顶出机构、抽芯机构和锁定机构,所述公模与所述母模接合形成所述注塑模具的主体,并且所述公模与所述母模之间具有型腔,所述滑块顶出机构沿上下方向可移动地设置在所述母模中,并且所述滑块顶出机构和所述锁定机构都延伸至所述型腔;所述抽芯机构包括:油缸、中心填充件和抽芯轨道,所述中心填充件沿前后方向可移动地设置在所述抽芯轨道上,并且所述中心填充件与所述型腔沿前后方向正对,所述油缸的活塞杆与所述中心填充件连接;所述抽芯机构还包括:第一磁体和第二磁体,所述第一磁体固定在所述中心填充件上,所述第二磁体固定在所述抽芯轨道上,所述第一磁体与所述第二磁体沿前后方向相互对齐并且极性相反,所述第二磁体比所述第一磁体更加靠近所述油缸。
进一步,所述抽芯机构还包括:塑胶垫,所述塑胶垫固定在所述抽芯轨道上,并且所述塑胶垫位于所述第一磁体与所述第二磁体之间。
进一步,所述公模包括:上基板和上压板,所述上基板和所述上压板从上往下依次形成固定,所述上压板的下表面具有上成型槽;所述母模包括:下基板、支架和下压板,所述下基板、所述支架和所述下压板从下往上依次形成固定,所述滑块顶出机构沿上下方向可移动地设置在支架中,所述下压板的上表面具有下成型槽,所述上成型槽与所述下成型槽构成所述型腔。
进一步,所述上压板的下表面还具有定位柱,所述下压板的上表面还具有定位筒,所述定位柱插入所述定位筒中。
进一步,所述下压板的上表面还具有抽芯槽和锁定槽,所述抽芯机构嵌在所述抽芯槽中,所述锁定机构嵌在所述锁定槽中。
进一步,所述滑块顶出机构包括:滑块、顶出滑轨、左填充件和右填充件,所述滑块沿上下方向可移动地设置在所述母模中,所述顶出滑轨固定在所述滑块的上表面,所述顶出滑轨与所述型腔沿上下方向正对,所述左填充件和所述右填充件都沿左右方向可移动地设置在所述顶出滑轨上。
进一步,所述滑块顶出机构还包括:导向柱,所述导向柱固定在所述支架中,所述导向柱沿上下方向延伸,并且所述导向柱穿过所述滑块。
进一步,所述滑块顶出机构还包括:抽芯顶出台,所述抽芯顶出台固定在所述滑块的上表面,并且所述抽芯顶出台位于所述抽芯机构的下侧。
进一步,所述锁定机构包括:锁定块、锁定轨道和锁定斜杆,所述锁定块沿左右方向可移动地设置在所述锁定轨道上,所述锁定块与所述型腔沿左右方向正对,所述锁定斜杆穿过所述锁定块,所述锁定斜杆的上端与所述公模形成固定,所述锁定斜杆从上往下朝向远离所述型腔的方向延伸。
进一步,所述锁定机构还包括:限位块,所述限位块位于所述锁定轨道上,所述限位块的上端与所述公模形成固定,所述锁定块比所述限位块更加靠近型腔。
采用上述技术方案后,本实用新型的效果是:具有上述结构的注塑模具,通过吸引力的作用将油缸维持在抽芯的状态,即使液压出现不稳定的情况,也能避免造成抽芯不充分的问题,保证塑胶件可以被顺利地取出。
附图说明
图1为本实用新型涉及的注塑模具的示意图;
图2为本实用新型涉及的抽芯机构的示意图;
图3为本实用新型涉及的公模的示意图;
图4为本实用新型涉及的母模的示意图;
图5为本实用新型涉及的滑块顶出机构的示意图;
图6为本实用新型涉及的锁定机构的示意图。
具体实施方式
特别指出的是,本实用新型中的术语“第一”、“第二”、“第三”仅用于描述目的,而不能理解为指示或暗示相对重要性或者隐含指明所指示的技术特征的数量。由此,限定有“第一”、“第二”、“第三”的特征可以明示或者隐含地包括至少一个该特征。本发明的描述中,“多个”的含义是至少两个,例如两个,三个等,除非另有明确具体的限定。本实用新型实施例中所有方向性指示(诸如上、下、左、右、前、后……)仅用于解释在某一特定姿态下各部件之间的相对位置关系、运动情况等,如果该特定姿态发生改变时,则该方向性指示也相应地随之改变。
下面通过实施例对本实用新型技术方案作进一步的描述:
本实用新型提供一种滑块与油缸抽芯配合的注塑模具,如图1所示,注塑模具包括:公模1、母模2、滑块顶出机构3、抽芯机构4和锁定机构5,公模1与母模2接合形成注塑模具的主体,并且公模1与母模2之间具有型腔,滑块顶出机构3沿上下方向可移动地设置在母模2中,并且滑块顶出机构3、抽芯机构4和锁定机构5都延伸至型腔。在注塑模具工作时,公模1与母模2对接,注塑材料在型腔中形成塑胶件,注塑完成后,锁定机构5解除对塑胶件的锁定,抽芯机构4将填充件抽出,最后滑块顶出机构3将塑胶件顶出,进行卸料。
如图2所示,抽芯机构4包括:油缸41、中心填充件42和抽芯轨道43,中心填充件42沿前后方向可移动地设置在抽芯轨道43上,并且中心填充件42与型腔沿前后方向正对,油缸41的活塞杆与中心填充件42连接;在本实用新型中,抽芯机构4还包括:第一磁体44和第二磁体45,第一磁体44固定在中心填充件42上,第二磁体45固定在抽芯轨道43上,第一磁体44与第二磁体45沿前后方向相互对齐并且极性相反,第二磁体45比第一磁体44更加靠近油缸41。其中,可通过油缸42控制中心填充件42进入或者退出型腔,从而实现抽芯操作。此外,在抽芯过程中,第一磁体44与第二磁体45相互靠近,通过吸引力的作用将油缸维持在抽芯的状态,即使液压出现不稳定的情况,也能避免造成抽芯不充分的问题。
具体地,抽芯机构4还包括:塑胶垫46,塑胶垫46固定在抽芯轨道43上,并且塑胶垫46位于第一磁体44与第二磁体45之间。通过塑胶垫46的阻挡作用可以避免第一磁体44与第二磁体45的距离过小、吸引力过大,从而出现阻碍油缸41正常运作的情况。此外,塑胶垫46可以避免第一磁体44与第二磁体45发生膨胀、造成损坏。
如图3所示,公模1包括:上基板11和上压板12,上基板11和上压板12从上往下依次形成固定,上压板12的下表面具有上成型槽121;如图4所示,母模2包括:下基板21、支架22和下压板23,下基板21、支架22和下压板23从下往上依次形成固定,滑块顶出机构3沿上下方向可移动地设置在支架中,下压板23的上表面具有下成型槽231,上成型槽121与下成型槽231构成型腔。
具体地,上压板12的下表面还具有定位柱122,下压板23的上表面还具有定位筒232,定位柱122插入定位筒232中。通过定位柱122与定位筒232的配合,可以实现上成型槽121与下成型槽231之间的精确定位。
具体地,下压板23的上表面还具有抽芯槽233和锁定槽234,抽芯机构4嵌在抽芯槽233中,锁定机构5嵌在锁定槽234中。
如图5所示,滑块顶出机构3包括:滑块31、顶出滑轨32、左填充件33和右填充件34,滑块31沿上下方向可移动地设置在母模2中,顶出滑轨32固定在滑块31的上表面,顶出滑轨32与型腔沿上下方向正对,左填充件33和右填充件34都沿左右方向可移动地设置在顶出滑轨32上。在注塑时,左填充件33和右填充件34相互分离,抽芯机构4的中心填充件42位于左填充件33与右填充件34之间;注塑完成后,中心填充件42被移除,出滑轨32将塑胶件顶出,左填充件33和右填充件34相互靠近,以取出塑胶件。
具体地,滑块顶出机构3还包括:导向柱35,导向柱35固定在支架22中,导向柱35沿上下方向延伸,并且导向柱35穿过滑块31。通过导向柱35的引导可以避免滑块31的移动发生偏离。
具体地,滑块顶出机构3还包括:抽芯顶出台36,抽芯顶出台36固定在滑块31的上表面,并且抽芯顶出台36位于抽芯机构4的下侧。在顶出塑胶件的过程中,抽芯顶出台36同时将抽芯机构4顶出,从而进一步避免抽芯不充分而导致塑胶件无法顶出的情况。
具体地,滑块顶出机构3还包括:开模顶杆37,开模顶杆37固定在滑块31的上表面,并且开模顶杆37的上端与公模1接触。在开模的过程中,开模顶杆37可以将公模1顶开,同时顶出滑轨32将塑胶件顶出,提高卸料效率。
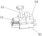
如图6所示,锁定机构5包括:锁定块51、锁定轨道52和锁定斜杆53,锁定块51沿左右方向可移动地设置在锁定轨道52上,锁定块51与型腔沿左右方向正对,锁定斜杆53穿过锁定块51,锁定斜杆53的上端与公模1形成固定,锁定斜杆53从上往下朝向远离型腔的方向延伸。在注塑完成后,锁定块51插入塑胶件的通孔中,对塑胶件起到锁定作用;在开模过程中,公模1往上抽离锁定斜杆53,锁定块51在锁定斜杆53的带动下朝向远离型腔的方向移动,从而接触对塑胶件的锁定。
具体地,锁定机构5还包括:限位块54,限位块54位于锁定轨道52上,限位块54的上端与公模1形成固定,锁定块51比限位块54更加靠近型腔。在合模以后,限位块54位于锁定块51的外侧,避免锁定块51由于错误操作而发生移动。
可见,具有上述结构的注塑模具,通过吸引力的作用将油缸维持在抽芯的状态,即使液压出现不稳定的情况,也能避免造成抽芯不充分的问题,保证塑胶件可以被顺利地取出。
以上所述实施例,只是本实用新型的较佳实例,并非来限制本实用新型的实施范围,故凡依本实用新型申请专利范围所述的构造、特征及原理所做的等效变化或修饰,均应包括于本实用新型专利申请范围内。
Claims (10)
1.一种滑块与油缸抽芯配合的注塑模具,所述注塑模具包括:公模(1)、母模(2)、滑块顶出机构(3)、抽芯机构(4)和锁定机构(5),所述公模(1)与所述母模(2)接合形成所述注塑模具的主体,并且所述公模(1)与所述母模(2)之间具有型腔,所述滑块顶出机构(3)沿上下方向可移动地设置在所述母模(2)中,并且所述滑块顶出机构(3)和所述锁定机构(5)都延伸至所述型腔;所述抽芯机构(4)包括:油缸(41)、中心填充件(42)和抽芯轨道(43),所述中心填充件(42)沿前后方向可移动地设置在所述抽芯轨道(43)上,并且所述中心填充件(42)与所述型腔沿前后方向正对,所述油缸(41)的活塞杆与所述中心填充件(42)连接;其特征在于:所述抽芯机构(4)还包括:第一磁体(44)和第二磁体(45),所述第一磁体(44)固定在所述中心填充件(42)上,所述第二磁体(45)固定在所述抽芯轨道(43)上,所述第一磁体(44)与所述第二磁体(45)沿前后方向相互对齐并且极性相反,所述第二磁体(45)比所述第一磁体(44)更加靠近所述油缸(41)。
2.根据权利要求1所述的滑块与油缸抽芯配合的注塑模具,其特征在于:所述抽芯机构(4)还包括:塑胶垫(46),所述塑胶垫(46)固定在所述抽芯轨道(43)上,并且所述塑胶垫(46)位于所述第一磁体(44)与所述第二磁体(45)之间。
3.根据权利要求1所述的滑块与油缸抽芯配合的注塑模具,其特征在于:所述公模(1)包括:上基板(11)和上压板(12),所述上基板(11)和所述上压板(12)从上往下依次形成固定,所述上压板(12)的下表面具有上成型槽(121);所述母模(2)包括:下基板(21)、支架(22)和下压板(23),所述下基板(21)、所述支架(22)和所述下压板(23)从下往上依次形成固定,所述滑块顶出机构(3)沿上下方向可移动地设置在支架中,所述下压板(23)的上表面具有下成型槽(231),所述上成型槽(121)与所述下成型槽(231)构成所述型腔。
4.根据权利要求3所述的滑块与油缸抽芯配合的注塑模具,其特征在于:所述上压板(12)的下表面还具有定位柱(122),所述下压板(23)的上表面还具有定位筒(232),所述定位柱(122)插入所述定位筒(232)中。
5.根据权利要求3所述的滑块与油缸抽芯配合的注塑模具,其特征在于:所述下压板(23)的上表面还具有抽芯槽(233)和锁定槽(234),所述抽芯机构(4)嵌在所述抽芯槽(233)中,所述锁定机构(5)嵌在所述锁定槽(234)中。
6.根据权利要求3所述的滑块与油缸抽芯配合的注塑模具,其特征在于:所述滑块顶出机构(3)包括:滑块(31)、顶出滑轨(32)、左填充件(33)和右填充件(34),所述滑块(31)沿上下方向可移动地设置在所述母模(2)中,所述顶出滑轨(32)固定在所述滑块(31)的上表面,所述顶出滑轨(32)与所述型腔沿上下方向正对,所述左填充件(33)和所述右填充件(34)都沿左右方向可移动地设置在所述顶出滑轨(32)上。
7.根据权利要求6所述的滑块与油缸抽芯配合的注塑模具,其特征在于:所述滑块顶出机构(3)还包括:导向柱(35),所述导向柱(35)固定在所述支架(22)中,所述导向柱(35)沿上下方向延伸,并且所述导向柱(35)穿过所述滑块(31)。
8.根据权利要求6所述的滑块与油缸抽芯配合的注塑模具,其特征在于:所述滑块顶出机构(3)还包括:抽芯顶出台(36),所述抽芯顶出台(36)固定在所述滑块(31)的上表面,并且所述抽芯顶出台(36)位于所述抽芯机构(4)的下侧。
9.根据权利要求1所述的滑块与油缸抽芯配合的注塑模具,其特征在于:所述锁定机构(5)包括:锁定块(51)、锁定轨道(52)和锁定斜杆(53),所述锁定块(51)沿左右方向可移动地设置在所述锁定轨道(52)上,所述锁定块(51)与所述型腔沿左右方向正对,所述锁定斜杆(53)穿过所述锁定块(51),所述锁定斜杆(53)的上端与所述公模(1)形成固定,所述锁定斜杆(53)从上往下朝向远离所述型腔的方向延伸。
10.根据权利要求9所述的滑块与油缸抽芯配合的注塑模具,其特征在于:所述锁定机构(5)还包括:限位块(54),所述限位块(54)位于所述锁定轨道(52)上,所述限位块(54)的上端与所述公模(1)形成固定,所述锁定块(51)比所述限位块(54)更加靠近型腔。
Priority Applications (1)
| Application Number | Priority Date | Filing Date | Title |
|---|---|---|---|
| CN202021592736.XU CN213006326U (zh) | 2020-08-04 | 2020-08-04 | 一种滑块与油缸抽芯配合的注塑模具 |
Applications Claiming Priority (1)
| Application Number | Priority Date | Filing Date | Title |
|---|---|---|---|
| CN202021592736.XU CN213006326U (zh) | 2020-08-04 | 2020-08-04 | 一种滑块与油缸抽芯配合的注塑模具 |
Publications (1)
| Publication Number | Publication Date |
|---|---|
| CN213006326U true CN213006326U (zh) | 2021-04-20 |
Family
ID=75462953
Family Applications (1)
| Application Number | Title | Priority Date | Filing Date |
|---|---|---|---|
| CN202021592736.XU Expired - Fee Related CN213006326U (zh) | 2020-08-04 | 2020-08-04 | 一种滑块与油缸抽芯配合的注塑模具 |
Country Status (1)
| Country | Link |
|---|---|
| CN (1) | CN213006326U (zh) |
Cited By (2)
| Publication number | Priority date | Publication date | Assignee | Title |
|---|---|---|---|---|
| CN115972506A (zh) * | 2022-12-23 | 2023-04-18 | 深圳市正向精密制造有限公司 | 一种模具及注塑机 |
| CN118682994A (zh) * | 2024-08-28 | 2024-09-24 | 膳魔师(中国)家庭制品有限公司 | 一种注塑模具及其使用方法 |
-
2020
- 2020-08-04 CN CN202021592736.XU patent/CN213006326U/zh not_active Expired - Fee Related
Cited By (2)
| Publication number | Priority date | Publication date | Assignee | Title |
|---|---|---|---|---|
| CN115972506A (zh) * | 2022-12-23 | 2023-04-18 | 深圳市正向精密制造有限公司 | 一种模具及注塑机 |
| CN118682994A (zh) * | 2024-08-28 | 2024-09-24 | 膳魔师(中国)家庭制品有限公司 | 一种注塑模具及其使用方法 |
Similar Documents
| Publication | Publication Date | Title |
|---|---|---|
| CN110815735A (zh) | 一种汽车柱上装饰板注塑模具的脱模结构 | |
| CN213006326U (zh) | 一种滑块与油缸抽芯配合的注塑模具 | |
| CN111432996A (zh) | 底切处理机构、成型用模具以及成型品 | |
| CN212736907U (zh) | 一种注塑模具 | |
| CN110682507A (zh) | 一种注塑模具 | |
| CN212422066U (zh) | 注塑模具直顶下落脱模机构 | |
| CN210362293U (zh) | 一种注塑模具的内置顶针抽芯结构 | |
| CN213006355U (zh) | 一种弹性斜顶的注塑模具 | |
| CN216373217U (zh) | 一种二次滑块脱产品倒扣注塑模具 | |
| CN216579031U (zh) | 细长芯子防偏心注塑模具 | |
| CN113352562B (zh) | 一种内置先复位的模具 | |
| CN212266565U (zh) | 内周圈倒扣注塑成型脱模结构 | |
| CN223466644U (zh) | 一种由二次开模实现的小空间内滑块抽芯机构的注塑模具 | |
| CN213006356U (zh) | 一种滑块内装顶针的塑胶模具 | |
| CN220517444U (zh) | 一种顶出块模具中缩短滑块行程结构及合模结构 | |
| CN222933233U (zh) | 一种泵类头帽模具 | |
| CN220883182U (zh) | 一种预抽芯注塑模具 | |
| CN220482474U (zh) | 一种注塑模具的抽芯机构 | |
| CN218196642U (zh) | 一种具有防粘模反顶机构的模具 | |
| CN223131288U (zh) | 具有直顶加斜顶脱模机构的大型汽车保险杠注塑模具 | |
| CN221339362U (zh) | 一种强推脱模模具 | |
| CN217495058U (zh) | 一种直顶与滑块的复合机构 | |
| CN222972684U (zh) | 一种采用推管顶出的注塑模具 | |
| CN223671749U (zh) | 一种斜杆脱模的成型模具 | |
| CN111113818B (zh) | 一种异向组合滑块先后抽芯开模结构及模具的抽芯方法 |
Legal Events
| Date | Code | Title | Description |
|---|---|---|---|
| GR01 | Patent grant | ||
| GR01 | Patent grant | ||
| CF01 | Termination of patent right due to non-payment of annual fee |
Granted publication date: 20210420 |
|
| CF01 | Termination of patent right due to non-payment of annual fee |