CN213004574U - Non ferrous metal burnishing device - Google Patents
Non ferrous metal burnishing device Download PDFInfo
- Publication number
- CN213004574U CN213004574U CN202022036039.2U CN202022036039U CN213004574U CN 213004574 U CN213004574 U CN 213004574U CN 202022036039 U CN202022036039 U CN 202022036039U CN 213004574 U CN213004574 U CN 213004574U
- Authority
- CN
- China
- Prior art keywords
- shell
- plate body
- fixedly connected
- water pump
- welded
- Prior art date
- Legal status (The legal status is an assumption and is not a legal conclusion. Google has not performed a legal analysis and makes no representation as to the accuracy of the status listed.)
- Expired - Fee Related
Links
- 239000002184 metal Substances 0.000 title claims abstract description 41
- 229910052751 metal Inorganic materials 0.000 title claims abstract description 41
- CWYNVVGOOAEACU-UHFFFAOYSA-N Fe2+ Chemical compound [Fe+2] CWYNVVGOOAEACU-UHFFFAOYSA-N 0.000 title claims abstract description 19
- XLYOFNOQVPJJNP-UHFFFAOYSA-N water Substances O XLYOFNOQVPJJNP-UHFFFAOYSA-N 0.000 claims abstract description 76
- 238000005498 polishing Methods 0.000 claims abstract description 30
- 239000007921 spray Substances 0.000 claims abstract description 7
- 239000000428 dust Substances 0.000 claims description 15
- 238000003466 welding Methods 0.000 claims description 11
- 238000010521 absorption reaction Methods 0.000 claims description 5
- 230000002146 bilateral effect Effects 0.000 claims description 2
- 239000010865 sewage Substances 0.000 abstract description 7
- 238000004140 cleaning Methods 0.000 abstract description 2
- 238000000926 separation method Methods 0.000 abstract description 2
- 230000000694 effects Effects 0.000 description 3
- 150000002739 metals Chemical class 0.000 description 3
- 238000000034 method Methods 0.000 description 2
- 230000004075 alteration Effects 0.000 description 1
- 230000009286 beneficial effect Effects 0.000 description 1
- 230000008033 biological extinction Effects 0.000 description 1
- 238000010586 diagram Methods 0.000 description 1
- 238000005516 engineering process Methods 0.000 description 1
- 238000001125 extrusion Methods 0.000 description 1
- 238000012986 modification Methods 0.000 description 1
- 230000004048 modification Effects 0.000 description 1
- 239000002245 particle Substances 0.000 description 1
- 238000003672 processing method Methods 0.000 description 1
- 230000001681 protective effect Effects 0.000 description 1
- 239000000565 sealant Substances 0.000 description 1
- 238000007789 sealing Methods 0.000 description 1
- 239000000126 substance Substances 0.000 description 1
- 238000006467 substitution reaction Methods 0.000 description 1
- 238000005406 washing Methods 0.000 description 1
Images
Landscapes
- Finish Polishing, Edge Sharpening, And Grinding By Specific Grinding Devices (AREA)
Abstract
The utility model discloses a non-ferrous metal polishing device, which comprises a base, wherein a second shell is welded on the upper surface of the base, an inner top wall of the second shell is fixedly connected with an electric push rod, a piston rod of the electric push rod is fixedly connected with a polishing wheel, the inner side wall of the second shell is slidably connected with a first filter plate, the center of the upper surface of the first filter plate is fixedly connected with a workbench, a first plate body is welded on one side of the second shell, and a motor is installed on the upper surface of the first plate body; fixed back with non ferrous metal, electric putter drives the throwing aureola downstream to the motor drives and removes about first filter and the workstation, polishes non ferrous metal, avoids staff's manual moving work platform and causes the damage to the health, and the polishing is accomplished the back, sprays the clear water to the workstation surface, and abluent sewage is arranged and is carried out lime-ash and sewage separation in the collecting box, has saved staff cleaning work platform's time greatly, convenient and practical.
Description
Technical Field
The utility model relates to a non ferrous metal processing technology field specifically is a non ferrous metal burnishing device.
Background
Polishing refers to a processing method for reducing the roughness of the surface of a workpiece by using mechanical, chemical or electrochemical actions to obtain a bright and flat surface, and is a method for modifying the surface of the workpiece by using a polishing tool and abrasive particles or other polishing media, wherein the polishing cannot improve the dimensional accuracy or geometric accuracy of the workpiece, but aims to obtain a smooth surface or mirror surface gloss, and sometimes is used for eliminating gloss (extinction), in the process of processing nonferrous metals, the nonferrous metals need to be polished, when the existing nonferrous metal polishing device is in practical use, all metals are placed on a workbench and polished, and metal ash is collected by a dust extractor, however, the following problems exist:
when the device is used for polishing the surface of the nonferrous metal, a protective structure is not arranged, and a worker can move the position of the device by pushing the workbench so as to polish the nonferrous metal, so that the body of the worker is easily damaged;
secondly, when the nonferrous metal is polished, a large amount of metal ash is scattered on the surface of the workbench, the dust is only sucked by the dust extractor, and a small amount of metal ash is accumulated to cause incomplete cleaning of the metal ash, so that the nonferrous metal polishing device is provided.
SUMMERY OF THE UTILITY MODEL
An object of the utility model is to provide a non ferrous metal burnishing device to solve the problem that proposes among the above-mentioned background art.
In order to achieve the above object, the utility model provides a following technical scheme: a non-ferrous metal polishing device comprises a base, wherein a second shell is welded on the upper surface of the base, an electric push rod is fixedly connected to the inner top wall of the second shell, a polishing wheel is fixedly connected to a piston rod of the electric push rod, a first filter plate is slidably connected to the inner side wall of the second shell, a workbench is fixedly connected to the center of the upper surface of the first filter plate, a first plate body is welded on one side of the second shell, a motor is mounted on the upper surface of the first plate body, a second plate body is welded on the output end of the motor, a first fixed block is welded on the front surface of the second plate body, a first rod body is hinged on one side of the first fixed block, one end, far away from the first fixed block, of the first rod body is hinged on one side of the first filter plate body, a first door body is hinged on the front surface of the second shell, a first handle is welded, the upper surface of the base is provided with a first water pump, a water inlet of the first water pump is communicated with a first water inlet pipe, a water outlet of the first water pump is communicated with a first water outlet pipe, one end, far away from the first water pump, of the first water outlet pipe penetrates through the upper surface of the second shell and is fixedly connected with a spray head, the upper surface of the base is provided with a second water pump, a water inlet of the second water pump is communicated with a second water inlet pipe, one end, far away from the second water pump, of the second water inlet pipe is communicated with one side of the second shell, a water outlet of the second water pump is communicated with a second water outlet pipe, one end, far away from the second water pump, of the second water outlet pipe is communicated with the first shell, the lower surface of the first shell is welded on the upper surface of the base, two second grooves are symmetrically formed in the inner side wall of the first shell, and a second, and a third handle is welded on one side of the second filter plate.
As further preferable in the present technical solution: the air exhauster is installed to one side of second casing, the air outlet intercommunication of air exhauster has the dust absorption pipeline, the dust absorption pipeline is kept away from the one end intercommunication of air exhauster has the third casing, the lower surface of third casing weld in the upper surface of base.
As further preferable in the present technical solution: the utility model discloses a structure, including workstation, screw rod, knob, bearing, two fifth plate bodies, two in the bilateral symmetry welding of workstation have the fourth plate body all welded on the upper surface of fifth plate body, the screw thread through-hole has been seted up to one side of fourth plate body, the inside threaded connection of screw thread through-hole has the screw rod, the one end welding of screw rod has the knob, the screw rod is kept away from the one end fixedly connected with bearing of knob, the outer lane welding of bearing has the third plate body.
As further preferable in the present technical solution: the third recess has been seted up to the inside wall of second casing, first filter sliding connection in the inside of third recess, one side symmetric welding of third recess has two second fixed blocks, two the equal fixedly connected with spring in one side of second fixed block, the spring is kept away from the one end of second fixed block weld in one side of first filter.
As further preferable in the present technical solution: two first grooves are symmetrically formed in the upper surface of the workbench, and the lower surface of the third plate body is connected to the inner portions of the first grooves in a sliding mode.
As further preferable in the present technical solution: the front surface fixedly connected with observation window of the first door body, one side of first casing articulates there is the second door body, the welding of one side of the second door body has the second handle.
Compared with the prior art, the beneficial effects of the utility model are that:
firstly, the workbench is arranged inside the second shell, after the nonferrous metal is fixed, the electric push rod drives the polishing wheel to move downwards, and the motor drives the first filter plate and the workbench to move left and right, so that the nonferrous metal is polished, and the condition that the worker manually moves the workbench to damage the body is avoided;
secondly, after the polishing of non ferrous metal is accomplished, remain and pile up on the workstation at the inside a small amount of metal dust of device, spray the clear water to the workstation surface through the water pump to wash the workstation, abluent sewage is arranged and is carried out lime-ash and sewage separation in the collecting box, has saved the time that the staff washd the workstation greatly.
Drawings
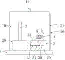
Fig. 1 is a schematic structural view of the present invention;
fig. 2 is a schematic external structural view of the present invention;
fig. 3 is a left side view structure diagram of the present invention;
FIG. 4 is an enlarged schematic view of the area A of FIG. 1 according to the present invention;
fig. 5 is an enlarged schematic view of the area B in fig. 1 according to the present invention.
In the figure: 1. a base; 2. a first housing; 3. a dust collection duct; 4. a first plate body; 5. a motor; 6. a second plate body; 7. a first fixed block; 8. a first rod body; 9. an exhaust fan; 10. a second housing; 11. an electric push rod; 12. a first water outlet pipe; 13. a spray head; 14. a polishing wheel; 15. a third plate body; 16. a first groove; 17. a work table; 18. a first filter plate; 19. a first water pump; 20. a first water inlet pipe; 21. a spring; 22. a second water inlet pipe; 23. a second water pump; 24. a second water outlet pipe; 25. a first door body; 26. a first handle; 27. an observation window; 28. a third housing; 29. a second door body; 30. a second handle; 31. a third handle; 32. a second filter plate; 33. a second groove; 34. a fourth plate body; 35. a threaded through hole; 36. a screw; 37. a bearing; 38. a fifth plate body; 39. a third groove; 40. a second fixed block; 41. a knob.
Detailed Description
The technical solutions in the embodiments of the present invention will be described clearly and completely with reference to the accompanying drawings in the embodiments of the present invention, and it is obvious that the described embodiments are only some embodiments of the present invention, not all embodiments. Based on the embodiments in the present invention, all other embodiments obtained by a person skilled in the art without creative work belong to the protection scope of the present invention.
Examples
Referring to fig. 1-5, the present invention provides a technical solution: a non-ferrous metal polishing device comprises a base 1, wherein a second shell 10 is welded on the upper surface of the base 1, an electric push rod 11 is fixedly connected on the inner top wall of the second shell 10, a polishing wheel 14 is fixedly connected on a piston rod of the electric push rod 11, a first filter plate 18 is slidably connected on the inner side wall of the second shell 10, a workbench 17 is fixedly connected at the center of the upper surface of the first filter plate 18, a first plate body 4 is welded on one side of the second shell 10, a motor 5 is installed on the upper surface of the first plate body 4, a second plate body 6 is welded on the output end of the motor 5, a first fixed block 7 is welded on the front surface of the second plate body 6, a first rod body 8 is hinged on one side of the first fixed block 7, one end of the first rod body 8, far away from the first fixed block 7, is hinged on one side of the first filter plate 18, a first door body 25 is hinged on the front, a first water pump 19 is arranged on the upper surface of the base 1, a water inlet of the first water pump 19 is communicated with a first water inlet pipe 20, a water outlet of the first water pump 19 is communicated with a first water outlet pipe 12, one end of the first water outlet pipe 12, which is far away from the first water pump 19, penetrates through the upper surface of the second shell 10 and is fixedly connected with a spray head 13, a second water pump 23 is arranged on the upper surface of the base 1, a water inlet of the second water pump 23 is communicated with a second water inlet pipe 22, one end of the second water inlet pipe 22, which is far away from the second water pump 23, is communicated with one side of the second shell 10, a water outlet of the second water pump 23 is communicated with a second water outlet pipe 24, one end of the second water outlet pipe 24, which is far away from the second water pump 23, is communicated with the first shell 2, the lower surface of the first shell 2 is welded on the upper surface of the base 1, a third handle 31 is welded to one side of the second filter plate 32.
In this embodiment, specifically: an exhaust fan 9 is installed on one side of the second shell 10, an air outlet of the exhaust fan 9 is communicated with a dust suction pipeline 3, one end of the dust suction pipeline 3, far away from the exhaust fan 9, is communicated with a third shell 28, and the lower surface of the third shell 28 is welded on the upper surface of the base 1; through the arrangement of the exhaust fan 9, the dust suction pipeline 3 and the third shell 28, when the nonferrous metal is polished, the metal dust splashed can be absorbed and collected through the third shell 28.
In this embodiment, specifically: two fifth plate bodies 38 are symmetrically welded on two sides of the workbench 17, the upper surfaces of the two fifth plate bodies 38 are welded with the fourth plate bodies 34, one side of each fourth plate body 34 is provided with a threaded through hole 35, the inner part of each threaded through hole 35 is in threaded connection with a screw 36, one end of each screw 36 is welded with a knob 41, one end, far away from the knob 41, of each screw 36 is fixedly connected with a bearing 37, and the outer ring of each bearing 37 is welded with a third plate body 15; through the arrangement of the fifth plate body 38, the fourth plate body 34, the screw rod 36 and the knob 41, the knob 41 drives the screw rod 36 to rotate, so that the third plate body 15 is driven to fix the nonferrous metal, and the nonferrous metal is prevented from being displaced during polishing to reduce the working efficiency of the device.
In this embodiment, specifically: a third groove 39 is formed in the inner side wall of the second shell 10, the first filter plate 18 is connected to the inside of the third groove 39 in a sliding manner, two second fixing blocks 40 are symmetrically welded to one side of the third groove 39, springs 21 are fixedly connected to one sides of the two second fixing blocks 40, and one ends, far away from the second fixing blocks 40, of the springs 21 are welded to one side of the first filter plate 18; through the setting of third recess 39, second fixed block 40 and spring 21, when first body of rod 8 pulling first filter 18 moved about, extrude spring 21 through second fixed block 40 and first filter 18 to play spacing effect to first filter 18.
In this embodiment, specifically: two first grooves 16 are symmetrically formed in the upper surface of the workbench 17, and the lower surface of the third plate body 15 is slidably connected to the insides of the first grooves 16; through the setting of first recess 16, when third plate body 15 fixes non ferrous metal, play spacing and effect of direction to third plate body 15, prevent that third plate body 15 from taking place to rotate.
In this embodiment, specifically: an observation window 27 is fixedly connected to the front surface of the first door body 25, a second door body 29 is hinged to one side of the first shell 2, and a second handle 30 is welded to one side of the second door body 29; through the setting of the second door body 29 and the second handle 30, the second filter plate 32 is convenient for workers to take out and clean, sealant is coated on the inner side wall of the second door body 29, and the sealing effect between the second door body 29 and the first shell 2 is improved.
In this embodiment, a switch set for controlling the start and the stop of the motor 5, the exhaust fan 9, the electric push rod 11, the first water pump 19 and the second water pump 23 is installed on the front surface of the first casing 2, and the switch set is connected with an external commercial power to supply power to the motor 5, the exhaust fan 9, the electric push rod 11, the first water pump 19 and the second water pump 23.
In the embodiment, the model of the motor 5 is TC-100L1-4, the model of the electric push rod 11 is ADW80, and the models of the first water pump 19 and the second water pump 23 are TB-40012H.
Working principle or structural principle, when in use, the first door body 25 is opened through the first handle 26, nonferrous metal is placed on the upper surface of the workbench 17, the rotary knob 41 drives the screw rod 36 to rotate inside the threaded through hole 35 and the bearing 37, so as to drive the third plate body 15 to rotate inside the first groove 16, the switch for controlling the starting and the closing of the electric push rod 11 is pressed, the electric push rod 11 arranged on the top wall inside the second shell 10 is started, the piston rod of the electric push rod 11 drives the polishing wheel 14 to move downwards, so as to polish the nonferrous metal, the switch for controlling the starting and the closing of the motor 5 is pressed, the motor 5 arranged on the upper surface of the first plate body 4 is started, the output end of the motor 5 drives the second plate body 6 to rotate, the second plate body 6 drives the first fixed block 7 to rotate, the first fixed block 7 stretches the first rod body 8, the first rod body 8 drives the first filter plate 18 to move left and right, carry out drawing and extrusion through second fixed block 40 and first filter 18, thereby it is spacing to first filter 18, first filter 18 drives workstation 17 and removes, it is bigger to make throwing aureola 14 to the non ferrous metal polishing area, press the switch that control air exhauster 9 starts and closes, start air exhauster 9, absorb the metal dust that splashes during polishing, arrange the inside to third casing 28 through dust absorption pipeline 3, thereby collect, after the polishing is accomplished, press the switch that control first water pump 19 starts and closes, first inlet tube 20 and water source intercommunication, the clear water sprays the washing through first outlet pipe 12 and shower nozzle 13 to workstation 17, sewage arranges the bottom of second casing 10 through first filter 18, press the switch that control second water pump 23 starts and closes, start second water pump 23, the sewage that piles up in second casing 10 bottom passes through second inlet tube suction 22 and arranges the interior of first casing 2 through second outlet tube 24 The portion is collected, and sewage filters through the inside second filter 32 of first casing 2, and when the device was idle, the staff opened the second door body 29 through second handle 30, and the pulling third handle 31 is pulled out second filter 32 from the inside of first casing 2 to wash convenient and practical.
Although embodiments of the present invention have been shown and described, it will be appreciated by those skilled in the art that changes, modifications, substitutions and alterations can be made in these embodiments without departing from the principles and spirit of the invention, the scope of which is defined in the appended claims and their equivalents.
Claims (6)
1. A non-ferrous metal polishing device comprises a base (1), and is characterized in that: the polishing machine is characterized in that a second shell (10) is welded on the upper surface of the base (1), an electric push rod (11) is fixedly connected to the inner top wall of the second shell (10), a polishing wheel (14) is fixedly connected to a piston rod of the electric push rod (11), a first filter plate (18) is slidably connected to the inner side wall of the second shell (10), a workbench (17) is fixedly connected to the center of the upper surface of the first filter plate (18), a first plate body (4) is welded on one side of the second shell (10), a motor (5) is installed on the upper surface of the first plate body (4), a second plate body (6) is welded on the output end of the motor (5), a first fixing block (7) is welded on the front surface of the second plate body (6), a first rod body (8) is hinged to one side of the first fixing block (7), one end, far away from the first fixing block (7), of the first rod body (8) is hinged to one side of the first, the front surface of the second shell (10) is hinged with a first door body (25), a first handle (26) is welded on one side of the front surface of the first door body (25), a first water pump (19) is mounted on the upper surface of the base (1), a water inlet of the first water pump (19) is communicated with a first water inlet pipe (20), a water outlet of the first water pump (19) is communicated with a first water outlet pipe (12), one end, far away from the first water pump (19), of the first water outlet pipe (12) penetrates through the upper surface of the second shell (10) and is fixedly connected with a spray head (13), a second water pump (23) is mounted on the upper surface of the base (1), a second water inlet pipe (22) is communicated with a second water inlet pipe (22), one end, far away from the second water pump (23), of the second water inlet pipe (22) is communicated with one side of the second shell (10), the delivery port intercommunication of second water pump (23) has second outlet pipe (24), second outlet pipe (24) are kept away from the one end intercommunication of second water pump (23) has first casing (2), the lower surface of first casing (2) weld in the upper surface of base (1), two second recess (33) have been seted up to the inside wall symmetry of first casing (2), the inside sliding connection of second recess (33) has second filter (32), one side welding of second filter (32) has third handle (31).
2. A non-ferrous metal polishing device as set forth in claim 1, characterized in that: air exhauster (9) are installed to one side of second casing (10), the air outlet intercommunication of air exhauster (9) has dust absorption pipeline (3), dust absorption pipeline (3) are kept away from the one end intercommunication of air exhauster (9) has third casing (28), the lower surface of third casing (28) weld in the upper surface of base (1).
3. A non-ferrous metal polishing device as set forth in claim 1, characterized in that: the bilateral symmetry welding of workstation (17) has two fifth plate bodies (38), two fourth plate body (34) have all been welded to the upper surface of fifth plate body (38), screw thread through-hole (35) have been seted up to one side of fourth plate body (34), the internal thread of screw thread through-hole (35) is connected with screw rod (36), the one end welding of screw rod (36) has knob (41), keep away from screw rod (36) the one end fixedly connected with bearing (37) of knob (41), the outer lane welding of bearing (37) has third plate body (15).
4. A non-ferrous metal polishing device as set forth in claim 1, characterized in that: third recess (39) have been seted up to the inside wall of second casing (10), first filter (18) sliding connection in the inside of third recess (39), one side symmetry welding of third recess (39) has two second fixed blocks (40), two the equal fixedly connected with spring (21) in one side of second fixed block (40), spring (21) are kept away from the one end of second fixed block (40) weld in one side of first filter (18).
5. A non-ferrous metal polishing device as set forth in claim 3, characterized in that: two first grooves (16) are symmetrically formed in the upper surface of the workbench (17), and the lower surface of the third plate body (15) is connected to the inside of the first grooves (16) in a sliding mode.
6. A non-ferrous metal polishing device as set forth in claim 1, characterized in that: the front surface fixedly connected with observation window (27) of first door body (25), one side of first casing (2) articulates there is second door body (29), one side welding of second door body (29) has second handle (30).
Priority Applications (1)
| Application Number | Priority Date | Filing Date | Title |
|---|---|---|---|
| CN202022036039.2U CN213004574U (en) | 2020-09-17 | 2020-09-17 | Non ferrous metal burnishing device |
Applications Claiming Priority (1)
| Application Number | Priority Date | Filing Date | Title |
|---|---|---|---|
| CN202022036039.2U CN213004574U (en) | 2020-09-17 | 2020-09-17 | Non ferrous metal burnishing device |
Publications (1)
| Publication Number | Publication Date |
|---|---|
| CN213004574U true CN213004574U (en) | 2021-04-20 |
Family
ID=75477280
Family Applications (1)
| Application Number | Title | Priority Date | Filing Date |
|---|---|---|---|
| CN202022036039.2U Expired - Fee Related CN213004574U (en) | 2020-09-17 | 2020-09-17 | Non ferrous metal burnishing device |
Country Status (1)
| Country | Link |
|---|---|
| CN (1) | CN213004574U (en) |
Cited By (1)
| Publication number | Priority date | Publication date | Assignee | Title |
|---|---|---|---|---|
| CN114473679A (en) * | 2022-02-19 | 2022-05-13 | 卢中国 | Sand grinder capable of being cleaned quickly and working method thereof |
-
2020
- 2020-09-17 CN CN202022036039.2U patent/CN213004574U/en not_active Expired - Fee Related
Cited By (1)
| Publication number | Priority date | Publication date | Assignee | Title |
|---|---|---|---|---|
| CN114473679A (en) * | 2022-02-19 | 2022-05-13 | 卢中国 | Sand grinder capable of being cleaned quickly and working method thereof |
Similar Documents
| Publication | Publication Date | Title |
|---|---|---|
| CN213004574U (en) | Non ferrous metal burnishing device | |
| CN209394440U (en) | A kind of PLC control bucket automatic welding polishing grinding device | |
| CN219704665U (en) | Polishing and dedusting equipment | |
| CN212975571U (en) | Mechanical part surface polishing and spraying processing equipment | |
| CN113635186A (en) | Polishing device capable of protecting materials for mold processing | |
| CN219925579U (en) | Polishing device for electromechanical equipment parts | |
| CN218504195U (en) | Polishing device for cylindrical roller bearing of rolling mill | |
| CN215433072U (en) | High accuracy is rust cleaning device for metal product processing | |
| CN213671944U (en) | Punching device for stainless steel pipe | |
| CN213351893U (en) | Grinding device for machining with dust collection function | |
| CN213411475U (en) | Polisher with cleaning performance | |
| CN221849488U (en) | A vertical machining center | |
| CN222711797U (en) | Intelligent automatic metal part polishing equipment | |
| CN213196941U (en) | Polishing mechanism for cylinder barrel wall of gas compressor | |
| CN219485308U (en) | Polishing machine with dust removal function for plate processing | |
| CN219444700U (en) | A household processing and polishing device | |
| CN219027094U (en) | Metal accessory surface polishing equipment | |
| CN213081078U (en) | Burnishing device is used in part production | |
| CN223603975U (en) | Mould processing platform | |
| CN222405018U (en) | Spare part surface finish device | |
| CN221694502U (en) | Cleaning device for flywheel housing processing | |
| CN217619669U (en) | Machine-building is with polisher that is equipped with dustproof function | |
| CN220942452U (en) | Dust removing device for metal rust removing dust | |
| CN221017742U (en) | Mechanical and electronic processing dust collector | |
| CN220331031U (en) | Machining polishing equipment |
Legal Events
| Date | Code | Title | Description |
|---|---|---|---|
| GR01 | Patent grant | ||
| GR01 | Patent grant | ||
| CF01 | Termination of patent right due to non-payment of annual fee | ||
| CF01 | Termination of patent right due to non-payment of annual fee |
Granted publication date: 20210420 Termination date: 20210917 |