CN212996301U - Squeeze flat mop cleaning tool with scraper - Google Patents

Squeeze flat mop cleaning tool with scraper Download PDF

Info

Publication number
CN212996301U
CN212996301U CN201922130622.7U CN201922130622U CN212996301U CN 212996301 U CN212996301 U CN 212996301U CN 201922130622 U CN201922130622 U CN 201922130622U CN 212996301 U CN212996301 U CN 212996301U
Authority
CN
China
Prior art keywords
scraper
flat mop
squeezing
mop head
mop
Prior art date
Legal status (The legal status is an assumption and is not a legal conclusion. Google has not performed a legal analysis and makes no representation as to the accuracy of the status listed.)
Expired - Fee Related
Application number
CN201922130622.7U
Other languages
Chinese (zh)
Inventor
黄智勇
Current Assignee (The listed assignees may be inaccurate. Google has not performed a legal analysis and makes no representation or warranty as to the accuracy of the list.)
Cixi Bosheng Plastic Co Ltd
Original Assignee
Cixi Bosheng Plastic Co Ltd
Priority date (The priority date is an assumption and is not a legal conclusion. Google has not performed a legal analysis and makes no representation as to the accuracy of the date listed.)
Filing date
Publication date
Application filed by Cixi Bosheng Plastic Co Ltd filed Critical Cixi Bosheng Plastic Co Ltd
Priority to CN201922130622.7U priority Critical patent/CN212996301U/en
Application granted granted Critical
Publication of CN212996301U publication Critical patent/CN212996301U/en
Expired - Fee Related legal-status Critical Current
Anticipated expiration legal-status Critical

Links

Images

Landscapes

  • Cleaning Implements For Floors, Carpets, Furniture, Walls, And The Like (AREA)

Abstract

具有刮板的挤压平板拖把清洁工具,包括拖把桶和平板拖把,平板拖把包括拖把杆和活动连接在拖把杆上的硬质的平板拖把头,平板拖把头上设有擦拭物;拖把桶上设有挤压架,挤压架上开设有开口,开口一侧的挤压架上设有刮板,刮板与开口的另一侧之间形成挤压口,平板拖把插入挤压口中往复运动从而通过刮板对擦拭物进行挤压挤干;刮板转动连接在挤压架上,通过刮板的外缘对擦拭物进行挤压,平板拖把头下压时擦拭物带动刮板向下摆动至窄位,从而使挤压口较小;平板拖把头上拉时擦拭物带动刮板向上摆动,从而使挤压口变大;刮板的外缘的厚度为0.1cm‑5cm。本实用新型的刮板的尺寸合适,作用于擦拭物的摩擦力适中,且擦拭物的使用寿命可达到保证。

Figure 201922130622

A squeeze flat mop cleaning tool with a scraper, including a mop bucket and a flat mop, the flat mop including a mop bar and a hard flat mop head movably connected to the mop bar, the flat mop head is provided with wipers; There is a squeeze frame, the squeeze frame is provided with an opening, the squeeze frame on one side of the opening is provided with a scraper, a squeeze port is formed between the scraper and the other side of the opening, and the flat mop is inserted into the squeeze port to reciprocate. Therefore, the wiper is squeezed and squeezed dry by the scraper; the scraper is rotated and connected to the extrusion frame, and the wiper is squeezed through the outer edge of the scraper. When the flat mop head is pressed down, the wiper drives the scraper to swing downward. to the narrow position, so that the extrusion port is smaller; when the flat mop head is pulled up, the wiper drives the scraper to swing upward, so that the extrusion port becomes larger; the thickness of the outer edge of the scraper is 0.1cm‑5cm. The size of the scraper of the utility model is suitable, the friction force acting on the wiper is moderate, and the service life of the wiper can be guaranteed.

Figure 201922130622

Description

Squeezing flat mop cleaning tool with scraper
The application is a divisional application, the application date of the original application is 2018, 04, 17 and the application number is 201820541294.2, and the invention provides a cleaning tool with a scraper for squeezing a flat plate mop.
Technical Field
The utility model relates to a cleaning tool for extruding a flat mop.
Background
Chinese utility model patent ZL201620870001.6 discloses an extrusion flat mop cleaning tool, which comprises a mop barrel and a flat mop, wherein the flat mop comprises a mop rod and a hard flat mop head movably connected on the mop rod, and wiping materials are arranged on the flat mop head;
the mop bucket has the crowded water district and the washing district of isolation, the mop bucket on be equipped with the extrusion frame, the extrusion frame on seted up the opening, be equipped with the squeezer on the extrusion frame of opening one side, form the extrusion mouth between squeezer and the open-ended opposite side, when carrying out the wringing to the wiper dull and stereotyped mop head rotate to crowded water state, dull and stereotyped mop insert thereby the extrusion mouth in reciprocating motion pass through the squeezer carry out the extrusion wringing to the wiper.
The above-described squeeze flat mop cleaning implement of the prior art overcomes many of the disadvantages of the prior art push-down rotary mops and is therefore widely appreciated by the market. However, the specific thickness dimensional data for the press has not been optimized, and the thickness of the press takes into account the amount of friction applied to the wipe.
Since the cleaning tool for squeezing the flat mop is the latest product in the field of cleaning tools and is not available for a year so far, no relevant empirical data can be referred to in the aspects of product forming and size research.
Disclosure of Invention
In view of the technical scheme that has not yet given reasonable size range to the squeezer of squeezing dull and stereotyped mop burnisher mop bucket among the prior art, the utility model provides a dull and stereotyped mop burnisher of extrusion with scraper blade.
The technical proposal of the utility model for solving the technical problem is that: the squeezing flat mop cleaning tool with the scraping plate comprises a mop barrel and a flat mop, wherein the flat mop comprises a mop rod and a hard flat mop head, the flat mop head is longitudinally hinged with a connector, and the lower end of the mop rod is transversely hinged with the connector; the flat mop head is provided with a wiping material;
the mop bucket is provided with a squeezing frame, the squeezing frame is provided with an opening, a scraping plate is arranged on the squeezing frame on one side of the opening, a squeezing opening is formed between the scraping plate and the other side of the opening, the flat mop head rotates to a squeezing state when a wiping object is squeezed, and the flat mop is inserted into the squeezing opening to reciprocate so as to squeeze and squeeze the wiping object through the scraping plate;
the scraping plate is rotationally connected to the extrusion frame, the outer edge of the scraping plate extrudes the wiping material, and the wiping material drives the scraping plate to swing downwards to a narrow position when the flat mop head is pressed down, so that the extrusion opening is smaller; when the flat mop head is pulled upwards, the wiping object drives the scraping plate to swing upwards, so that the extrusion opening is enlarged;
the thickness of the outer edge of the scraper is 0.1cm-5 cm.
Further, the length of the scraper is 7cm-20 cm.
Further, the length of the blade is greater than the width of the wipe.
Further, the squeezing frame or the squeezer is provided with a waterway channel for leading out the water squeezed by the wiper.
Furthermore, the squeezer is rotationally connected to the squeezing frame, and when the flat mop head is pressed down, the wiper drives the squeezer to move to a narrow position, so that the squeezing opening is smaller; when the flat mop head is pulled upwards, the wiping object drives the squeezer to move towards the direction away from the narrow position, so that the squeezing opening is enlarged.
Furthermore, the squeezer is a scraper, and when the flat mop head is pressed down, the wiper drives the scraper to swing downwards to a narrow position, so that the squeezing opening is smaller; when the flat mop head is pulled upwards, the wiping object drives the scraping plate to swing upwards, so that the extrusion opening is enlarged.
Furthermore, the device also comprises an elastic device, and the elastic device acts on the scraper to enable the scraper to be in a narrow position, so that the extrusion opening is small.
Furthermore, two ends of the scraper are respectively provided with a rotating pin, and the two rotating pins are respectively inserted into the extrusion frame; or the extrusion frame is provided with protruding shafts which are respectively inserted into two ends of the scraper.
Furthermore, the extrusion frame is provided with a pivoting seat, and the side edge of the scraping plate is pivoted on the pivoting seat.
Furthermore, the extrusion frame is provided with a clamping seat, the clamping seat is provided with a clamping opening, the scraping plate is provided with a clamping shaft, and the clamping shaft is clamped into the clamping opening of the clamping seat and then rotates.
Furthermore, a limiting device used for limiting the narrow position is arranged on the extrusion frame.
Furthermore, the limiting device is a limiting seat arranged on the extrusion frame, a limiting notch is formed in the limiting seat, the extruder is located in the limiting notch, and the scraper plate reaches a narrow position when touching one side of the limiting seat.
Or the limiting devices are two limiting grooves arranged on the extrusion frame, two ends of the extruder are inserted into the limiting grooves, and the extruder reaches a narrow position when touching one side of the limiting grooves.
Or, the extrusion frame is provided with a blocking part for blocking the extruder, and the extruder reaches the narrow position when being touched with the blocking position.
Furthermore, the limiting device simultaneously limits the position of the maximum extrusion opening when the extrusion opening is enlarged.
Furthermore, the extrusion frame is connected with the extruder in a sliding manner, and when the flat mop head is pressed down, the wiper drives the extruder to slide obliquely downwards to a narrow position, so that the extrusion opening is smaller; when the flat mop head is pulled upwards, the wiper drives the squeezer to rotate upwards in an inclined way, so that the squeezing opening is enlarged.
Furthermore, an inclined sliding groove is formed in the extrusion frame, sliding blocks are arranged at two ends of the extruder, and the sliding blocks are located in the inclined sliding groove; or the extrusion frame is provided with a sliding block, two ends of the extruder are provided with inclined sliding grooves, and the sliding block is positioned in the inclined sliding grooves.
Further, a buffer device is arranged at the bottom of the mop bucket.
Furthermore, the bottom of the mop bucket is provided with an enclosure frame for reducing the water absorption capacity at the final stage of squeezing.
Furthermore, the flat mop head can keep a water squeezing state through a positioning device between the flat mop head and the mop rod; when mopping, the flat mop head is separated from the control of the positioning device so as to rotate to the mopping state.
Furthermore, the positioning device comprises an iron block arranged on the mop rod and a magnet arranged on the flat mop head, when the flat mop head rotates to a state of being capable of squeezing water, the iron block and the magnet are attracted, and the iron block and the magnet are separated during mopping; or the positioning device comprises a magnet arranged on the mop rod and an iron block arranged on the flat mop head, when the flat mop head rotates to a state of being capable of squeezing water, the iron block is attracted with the magnet, and the iron block is separated from the magnet when mopping.
Or the positioning device comprises an elastic buckle arranged on the flat mop head, when the flat mop head rotates to a state of being capable of squeezing water, the mop rod is buckled into the elastic buckle, and the mop rod is separated from the elastic buckle when mopping; or the positioning device comprises an elastic buckle arranged on the mop rod, a buckle hole matched with the elastic buckle is arranged on the flat mop head, and the elastic buckle is buckled into the buckle hole when the flat mop head rotates to a state of being capable of squeezing water; when the mop is used for mopping, the elastic buckle is separated from the buckle hole.
Or the positioning device comprises an elastic ejecting piece arranged in the mop rod, and the elastic ejecting piece is ejected to the movable connection position between the flat mop head and the mop rod during water squeezing so as to position the flat mop head; when mopping, the mop rod or the flat mop head rotates to enable the flat mop head to be in a mopping state; or the positioning device comprises an elastic ejecting piece arranged at the movable connection part between the flat mop head and the mop rod, and the elastic ejecting piece is ejected on the mop rod during water squeezing so as to position the flat mop head; when mopping, the mop rod or the flat mop head rotates to enable the flat mop head to be in a mopping state.
Or the positioning device comprises a magic male buckle arranged on the flat mop head and a magic female buckle arranged on the mop rod, and the flat mop head and the mop rod are bonded and bound through the magic male buckle and the magic female buckle during water squeezing; when the floor is mopped, the magic male buckle is separated from the magic female buckle; or the positioning device comprises a magic female buckle arranged on the flat mop head and a magic male buckle arranged on the mop rod, and the flat mop head and the mop rod are bonded and bound through the magic male buckle and the magic female buckle during cleaning and wringing; when the mop is used for mopping, the magic male buckle is separated from the magic female buckle.
Or, the mop rod is provided with a slot, the flat mop head is provided with a dowel, the end part of the dowel is provided with a bayonet, the end part of the slot is provided with a clamping point, the dowel enters the slot after the flat mop head rotates during wringing, and the clamping point is clamped in the bayonet; or the mop rod is provided with a plug point, the flat mop head is provided with a slot, and the plug point is clamped into the bayonet after the flat mop head rotates during water squeezing.
The beneficial effects of the utility model reside in that: the scraper has proper size, the friction force acting on the wiper is moderate, and the service life of the wiper can be ensured.
Drawings
Fig. 1 is a schematic structural view of a flat mop.
Fig. 2 is a schematic diagram of an embodiment of the present invention.
Fig. 3 is another schematic structure of the present invention.
Fig. 4 is a schematic view of the structure of a mop bucket.
FIG. 5 is a schematic view of another mop bucket configuration.
Fig. 6 is a schematic structural view of the pressing frame.
Fig. 7 is a schematic view of the internal structure of the extrusion frame.
Fig. 8 is a cross-sectional view of a mop bucket.
Fig. 9 is a state view of the squeegee when the flat mop is pulled up.
Fig. 10 is a state view of the squeegee when the flat mop is pressed down.
Fig. 11 is a schematic view of the structure in which the torsion spring acts on the squeegee.
Fig. 12 is a schematic view showing a structure in which a pressing spring acts on a blade.
FIG. 13 is a schematic view of one installation of the squeegee.
Fig. 14 is an exploded view of fig. 13.
FIG. 15 is another schematic view of the installation of the squeegee.
Fig. 16 is an exploded view of fig. 15.
FIG. 17 is another schematic view of the installation of the squeegee.
Fig. 18 is an exploded view of fig. 17.
FIG. 19 is another schematic view of the installation of the squeegee.
Fig. 20 is an exploded view of fig. 19.
FIG. 21 is another schematic view of the installation of the squeegee.
Fig. 22 is an exploded view of fig. 21.
FIG. 23 is another schematic view of the installation of the squeegee.
Fig. 24 is an exploded view of fig. 23.
FIG. 25 is another schematic view of the installation of the squeegee.
Fig. 26 is an exploded view of fig. 25.
FIG. 27 is a schematic view of a mop bucket with a frame at the bottom of the wringing area.
FIG. 28 is a cross-sectional view of a mop bucket with a peripheral frame at the bottom of the wringing zone.
FIG. 29 is a schematic view of the connection of the mop rod to the mop head with the flat mop in the mopping position.
FIG. 30 is a schematic view of the flat mop of FIG. 29 in a cleaning and wringing configuration.
FIG. 31 is a schematic view of the connection of the mop rod to the mop head with the flat mop in the mopping position.
FIG. 32 is a schematic view of the flat mop of FIG. 31 in a cleaning and wringing configuration.
FIG. 33 is a schematic view of the connection of the mop rod to the mop head with the flat mop in the mopping position.
FIG. 34 is a schematic view of the flat mop of FIG. 33 in a cleaning and wringing configuration.
FIG. 35 is a schematic view of the connection of the mop rod to the mop head with the flat mop in the mopping position.
FIG. 36 is a schematic view of the flat mop of FIG. 35 in a cleaning and wringing configuration.
FIG. 37 is a schematic view of the connection of the mop rod to the mop head with the flat mop in the mopping position.
FIG. 38 is a schematic view of the flat mop of FIG. 37 in a cleaning and wringing configuration.
Fig. 39 is an internal structural view of the flat mop of fig. 37.
Fig. 40 is an internal structural view of the flat mop of fig. 37.
FIG. 41 is a schematic view of the connection of the mop rod to the mop head with the flat mop in a mopping position.
FIG. 42 is a schematic view of the flat mop of FIG. 41 in a cleaning and wringing configuration
Fig. 43 is an internal structural view of the flat mop of fig. 41.
Fig. 44 is an internal structural view of the flat mop of fig. 41.
Fig. 45 is a schematic view of another connection of the press and the press frame.
Fig. 46 is a schematic view of the action of the squeegee and flat mop head.
Detailed Description
The present invention will be described in further detail with reference to the accompanying drawings and specific embodiments.
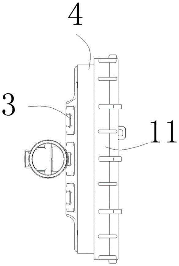
Referring to fig. 1-46, the squeezing flat mop cleaning tool with a scraper comprises a mop bucket and a flat mop 1, wherein the flat mop 1 comprises a mop rod 2 and a hard flat mop head 3 movably connected to the mop rod 2, the flat mop head 3 is provided with a wiping material 4, the wiping material 4 is usually arranged on the back surface of the flat mop head 3, and of course, the wiping material 4 can be arranged on the front surface of the flat mop head 3, or both the front surface and the back surface are provided with the wiping material. The movable connection mode of the flat mop head 3 and the mop rod 2 is the prior art, and now briefly described as follows: pass through connector 56 swing joint between dull and stereotyped mop head and the mop pole: the connecting head 56 is longitudinally hinged with the flat mop head 3 (the longitudinal hinge means that a hinge shaft used for hinging the connecting head and the flat mop head 3 is consistent with the length direction of the flat mop head), and the lower end of the mop rod 2 is transversely hinged with the connecting head 56 (the transverse hinge means that a hinge shaft used for hinging the connecting head and the flat mop rod is consistent with the width direction of the flat mop head).
The mop bucket on be equipped with extrusion frame 5, extrusion frame 5 on seted up the opening, be equipped with the squeezer on the extrusion frame of opening one side, the squeezer part stretch into in the opening, form extrusion mouth 6 between squeezer and the open-ended opposite side, when carrying out the wringing and wash the wiper dull and stereotyped mop head 3 rotate to crowded water state, thereby dull and stereotyped mop inserts extrusion mouth 6 in reciprocating motion pass through the squeezer carry out the extrusion wringing to wiper 4. The rotation of the flat mop head 3 to the wringing state is generally embodied as the rotation of the flat mop head 3 to a state parallel or substantially parallel to the mop rod 2.
The mop bucket is internally provided with a water stop sheet 57, the mop bucket is divided into a water squeezing area 7 and a water containing area 8 by the water stop sheet 57, the water stop sheet 57 and the mop bucket are integrally formed, the squeezing frame 5 is positioned above the water squeezing area, the thickness of the water stop sheet 57 is 1.2mm-4.5mm, and the height of the water stop sheet 57 is more than 150 mm. The water stop sheet 57 extends generally upwardly from the bottom surface of the mop bucket, which may be planar as shown in fig. 4, but is not limited to planar surfaces, and also "upwardly from the bottom surface of the mop bucket" when the bottom surface of the mop bucket is concave or convex (as shown in fig. 5).
The volume of the water containing area is 6-12 liters, and 8-10 liters is preferred. Of course, the water containing area can be formed in other ways besides the way of isolation by the water-stop sheet, so that the water squeezing area and the water containing area which are isolated from each other can be formed. For example: the water squeezing area adopts a water squeezing bucket, the water containing area adopts a water containing bucket, and the water squeezing area and the water containing bucket are arranged and connected with each other in a left-right mode; or the squeezing bucket is arranged in the water containing bucket, and the remaining part of the water containing bucket except the volume occupied by the squeezing bucket is the volume of the water containing area. Or the water squeezing area and the water containing area are arranged left and right and are converged at the upper part, and the water squeezing area and the water containing area are separated at the junction of the upper parts by the partition board. Etc. of
Of course, the mop bucket can be provided as only one bucket, with the squeezing frame being provided at the upper end of the mop bucket.
In this embodiment, the squeezing frame or the squeezer is provided with a water channel 58, and the water channel 58 guides the water squeezed out from the wiping object to the water containing area or other places, so as to prevent the water from being retained in the water squeezing area and affecting the wiping effect of the wiping object.
Of course, the squeezing frame can be arranged above the water containing area of the mop bucket, and squeezing and cleaning can be realized in the water containing area by the same action as squeezing and drying.
The squeezer is rotationally connected to the squeezing frame 5, and when the flat mop head 3 is pressed down, the wiper 4 drives the squeezer to move to a narrow position, so that the squeezing opening 6 is small, and the wiper 4 obtains stable and proper squeezing force; when the flat mop head 3 is pulled up, the wiper 4 drives the squeezer to move in the direction away from the narrow position, so that the squeezing opening 6 is enlarged, the squeezing force applied to the wiper 4 by the squeezer is smaller, and the mop bucket cannot be pulled up in the process of pulling up the flat mop.
In the embodiment, the squeezer adopts a mode of a scraper 11, the wiping object 4 is squeezed by the outer edge of the scraper 11, the scraper 11 is arranged on the squeezing frame 5 in a swinging mode, and when the flat mop head 3 is pressed down, the wiping object drives the scraper 11 to rotate downwards to a narrow position, so that the squeezing opening 6 is small; when the flat mop head 3 is pulled up, the wiping materials drive the scraping plate 11 to rotate upwards, so that the extrusion opening 6 is enlarged.
The thickness of the edge of the scraper 11 is 0.1cm-5 cm. If the thickness of the outer edge of the scraper is too thin, the scraper can actually form a blade at the outer edge of the scraper, and when the scraper acts on a wiping object, the wiping object can be greatly damaged, so that the service life of the wiping object is greatly shortened; or the thickness of the outer edge of the scraper is too thick, the area of the scraper acting on the wiping object is too large, the friction force between the scraper and the wiping object is too large, the rotation of the scraper is not facilitated, and the running part is smooth when the wiping object is squeezed, so that clamping stagnation is often generated.
As shown in fig. 46, the length of the blade is 7cm to 20cm, and the length of the blade is greater than the width of the wipe 4, so that the overall wipe can be scraped.
The pivotable mounting of the blade 11 can take a variety of configurations, and several specific blade mountings are listed below:
1. as shown in fig. 13 and 14, rotation pins 12 are provided at both ends of the scraper 11, and the two rotation pins 12 are inserted into the extrusion frame 5, respectively, so that the scraper 11 can swing around the rotation pins.
2. As shown in fig. 15 and 16, the extrusion frame 5 is provided with protruding shafts 13, the protruding shafts 13 are respectively inserted into both ends of the scraper 11, and the scraper 11 can swing with the protruding pins 13 as the axis.
3. As shown in fig. 17 and 18, the squeezing frame 5 is provided with a pivot seat 14, the side of the scraping plate 11 is pivoted on the pivot seat 14, and the scraping plate 11 can swing with the pivot of the side as an axis.
4. As shown in fig. 19 and 20, the squeezing frame 5 is provided with a clamping seat 15, the clamping seat 15 is provided with a bayonet 16, the scraping plate 11 is provided with a clamping shaft 17, the clamping shaft 17 is clamped in the bayonet 16 of the clamping seat and then rotates, and the scraping plate 11 can swing by taking the clamping shaft 17 as an axis.
The specific presence of the narrow bit can be achieved as follows: the extrusion frame 5 is provided with a limiting device for limiting the narrow position, and the specific narrow position is designated by the limiting device. The position of the maximum extrusion opening when the extrusion opening is enlarged can be simultaneously limited by the limiting device. As shown in fig. 13-20, the limiting device is a row of limiting seats 18 disposed on the extrusion frame 5, the limiting seats are disposed on one side of the open-ended extruder, the limiting seats 18 can be directly disposed on the extrusion frame 5, or disposed on the pivoting seat 14, the limiting seats 18 are formed with limiting recesses 19, the scraper 11 is disposed in the limiting recesses 19, and the scraper 11 reaches a narrow position when contacting one side of the limiting seats 18 and reaches a maximum extrusion opening position when contacting the other side of the limiting seats 18. The scraper 11 may be provided with a lug 20 to assist the limiting, and the maximum extrusion opening position is achieved by the contact of the lug and the limiting seat.
Of course, the limiting device may also adopt other structural forms, for example, as shown in fig. 22, two ends of the scraper 11 are provided with limiting blocks 21 protruding outwards, the extrusion frame 5 is provided with limiting openings 22, the limiting blocks 21 are inserted into the limiting openings 22, the limiting blocks 21 move in the limiting openings 22, and the limiting blocks 21 reach the narrow position when touching one side of the limiting openings 22 and reach the maximum extrusion opening position when touching the other side of the limiting openings 22. For example, as shown in the figure, the limiting device is a limiting groove 23 arranged on the extrusion frame 5, two ends of the scraping plate 11 are respectively inserted into the limiting groove 23, and the scraping plate 11 reaches a narrow position when touching one side of the limiting groove 23 and reaches a maximum extrusion opening position when touching the other side of the limiting groove 23.
The limiting device can also be characterized in that two blocking parts which block the scraper 11 are arranged on the extrusion frame, and the blocking parts form the limiting device and reach the narrow position when the scraper touches one blocking part and the maximum extrusion opening position when the scraper touches the other blocking part.
Referring to fig. 25 and 26, another movable connection mode with a limiting device can be adopted between the scraping plate 11 and the extrusion frame 5: the extrusion frame 5 on be equipped with the oblique recess 24 that corresponds at scraper blade 11 both ends, the both ends of scraper blade 11 insert oblique recess 24 in, just scraper blade 11 with oblique recess 24 between have along the activity space of scraper blade thickness direction, the dull and stereotyped mop head 3 of round trip movement, contact between wiper 4 and the scraper blade 11 drives scraper blade 11 and turns over in oblique recess 24 to make scraper blade 11 have certain turned angle, reach and adjust the effect of the opening size of extrusion mouth. And due to the limitation of the inclined groove 24, the scraper 11 can only move within a certain degree, so that a narrow position and a maximum extrusion opening position can be reached.
Or, the both ends of scraper blade are equipped with oblique recess, the extrusion frame on be equipped with the picture peg that corresponds with two oblique recesses, the picture peg insert oblique recess in, just the picture peg with oblique recess between have along scraper blade thickness direction's activity space, the crowded water hand (hold) of push-and-pull, contact between wiper and the scraper blade drives the scraper blade and turns to make the scraper blade have certain turned angle, reach the regulation the effect of the opening size of extrusion mouth. And due to the matching limitation of the inclined groove and the inserting plate, the scraping plate can only move in a certain degree, so that the position of a narrow position and the position of a maximum extrusion opening can be reached.
In the previous embodiment, the blade reaches the narrow position by the wiper 4 swinging (rotating) the blade 11. The narrow position of the blade 11 can also be achieved by other means, such as by providing an elastic means in the squeezing frame 5, which acts on the blade 11 to keep it in the narrow position so that the squeezing opening is smaller, in which case the blade 11 is initially in the narrow position, without the need to push down the wiper 4 on the flat mop head to rotate it to the narrow position. When the flat mop head 3 is pulled upward, the frictional pressing force between the wiper 4 and the blade 11 overcomes the elastic force of the elastic means, so that the blade 11 is rotated upward, and the pressing opening is enlarged. As shown in fig. 11, the elastic device may be a compression spring 25, one end of the compression spring 25 abuts against the extrusion frame 5, and the other end of the compression spring 25 abuts against the scraper 11, so that the scraper 11 is located at the narrow position. Alternatively, as shown in fig. 12, the elastic device may be a torsion spring 26, one end of the torsion spring 26 abuts against the pressing frame 5, and the other end of the torsion spring 26 abuts against the scraper 11, so that the scraper 11 is located at the narrow position.
In the foregoing description, the squeezer adopts a manner of a swingable scraper, but of course, the squeezer can also adopt other connection manners with the squeezing frame to achieve the purpose of changing the size of the squeezing opening. As shown in fig. 45, the squeezing rack 5 is slidably connected with the squeezer 27, and when the flat mop head 3 is pressed down, the wiper 4 drives the squeezer 27 to slide obliquely downwards to a narrow position, so that the squeezing opening is small; when the flat mop head 3 is pulled up, the wiper 4 drives the squeezer 27 to rotate obliquely upwards, so that the squeezing opening is enlarged. In this case, the shape of the squeeze 27 is not particularly limited, and the squeeze 27 may be a strip, a plate, or the like, or may be a squeeze roll or the like. The specific sliding connection mode of the extrusion frame 5 and the extruder 27 can be as follows: the extrusion frame 25 is provided with an inclined sliding groove 28, two ends of the extruder 27 are provided with sliding blocks 29, and the sliding blocks 29 are positioned in the inclined sliding groove 28. The oblique slot 28 also simultaneously serves as a stop: the pressing device 27 is located in a narrow position when the sliding block 29 slides to the lower end of the inclined sliding groove 28, and the pressing opening reaches a maximum opening position when the sliding block 29 slides to at least the upper end of the inclined sliding groove 28.
Or the extrusion frame is provided with a sliding block, two ends of the extruder are provided with inclined sliding grooves, and the sliding block is positioned in the inclined sliding grooves.
And a buffer device can be arranged at the bottom of the water squeezing area and/or the water containing area and is used for buffering when the flat mop goes down so as to prevent the hard flat mop head from directly colliding with the barrel body. The buffer device can adopt a flexible pad 41, and can also adopt other mechanisms with buffer function, such as arranging a buffer block, connecting the buffer block and the bottom surface of the mop bucket through a spring, and the like. The lifting boss 59 can be arranged at the bottom of the water squeezing area, the flat mop head is in contact with the lifting boss 59 when the wiping object is squeezed, downstairs water is located at the periphery of the lifting boss 59 when the wiping object is squeezed, the flat mop head cannot touch leaked water, and the rod squeezing effect can be ensured.
As shown in fig. 27 and 28, a surrounding frame 42 for reducing the water absorption amount at the final stage of squeezing may be further provided at the bottom of the squeezing area, but the shape of the surrounding frame is not limited to the shape shown in fig. 29, and may be rectangular, square, polygonal, circular, oval, irregular, grid-shaped, and the like. The meaning of setting up enclosure 42 is: during the cleaning and wringing process of the wiping material, along with the water in the wringing area 7 is continuously transferred to the water containing area 8, the water level in the wringing area 7 is continuously reduced, and when the water level in the wringing area 7 is reduced below the surrounding frame 42, the water in the wringing area 7 is divided into two parts, one part is positioned outside the surrounding frame 42, and the other part is positioned in the surrounding frame 42.
If the flat mop head corresponds to the surrounding frame 42, the flat mop head does not contact with water outside the surrounding frame 42 during reciprocating motion, at the moment, the wiping object on the flat mop head can be squeezed out only by sucking the water in the surrounding frame 42, and the arrangement of the surrounding frame 42 greatly reduces the amount of water to be sucked out, thereby being beneficial to squeezing out the wiping object; if the flat mop head does not correspond to the surrounding frame 42, the flat mop head does not contact with water in the surrounding frame 42 during reciprocating motion, at the moment, the wiping object on the flat mop head can be squeezed out only by sucking the water outside the surrounding frame 42, and the amount of water needing to be sucked out is greatly reduced due to the arrangement of the surrounding frame 42, so that the wiping object is squeezed out.
The flat mop head can be kept in a cleaning and water-squeezing state through the positioning device between the flat mop head and the mop rod; when mopping, the flat mop head is separated from the control of the positioning device so as to rotate to the mopping state. Through the positioning device, the flat mop head is kept in a stable state during cleaning and wringing, frequent up-and-down movement of the flat mop head is facilitated, and the mop bucket cannot be lifted up in the up-and-down movement process of the flat mop. The structural form of the positioning device has a plurality of forms, and the following forms are exemplified by several positioning devices:
as shown in fig. 39 and 40, the positioning device comprises an iron block 43 disposed on the mop rod 2 and a magnet 44 disposed on the flat mop head 3, when the flat mop head 3 is rotated to a state of being capable of washing and squeezing water, the iron block 43 is attracted to the magnet 44, and the iron block 43 is separated from the magnet 44 during mopping.
Or the positioning device comprises a magnet arranged on the mop rod and an iron block arranged on the flat mop head, when the flat mop head rotates to a state of being capable of cleaning and squeezing water, the iron block and the magnet are attracted, and the iron block and the magnet are separated when mopping.
As shown in fig. 41 and 42, the positioning device includes a magic female buckle 45 disposed on the flat mop head 3 and a magic male buckle 46 disposed on the mop rod 2, and the flat mop head and the mop rod are bonded and bound through the magic male buckle 46 and the magic female buckle 45 during cleaning and squeezing water; when the floor is mopped, the magic male button 46 is separated from the magic female button 45.
Or the positioning device comprises a magic male buckle arranged on the flat mop head and a magic female buckle arranged on the mop rod, and the flat mop head and the mop rod are bonded and bound through the magic male buckle and the magic female buckle during cleaning and wringing; when the floor is mopped, the magic male buckle is separated from the magic female buckle;
as shown in fig. 43 and 44, the positioning device includes an elastic buckle 47 disposed on the mop rod 2, a buckle hole 48 adapted to the elastic buckle 47 is disposed on the flat mop head 3, and when the flat mop head 3 is rotated to a state of being able to be cleaned and squeezed, the elastic buckle 47 is buckled into the buckle hole 48; when the floor is mopped, the elastic button 47 is separated from the button hole 48.
As shown in fig. 45 and 46, the positioning device includes an elastic buckle 49 disposed on the flat mop head 3, when the flat mop head 3 is rotated to a state of being able to be cleaned and squeezed, the mop rod 2 is buckled into the elastic buckle 49, and when mopping, the mop rod 2 is separated from the elastic buckle 49.
As shown in fig. 37-44, the positioning device comprises an elastic top piece arranged in the mop rod 2, the elastic top piece comprises a spring 50 and a top block 51, and the top block 51 is pressed against the movable connection part between the flat mop head 3 and the mop rod 2 by the force of the spring 50 during cleaning and squeezing water so as to position the flat mop head 3; when mopping, the mop rod 2 or the flat mop head 3 is pulled to rotate the mop rod 2 or the flat mop head 3, so that the flat mop head 3 is in a mopping state. The joint between the flat mop head 3 and the mop rod 2 can adopt the structure that: the flat mop head is longitudinally hinged with a hinge seat 52 (the longitudinal hinge means that a hinge shaft is parallel to the length direction of the flat mop head), the lower end of the mop rod 2 is transversely hinged with the hinge seat 52 (the transverse hinge means that the hinge shaft is parallel to the width direction of the flat mop head), the spring 50 and the top block 51 are positioned at the lower end in the mop rod 2, and therefore the top block 51 is propped against the hinge seat 52. When the flat mop head 3 is rotated to a cleaning and water squeezing state, the flat mop head 3 is rotated to be substantially parallel to the mop rod 2, and the top block 51 is pushed against the hinge seat 52 to form a downward pushing force, so that the flat mop head 3 is kept in the state. In order to achieve better positioning effect, when the flat mop head 3 is rotated to be basically parallel to the mop rod, the hinge seat which is opposite to the top block 51 is arranged to be a plane so as to increase the positioning capability; or a groove 53 is arranged at the hinged support which is propped against the top block 51, a convex rib 54 or a clamping wheel 55 is arranged on the top block 51, and the convex rib 54 or the clamping wheel 55 is clamped into the groove 53 to achieve a better positioning effect.
Or the positioning device comprises an elastic ejecting piece arranged at the movable connection part between the flat mop head and the mop rod, and the elastic ejecting piece is ejected on the mop rod during cleaning and wringing so as to position the flat mop head; when mopping, the mop rod or the flat mop head rotates to enable the flat mop head to be in a mopping state.
The positioning device can also be: the mop rod is provided with a slot, the flat mop head is provided with a dowel, the end part of the dowel is provided with a bayonet, the end part of the slot is provided with a clamping point, the dowel enters the slot after the flat mop head rotates during wringing, and the clamping point is clamped in the bayonet; or the mop rod is provided with a plug point, the flat mop head is provided with a slot, and the plug point is clamped into the bayonet after the flat mop head rotates during water squeezing.

Claims (25)

1.具有刮板的挤压平板拖把清洁工具,包括拖把桶和平板拖把,所述的平板拖把包括拖把杆和硬质的平板拖把头,所述的平板拖把头上纵向铰接有连接头,拖把杆的下端与所述连接头之间横向铰接;所述的平板拖把头上设有擦拭物;1. Squeeze flat mop cleaning tool with scraper, including mop bucket and flat mop. The lower end of the rod and the connecting head are laterally hinged; the flat mop head is provided with a wiper; 所述的拖把桶上设有挤压架,所述的挤压架上开设有开口,所述开口一侧的挤压架上设有刮板,所述刮板与开口的另一侧之间形成挤压口,对擦拭物进行挤干时所述的平板拖把头转动至挤水状态,平板拖把插入所述的挤压口中往复运动从而通过所述的刮板对擦拭物进行挤压挤干;The mop bucket is provided with a squeeze frame, the squeeze frame is provided with an opening, and the squeeze frame on one side of the opening is provided with a scraper, between the scraper and the other side of the opening A squeeze port is formed, the flat mop head rotates to a squeezing state when the wipe is squeezed dry, and the flat mop is inserted into the squeeze port to reciprocate so as to squeeze and squeeze the wipe dry through the scraper ; 其特征在于:所述的刮板转动连接在所述的挤压架上,通过刮板的外缘对擦拭物进行挤压,平板拖把头下压时擦拭物带动所述的刮板向下摆动至窄位,从而使挤压口较小;平板拖把头上拉时擦拭物带动所述的刮板向上摆动,从而使所述的挤压口变大;It is characterized in that: the scraper is rotatably connected to the extrusion frame, the wiper is squeezed by the outer edge of the scraper, and the wiper drives the scraper to swing downward when the flat mop head is pressed down. to the narrow position, so that the extrusion port is smaller; when the flat mop head is pulled up, the wiper drives the scraper to swing upward, so that the extrusion port becomes larger; 所述刮板的外缘的厚度为0.1cm-5cm。The thickness of the outer edge of the scraper is 0.1cm-5cm. 2.如权利要求1所述的具有刮板的挤压平板拖把清洁工具,其特征在于:所述刮板的长度为7cm-20cm。2 . The extruded flat mop cleaning tool with a scraper according to claim 1 , wherein the scraper has a length of 7cm-20cm. 3 . 3.如权利要求1所述的具有刮板的挤压平板拖把清洁工具,其特征在于:所述刮板的长度大于所述擦拭物的宽度。3 . The extruded flat mop cleaning tool with a scraper according to claim 1 , wherein the length of the scraper is greater than the width of the wiper. 4 . 4.如权利要求1所述的具有刮板的挤压平板拖把清洁工具,其特征在于:所述的挤压架或刮板具有将擦拭物被挤出的水引出的水路通道。4. The squeezing flat mop cleaning tool with a scraper according to claim 1, wherein the squeezing frame or the scraper has a water channel for drawing out the water squeezed by the wiper. 5.如权利要求1所述的具有刮板的挤压平板拖把清洁工具,其特征在于:还包括弹性装置,所述的弹性装置作用于所述的刮板使其处于窄位位置从而使挤压口较小。5 . The squeezing flat mop cleaning tool with a scraper according to claim 1 , further comprising an elastic device, and the elastic device acts on the scraper to make it in a narrow position to make the squeezing The pressure port is small. 6.如权利要求1所述的具有刮板的挤压平板拖把清洁工具,其特征在于:所述刮板的两头均设有转动销,两转动销分别插入所述的挤压架中;6. The extruded flat mop cleaning tool with a scraper according to claim 1, wherein both ends of the scraper are provided with rotating pins, and the two rotating pins are respectively inserted into the extrusion frame; 或者,所述的挤压架上设有凸轴,所述的凸轴分别插入到所述刮板的两头。Alternatively, the extrusion frame is provided with protruding shafts, and the protruding shafts are respectively inserted into the two ends of the scraper. 7.如权利要求1所述的具有刮板的挤压平板拖把清洁工具,其特征在于:所述的挤压架或设有枢接座,所述刮板的侧边枢接在所述的枢接座上。7. The extruded flat mop cleaning tool with a scraper according to claim 1, wherein the extrusion frame is provided with a pivot seat, and the side of the scraper is pivotally connected to the on the pivot seat. 8.如权利要求1所述的具有刮板的挤压平板拖把清洁工具,其特征在于:所述的挤压架上设有卡座,该卡座上设有卡口,所述的刮板上设有卡轴,所述的卡轴卡入所述卡座的卡口内后转动。8. The squeezing flat mop cleaning tool with a scraper according to claim 1, wherein the squeezing frame is provided with a socket, the socket is provided with a bayonet, and the scraper A clamping shaft is arranged on the upper part, and the clamping shaft is clamped into the bayonet of the clamping seat and then rotates. 9.如权利要求1所述的具有刮板的挤压平板拖把清洁工具,其特征在于:所述的挤压架上设有用于限定所述窄位的限位装置。9 . The extruded flat mop cleaning tool with a scraper according to claim 1 , wherein the extruded frame is provided with a limiting device for limiting the narrow position. 10 . 10.如权利要求9所述的具有刮板的挤压平板拖把清洁工具,其特征在于:所述的限位装置为设于挤压架上的限位座,所述的限位座上设有限位凹口,所述的刮板位于所述的限位凹口中,所述的刮板与所述限位座一侧触碰时达到窄位。10 . The extruded flat mop cleaning tool with scraper according to claim 9 , wherein the limiting device is a limiting seat provided on the extrusion frame, and the limiting seat is provided with a limiting seat. 11 . A limit notch, the scraper is located in the limit notch, and the scraper reaches a narrow position when it touches one side of the limit seat. 11.如权利要求9所述的具有刮板的挤压平板拖把清洁工具,其特征在于:所述的限位装置为设于所述挤压架的两个限位凹槽,所述刮板的两头插入所述的限位凹槽中,所述的刮板与所述限位凹槽的一侧触碰时达到窄位位置。11. The extruded flat mop cleaning tool with a scraper according to claim 9, wherein the limiting device is two limiting grooves provided on the extrusion frame, and the scraper The two ends of the scraper are inserted into the limiting groove, and the scraper reaches the narrow position when it touches one side of the limiting groove. 12.如权利要求9所述的具有刮板的挤压平板拖把清洁工具,其特征在于:所述的挤压架上设有对所述的刮板形成阻挡的阻挡部分,所述的刮板与所述的阻挡部分触碰时达到窄位。12. The extruded flat mop cleaning tool with a scraper according to claim 9, wherein the extrusion frame is provided with a blocking part that blocks the scraper, and the scraper A narrow position is reached when touching the blocking portion. 13.如权利要求9所述的具有刮板的挤压平板拖把清洁工具,其特征在于:所述的限位装置同时限定挤压口变大时的最大挤压口位置。13. The squeezing flat mop cleaning tool with a scraper according to claim 9, wherein the limiting device simultaneously defines the maximum squeezing port position when the squeezing port becomes larger. 14.如权利要求1-13之一所述的具有刮板的挤压平板拖把清洁工具,其特征在于:所述拖把桶的底部设有缓冲装置。14. The extruded flat mop cleaning tool with a scraper according to any one of claims 1 to 13, wherein a buffer device is provided at the bottom of the mop bucket. 15.如权利要求1-13之一所述的具有刮板的挤压平板拖把清洁工具,其特征在于:所述拖把桶的底部设有减少挤干最后阶段吸水量的围框。15. The squeezing flat mop cleaning tool with a scraper according to any one of claims 1-13, wherein the bottom of the mop bucket is provided with a surrounding frame to reduce the amount of water absorbed in the final stage of squeezing. 16.如权利要求1-13之一所述的具有刮板的挤压平板拖把清洁工具,其特征在于:所述的平板拖把头与拖把杆之间可通过定位装置使该平板拖把头保持挤水状态;拖地时所述的平板拖把头脱离所述定位装置的控制从而旋转至拖地状态。16. The squeezing flat mop cleaning tool with a scraper according to any one of claims 1-13, wherein the flat mop head can be kept squeezed by a positioning device between the flat mop head and the mop rod. Water state; when mopping the floor, the flat mop head is disengaged from the control of the positioning device to rotate to the mopping state. 17.如权利要求16所述的具有刮板的挤压平板拖把清洁工具,其特征在于:所述的定位装置包括设于所述拖把杆上的铁块、设于所述平板拖把头上的磁铁,所述的平板拖把头旋转至可进行挤水的状态时,所述的铁块与所述的磁铁相吸合,拖地时所述的铁块与所述的磁铁相脱离;17. The squeezing flat mop cleaning tool with a scraper as claimed in claim 16, wherein the positioning device comprises an iron block arranged on the mop rod, an iron block arranged on the flat mop head Magnet, when the flat mop head rotates to a state where it can squeeze water, the iron block is attracted to the magnet, and the iron block is separated from the magnet when mopping the floor; 或者所述的定位装置包括设于所述拖把杆上的磁铁、设于所述平板拖把头上的铁块,所述的平板拖把头旋转至可进行挤水的状态时,所述的铁块与所述的磁铁相吸合,拖地时所述的铁块与所述的磁铁相脱离。Or the positioning device includes a magnet arranged on the mop rod and an iron block arranged on the flat mop head. When the flat mop head is rotated to a state where water can be squeezed, the iron block It is attracted with the magnet, and the iron block is separated from the magnet when mopping the floor. 18.如权利要求16所述的具有刮板的挤压平板拖把清洁工具,其特征在于:所述的定位装置包括设于所述平板拖把头上的弹性扣,所述的平板拖把头旋转至可进行挤水的状态时,所述的拖把杆扣入所述的弹性扣内,拖地时所述的拖把杆脱离所述的弹性扣;18. The squeezing flat mop cleaning tool with a scraper according to claim 16, wherein the positioning device comprises an elastic buckle provided on the flat mop head, and the flat mop head rotates to When the water can be squeezed, the mop rod is buckled into the elastic buckle, and the mop rod is separated from the elastic buckle when mopping the ground; 或者,所述的定位装置包括设于所述拖把杆上的弹性扣,所述的平板拖把头上设有与所述的弹性扣适配的扣孔,所述的平板拖把头旋转至可进行挤水的状态时,所述的弹性扣扣入所述的扣孔内;拖地时所述的弹性扣脱离所述的扣孔。Alternatively, the positioning device includes an elastic buckle provided on the mop rod, the flat mop head is provided with a button hole adapted to the elastic buckle, and the flat mop head can be rotated until the In the state of squeezing water, the elastic buckle is buckled into the button hole; when mopping the floor, the elastic buckle is released from the button hole. 19.如权利要求16所述的具有刮板的挤压平板拖把清洁工具,其特征在于:所述的定位装置包括设于所述拖把杆内的弹性顶件,挤水时所述的弹性顶件顶在所述平板拖把头与拖把杆之间的活动连接处从而对平板拖把头进行定位;拖地时,所述的拖把杆或平板拖把头转动后使平板拖把头处于拖地状态;19. The squeezing flat mop cleaning tool with a scraper according to claim 16, characterized in that: the positioning device comprises an elastic top member arranged in the mop rod, and the elastic top is provided when squeezing water. The flat mop head is positioned at the movable connection between the flat mop head and the mop rod; when mopping the floor, the mop rod or flat mop head is rotated to make the flat mop head in the mopping state; 或者,所述的定位装置包括设于所述平板拖把头与拖把杆之间的活动连接处的弹性顶件,挤水时所述的弹性顶件顶在拖把杆上从而对平板拖把头进行定位;拖地时,所述的拖把杆或平板拖把头转动后使平板拖把头处于拖地状态。Or, the positioning device includes an elastic top piece arranged at the movable connection between the flat mop head and the mop rod, and the elastic top piece pushes against the mop rod when squeezing water so as to position the flat mop head ; When mopping the floor, the mop rod or the flat mop head is rotated to make the flat mop head in the mopping state. 20.如权利要求16所述的具有刮板的挤压平板拖把清洁工具,其特征在于:所述的定位装置包括设于所述平板拖把头上的魔术公扣、设于所述拖把杆上的魔术母扣,挤水时所述的平板拖把头与拖把杆之间通过所述的魔术公扣和魔术母扣粘合绑定;拖地时所述的魔术公扣与魔术母扣脱离;20. The squeezing flat mop cleaning tool with a scraper according to claim 16, wherein the positioning device comprises a magic male buckle provided on the flat mop head, and a magic pin provided on the mop rod. The magic female buckle, when squeezing water, the flat mop head and the mop rod are bound by the magic male buckle and the magic female buckle; when mopping the floor, the magic male buckle is separated from the magic female buckle; 或者,所述的定位装置包括设于所述平板拖把头上的魔术母扣、设于所述拖把杆上的魔术公扣,清洗和挤水时所述的平板拖把头与拖把杆之间通过所述的魔术公扣和魔术母扣粘合绑定;拖地时所述的魔术公扣与魔术母扣脱离。Or, the positioning device includes a magic female buckle set on the flat mop head, a magic male buckle set on the mop rod, and the flat mop head and the mop rod pass between the flat mop head and the mop rod when cleaning and squeezing water. The magic male buckle and the magic female buckle are bonded and bound; the magic male buckle and the magic female buckle are disengaged when mopping the floor. 21.如权利要求16所述的具有刮板的挤压平板拖把清洁工具,其特征在于:所述的拖把杆上设有插槽,所述的平板拖把头上设有插筋,插筋的端部设有卡口,插槽的端部设有卡点,挤水时所述的平板拖把头转动后插筋进入插槽中,卡点卡入卡口中;21. The extruded flat mop cleaning tool with a scraper according to claim 16, wherein the mop rod is provided with a slot, the flat mop head is provided with a rib, and the rib is provided with a slot. The end is provided with a bayonet, and the end of the slot is provided with a catch point. When squeezing the water, the flat mop head is rotated and inserted into the slot, and the catch point is stuck into the bayonet; 或者所述的拖把杆上设有插点,所述的平板拖把头上设有插槽,挤水时所述的平板拖把头转动后卡点卡入卡口中。Alternatively, the mop rod is provided with an insertion point, and the flat mop head is provided with a slot, and the flat mop head is rotated and locked into the bayonet when water is squeezed. 22.具有刮板的挤压平板拖把清洁工具,包括拖把桶和平板拖把,所述的平板拖把包括拖把杆和活动连接在所述拖把杆上的硬质的平板拖把头,所述的平板拖把头上设有擦拭物;22. A squeezing flat mop cleaning tool with a scraper, including a mop bucket and a flat mop, the flat mop comprising a mop bar and a hard flat mop head movably connected to the mop bar, the flat mop Wipes are provided on the head; 所述的拖把桶上设有挤压架,所述的挤压架上开设有开口,所述开口一侧的挤压架上设有刮板,所述刮板与开口的另一侧之间形成挤压口,对擦拭物进行挤干时所述的平板拖把头转动至挤水状态,平板拖把插入所述的挤压口中往复运动从而通过所述的刮板对擦拭物进行挤压挤干;The mop bucket is provided with a squeeze frame, the squeeze frame is provided with an opening, and the squeeze frame on one side of the opening is provided with a scraper, between the scraper and the other side of the opening A squeeze port is formed, the flat mop head rotates to a squeezing state when the wipe is squeezed dry, and the flat mop is inserted into the squeeze port to reciprocate so as to squeeze and squeeze the wipe dry through the scraper ; 其特征在于:所述的挤压架与所述的刮板滑动连接,平板拖把头下压时擦拭物带动所述的刮板斜向下滑动至窄位,从而使挤压口较小;平板拖把头上拉时擦拭物带动所述的刮板斜向上转动,从而使所述的挤压口变大;It is characterized in that: the extrusion frame is slidably connected with the scraper, and when the mop head of the flat plate is pressed down, the wiper drives the scraper to slide down obliquely to a narrow position, so that the extrusion opening is smaller; When the mop head is pulled up, the wiper drives the scraper to rotate obliquely upward, so that the squeeze opening becomes larger; 所述刮板的外缘的厚度为0.1cm-5cm。The thickness of the outer edge of the scraper is 0.1cm-5cm. 23.如权利要求22所述的具有刮板的挤压平板拖把清洁工具,其特征在于:所述的挤压架上设有斜滑槽,所述刮板的两端设有滑块,所述的滑块位于所述的斜滑槽中;23. The extruded flat mop cleaning tool with a scraper according to claim 22, wherein the extrusion frame is provided with an inclined chute, and the two ends of the scraper are provided with sliding blocks, so that the The slider is located in the inclined chute; 或者所述的挤压架上设有滑块,所述刮板的两端设有斜滑槽,所述的滑块位于所述的斜滑槽中。Or the extrusion frame is provided with a sliding block, the two ends of the scraper are provided with inclined chute, and the sliding block is located in the inclined chute. 24.如权利要求22所述的具有刮板的挤压平板拖把清洁工具,其特征在于:所述刮板的长度为7cm-20cm。24. The extruded flat mop cleaning tool with a scraper according to claim 22, wherein the length of the scraper is 7cm-20cm. 25.如权利要求22所述的具有刮板的挤压平板拖把清洁工具,其特征在于:所述刮板的长度大于所述擦拭物的宽度。25. The extruded flat mop cleaning tool with scraper of claim 22, wherein the scraper has a length greater than the width of the wiper.
CN201922130622.7U 2018-04-17 2018-04-17 Squeeze flat mop cleaning tool with scraper Expired - Fee Related CN212996301U (en)

Priority Applications (1)

Application Number Priority Date Filing Date Title
CN201922130622.7U CN212996301U (en) 2018-04-17 2018-04-17 Squeeze flat mop cleaning tool with scraper

Applications Claiming Priority (2)

Application Number Priority Date Filing Date Title
CN201922130622.7U CN212996301U (en) 2018-04-17 2018-04-17 Squeeze flat mop cleaning tool with scraper
CN201820541294.2U CN209863697U (en) 2018-04-17 2018-04-17 Squeezing flat mop cleaning tool with scraper

Related Parent Applications (1)

Application Number Title Priority Date Filing Date
CN201820541294.2U Division CN209863697U (en) 2018-04-17 2018-04-17 Squeezing flat mop cleaning tool with scraper

Publications (1)

Publication Number Publication Date
CN212996301U true CN212996301U (en) 2021-04-20

Family

ID=68945821

Family Applications (2)

Application Number Title Priority Date Filing Date
CN201922130622.7U Expired - Fee Related CN212996301U (en) 2018-04-17 2018-04-17 Squeeze flat mop cleaning tool with scraper
CN201820541294.2U Expired - Fee Related CN209863697U (en) 2018-04-17 2018-04-17 Squeezing flat mop cleaning tool with scraper

Family Applications After (1)

Application Number Title Priority Date Filing Date
CN201820541294.2U Expired - Fee Related CN209863697U (en) 2018-04-17 2018-04-17 Squeezing flat mop cleaning tool with scraper

Country Status (1)

Country Link
CN (2) CN212996301U (en)

Also Published As

Publication number Publication date
CN209863697U (en) 2019-12-31

Similar Documents

Publication Publication Date Title
CN109820460B (en) Adjustable Squeeze Squeeze Squeeze Flat Mop Cleaning Tool
CN114748002A (en) Head smoothing mechanism of extrusion flat mop
CN212972868U (en) Cleaning tool for squeezing flat mop
CN109770799B (en) How to use a flat mop
CN108742404A (en) Flat mop bucket
CN209863700U (en) Extrusion flat mop cleaning tool with smoothing mechanism
CN212591986U (en) Squeezing flat mop cleaning tool with scraper
CN211749369U (en) A squeezing flat mopping cleaning tool with a scraper
CN209966300U (en) Extrusion flat mop cleaning tool with adjustable extrusion opening
CN209996223U (en) Flat mop cleaning tool with new barrel structure
CN212996301U (en) Squeeze flat mop cleaning tool with scraper
CN108784575B (en) Flat mop water squeezing using method and flat mop cleaning tool thereof
CN212996303U (en) Squeeze Flat Mop Cleaning Tool with Baffle
CN212972866U (en) Squeeze flat mop cleaning tool with new wiper structure
CN211749400U (en) Squeeze Flat Mop Cleaning Tool with Handle
CN212996312U (en) Squeeze Flat Mop Cleaning Tool with Water and Squeeze Zones
CN212996313U (en) A squeezing flat mopping cleaning tool
CN110236460A (en) Extruding with Lu Tou mechanism is flat to drag burnisher
CN108784568B (en) Flat mop water squeezing using method and flat mop cleaning tool thereof
CN209863682U (en) squeeze flat mop
CN110477827A (en) Squeeze flat mop cleaning tool with new wipe structure

Legal Events

Date Code Title Description
GR01 Patent grant
GR01 Patent grant
CF01 Termination of patent right due to non-payment of annual fee

Granted publication date: 20210420

CF01 Termination of patent right due to non-payment of annual fee