CN212994427U - Underwear fabric with good sweat releasing effect - Google Patents

Underwear fabric with good sweat releasing effect Download PDF

Info

Publication number
CN212994427U
CN212994427U CN202021487653.4U CN202021487653U CN212994427U CN 212994427 U CN212994427 U CN 212994427U CN 202021487653 U CN202021487653 U CN 202021487653U CN 212994427 U CN212994427 U CN 212994427U
Authority
CN
China
Prior art keywords
layer
cotton yarn
heating
underwear fabric
antibacterial
Prior art date
Legal status (The legal status is an assumption and is not a legal conclusion. Google has not performed a legal analysis and makes no representation as to the accuracy of the status listed.)
Expired - Fee Related
Application number
CN202021487653.4U
Other languages
Chinese (zh)
Inventor
黄荣波
Current Assignee (The listed assignees may be inaccurate. Google has not performed a legal analysis and makes no representation or warranty as to the accuracy of the list.)
Jinjiang Huanghe Garment Co Ltd
Original Assignee
Jinjiang Huanghe Garment Co Ltd
Priority date (The priority date is an assumption and is not a legal conclusion. Google has not performed a legal analysis and makes no representation as to the accuracy of the date listed.)
Filing date
Publication date
Application filed by Jinjiang Huanghe Garment Co Ltd filed Critical Jinjiang Huanghe Garment Co Ltd
Priority to CN202021487653.4U priority Critical patent/CN212994427U/en
Application granted granted Critical
Publication of CN212994427U publication Critical patent/CN212994427U/en
Expired - Fee Related legal-status Critical Current
Anticipated expiration legal-status Critical

Links

Images

Landscapes

  • Undergarments, Swaddling Clothes, Handkerchiefs Or Underwear Materials (AREA)

Abstract

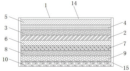
本实用新型公开了一种排汗效果好的内衣面料,包括主体,所述主体包括中间基布层,所述中间基布层的顶部连接有棉纱层一,所述棉纱层一的顶部连接有抗皱层,所述抗皱层的顶部连接有表层,所述中间基布层的底部连接有发热层,所述发热层的底部连接有电磁屏蔽层,所述电磁屏蔽层的底部连接有棉纱层二,所述棉纱层二的底部连接有抗菌层,所述抗菌层的底部连接有亲肤层,所述发热层上均匀开设有若干通孔,所述发热层的底部均匀开设有若干透气孔一,且所述透气孔一的底端贯穿于所述电磁屏蔽层与所述棉纱层二以及抗菌层并延伸至所述亲肤层底部,所述发热层的顶部均匀开设有若干透气孔二。

Figure 202021487653

The utility model discloses an underwear fabric with good perspiration effect, which comprises a main body, the main body comprises an intermediate base fabric layer, a first cotton yarn layer is connected to the top of the intermediate base fabric layer, and a top of the first cotton yarn layer is connected to Anti-wrinkle layer, the top of the anti-wrinkle layer is connected with a surface layer, the bottom of the intermediate base fabric layer is connected with a heating layer, the bottom of the heating layer is connected with an electromagnetic shielding layer, and the bottom of the electromagnetic shielding layer is connected with a cotton yarn layer II The bottom of the second cotton yarn layer is connected with an antibacterial layer, the bottom of the antibacterial layer is connected with a skin-friendly layer, a number of through holes are evenly opened on the heating layer, and a number of ventilation holes are evenly opened at the bottom of the heating layer. , and the bottom end of the ventilation hole 1 penetrates through the electromagnetic shielding layer, the cotton yarn layer 2 and the antibacterial layer and extends to the bottom of the skin-friendly layer, and a plurality of ventilation holes 2 are evenly opened on the top of the heating layer.

Figure 202021487653

Description

Underwear fabric with good sweat releasing effect
Technical Field
The utility model belongs to the technical field of underwear surface fabric, particularly, relate to an underwear surface fabric that perspire is effectual.
Background
The underwear is clothing worn close to the body, usually directly contacts the skin, is one of essential clothes of modern people, and has the functions of absorbing sweat, correcting the shape, supporting the body and keeping warm; the existing underwear fabric cannot achieve a good sweat discharging effect, so that the comfort of people in wearing is poor, and the use requirements of people cannot be better met.
In conclusion, how to enable the underwear fabric to achieve a good sweat discharging effect is a technical problem which needs to be solved urgently at present.
SUMMERY OF THE UTILITY MODEL
The technical task of the utility model is to above not enough, provide an underwear surface fabric that perspire effectually, solve how to make the underwear surface fabric reach the problem of good perspire effect.
The technical scheme of the utility model is realized like this:
an underwear fabric with good perspiration effect comprises a main body, wherein the main body comprises a middle base cloth layer, the top of the middle base cloth layer is connected with a first cotton yarn layer, the top of the first cotton yarn layer is connected with a crease resistant layer, the top of the crease resistant layer is connected with a surface layer, the bottom of the middle base cloth layer is connected with a heating layer, the bottom of the heating layer is connected with an electromagnetic shielding layer, the bottom of the electromagnetic shielding layer is connected with a second cotton yarn layer, the bottom of the second cotton yarn layer is connected with an antibacterial layer, the bottom of the antibacterial layer is connected with a skin-friendly layer, a plurality of through holes are uniformly formed in the heating layer, a plurality of first air holes are uniformly formed in the bottom of the heating layer, the bottom ends of the first air holes penetrate through the electromagnetic shielding layer, the second cotton yarn layer and the antibacterial layer and extend to the bottom of the skin-friendly layer, a plurality of, and the top ends of the air holes II penetrate through the middle base cloth layer, the cotton yarn layer I and the anti-wrinkle layer and extend to the top of the surface layer.
Preferably, the anti-wrinkle layer is formed by processing cotton gauze through liquid ammonia.
Preferably, the heat generating layer is made of a thermal fabric material.
Preferably, the top of the surface layer is coated with an ultraviolet resistant coating.
Preferably, the antibacterial layer is made of bamboo charcoal fiber materials.
Preferably, the skin-friendly layer is made of a wool fiber material.
Preferably, both sides of the main body are connected with edge ironing protective layers.
Compared with the prior art, the utility model discloses an advantage lies in with positive effect:
1. through the interaction of the heating layer, the air holes I and the air holes II, the main body can achieve good perspiration performance, so that the underwear fabric can achieve a good perspiration effect, and the use requirements of people can be met better.
2. Through the utility model discloses fine solution how can make the underwear surface fabric reach the problem of good perspire effect for the underwear surface fabric can reach good perspire effect, thereby makes people when the dress, can reach good travelling comfort, and then be convenient for can be better satisfy people's user demand.
Drawings
In order to more clearly illustrate the embodiments of the present invention or the technical solutions in the prior art, the drawings required to be used in the embodiments will be briefly described below, and it is obvious that the drawings in the following description are only some embodiments of the present invention, and for those skilled in the art, other drawings can be obtained according to these drawings without creative efforts.
Fig. 1 is a schematic structural diagram according to an embodiment of the present invention;
fig. 2 is a schematic view of a first air hole and a second air hole distribution structure according to an embodiment of the present invention.
In the figure:
1. a main body; 2. a middle base cloth layer; 3. a cotton yarn layer I; 4. an anti-wrinkle layer; 5. a surface layer; 6. a heat generating layer; 7. an electromagnetic shielding layer; 8. a second cotton yarn layer; 9. an antimicrobial layer; 10. a skin-friendly layer; 11. a through hole; 12. a first air hole; 13. a second air hole; 14. an anti-ultraviolet coating; 15. scald limit protective layer.
Detailed Description
In order to make the above objects, features and advantages of the present invention more clearly understood, the present invention will be further described with reference to the accompanying drawings and examples. It should be noted that the embodiments and features of the embodiments of the present application may be combined with each other without conflict.
The invention will be further explained with reference to the drawings and the specific embodiments.
Embodiment one, as shown in fig. 1-2, according to the utility model discloses an underwear surface fabric that perspire is effectual, including main part 1, main part 1 includes middle base cloth layer 2, the top of middle base cloth layer 2 is connected with cotton yarn layer one 3, the top of cotton yarn layer one 3 is connected with anti wrinkle layer 4, the top of anti wrinkle layer 4 is connected with top layer 5, the bottom of middle base cloth layer 2 is connected with layer 6 that generates heat, the bottom of layer 6 that generates heat is connected with electromagnetic shield layer 7, the bottom of electromagnetic shield layer 7 is connected with cotton yarn layer two 8, the bottom of cotton yarn layer two 8 is connected with antibiotic layer 9, the bottom of antibiotic layer 9 is connected with skin-friendly layer 10, a plurality of through-holes 11 have evenly been seted up on layer 6 generates heat, a plurality of bleeder vents one 12 have evenly been seted up to the bottom of bleeder vent one 12 run through in electromagnetic shield layer 7 with cotton yarn layer two 8 and antibiotic layer 9 and extend to it is hydrophilic The bottom of the skin layer 10 is provided with a plurality of vent holes two 13 uniformly arranged on the top of the heating layer 6, the top ends of the vent holes two 13 penetrate through the middle base cloth layer 2, the cotton yarn layer one 3 and the anti-wrinkle layer 4 and extend to the top of the surface layer 5, and the main body 1 can achieve good perspiration performance through the interaction of the heating layer 6, the vent holes one 12 and the vent holes two 13, so that the underwear fabric can achieve a good perspiration effect, and the use requirements of people can be met better.
In the second embodiment, as shown in fig. 1 and 2, the anti-wrinkle layer 4 is formed by processing cotton gauze through liquid ammonia; can reach better wrinkle resistance to be convenient for can be better satisfy people's user demand.
In the third embodiment, as shown in fig. 1 and 2, the heat generating layer 6 is made of a thermal inductance fiber fabric material; can be better generate heat to be convenient for can reach better perspire nature, and then be convenient for can be better satisfy people's user demand.
In the fourth embodiment, as shown in fig. 1, the top of the surface layer 5 is coated with an ultraviolet resistant coating 14; better ultraviolet radiation resistance can be achieved, so that the fabric can be protected conveniently, and the use requirements of people can be better met conveniently.
In the fifth embodiment, as shown in fig. 1 and 2, the antibacterial layer 9 is made of bamboo charcoal fiber material; can achieve better antibacterial property, thereby being convenient for better meeting the use requirements of people.
Sixth embodiment, as shown in fig. 1 and 2, the skin-friendly layer 10 is made of a wool fiber material; can reach better skin-friendly nature to be convenient for can reach better comfort, and then be convenient for can be better satisfy people's user demand.
Seventhly, as shown in fig. 1, both side edges of the main body 1 are connected with edge ironing protective layers 15; the side of the fabric can be better protected, so that the use requirements of people can be better met.
For the convenience of understanding the technical solution of the present invention, the following detailed description is made on the working principle or the operation mode of the present invention in the practical process.
In practical application, the main body 1 can achieve good wrinkle resistance through the wrinkle resistant layer 4, the main body 1 can achieve good antibacterial property through the antibacterial layer 9 and the electromagnetic shielding layer 7, and can achieve good antistatic effect, and meanwhile, the main body 1 can achieve good perspiration through interaction of the heating layer 6, the vent holes I12 and the vent holes II 13, so that the underwear fabric can achieve good perspiration effect, and further the use requirements of people can be better met; generally speaking, the underwear fabric can achieve a good sweat discharging effect, so that people can achieve good comfort when wearing the underwear fabric, and the use requirements of people can be better met.
Through the above detailed description, the person skilled in the art can easily realize the present invention. It should be understood, however, that the intention is not to limit the invention to the particular embodiments described. On the basis of the disclosed embodiments, a person skilled in the art can combine different technical features at will, thereby implementing different technical solutions.

Claims (6)

1. The underwear fabric with the good perspiration effect is characterized by comprising a main body (1), wherein the main body (1) comprises a middle base cloth layer (2), the top of the middle base cloth layer (2) is connected with a cotton yarn layer I (3), the top of the cotton yarn layer I (3) is connected with an anti-wrinkle layer (4), the top of the anti-wrinkle layer (4) is connected with a surface layer (5), the bottom of the middle base cloth layer (2) is connected with a heating layer (6), the bottom of the heating layer (6) is connected with an electromagnetic shielding layer (7), the bottom of the electromagnetic shielding layer (7) is connected with a cotton yarn layer II (8), the bottom of the cotton yarn layer II (8) is connected with an antibacterial layer (9), the bottom of the antibacterial layer (9) is connected with a skin-friendly layer (10), a plurality of through holes (11) are uniformly formed in the heating layer (6), a plurality of vent holes I (12) are uniformly formed in the bottom of the heating layer, and the bottom end of the first air hole (12) penetrates through the electromagnetic shielding layer (7), the second cotton yarn layer (8) and the antibacterial layer (9) and extends to the bottom of the skin-friendly layer (10), the top of the heating layer (6) is uniformly provided with a plurality of second air holes (13), and the top ends of the second air holes (13) penetrate through the middle base cloth layer (2), the first cotton yarn layer (3) and the anti-wrinkle layer (4) and extend to the top of the surface layer (5).
2. The underwear fabric with good perspiration effect according to claim 1, wherein the heat-generating layer (6) is made of a thermal-sensitive fiber fabric material.
3. The underwear fabric with good perspiration effect according to claim 1, wherein the top of the surface layer (5) is coated with an ultraviolet-resistant coating (14).
4. The underwear fabric with good perspiration effect according to claim 1, wherein the antibacterial layer (9) is made of bamboo charcoal fiber material.
5. The underwear fabric with good perspiration effect according to claim 1, wherein the skin-friendly layer (10) is made of a wool fiber material.
6. The underwear fabric with good perspiration effect according to claim 1, wherein the two side edges of the main body (1) are connected with edge-ironing protective layers (15).
CN202021487653.4U 2020-07-24 2020-07-24 Underwear fabric with good sweat releasing effect Expired - Fee Related CN212994427U (en)

Priority Applications (1)

Application Number Priority Date Filing Date Title
CN202021487653.4U CN212994427U (en) 2020-07-24 2020-07-24 Underwear fabric with good sweat releasing effect

Applications Claiming Priority (1)

Application Number Priority Date Filing Date Title
CN202021487653.4U CN212994427U (en) 2020-07-24 2020-07-24 Underwear fabric with good sweat releasing effect

Publications (1)

Publication Number Publication Date
CN212994427U true CN212994427U (en) 2021-04-20

Family

ID=75518764

Family Applications (1)

Application Number Title Priority Date Filing Date
CN202021487653.4U Expired - Fee Related CN212994427U (en) 2020-07-24 2020-07-24 Underwear fabric with good sweat releasing effect

Country Status (1)

Country Link
CN (1) CN212994427U (en)

Similar Documents

Publication Publication Date Title
CN205313770U (en) Far infrared surface fabric
CN212994427U (en) Underwear fabric with good sweat releasing effect
CN209602724U (en) It is a kind of unidirectionally to lead the nice and cool sportswear fabric of sweat
CN205588703U (en) Functional clothing material
CN205382262U (en) Cold -proof surface fabric with memory function
CN209534377U (en) A kind of novel radiation-proof fabric
CN207954900U (en) Antibacterial composite water-spurt non-woven cloth
CN211031495U (en) Antistatic non-woven fabric composite fabric
CN210881174U (en) Sweat-absorbent T-shirt fabric
CN209749832U (en) Color spinning warm thickened red bean velvet underwear
CN207310684U (en) Functional composite fabric
CN207416144U (en) A kind of multi-functional Compound Fabric
CN207345166U (en) A kind of warming brushed fabric of heat generating fiber yarn and clothes
CN211662774U (en) Comfortable sweat-absorbing fabric
CN216507121U (en) Skin-friendly body-shaping heating panty fabric
CN218558151U (en) Clothing with ventilation function
CN215051575U (en) Pure cotton one-way moisture-conducting heating sweat-isolating towel
CN216796528U (en) Moisture-absorbing and warm-keeping woolen sweater
CN212852536U (en) Women's coat convenient to moisture absorption perspire
CN204820485U (en) Complex of protecting against radiation cloth
CN212629894U (en) T-shirt with sweat-absorbing function
CN208216162U (en) A kind of micro velvet fabric
CN217047765U (en) Radiation-proof maternity clothing fabric
CN216068979U (en) Skin-friendly yarn-dyed fabric
CN215189483U (en) Double-deck knurling chamois leather matte material fashion

Legal Events

Date Code Title Description
GR01 Patent grant
GR01 Patent grant
CF01 Termination of patent right due to non-payment of annual fee

Granted publication date: 20210420

CF01 Termination of patent right due to non-payment of annual fee