CN212987248U - Waste gas treatment heat accumulation formula burns burning furnace - Google Patents
Waste gas treatment heat accumulation formula burns burning furnace Download PDFInfo
- Publication number
- CN212987248U CN212987248U CN202021587654.6U CN202021587654U CN212987248U CN 212987248 U CN212987248 U CN 212987248U CN 202021587654 U CN202021587654 U CN 202021587654U CN 212987248 U CN212987248 U CN 212987248U
- Authority
- CN
- China
- Prior art keywords
- pipeline
- furnace body
- heat
- exhaust gas
- gas treating
- Prior art date
- Legal status (The legal status is an assumption and is not a legal conclusion. Google has not performed a legal analysis and makes no representation as to the accuracy of the status listed.)
- Active
Links
- 238000009825 accumulation Methods 0.000 title claims abstract description 6
- 239000002912 waste gas Substances 0.000 title claims description 17
- 238000004140 cleaning Methods 0.000 claims abstract description 19
- 230000009467 reduction Effects 0.000 claims abstract description 8
- 238000009413 insulation Methods 0.000 claims description 19
- 239000007789 gas Substances 0.000 claims description 15
- 238000005338 heat storage Methods 0.000 claims description 8
- 230000001172 regenerating effect Effects 0.000 claims description 7
- 239000000428 dust Substances 0.000 abstract description 7
- 230000006698 induction Effects 0.000 abstract 1
- 239000003638 chemical reducing agent Substances 0.000 description 7
- MWUXSHHQAYIFBG-UHFFFAOYSA-N nitrogen oxide Inorganic materials O=[N] MWUXSHHQAYIFBG-UHFFFAOYSA-N 0.000 description 5
- 238000007790 scraping Methods 0.000 description 5
- 238000010408 sweeping Methods 0.000 description 4
- UHOVQNZJYSORNB-UHFFFAOYSA-N Benzene Chemical compound C1=CC=CC=C1 UHOVQNZJYSORNB-UHFFFAOYSA-N 0.000 description 3
- 230000009471 action Effects 0.000 description 3
- 230000000694 effects Effects 0.000 description 3
- 239000003344 environmental pollutant Substances 0.000 description 3
- 231100000719 pollutant Toxicity 0.000 description 3
- 241001417527 Pempheridae Species 0.000 description 2
- RAHZWNYVWXNFOC-UHFFFAOYSA-N Sulphur dioxide Chemical compound O=S=O RAHZWNYVWXNFOC-UHFFFAOYSA-N 0.000 description 2
- 230000007547 defect Effects 0.000 description 2
- 229930195733 hydrocarbon Natural products 0.000 description 2
- 150000002430 hydrocarbons Chemical class 0.000 description 2
- 239000012535 impurity Substances 0.000 description 2
- 238000000034 method Methods 0.000 description 2
- 230000008569 process Effects 0.000 description 2
- 230000000630 rising effect Effects 0.000 description 2
- 239000000126 substance Substances 0.000 description 2
- ISWSIDIOOBJBQZ-UHFFFAOYSA-N Phenol Chemical compound OC1=CC=CC=C1 ISWSIDIOOBJBQZ-UHFFFAOYSA-N 0.000 description 1
- 229910000831 Steel Inorganic materials 0.000 description 1
- 238000010521 absorption reaction Methods 0.000 description 1
- 230000008901 benefit Effects 0.000 description 1
- 238000004939 coking Methods 0.000 description 1
- 238000002485 combustion reaction Methods 0.000 description 1
- 239000010791 domestic waste Substances 0.000 description 1
- 239000000446 fuel Substances 0.000 description 1
- 230000036541 health Effects 0.000 description 1
- 229910001385 heavy metal Inorganic materials 0.000 description 1
- 238000009776 industrial production Methods 0.000 description 1
- 238000004519 manufacturing process Methods 0.000 description 1
- 230000004048 modification Effects 0.000 description 1
- 238000012986 modification Methods 0.000 description 1
- 238000000746 purification Methods 0.000 description 1
- 239000000941 radioactive substance Substances 0.000 description 1
- 239000002994 raw material Substances 0.000 description 1
- 150000003839 salts Chemical class 0.000 description 1
- 239000002910 solid waste Substances 0.000 description 1
- 239000010959 steel Substances 0.000 description 1
- 231100000331 toxic Toxicity 0.000 description 1
- 230000002588 toxic effect Effects 0.000 description 1
- 231100000419 toxicity Toxicity 0.000 description 1
- 230000001988 toxicity Effects 0.000 description 1
Images
Abstract
The utility model discloses an exhaust-gas treatment heat accumulation formula burns burning furnace, concretely relates to burns burning furnace technical field, the induction cooker comprises a cooker bod, a side surface embedding of furnace body is provided with some firearm, the below of some firearm is provided with the air exit, the inside fixed mounting of furnace body has the heat accumulator, one side of furnace body is provided with the pipeline, pipeline one end embedding is provided with the cleaning member, the chimney is installed to the other end of pipeline, the fixed air-blower that is provided with on the pipeline. The utility model discloses in through having set up the cleaning piece, control driving motor work, through the deceleration of reduction gear, the dwang drives the support rotation to make scraper blade and brush clear away the pipeline inner wall, remaining dust on the effectual inner wall that removes has reduced the working strength that the staff cleared up, possess higher practicality.
Description
Technical Field
The utility model relates to an burn burning furnace technical field, more specifically say, the utility model relates to an exhaust-gas treatment heat accumulation formula burns burning furnace.
Background
The waste gas refers to toxic and harmful gas discharged by human in the production and living process. Especially chemical plants, steel plants, pharmaceutical plants, coking plants, oil refineries and the like, and the human life brings about the generation of domestic waste gas, the discharged waste gas has large smell, seriously pollutes the environment and affects the human health. The exhaust gas contains many kinds of pollutants, and the physical and chemical properties of the pollutants are very complex and the toxicity of the pollutants is different. The exhaust gas discharged from fuel combustion contains sulfur dioxide, nitrogen oxides (NOx), hydrocarbons, etc.; various harmful gases and solid wastes containing various components such as heavy metals, salts and radioactive substances are discharged due to different raw materials and processes used in industrial production; the exhaust gas discharged from automobiles contains hydrocarbons such as lead, benzene and phenol, and is generally treated by an exhaust gas treatment regenerative incinerator.
However, when the waste gas purification device is actually used, still more defects exist, waste gas flows in the pipeline, and a large amount of dust impurities are contained in the waste gas and accumulated on the inner wall of the pipeline, so that workers are difficult to clean, and the workload is increased.
SUMMERY OF THE UTILITY MODEL
In order to overcome prior art's above-mentioned defect, the embodiment of the utility model provides an exhaust-gas treatment heat accumulation formula burns burning furnace, through having set up the cleaning member, control driving motor work, through the deceleration of reduction gear, the dwang drives the support rotation to make scraper blade and brush clear away the pipeline inner wall, remaining dust on the effectual inner wall of having removed has reduced the working strength that the staff cleared up, possesses higher practicality.
In order to achieve the above object, the utility model provides a following technical scheme: a waste gas treatment heat accumulating type incinerator comprises a furnace body, an igniter, an air outlet, a heat accumulator, a pipeline, an air blower, a chimney, a cleaning piece, a driving motor, a speed reducer, a rotating rod, a support, a scraping plate, a sweeping brush, a heat insulation piece, a top plate, a telescopic fence, a heat insulation pad and a fresh air pipeline, wherein the igniter is embedded in the surface of one side of the furnace body, the air outlet is formed below the igniter, the heat accumulator is fixedly installed in the furnace body, the pipeline is arranged on one side of the furnace body, the cleaning piece is embedded in one end of the pipeline, the chimney is installed at the other end of the pipeline, the air blower is fixedly arranged on the pipeline, the heat insulation piece is arranged outside the furnace body, and the fresh air pipeline is;
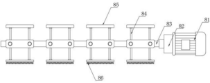
the cleaning piece is including the driving motor with pipeline tip fixed connection, driving motor's the fixed reduction gear that is provided with of drive end, the side surface of reduction gear is provided with the dwang, the outside fixed mounting of dwang has the multiunit support, and wherein the tip fixed mounting of a set of dwang has the scraper blade, and wherein the tip fixed of another a set of dwang is provided with the brush cleaner.
In a preferred embodiment, the side surface of the pipeline is provided with a plurality of groups of branch pipes, the branch pipes on the pipeline are connected with the side surface of the furnace body, and the branch pipes are provided with opening and closing valves.
In a preferred embodiment, the length of the bracket is slightly smaller than the radius of the pipeline, and the bracket and the rotating rod are fixedly connected together.
In a preferred embodiment, a plurality of groups of heat storage chambers are arranged inside the furnace body, and a group of heat storage bodies are matched in each group of heat storage chambers.
In a preferred embodiment, the heat insulation member includes a top plate, a telescopic fence is fixedly disposed around the top plate, and a heat insulation pad is disposed inside the telescopic fence.
In a preferred embodiment, the telescopic fence and the top plate are fixedly connected together, and the telescopic fence is designed to be of a flexible structure.
In a preferred embodiment, the upper part of the chimney is provided with a filter, and silt is adopted in the filter.
The utility model discloses a technological effect and advantage:
1. the cleaning piece is arranged in the utility model, the driving motor is controlled to work, and the rotating rod drives the bracket to rotate under the deceleration action of the reducer, so that the scraper blade and the sweeper can clean the inner wall of the pipeline, residual dust on the inner wall is effectively removed, the working intensity of cleaning by workers is reduced, and the cleaning device has higher practicability;
2. the utility model discloses in through having set up the heat insulating part, flexible rail and roof fixed connection are in the same place, according to the actual big or small situation of furnace body, outwards pull flexible rail for flexible rail encloses in the periphery of furnace body, carries out the heat by inside heat insulating mattress and isolates whole device, and the heat that produces when can avoiding waste gas to burn leaks and causes the rising of ambient temperature, possesses certain guard action, and can be applicable to the furnace body of different specification models.
Drawings
Fig. 1 is a schematic view of the overall structure of the present invention.
Fig. 2 is a schematic structural view of the cleaning member of the present invention.
Fig. 3 is a bottom view of the furnace body and the heat insulation member of the present invention.
The reference signs are: the device comprises a furnace body 1, an igniter 2, an air outlet 3, a heat accumulator 4, a pipeline 5, a blower 6, a chimney 7, a cleaning piece 8, a driving motor 81, a speed reducer 82, a rotating rod 83, a support 84, a scraping plate 85, a sweeping brush 86, a heat insulation piece 9, a top plate 10, a telescopic fence 11, a heat insulation pad 12 and a fresh air pipeline 13.
Detailed Description
The technical solutions in the embodiments of the present invention will be described clearly and completely with reference to the accompanying drawings in the embodiments of the present invention, and it is obvious that the described embodiments are only some embodiments of the present invention, not all embodiments. Based on the embodiments in the present invention, all other embodiments obtained by a person skilled in the art without creative work belong to the protection scope of the present invention.
The waste gas treatment heat accumulating type incinerator as shown in the attached figures 1 and 2 comprises an incinerator body 1, an igniter 2, an air outlet 3, a heat accumulator 4, a pipeline 5, a blower 6, a chimney 7, a cleaning piece 8, a driving motor 81, a speed reducer 82, a rotating rod 83, a support 84, a scraping plate 85, a sweeping brush 86, a heat insulation piece 9, a top plate 10, a telescopic fence 11, a heat insulation pad 12 and a fresh air pipeline 13, wherein the igniter 2 is embedded in the surface of one side of the incinerator body 1, the air outlet 3 is arranged below the igniter 2, the heat accumulator 4 is fixedly arranged inside the incinerator body 1, the pipeline 5 is arranged on one side of the incinerator body 1, the cleaning piece 8 is embedded in one end of the pipeline 5, the chimney 7 is arranged at the other end of the pipeline 5, the blower 6 is fixedly arranged on the pipeline 5, the heat insulation piece 9 is arranged outside the incinerator body 1, the fresh air pipeline 13 is fixedly connected above, wherein the fresh air pipeline 13 is provided with a plurality of groups of branches;
the cleaning part 8 comprises a driving motor 81 fixedly connected with the end part of the pipeline 5, a speed reducer 82 is fixedly arranged at the driving end of the driving motor 81, a rotating rod 83 is arranged on the side surface of the speed reducer 82, a plurality of groups of brackets 84 are fixedly arranged outside the rotating rod 83, a scraping plate 85 is fixedly arranged at the end part of one group of rotating rod 83, and a sweeping brush 86 is fixedly arranged at the end part of the other group of rotating rod 83.
Furthermore, a plurality of groups of branch pipes are arranged on the side surface of the pipeline 5, the branch pipes on the pipeline 5 are connected with the side surface of the furnace body 1, and opening and closing valves are arranged on the branch pipes.
Further, the length of the bracket 84 is slightly smaller than the radius of the pipeline 5, and the bracket 84 and the rotating rod 83 are fixedly connected together.
Furthermore, a plurality of groups of heat storage chambers are arranged in the furnace body 1, and a group of heat storage bodies 4 are matched in each group of heat storage chambers.
Further, the upper portion of chimney 7 is provided with the filter, the inside silt that adopts of filter.
The implementation mode is specifically as follows: when implementing, waste gas in the chimney 7 is through the absorption of air-blower 6, get into in the furnace body 1 by pipeline 5, the outside air then gets into in the furnace body 1 by fresh air pipeline 13, control some firearm 2 work, waste gas is at the inside burning of furnace body 1, the heat is collected by heat accumulator 4, the waste gas that produces after the burning is then along 3 outside discharges of air exit, after working a period, a large amount of dust impurity can be piled up to pipeline 5 inner wall, control driving motor 81 work, through the deceleration of reduction gear 82, dwang 83 drives support 84 and rotates, thereby make scraper blade 85 and brush 86 clear away pipeline 5 inner wall, remaining dust on the effectual inner wall of having removed, the working strength that the staff cleared up has been reduced, possess higher practicality.
The waste gas treatment heat accumulating type incinerator as shown in the attached fig. 1 and 3 further comprises a heat insulation piece 9, wherein the heat insulation piece 9 comprises a top plate 10, a telescopic fence 11 is fixedly arranged on the periphery of the top plate 10, and a heat insulation pad 12 is arranged on the inner side of the telescopic fence 11.
Further, the telescopic fence 11 and the top plate 10 are fixedly connected together, and the telescopic fence 11 is designed to be of an elastic structure.
The implementation mode is specifically as follows: when implementing, flexible rail 11 and roof 10 fixed connection are in the same place, according to the actual size situation of furnace body 1, outwards pulls flexible rail 11 for flexible rail 11 encloses in furnace body 1's periphery, carries out the heat by inside heat insulating mattress 12 and completely cuts off to whole device, and the heat that produces when can avoiding waste gas to burn leaks and causes the rising of ambient temperature, possesses certain guard action, and can be applicable to the furnace body 1 of different specification models.
The utility model discloses the theory of operation:
referring to the attached drawings 1 and 2 of the specification, by arranging the cleaning piece 8 and controlling the driving motor 81 to work, and through the speed reduction effect of the speed reducer 82, the rotating rod 83 drives the bracket 84 to rotate, so that the scraping plate 85 and the sweeper 86 clean the inner wall of the pipeline 5, residual dust on the inner wall is effectively removed, the cleaning work intensity of workers is reduced, and the cleaning machine has high practicability;
referring to the attached drawings 1 and 3 of the specification, by arranging the heat insulation piece 9, the telescopic fence 11 is fixedly connected with the top plate 10, the telescopic fence 11 is pulled outwards according to the actual size of the furnace body 1, so that the telescopic fence 11 is surrounded on the periphery of the furnace body 1, the whole device is isolated thermally by the internal heat insulation pad 12, the increase of the ambient temperature caused by the leakage of heat generated during waste gas incineration can be avoided, a certain protection effect is achieved, and the furnace body 1 can be suitable for furnace bodies 1 of different specifications and models.
And finally: the above description is only for the preferred embodiment of the present invention and should not be taken as limiting the invention, and any modifications, equivalent replacements, improvements, etc. made within the spirit and principle of the present invention should be included in the protection scope of the present invention.
Claims (7)
1. The utility model provides a waste gas treatment heat accumulation formula burns burning furnace, includes furnace body (1), its characterized in that: an igniter (2) is embedded into the surface of one side of the furnace body (1), an air outlet (3) is arranged below the igniter (2), a heat accumulator (4) is fixedly installed inside the furnace body (1), a pipeline (5) is arranged on one side of the furnace body (1), a cleaning piece (8) is embedded into one end of the pipeline (5), a chimney (7) is installed at the other end of the pipeline (5), an air blower (6) is fixedly arranged on the pipeline (5), a heat insulation piece (9) is arranged outside the furnace body (1), and a fresh air pipeline (13) is fixedly connected above the pipeline (5);
cleaning member (8) including with pipeline (5) tip fixed connection's driving motor (81), the fixed reduction gear (82) that is provided with of drive motor's (81) drive end, the side surface of reduction gear (82) is provided with dwang (83), the outside fixed mounting of dwang (83) has multiunit support (84), and wherein the tip fixed mounting of a set of dwang (83) has scraper blade (85), and wherein the tip fixed of another set of dwang (83) is provided with brush (86).
2. An exhaust gas treating regenerative incinerator according to claim 1 wherein: the side surface of the pipeline (5) is provided with a plurality of groups of branch pipes, the branch pipes on the pipeline (5) are connected with the side surface of the furnace body (1), and the branch pipes are provided with opening and closing valves.
3. An exhaust gas treating regenerative incinerator according to claim 1 wherein: the length of the support (84) is slightly smaller than the radius of the pipeline (5), and the support (84) is fixedly connected with the rotating rod (83).
4. An exhaust gas treating regenerative incinerator according to claim 1 wherein: the furnace body (1) is provided with a plurality of groups of heat storage chambers in the interior, and a group of heat accumulators (4) are matched in each group of heat storage chambers.
5. An exhaust gas treating regenerative incinerator according to claim 1 wherein: the heat insulation piece (9) comprises a top plate (10), telescopic fences (11) are fixedly arranged on the periphery of the top plate (10), and heat insulation pads (12) are arranged on the inner sides of the telescopic fences (11).
6. An exhaust gas treating regenerative incinerator according to claim 5 wherein: the telescopic fence (11) is fixedly connected with the top plate (10), and the telescopic fence (11) is designed to be of an elastic structure.
7. An exhaust gas treating regenerative incinerator according to claim 1 wherein: the upper portion of chimney (7) is provided with the filter, the inside silt that adopts of filter.
Priority Applications (1)
| Application Number | Priority Date | Filing Date | Title |
|---|---|---|---|
| CN202021587654.6U CN212987248U (en) | 2020-08-04 | 2020-08-04 | Waste gas treatment heat accumulation formula burns burning furnace |
Applications Claiming Priority (1)
| Application Number | Priority Date | Filing Date | Title |
|---|---|---|---|
| CN202021587654.6U CN212987248U (en) | 2020-08-04 | 2020-08-04 | Waste gas treatment heat accumulation formula burns burning furnace |
Publications (1)
| Publication Number | Publication Date |
|---|---|
| CN212987248U true CN212987248U (en) | 2021-04-16 |
Family
ID=75431095
Family Applications (1)
| Application Number | Title | Priority Date | Filing Date |
|---|---|---|---|
| CN202021587654.6U Active CN212987248U (en) | 2020-08-04 | 2020-08-04 | Waste gas treatment heat accumulation formula burns burning furnace |
Country Status (1)
| Country | Link |
|---|---|
| CN (1) | CN212987248U (en) |
Cited By (2)
| Publication number | Priority date | Publication date | Assignee | Title |
|---|---|---|---|---|
| CN113739171A (en) * | 2021-09-23 | 2021-12-03 | 苏州瑞弗逊环保科技有限公司 | Heat accumulating type incinerator for VOCs treatment |
| CN115307160A (en) * | 2022-08-05 | 2022-11-08 | 江苏澄扬作物科技有限公司 | Cleaning method and device for RTO heat accumulating type waste gas oxidation furnace |
-
2020
- 2020-08-04 CN CN202021587654.6U patent/CN212987248U/en active Active
Cited By (3)
| Publication number | Priority date | Publication date | Assignee | Title |
|---|---|---|---|---|
| CN113739171A (en) * | 2021-09-23 | 2021-12-03 | 苏州瑞弗逊环保科技有限公司 | Heat accumulating type incinerator for VOCs treatment |
| CN115307160A (en) * | 2022-08-05 | 2022-11-08 | 江苏澄扬作物科技有限公司 | Cleaning method and device for RTO heat accumulating type waste gas oxidation furnace |
| CN115307160B (en) * | 2022-08-05 | 2025-07-11 | 江苏澄扬作物科技有限公司 | A cleaning method and device for RTO regenerative exhaust gas oxidation furnace |
Similar Documents
| Publication | Publication Date | Title |
|---|---|---|
| CN207324394U (en) | A kind of Environmental-protecting dust-removing equipment | |
| CN212987248U (en) | Waste gas treatment heat accumulation formula burns burning furnace | |
| CN101138694A (en) | Complete environment protection fume purifying machine | |
| CN213983577U (en) | Waste incinerator with flue gas recovery mechanism | |
| CN110617489A (en) | Medical waste incineration treatment device | |
| CN107631305A (en) | A kind of tasteless incinerator of clinical waste | |
| CN109084308B (en) | Green intelligent environment-friendly medical waste incinerator | |
| CN110454799B (en) | A waste incineration device that can reduce dust | |
| CN221035753U (en) | Household garbage incineration fly ash collecting device | |
| CN220436549U (en) | RTO exhaust treatment device | |
| CN208817482U (en) | A kind of hardware for burning away the refuse | |
| CN216572233U (en) | Environment-friendly factory building dust fall purifier | |
| CN219913115U (en) | Flue gas treatment equipment for incinerator | |
| CN206688467U (en) | A kind of workshop weld fumes cleaning system | |
| CN213610388U (en) | Heat treatment multipurpose fire exhaust hood with waste gas treatment | |
| CN211290074U (en) | Kiln tail accumulated slag cleaning device for incineration treatment of hazardous waste rotary kiln | |
| CN214131066U (en) | UV photocatalysis apparatus for exhaust-gas treatment | |
| CN215929580U (en) | High-efficient waste heat recovery mechanism in organic waste gas treatment system | |
| CN212746476U (en) | Energy-saving incinerator convenient to clean | |
| CN211925755U (en) | An efficient waste pyrolysis furnace | |
| CN222034050U (en) | Steam fume extractor | |
| CN217698402U (en) | Remove collaborative recovery unit that dioxin removed dust | |
| CN216079831U (en) | Adjustable medical waste incineration feeding device | |
| CN211119421U (en) | Burn burning furnace burning waste gas and absorb filter equipment | |
| CN214949151U (en) | Boiler waste gas treatment equipment |
Legal Events
| Date | Code | Title | Description |
|---|---|---|---|
| GR01 | Patent grant | ||
| GR01 | Patent grant |