CN212983622U - Novel assembled digifax ization steel construction bracket - Google Patents
Novel assembled digifax ization steel construction bracket Download PDFInfo
- Publication number
- CN212983622U CN212983622U CN202021423925.4U CN202021423925U CN212983622U CN 212983622 U CN212983622 U CN 212983622U CN 202021423925 U CN202021423925 U CN 202021423925U CN 212983622 U CN212983622 U CN 212983622U
- Authority
- CN
- China
- Prior art keywords
- steel
- connecting plate
- shaped steel
- bolt
- bracket
- Prior art date
- Legal status (The legal status is an assumption and is not a legal conclusion. Google has not performed a legal analysis and makes no representation as to the accuracy of the status listed.)
- Active
Links
- 229910000831 Steel Inorganic materials 0.000 title claims abstract description 64
- 239000010959 steel Substances 0.000 title claims abstract description 64
- 238000010276 construction Methods 0.000 title description 7
- 230000009194 climbing Effects 0.000 claims abstract description 12
- 230000008878 coupling Effects 0.000 claims 1
- 238000010168 coupling process Methods 0.000 claims 1
- 238000005859 coupling reaction Methods 0.000 claims 1
- 239000003351 stiffener Substances 0.000 claims 1
- 238000009434 installation Methods 0.000 abstract description 10
- 230000007306 turnover Effects 0.000 abstract description 5
- 239000000126 substance Substances 0.000 abstract 1
- 238000003466 welding Methods 0.000 description 4
- 238000000034 method Methods 0.000 description 3
- 239000000463 material Substances 0.000 description 2
- 239000002699 waste material Substances 0.000 description 2
- 230000005540 biological transmission Effects 0.000 description 1
- 238000012986 modification Methods 0.000 description 1
- 230000004048 modification Effects 0.000 description 1
- 230000003014 reinforcing effect Effects 0.000 description 1
- 238000007493 shaping process Methods 0.000 description 1
- 238000004088 simulation Methods 0.000 description 1
Images
Landscapes
- Joining Of Building Structures In Genera (AREA)
Abstract
The utility model discloses a novel assembled digital-to-chemical steel structure bracket, which is provided with a beam I-shaped steel, an inclined strut I-shaped steel, a connecting plate, a vertical stiffening plate, a connecting plate base, a bolt, a pre-embedded climbing cone and a steel belt connecting component; the concrete structure is characterized in that the transverse beam I-shaped steel and the vertical stiffening plate form a whole, pre-buried climbing cones are respectively arranged at corresponding positions up and down in the concrete structure, the end part of the transverse beam I-shaped steel is fixed with the pre-buried climbing cone at the upper end through a connecting plate base, one end of the diagonal bracing I-shaped steel is connected with the transverse beam I-shaped steel through a connecting plate, the lower end of the diagonal bracing I-shaped steel is connected with the pre-buried climbing cone at the lower end through the connecting plate base, and a steel belt connecting assembly is further arranged between. The utility model discloses reach the target that preparation and installation safety are high-efficient, stable in quality, turnover nature is strong, economic benefits is good.
Description
Technical Field
The utility model relates to a bracket field, what specifically say is a novel assembled digifax ization steel construction bracket.
Background
In the construction of bridge engineering projects, an operating platform is provided for supporting an upper structure or for high-altitude operation, and a steel structure bracket is mostly adopted as a temporary auxiliary structure to transfer the load of the upper structure and provide the operating platform. At present, steel structure corbels adopt steel construction welding preparation and installation more, and operating personnel high altitude construction time is long, and the preparation is difficult for guaranteeing and later stage demolish safe risk height with the installation quality, and the material turnover nature is not strong and then leads to uneconomically. In addition, steel structure bracket is the temporary structure of encorbelmenting the support, adopts shaped steel welding preparation installation more, because superstructure transmission load is different and the platform is not of uniform size, hardly has enough to meet the need the use in an engineering project, must cut the unloading welding preparation installation again, causes the waste of very big some material, wastes time and energy, and high altitude welding installation quality is difficult for guaranteeing, and the safety risk is outstanding.
SUMMERY OF THE UTILITY MODEL
Therefore, in order to solve the above-mentioned not enough, the utility model provides a novel assembled digifax steel construction bracket herein reaches the target that preparation and installation safety are high-efficient, stable in quality, turnover nature is strong, economic benefits is good.
The utility model is realized in such a way, a novel assembled digital-analog steel structure bracket is constructed, which is characterized in that; the assembled bracket structure is provided with a beam I-steel, an inclined strut I-steel, a connecting plate, a vertical stiffening plate, a connecting plate base, a bolt, a pre-embedded climbing cone and a steel belt connecting assembly; the concrete structure is characterized in that the transverse beam I-shaped steel and the vertical stiffening plate form a whole, pre-buried climbing cones are respectively arranged at corresponding positions up and down in the concrete structure, the end part of the transverse beam I-shaped steel is fixed with the pre-buried climbing cone at the upper end through a connecting plate base, one end of the diagonal bracing I-shaped steel is connected with the transverse beam I-shaped steel through a connecting plate, the lower end of the diagonal bracing I-shaped steel is connected with the pre-buried climbing cone at the lower end through the connecting plate base, and a steel belt connecting assembly is further arranged between.
According to the utility model, the novel assembled digital-to-analog steel structure bracket is characterized in that; the connecting plate and the connecting plate stiffening plate are connected into a whole through the bolt, and in order to prevent the bolt from falling off, a safety pin is adopted at the end part of the bolt.
The utility model has the advantages of as follows: the utility model provides a novel assembled digital digitalized steel structure bracket, which is provided with a beam I-steel, an inclined strut I-steel, a connecting plate, a vertical stiffening plate, a connecting plate base, a bolt, a pre-embedded creeping cone and a steel belt connecting component; the utility model discloses reach the target that preparation and installation safety are high-efficient, stable in quality, turnover nature is strong, economic benefits is good.
Drawings
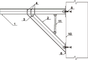
FIG. 1 is a schematic view of a fabricated digital-to-analog corbel with a steel structure according to the present invention;
FIG. 2 is a schematic view of the connection of the web to the steel strip;
FIG. 3 is a side schematic view of FIG. 2;
FIG. 4 is an overall view of the I-beam connecting end and web.
FIG. 5 is a side view of the I-beam connection end and the web.
Detailed Description
The present invention will be described in detail with reference to fig. 1 to 5, and the technical solutions in the embodiments of the present invention will be clearly and completely described, and it is obvious that the described embodiments are only some embodiments of the present invention, not all embodiments. Based on the embodiments in the present invention, all other embodiments obtained by a person skilled in the art without creative work belong to the protection scope of the present invention.
In order to solve the problems, a novel assembly type digital-analog steel structure bracket which is not welded at high altitude, has small damage to a section steel structure, high section turnover rate, safety, controllability and digital-analog performance needs to be designed. The implementation is as follows:
the assembled bracket structure consists of a beam I-steel 1, an inclined strut I-steel 2, a connecting plate 3, a vertical stiffening plate 4, a connecting plate stiffening plate 5, a connecting plate base 6, a bolt 7, an embedded creeping cone 8, a steel belt connection (comprising a pin and a pin hole) and a bolt. The characteristics and the installation and disassembly description of the fabricated digital-simulation steel structure bracket are as follows:
the fabricated digital-analog steel structure bracket consists of beam I-beams and diagonal bracing I-beams, which are supplemented with connecting plates, wherein the beam I-beams can be adjusted according to the load of an upper structure and the size of a platform required to be erected, the diagonal bracing I-beams can be correspondingly matched in length according to different angles, the I-beams adopt a double-splicing form, the overall rigidity is increased, and the length is subjected to digital-analog design according to the specification of 0.5 m; the steel strip is connected to play a role in shaping and partially bearing force in the mounting and dismounting process, the length of the steel strip can be adjusted through relative position dislocation of the steel strip, and after the length is determined, at least two pins are inserted into pin holes at the end heads to fix the length of the steel strip; the I-steel connecting end is opened and correspondingly reinforced, the I-steel reinforcing plate and the connecting plate are connected into a whole by using a bolt, and in order to prevent the bolt from falling off, a safety pin 9 is adopted at the end part of the bolt 7.
The installation and dismantling descriptions are as follows: pre-embedding a creeping cone at a proper position in a concrete structure in advance, connecting a connecting plate with a creeping cone hole by using a bolt after aligning, hoisting a bracket to a position to be installed by using hoisting equipment after connecting the bracket on the ground by using a bolt, and connecting a hole position on an I-shaped steel beam with a hole position of the connecting plate by using a bolt after aligning the hole position; the dismounting process is opposite to the mounting process, the bracket is hung by using hoisting equipment, the position of the bracket is not moved, only the bracket needs to be stabilized, then the bolt at the positions of the cross beam and the inclined strut is pulled out, the bracket is hung, the bracket is sorted and stacked after being dismounted on the ground, the bolt on the connecting plate is taken out, the connecting plate is hung, and the dismounting of the whole steel structure bracket is completed.
The previous description of the disclosed embodiments is provided to enable any person skilled in the art to make or use the present invention. Various modifications to these embodiments will be readily apparent to those skilled in the art, and the generic principles defined herein may be applied to other embodiments without departing from the spirit or scope of the invention. Thus, the present invention is not intended to be limited to the embodiments shown herein but is to be accorded the widest scope consistent with the principles and novel features disclosed herein.
Claims (2)
1. A novel assembled digital-to-analog steel structure bracket is characterized in that; the assembled bracket structure is provided with a beam I-shaped steel (1), an inclined strut I-shaped steel (2), a connecting plate (3), a vertical stiffening plate (4), a connecting plate stiffening plate (5), a connecting plate base (6), a bolt (7), an embedded climbing cone (8) and a steel belt connecting assembly (11); crossbeam I-steel (1) and vertical stiffener (4) form wholly, correspond the position about in concrete (10) structure and set up pre-buried awl (8) of climbing respectively, the tip of crossbeam I-steel (1) is fixed with the pre-buried awl (8) of climbing of upper end through web base (6), the one end of bracing I-steel (2) is passed through web (3) and is connected with crossbeam I-steel (1), the lower extreme of bracing I-steel (2) is passed through web base (6) and is connected with the pre-buried awl (8) of climbing of lower extreme, still be provided with steel band coupling assembling (11) between bracing I-steel (2) and crossbeam I-steel (1).
2. The novel fabricated digital-to-analog steel structure bracket of claim 1, characterized in that; the connecting plate (3) and the connecting plate stiffening plate (5) are connected into a whole through the bolt (7), and in order to prevent the bolt from falling off, a safety pin (9) is adopted at the end part of the bolt (7).
Priority Applications (1)
| Application Number | Priority Date | Filing Date | Title |
|---|---|---|---|
| CN202021423925.4U CN212983622U (en) | 2020-07-20 | 2020-07-20 | Novel assembled digifax ization steel construction bracket |
Applications Claiming Priority (1)
| Application Number | Priority Date | Filing Date | Title |
|---|---|---|---|
| CN202021423925.4U CN212983622U (en) | 2020-07-20 | 2020-07-20 | Novel assembled digifax ization steel construction bracket |
Publications (1)
| Publication Number | Publication Date |
|---|---|
| CN212983622U true CN212983622U (en) | 2021-04-16 |
Family
ID=75428443
Family Applications (1)
| Application Number | Title | Priority Date | Filing Date |
|---|---|---|---|
| CN202021423925.4U Active CN212983622U (en) | 2020-07-20 | 2020-07-20 | Novel assembled digifax ization steel construction bracket |
Country Status (1)
| Country | Link |
|---|---|
| CN (1) | CN212983622U (en) |
Cited By (1)
| Publication number | Priority date | Publication date | Assignee | Title |
|---|---|---|---|---|
| CN113931360A (en) * | 2021-09-30 | 2022-01-14 | 上海宝冶集团有限公司 | Method for fixing curtain wall keel on I-shaped steel web |
-
2020
- 2020-07-20 CN CN202021423925.4U patent/CN212983622U/en active Active
Cited By (1)
| Publication number | Priority date | Publication date | Assignee | Title |
|---|---|---|---|---|
| CN113931360A (en) * | 2021-09-30 | 2022-01-14 | 上海宝冶集团有限公司 | Method for fixing curtain wall keel on I-shaped steel web |
Similar Documents
| Publication | Publication Date | Title |
|---|---|---|
| CN107143145A (en) | A kind of steel truss structure segmentation overhead connection and synchronous discharging method | |
| CN111749140B (en) | A truss integral lifting bridge high pier climbing formwork device and construction method | |
| CN212983622U (en) | Novel assembled digifax ization steel construction bracket | |
| CN114855624A (en) | Internal mold hanging bracket structure of diaphragm plate of suspension-cast continuous box girder and construction method thereof | |
| CN111335183B (en) | A double hoop support system for single column cap beam construction | |
| CN218147817U (en) | Single-column cantilever type bent cap bracket | |
| CN109989590B (en) | Auxiliary fixing device for mounting roof overlong steel beam and hoisting method of steel beam | |
| CN217629455U (en) | Dismantling device and system for box girder template supporting system | |
| CN219261788U (en) | Discharging platform for steel structure assembly type building | |
| CN216071094U (en) | Special transportation fixed bolster of gas turbine | |
| CN114108811B (en) | Unsupported installation method of super high-rise conversion truss | |
| CN212505822U (en) | Construction device for offshore low-pier cantilever cast-in-place bent cap | |
| CN223048204U (en) | Sectional cantilever mounting device for high-altitude large-span steel girder | |
| CN209723020U (en) | Tower crane steel structure foundation platform | |
| CN220598204U (en) | Construction stiffness framework for dismantling continuous beam folding section | |
| CN220015200U (en) | A temporary support structure for shield tunnel contact passages | |
| CN220467271U (en) | Low headroom pile foundation steel reinforcement cage segmentation hoist and mount frame | |
| CN217203670U (en) | Supporting device for dismantling old frame bridge | |
| CN112502475A (en) | Supporting bearing capacity conversion device and using method thereof | |
| CN222668197U (en) | Tunnel widening section lining construction trolley device | |
| CN222008658U (en) | Bracket of bent cap | |
| KR100493505B1 (en) | Method of constructing a transmission tower by helicopter | |
| CN223632948U (en) | Under-arch steel girder lifting appliance | |
| CN212359164U (en) | Trestle-type assembled tire frame for steel beam section sliding | |
| CN219261361U (en) | Temporary connection device for I-steel main beam and yoke beam |
Legal Events
| Date | Code | Title | Description |
|---|---|---|---|
| GR01 | Patent grant | ||
| GR01 | Patent grant |