CN212961330U - Lifting adjustment type landscape lamp - Google Patents

Lifting adjustment type landscape lamp Download PDF

Info

Publication number
CN212961330U
CN212961330U CN202021968602.3U CN202021968602U CN212961330U CN 212961330 U CN212961330 U CN 212961330U CN 202021968602 U CN202021968602 U CN 202021968602U CN 212961330 U CN212961330 U CN 212961330U
Authority
CN
China
Prior art keywords
support column
rotating shaft
electric rotating
lift
lamp
Prior art date
Legal status (The legal status is an assumption and is not a legal conclusion. Google has not performed a legal analysis and makes no representation as to the accuracy of the status listed.)
Expired - Fee Related
Application number
CN202021968602.3U
Other languages
Chinese (zh)
Inventor
俞浩田
Current Assignee (The listed assignees may be inaccurate. Google has not performed a legal analysis and makes no representation or warranty as to the accuracy of the list.)
Jianghan University
Original Assignee
Jianghan University
Priority date (The priority date is an assumption and is not a legal conclusion. Google has not performed a legal analysis and makes no representation as to the accuracy of the date listed.)
Filing date
Publication date
Application filed by Jianghan University filed Critical Jianghan University
Priority to CN202021968602.3U priority Critical patent/CN212961330U/en
Application granted granted Critical
Publication of CN212961330U publication Critical patent/CN212961330U/en
Expired - Fee Related legal-status Critical Current
Anticipated expiration legal-status Critical

Links

Images

Landscapes

  • Photovoltaic Devices (AREA)

Abstract

本实用新型公开了一种升降调节式景观灯,包括底座,底座的顶部中央设置有第一电动旋转轴,第一电动旋转轴的顶部设置有支撑柱,支撑柱上设置有座椅,控制箱的顶部安装有太阳能电池板,支撑柱的一侧设置有环形灯,环形灯的顶部设置有第二电动旋转轴。本实用新型是一种升降调节式景观灯,通过第一电动旋转轴可让支撑柱进行旋转,从而可以适应不同的安装环境,通过钢缆盘可控制环形灯进行旋转,使得灯光展示效果更佳,通过驱动电机控制钢缆盘的旋转,达到控制环形灯的升降,方便了维修人员的日常检修与维护,通过太阳能电池板可将太阳能转化为电能储存于供电箱中,供该景观灯使用。

Figure 202021968602

The utility model discloses a lift-adjustable landscape lamp, which comprises a base, a first electric rotating shaft is arranged in the center of the top of the base, a support column is arranged at the top of the first electric rotating shaft, a seat is arranged on the support column, and a control box is arranged on the top of the base. A solar panel is installed on the top of the support column, a ring light is arranged on one side of the support column, and a second electric rotating shaft is arranged on the top of the ring light. The utility model relates to a lift-adjustable landscape light. The support column can be rotated through a first electric rotating shaft, so as to adapt to different installation environments, and the ring light can be controlled to rotate through a steel cable reel, so that the lighting display effect is better. , Control the rotation of the steel cable tray by driving the motor, so as to control the lifting and lowering of the ring light, which is convenient for the maintenance personnel to perform daily maintenance and maintenance.

Figure 202021968602

Description

Lifting adjustment type landscape lamp
Technical Field
The utility model relates to a lamps and lanterns field, in particular to lift adjustment formula landscape lamp.
Background
The landscape artistic lamp is an indispensable part in modern landscape, not only has higher ornamental value, but also emphasizes the coordination and unification of the landscape of the artistic lamp, the historical culture of scenic spots and the surrounding environment. The landscape is built by utilizing different shapes, different light colors and brightness, for example, a red lantern-shaped landscape lamp brings a festive atmosphere for a square, a green coconut tree lamp stands out a tropical landscape beside a pool, and more courtyard designs like changing the overall effect of the landscape by adopting the shape, the color and the illumination brightness of the lamp, so that the purpose of fusing the lamp and the lake landscape is achieved.
The existing landscape lamp is only a lamp matched with landscape, and still has a lot of defects in lighting condition and beauty, but the traditional landscape lamp is generally composed of a lamp body and an incandescent lamp or an energy-saving lamp as a light source, only plays a role in lighting and certain decorative effect, cannot adjust the light height and the light pattern according to the installation environment, is inconvenient for maintenance personnel to carry out daily maintenance, has large energy consumption of the lamp and low efficiency, and is not in line with the modern energy-saving and environment-friendly idea, so that the lifting adjustment type landscape lamp is provided to solve the problems.
SUMMERY OF THE UTILITY MODEL
The to-be-solved technical problem of the utility model is to overcome prior art's defect, provide a lift adjustment formula landscape lamp.
In order to solve the technical problem, the utility model provides a following technical scheme:
the utility model relates to a lift adjustment formula landscape lamp, the on-line screen storage device comprises a base, the top central authorities of base are provided with first electric rotation axis, first electric rotation axis's top is provided with the support column, be provided with the seat on the support column, the top of support column is fixed with the control box, the power box is installed to one side of control box, solar cell panel is installed at the top of control box, one side of support column is provided with the annular lamp, the top of annular lamp is provided with second electric rotation axis, the top of second electric rotation axis is fixed with the connecting block, cable dish and driving motor are installed respectively to the inside of control box, be connected with the steel cable on the cable dish, and the other end of steel cable is connected with the connecting block.
As an optimal technical scheme of the utility model, be provided with the footboard on the base, the top avris of seat is provided with first magnetic path, be provided with the slide rail on the support column, be provided with the second magnetic path on the slide rail, and first magnetic path corresponds the installation with the second magnetic path, first magnetic path is connected with second magnetic path magnetism.
As the utility model discloses an optimal technical scheme, the base is connected through first electric rotation axis axle movability with the support column, the connecting block passes through second electric rotation axis axle movability with the annular lamp and is connected, driving motor's transmission shaft and steel cable dish transmission are connected.
As an optimal technical scheme of the utility model, solar cell panel and power box electric connection, first electric rotation axis, second electric rotation axis, driving motor and annular lamp all with power box electric connection.
As an optimal technical scheme of the utility model, install the hinge between seat and the support column, and the seat passes through hinge swing joint with the support column.
Compared with the prior art, the beneficial effects of the utility model are as follows:
the utility model relates to a lift adjustment formula landscape lamp, can effectively solve the service problem of landscape lamp, can let the support column rotate through first electric rotation axis, thereby can adapt to different installation environment, it is rotatory to rotate through the steerable ring light of steel cable dish, make light bandwagon effect better, rotation through drive motor control steel cable dish, reach the lift of control ring light, the routine maintenance and the maintenance of maintainer have made things convenient for, can store the solar energy into the electric energy in the power supply box through solar cell panel, supply this landscape lamp to use, accord with the theory of modern low carbon environmental protection.
Drawings
The accompanying drawings are included to provide a further understanding of the invention, and are incorporated in and constitute a part of this specification, illustrate embodiments of the invention, and together with the description serve to explain the invention and not to limit the invention. In the drawings:
fig. 1 is one of the overall structural schematic diagrams of the present invention;
fig. 2 is a second schematic view of the overall structure of the present invention;
fig. 3 is an overall sectional view of the present invention;
FIG. 4 is an enlarged view of region A of the present invention;
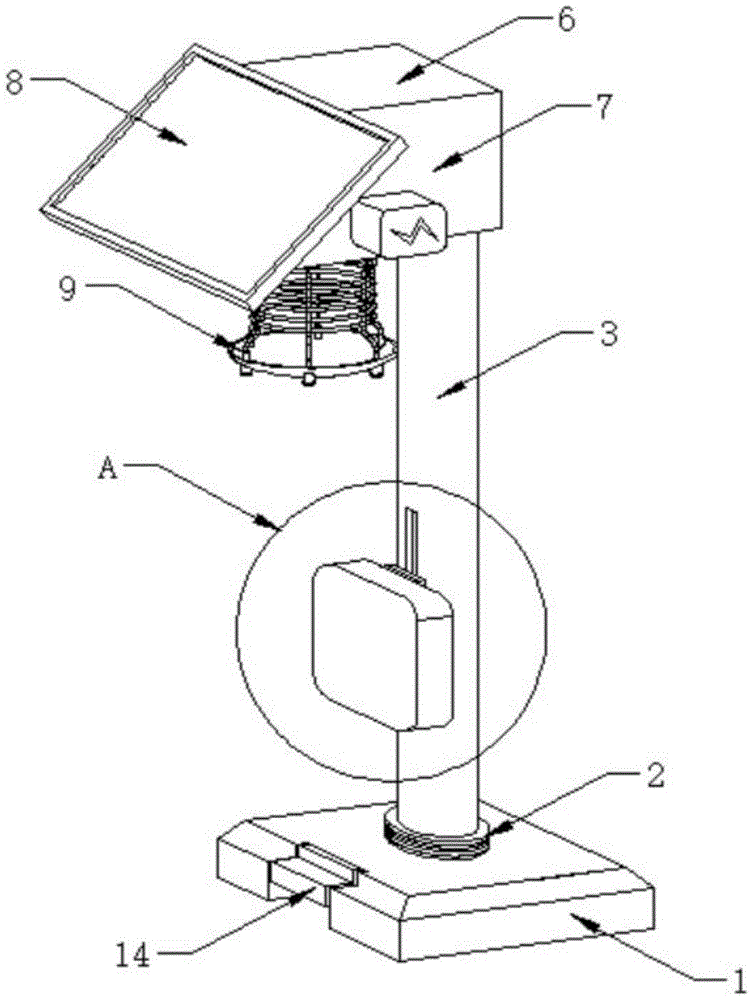
in the figure: 1. a base; 2. a first electric rotating shaft; 3. a support pillar; 4. a drive motor; 5. a seat; 6. a control box; 7. a power supply box; 8. a solar panel; 9. an annular lamp; 10. a second electric rotating shaft; 11. connecting blocks; 12. a steel cable reel; 13. a wire rope; 14. a pedal; 15. a first magnetic block; 16. a slide rail; 17. a second magnetic block; 18. and (4) a hinge.
Detailed Description
The preferred embodiments of the present invention will be described in conjunction with the accompanying drawings, and it will be understood that they are presented herein only to illustrate and explain the present invention, and not to limit the present invention.
Example 1
As shown in fig. 1-4, the utility model provides a lift adjustment formula landscape lamp, including base 1, base 1's top central authorities are provided with first electric rotating shaft 2, first electric rotating shaft 2's top is provided with support column 3, be provided with seat 5 on the support column 3, the top of support column 3 is fixed with control box 6, power box 7 is installed to one side of control box 6, solar cell panel 8 is installed at the top of control box 6, one side of support column 3 is provided with annular lamp 9, the top of annular lamp 9 is provided with second electric rotating shaft 10, the top of second electric rotating shaft 10 is fixed with connecting block 11, cable dish 12 and driving motor 4 are installed respectively to the inside of control box 6, be connected with steel cable 13 on the cable dish 12, and the other end of steel cable 13 is connected with connecting block 11.
Further, be provided with footboard 14 on the base 1, the top avris of seat 5 is provided with first magnetic path 15, be provided with slide rail 16 on the support column 3, be provided with second magnetic path 17 on the slide rail 16, and first magnetic path 15 corresponds the installation with second magnetic path 17, first magnetic path 15 is connected with second magnetic path 17 magnetism, when the visitor tramples footboard 14, drive second magnetic path 17 through the lever mechanism who is connected with footboard 14 and slide in slide rail 16 upwards, when second magnetic path 17 breaks away from the magnetic attraction scope of first magnetic path 15, because of gravity reason, seat 5 can rotate down, first magnetic path 15 and second magnetic path 17 let seat 5 and support column 3 fixed more stable.
Base 1 and support column 3 are connected through 2 axle movements of first electric rotating shaft, connecting block 11 is connected through 10 axle movements of second electric rotating shaft with annular lamp 9, driving motor 4's transmission shaft is connected with the transmission of steel cable dish 12, all include driving motor and rotation axis in first electric rotating shaft 2 and the second electric rotating shaft 10, can let support column 3 rotatory on base 1 through first electric rotating shaft 2, can let annular lamp 9 rotatory in the bottom of connecting block 11 through second electric rotating shaft 10, it is rotatory to drive steel cable dish 12 through driving motor 4's transmission shaft, thereby control annular lamp 9 goes up and down.
Solar cell panel 8 and power box 7 electric connection, first electric rotation axle 2, the electric rotation axle 10 of second, driving motor 4 and annular lamp 9 all with power box 7 electric connection, solar cell panel 8 collects solar energy, and convert solar energy into the electric energy through its inside photovoltaic charge controller and store in power box 7, provide the electric energy for first electric rotation axle 2, the electric rotation axle 10 of second, driving motor 4 and annular lamp 9.
The hinge 18 is arranged between the seat 5 and the support column 3, the seat 5 and the support column 3 are movably connected through the hinge 18, the seat 5 can freely rotate in ninety degrees through the hinge 18, and the condition that the seat 5 collides with the support column 3 violently when being folded can be reduced.
Specifically, in the using process, the landscape lamp is placed at a specified installation position, the directions of the seat 5 and the solar panel 8 are adjusted to proper positions through the first electric rotating shaft 2, the solar panel 8 converts collected solar energy into electric energy through a photovoltaic charging controller in the solar panel 8 and stores the electric energy in the power supply box 7, the electric energy can be used by the first electric rotating shaft 2, the second electric rotating shaft 10, the driving motor 4 and the annular lamp 9 at night, and the annular lamp 9 can rotate at the bottom of the connecting block 11 by starting the second electric rotating shaft 10 in the control box 6, so that the display effect of light is more obvious; when maintenance personnel need to carry out daily maintenance and repair, the driving motor 4 in the control box 6 is started, a transmission shaft on the driving motor 4 drives the steel cable disc 12 to rotate reasonably, the annular lamp 9 is controlled to lift by controlling the descending length of the steel cable 13, the maintenance personnel can conveniently carry out maintenance, when a tourist steps on the pedal 14, the lever mechanism connected with the pedal 14 drives the second magnetic block 17 to slide upwards in the slide rail 16, and when the second magnetic block 17 is separated from the magnetic attraction range of the first magnetic block 15, the seat 5 can rotate ninety degrees and can be used for the tourist to rest; after the visitor has finished resting, because the action of gravity, second magnetic path 17 can slide to the bottom of slide rail 16, and ninety degrees rotates seat 5, and first magnetic path 15 and second magnetic path 17 magnetism each other inhale can be with seat 5 fixed with support column 3 on, very convenient.
This landscape lamp can effectively solve the problem of use of landscape lamp, can let the support column rotate through first electric rotation axis, thereby can adapt to different installation environment, it is rotatory to rotate through the steerable annular lamp of steel cable dish, make light bandwagon effect better, through the rotation of drive motor control steel cable dish, reach the lift of control annular lamp, the routine maintenance and the maintenance of maintainer have been made things convenient for, can store the electric energy with solar energy transformation in the power supply box through solar cell panel, supply this landscape lamp to use, accord with the theory of modern low carbon environmental protection.
Finally, it should be noted that: although the present invention has been described in detail with reference to the foregoing embodiments, it will be apparent to those skilled in the art that modifications may be made to the embodiments described in the foregoing embodiments, or equivalents may be substituted for elements thereof. Any modification, equivalent replacement, or improvement made within the spirit and principle of the present invention should be included in the protection scope of the present invention.

Claims (5)

1.一种升降调节式景观灯,包括底座(1),其特征在于,所述底座(1)的顶部中央设置有第一电动旋转轴(2),所述第一电动旋转轴(2)的顶部设置有支撑柱(3),所述支撑柱(3)上设置有座椅(5),所述支撑柱(3)的顶部固定有控制箱(6),所述控制箱(6)的一侧安装有供电箱(7),所述控制箱(6)的顶部安装有太阳能电池板(8),所述支撑柱(3)的一侧设置有环形灯(9),所述环形灯(9)的顶部设置有第二电动旋转轴(10),所述第二电动旋转轴(10)的顶部固定有连接块(11),所述控制箱(6)的内部分别安装有钢缆盘(12)和驱动电机(4),所述钢缆盘(12)上连接有钢缆(13),且钢缆(13)的另一端与连接块(11)相连接。1. A lift-adjustable landscape lamp, comprising a base (1), characterized in that a first electric rotating shaft (2) is provided in the center of the top of the base (1), and the first electric rotating shaft (2) A support column (3) is arranged on the top of the support column (3), a seat (5) is arranged on the support column (3), a control box (6) is fixed on the top of the support column (3), and the control box (6) A power supply box (7) is installed on one side of the control box (6), a solar panel (8) is installed on the top of the control box (6), and a ring light (9) is installed on one side of the support column (3). The top of the lamp (9) is provided with a second electric rotating shaft (10), the top of the second electric rotating shaft (10) is fixed with a connecting block (11), and the inside of the control box (6) is respectively installed with steel A cable drum (12) and a driving motor (4) are provided, a steel cable (13) is connected to the steel cable drum (12), and the other end of the steel cable (13) is connected with a connection block (11). 2.根据权利要求1所述的一种升降调节式景观灯,其特征在于,所述底座(1)上设置有踏板(14),所述座椅(5)的顶部边侧设置有第一磁块(15),所述支撑柱(3)上设置有滑轨(16),所述滑轨(16)上设置有第二磁块(17),且第一磁块(15)与第二磁块(17)对应安装,所述第一磁块(15)与第二磁块(17)磁性连接。2. A lift-adjustable landscape light according to claim 1, characterized in that a pedal (14) is provided on the base (1), and a first side is provided on the top side of the seat (5). A magnet block (15), a slide rail (16) is provided on the support column (3), a second magnet block (17) is provided on the slide rail (16), and the first magnet block (15) is connected with the first magnet block (15) Two magnet blocks (17) are installed correspondingly, and the first magnet block (15) is magnetically connected with the second magnet block (17). 3.根据权利要求1所述的一种升降调节式景观灯,其特征在于,所述底座(1)与支撑柱(3)通过第一电动旋转轴(2)轴动连接,所述连接块(11)与环形灯(9)通过第二电动旋转轴(10)轴动连接,所述驱动电机(4)的传动轴与钢缆盘(12)传动连接。3. A lift-adjustable landscape light according to claim 1, characterized in that, the base (1) and the support column (3) are axially connected by a first electric rotating shaft (2), and the connecting block (11) is axially connected with the ring light (9) through the second electric rotating shaft (10), and the drive shaft of the drive motor (4) is drive-connected with the cable drum (12). 4.根据权利要求1所述的一种升降调节式景观灯,其特征在于,所述太阳能电池板(8)与供电箱(7)电性连接,所述第一电动旋转轴(2)、第二电动旋转轴(10)、驱动电机(4)和环形灯(9)均与供电箱(7)电性连接。4. A lift-adjustable landscape light according to claim 1, wherein the solar panel (8) is electrically connected to the power supply box (7), and the first electric rotating shaft (2), The second electric rotating shaft (10), the driving motor (4) and the ring light (9) are all electrically connected to the power supply box (7). 5.根据权利要求1所述的一种升降调节式景观灯,其特征在于,所述座椅(5)与支撑柱(3)之间安装有铰链(18),且座椅(5)与支撑柱(3)通过铰链(18)活动连接。5. A lift-adjustable landscape light according to claim 1, wherein a hinge (18) is installed between the seat (5) and the support column (3), and the seat (5) is connected to the The support column (3) is movably connected by a hinge (18).
CN202021968602.3U 2020-09-10 2020-09-10 Lifting adjustment type landscape lamp Expired - Fee Related CN212961330U (en)

Priority Applications (1)

Application Number Priority Date Filing Date Title
CN202021968602.3U CN212961330U (en) 2020-09-10 2020-09-10 Lifting adjustment type landscape lamp

Applications Claiming Priority (1)

Application Number Priority Date Filing Date Title
CN202021968602.3U CN212961330U (en) 2020-09-10 2020-09-10 Lifting adjustment type landscape lamp

Publications (1)

Publication Number Publication Date
CN212961330U true CN212961330U (en) 2021-04-13

Family

ID=75366100

Family Applications (1)

Application Number Title Priority Date Filing Date
CN202021968602.3U Expired - Fee Related CN212961330U (en) 2020-09-10 2020-09-10 Lifting adjustment type landscape lamp

Country Status (1)

Country Link
CN (1) CN212961330U (en)

Cited By (1)

* Cited by examiner, † Cited by third party
Publication number Priority date Publication date Assignee Title
WO2025055847A1 (en) * 2023-09-11 2025-03-20 郑德春 Lifting and lowering device for photovoltaic lantern hanging

Cited By (1)

* Cited by examiner, † Cited by third party
Publication number Priority date Publication date Assignee Title
WO2025055847A1 (en) * 2023-09-11 2025-03-20 郑德春 Lifting and lowering device for photovoltaic lantern hanging

Similar Documents

Publication Publication Date Title
CN108317467B (en) Energy-saving street lamp convenient to maintain based on thing networking
CN206459141U (en) A kind of new type solar energy Lawn lamp
CN108224335A (en) A kind of rotatable landscape road lamp
CN206626498U (en) A kind of street lamp of easy access
CN212961330U (en) Lifting adjustment type landscape lamp
CN204254476U (en) A kind of solar energy decorating lawn lamp
CN220205531U (en) Combined lighting device
CN211716385U (en) Gardens are with floor-lamp with lift protect function
CN118590797B (en) A split type smart speaker
CN108561834A (en) A kind of novel rotatable landscape road lamp
CN210511429U (en) A decorative type solar street lamp for urban street
CN209341183U (en) A kind of home lamp based on Internet of Things control
CN206245794U (en) A kind of landscape pavilion
CN218599654U (en) Landscape lamp convenient to angle regulation
CN215372288U (en) Night scene lamp of adjustable illumination colour
CN108224333A (en) A kind of lifting type landscape road lamp
CN109163279A (en) A kind of portable type solar energy scenery lamp based on Internet of Things
CN211976771U (en) a landscape light
CN211345048U (en) Sound control intelligent LED landscape street lamp
CN210831721U (en) Multifunctional LED landscape lamp
CN211424210U (en) Garden lamp with adjustable height
CN108679561A (en) A kind of environment protection solar street lamp
CN220675605U (en) Adjustable landscape lamp
CN2450938Y (en) Sunshade umbrella with solar energy receiver
CN221375592U (en) Lighting lamp convenient to maintain

Legal Events

Date Code Title Description
GR01 Patent grant
GR01 Patent grant
CF01 Termination of patent right due to non-payment of annual fee
CF01 Termination of patent right due to non-payment of annual fee

Granted publication date: 20210413

Termination date: 20210910