CN212954806U - A mud pressure filter for making wine waste water treatment - Google Patents
A mud pressure filter for making wine waste water treatment Download PDFInfo
- Publication number
- CN212954806U CN212954806U CN202021072929.2U CN202021072929U CN212954806U CN 212954806 U CN212954806 U CN 212954806U CN 202021072929 U CN202021072929 U CN 202021072929U CN 212954806 U CN212954806 U CN 212954806U
- Authority
- CN
- China
- Prior art keywords
- filter
- box
- sludge
- filter press
- rotating shaft
- Prior art date
- Legal status (The legal status is an assumption and is not a legal conclusion. Google has not performed a legal analysis and makes no representation as to the accuracy of the status listed.)
- Expired - Fee Related
Links
Images
Landscapes
- Filtration Of Liquid (AREA)
Abstract
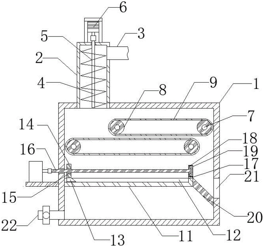
本实用新型公开了一种用于酿酒废水处理的污泥压滤机,包括压滤箱和挤压箱,所述挤压箱固定焊接于压滤箱的上端,且压滤箱与挤压箱内部连通,所述挤压箱的侧壁设置有进污管,且进污管与挤压箱连通,所述挤压箱的上端插接有第一转轴,所述第一转轴上固定连接有螺旋破碎刀,所述压滤箱的侧壁插接有第二转轴,且第二转轴上固定套接有转筒,所述转筒上转动连接有两组履带,且两组履带之间固定连接有压板,所述压滤箱的内部设置有滤板,本实用新型的目的在于提供一种用于酿酒废水处理的污泥压滤机,以解决现有技术中存在的污泥压滤装置不能够对污泥中的大颗粒进行粉碎,且在压滤过程中容易造成堵塞的问题。
The utility model discloses a sludge filter press for brewing wastewater treatment, comprising a filter press box and a squeeze box, the squeeze box is fixedly welded on the upper end of the filter press box, and the filter press box and the squeeze box are fixed and welded. Internal communication, the side wall of the squeeze box is provided with a sewage inlet pipe, and the sewage inlet pipe is communicated with the squeeze box, the upper end of the squeeze box is inserted with a first rotating shaft, and the first rotating shaft is fixedly connected with a Spiral crushing knife, a second rotating shaft is inserted into the side wall of the filter press box, and a rotating drum is fixedly sleeved on the second rotating shaft, and two sets of crawlers are rotatably connected to the rotating drum, and the two sets of crawler belts are fixed between A pressure plate is connected, and a filter plate is arranged inside the filter press box. The purpose of this utility model is to provide a sludge filter press for brewing wastewater treatment, so as to solve the problem of the sludge filter press device existing in the prior art. The large particles in the sludge cannot be pulverized, and the problem of clogging is easy to be caused during the filter press process.
Description
Claims (6)
Priority Applications (1)
| Application Number | Priority Date | Filing Date | Title |
|---|---|---|---|
| CN202021072929.2U CN212954806U (en) | 2020-06-11 | 2020-06-11 | A mud pressure filter for making wine waste water treatment |
Applications Claiming Priority (1)
| Application Number | Priority Date | Filing Date | Title |
|---|---|---|---|
| CN202021072929.2U CN212954806U (en) | 2020-06-11 | 2020-06-11 | A mud pressure filter for making wine waste water treatment |
Publications (1)
| Publication Number | Publication Date |
|---|---|
| CN212954806U true CN212954806U (en) | 2021-04-13 |
Family
ID=75385381
Family Applications (1)
| Application Number | Title | Priority Date | Filing Date |
|---|---|---|---|
| CN202021072929.2U Expired - Fee Related CN212954806U (en) | 2020-06-11 | 2020-06-11 | A mud pressure filter for making wine waste water treatment |
Country Status (1)
| Country | Link |
|---|---|
| CN (1) | CN212954806U (en) |
Cited By (2)
| Publication number | Priority date | Publication date | Assignee | Title |
|---|---|---|---|---|
| CN115069000A (en) * | 2022-06-27 | 2022-09-20 | 中建二局第二建筑工程有限公司 | Indoor ski field effluent disposal system |
| CN116871296A (en) * | 2023-09-05 | 2023-10-13 | 江苏矿源环保科技有限公司 | Kitchen garbage deep dehydration filter pressing equipment |
-
2020
- 2020-06-11 CN CN202021072929.2U patent/CN212954806U/en not_active Expired - Fee Related
Cited By (4)
| Publication number | Priority date | Publication date | Assignee | Title |
|---|---|---|---|---|
| CN115069000A (en) * | 2022-06-27 | 2022-09-20 | 中建二局第二建筑工程有限公司 | Indoor ski field effluent disposal system |
| CN115069000B (en) * | 2022-06-27 | 2023-09-22 | 中建二局第二建筑工程有限公司 | Indoor skifield wastewater treatment system |
| CN116871296A (en) * | 2023-09-05 | 2023-10-13 | 江苏矿源环保科技有限公司 | Kitchen garbage deep dehydration filter pressing equipment |
| CN116871296B (en) * | 2023-09-05 | 2024-01-05 | 江苏矿源环保科技有限公司 | Kitchen garbage deep dehydration filter pressing equipment |
Similar Documents
| Publication | Publication Date | Title |
|---|---|---|
| CN107012706B (en) | A kind of paper mill pulping device | |
| CN212954806U (en) | A mud pressure filter for making wine waste water treatment | |
| CN209530279U (en) | A kind of sewage treatment fibre turntable formula filter device | |
| CN207193088U (en) | A sludge dewatering device with double-layer elliptical rotors | |
| CN206345776U (en) | Flotation thing press dry equipment | |
| CN214714604U (en) | Integrated equipment for water making and mud removing | |
| CN2910324Y (en) | Micro solid/liquid separator | |
| CN217724713U (en) | Plate-frame filter press | |
| CN106746459A (en) | Flotation thing press dry equipment | |
| CN201093849Y (en) | Novel belt type compression filter-press dewatering integrated machine | |
| CN215276142U (en) | A sludge belt dehydrator with high dewatering efficiency | |
| CN205031955U (en) | Filter is interrupted to full -automatic nothing | |
| CN205653324U (en) | Sludge dewaterer that can secondary dehydration with belt cleaning device | |
| CN211471445U (en) | Sugarcane press capable of preventing chips from falling | |
| CN204661491U (en) | Paper-pulp effluent treatment system | |
| CN108946895A (en) | A kind of uniform delivery device of the coagulant of sewage treatment | |
| CN206286269U (en) | A kind of cleaning machine for Tea Processing | |
| CN216961369U (en) | Freshly squeezed fruit juice production line | |
| CN115582776A (en) | Water-sand recycling environmental protection treatment device for water cutting machine | |
| CN208913688U (en) | Single layer roller Scrap-removing machine | |
| CN220349117U (en) | Squeezing device for tung oil processing | |
| CN221319713U (en) | Pollution discharge device for fishery cultivation | |
| CN218421504U (en) | A filter press device for sewage treatment | |
| CN205635323U (en) | Sludge dewaterer with belt cleaning device | |
| CN215916554U (en) | Online belt cleaning device of plate and frame filter press backward flow |
Legal Events
| Date | Code | Title | Description |
|---|---|---|---|
| GR01 | Patent grant | ||
| GR01 | Patent grant | ||
| TR01 | Transfer of patent right | ||
| TR01 | Transfer of patent right |
Effective date of registration: 20240321 Address after: 430000, No. 558 Yingwu Avenue, Hanyang District, Wuhan City, Hubei Province Patentee after: YELLOW CRANE TOWER DISTILLERY Co.,Ltd. Country or region after: China Address before: 430000 Building 1, No. 70, Didong street, Wuchang District, Wuhan City, Hubei Province Patentee before: WUHAN YASHIBO TECHNOLOGY Co.,Ltd. Country or region before: China |
|
| CF01 | Termination of patent right due to non-payment of annual fee | ||
| CF01 | Termination of patent right due to non-payment of annual fee |
Granted publication date: 20210413 |
