CN212928276U - Bladeless fan - Google Patents

Bladeless fan Download PDF

Info

Publication number
CN212928276U
CN212928276U CN202021308108.4U CN202021308108U CN212928276U CN 212928276 U CN212928276 U CN 212928276U CN 202021308108 U CN202021308108 U CN 202021308108U CN 212928276 U CN212928276 U CN 212928276U
Authority
CN
China
Prior art keywords
base
conductive
bladeless fan
assembly
fixing
Prior art date
Legal status (The legal status is an assumption and is not a legal conclusion. Google has not performed a legal analysis and makes no representation as to the accuracy of the status listed.)
Active
Application number
CN202021308108.4U
Other languages
Chinese (zh)
Inventor
刘伟军
杨勇争
Current Assignee (The listed assignees may be inaccurate. Google has not performed a legal analysis and makes no representation or warranty as to the accuracy of the list.)
Dreame Technology Suzhou Co ltd
Original Assignee
Dreame Technology Shanghai Co Ltd
Priority date (The priority date is an assumption and is not a legal conclusion. Google has not performed a legal analysis and makes no representation as to the accuracy of the date listed.)
Filing date
Publication date
Application filed by Dreame Technology Shanghai Co Ltd filed Critical Dreame Technology Shanghai Co Ltd
Priority to CN202021308108.4U priority Critical patent/CN212928276U/en
Application granted granted Critical
Publication of CN212928276U publication Critical patent/CN212928276U/en
Active legal-status Critical Current
Anticipated expiration legal-status Critical

Links

Images

Landscapes

  • Structures Of Non-Positive Displacement Pumps (AREA)

Abstract

本实用新型涉及的无叶风扇,包括基座、设置在基座上的喷嘴组件,基座上设置有用以给喷嘴组件供电的导电组件,导电组件包括固定在基座上的导电固定座、以及设置在导电固定座上的导电片,在旋转组件转动时,导电片用以给旋转的组件供电,该供电方式简单,无需额外布线且方便基座与旋转的组件之间的电接触。

Figure 202021308108

The bladeless fan of the utility model comprises a base, a nozzle assembly arranged on the base, a conductive assembly for supplying power to the nozzle assembly is disposed on the base, and the conductive assembly includes a conductive fixing seat fixed on the base, and The conductive sheet arranged on the conductive fixing base is used to supply power to the rotating assembly when the rotating assembly rotates. The power supply method is simple, does not require additional wiring, and facilitates electrical contact between the base and the rotating assembly.

Figure 202021308108

Description

Bladeless fan
Technical Field
The utility model relates to a fan field, concretely relates to bladeless fan.
Background
The traditional household fan is a bladed fan, generally, a motor drives blades to rotate, the flowing speed of surrounding air airflow is accelerated, and therefore the effects of cooling, relieving summer heat and circulating air are achieved. Compared with the traditional electric fan with the fan blades, the bladeless fan has the characteristics of low noise, good safety and the like. The bladeless fan generates high-speed airflow from air outside the fan through the air wheel assembly to be blown out of the nozzle assembly, and in order to adjust the air outlet direction of the bladeless fan, the rotating assembly is arranged on the base of the bladeless fan, so that the nozzle assembly and the air wheel assembly fixed on the rotating assembly are driven to synchronously rotate relative to the base. However, the bladeless fan is generally powered by a power cable arranged from below to above inside the base and then to the components requiring power, but it is difficult and complicated to route power to the rotating components.
SUMMERY OF THE UTILITY MODEL
An object of the utility model is to provide a power supply mode is simple, need not just can realize the bladeless fan of power supply to rotatory subassembly wiring.
In order to achieve the above purpose, the utility model provides a following technical scheme: a bladeless fan comprises a base and a nozzle assembly arranged on the base, wherein a conductive assembly used for supplying power to the nozzle assembly is arranged on the base, and the conductive assembly comprises a conductive fixing seat fixed on the base and a conductive sheet arranged on the conductive fixing seat.
Furthermore, the conducting strip is including setting up the elastic arm of electrically conductive fixing base, and set up and be in contact on the elastic arm, the elastic arm includes first end and second end, first end is fixed on the electrically conductive fixing base, the second end is fixed with the contact.
Furthermore, a first through hole is formed in the conductive fixing seat, the second end of the elastic arm penetrates through the first through hole, and the contact is located above the first through hole.
Further, the contact may be movable in an axial direction relative to the base.
Further, the contacts include a positive contact and a negative contact.
Furthermore, a seventh groove is formed in the base, and the conductive fixing seat is fixed in the seventh groove.
Furthermore, the conductive fixing seat and the base are fixed through a fixing part, and a third fixing hole matched with the fixing part is formed in the conductive fixing seat and the base.
Further, be provided with on the base and be used for spacing nozzle assembly's nozzle lock frame, nozzle lock frame includes the lock frame main part and establishes at least one protruding piece of stretching in the lock frame main part, protruding piece certainly the lock frame main part inner wall is outside protruding to stretch and is formed.
Furthermore, the base is provided with a first concave ring for accommodating the lock frame main body and a through hole communicated with the first concave ring, and the through hole and the protruding extension block are arranged in a one-to-one correspondence manner.
Furthermore, the protruding extension block penetrates through the through hole and protrudes out of the base, and a limiting space capable of limiting axial movement is formed between the protruding extension block and the base.
Further, a rotating support frame is arranged between the nozzle assembly and the base, and one end of the rotating support frame is arranged in the limiting space.
The beneficial effects of the utility model reside in that: the utility model discloses be provided with the conductive component who is used for supplying power for nozzle assembly on shown bladeless fan's the base, this conductive component is including fixing the electrically conductive fixing base on the base and setting up the conducting strip on electrically conductive fixing base, and when rotating assembly rotated, the conducting strip was used for supplying power for rotatory subassembly, and this power supply mode is simple, need not extra wiring and makes things convenient for the electrical contact between base and the rotatory subassembly.
The above description is only an overview of the technical solution of the present invention, and in order to make the technical means of the present invention clearer and can be implemented according to the content of the description, the following detailed description is made with reference to the preferred embodiments of the present invention and accompanying drawings.
Drawings
Fig. 1 is an overall exploded view of a bladeless fan according to an embodiment of the present invention;
FIG. 2 is a cross-sectional view of the bladeless fan of FIG. 1;
FIG. 3 is a schematic structural diagram of the base in FIG. 1;
FIG. 4 is a schematic view of the base of FIG. 1 in a first orientation;
FIG. 5 is a schematic view of the base of FIG. 1 in a second orientation;
FIG. 6 is a schematic view of the base of FIG. 1 in a third orientation;
FIG. 7 is a schematic view of the base of FIG. 1 in a fourth orientation;
FIG. 8 is a cross-sectional view of the base and screen assembly of FIG. 1 in another orientation;
FIG. 9 is an enlarged view of area A of FIG. 8;
FIG. 10 is a schematic view of the side bar of FIG. 1;
FIG. 11 is an exploded view of the rotating assembly of FIG. 1;
FIG. 12 is a schematic structural view of the rotary support bracket and the second driving member of FIG. 1;
FIG. 13 is a schematic view of the rotational support of FIG. 1 in another orientation;
FIG. 14 is a cross-sectional view of the spin pack assembly, base and screen assembly of FIG. 1;
FIG. 15 is a schematic view illustrating the structure of the shock-absorbing flexible member of FIG. 1;
FIG. 16 is an enlarged view of area B of FIG. 14;
FIG. 17 is a schematic structural view of the conductive assembly of FIG. 1;
fig. 18 is a schematic structural diagram of a conductive holder mounted on a base in another embodiment.
Detailed Description
The technical solution of the present invention will be described clearly and completely with reference to the accompanying drawings, and obviously, the described embodiments are some, but not all embodiments of the present invention. Based on the embodiments in the present invention, all other embodiments obtained by a person skilled in the art without creative work belong to the protection scope of the present invention.
In the description of the present invention, it should be noted that the terms "center", "upper", "lower", "left", "right", "vertical", "horizontal", "inner", "outer", and the like indicate orientations or positional relationships based on the orientations or positional relationships shown in the drawings, and are only for convenience of description and simplification of description, but do not indicate or imply that the mechanism or element referred to must have a specific orientation, be constructed and operated in a specific orientation, and thus, should not be construed as limiting the present invention. Furthermore, the terms "first," "second," and "third" are used for descriptive purposes only and are not to be construed as indicating or implying relative importance.
In the description of the present invention, it is to be noted that, unless otherwise explicitly specified or limited, the terms "mounted," "connected," and "connected" are to be construed broadly, and may be, for example, fixedly connected, detachably connected, or integrally connected; can be mechanically or electrically connected; they may be connected directly or indirectly through intervening media, or they may be interconnected between two elements. The specific meaning of the above terms in the present invention can be understood in specific cases to those skilled in the art.
Furthermore, the technical features mentioned in the different embodiments of the invention described below can be combined with each other as long as they do not conflict with each other.
The bladeless fan of a preferred embodiment of the present invention is capable of generating one or more of a dehumidified airflow, a humidified airflow, a purified airflow, a filtered airflow, a cooled airflow, and a heated airflow, without limitation to the airflow generated and delivered by the bladeless fan. Referring to fig. 1 and 2, the bladeless fan includes the following components: the nozzle assembly comprises a base 7, a nozzle assembly 100 arranged on the base 7, a rotating assembly 8 connecting the base 7 and the nozzle assembly 100, a filter screen assembly 9 enclosed on the base 7, a wind wheel assembly 200 arranged on the rotating assembly 8, a flow deflector assembly 6 arranged on the base 7, a main support assembly 5 and a top shell assembly 4. Wherein the deflector assembly 6, the main support assembly 5, the top housing assembly 4, the rotation assembly 8, the wind wheel assembly 200 and the nozzle assembly 100 disposed on the base 7 are rotatable about a central axis relative to the base 7.
Referring to fig. 2 to 4, a base 71 is disposed below the base 7 to fix the bladeless fan on the contact surface, the base 71 includes a base housing 711 and a plurality of foot pads 712 disposed on the base housing 711, the base housing 711 is similar to a circular structure and includes a bottom housing 713 and a side housing 714 extending outward from the bottom housing 713, the bottom housing 713 is circular, and the bottom housing 713 and the side housing 714 are enclosed to form an accommodation space. The bottom shell 713 is provided with a plurality of cylindrical holes 7131, in this embodiment, the number of the cylindrical holes 7131 is six, the six cylindrical holes 7131 are arranged at equal intervals in the circumferential direction, and the specific number and the position of the cylindrical holes 7131 are not limited. The foot pad 712 may be made of a rubber material, but is not limited to a rubber material. The quantity that the callus on the sole 712 set up is the same with the quantity in cylindrical hole 7131, and every callus on the sole 712 one end is fixed in cylindrical hole 7131, and the fixed mode of callus on the sole 712 can be for the screw fixation, does not do specifically limit here, and the screw thread that increases frictional force is provided with on the surface of the other end of callus on the sole 712, and on base 71 placed ground or desktop, callus on the sole 712 played the effect of support and buffering shock attenuation, and the threaded surface of callus on the sole 712 has increased the frictional force of callus on the sole 712 with the contact surface, has increased bladeless fan's stability. An annular shell 7132 with an opening is formed on the inner wall of the bottom shell 713 in a protruding manner from the bottom shell 713, the annular shell 7132 is closer to the center of the bottom shell 713 than the cylindrical hole 7131, in addition, a plurality of sixth fixing posts 715 are further arranged on the inner wall of the bottom shell 713, specifically, the number of the sixth fixing posts 715 is four and the sixth fixing posts 715 are uniformly distributed in the annular shell 7132, the sixth fixing posts 715 and the bottom shell 713 may be integrally formed, and specific number and positions of the sixth fixing posts 715 are not specifically limited, and the sixth fixing posts 715 and the bottom shell 713 may also be detachably connected, and are not specifically limited herein. Side shell 714 has an opening 7141 formed therein, and a cable positioned within the bladeless fan may be connected to the outside through opening 7141.
Referring to fig. 4 to 7, the base 7 includes a main body housing 72 and a base cavity 73 defined by the main body housing 72, the base 7 is substantially a hollow cylindrical structure, the main body housing 72 is provided with a plurality of small holes 721, the small holes 721 are uniformly and respectively formed on the main body housing 72, the small holes 721 are air inlets of the main body housing 72, in other embodiments, the main body housing 72 may be provided with one or more grilles or grids as air inlets, which is not limited herein. Through which the airflow enters the base cavity 73, and a screen assembly 9 is mounted on the base 7 outside of the air inlet to filter the airflow entering the air inlet and remove any particles that may cause damage to the bladeless fan. Mounted within the base cavity 73 is a wind wheel assembly 200 for drawing an airflow through the air inlet and generating a desired air flow out of the air outlet on the nozzle assembly 100. The base cavity 73 is provided with a blocking plate 731 at the bottom so that the airflow entering the base cavity 73 can move all the way up and towards the wind wheel assembly 200 located on the base 7. The main body case 72 is formed with an extension case 74 extending downward at the bottom, the base 7 has a lower annular flange 741, the lower annular flange 741 extending outward from the extension case 74, the main body case 72 further has an upper annular flange 722, the upper annular flange 722 extending outward from the main body case 72 near the upper end of the main body case 72, and the upper annular flange 722, the lower annular flange 741, the main body case 72, and the extension case 74 may be integrally formed or detachably connected, without being particularly limited thereto. The bottom surface of the lower annular flange 741 is provided with a plurality of fifth fixing posts 7411, the fifth fixing posts 7411 are formed by extending downward from the bottom surface of the lower annular flange 741, the number of the fifth fixing posts 7411 is the same as the number of the cylindrical holes 7131 on the base 71, and the positions of the fifth fixing posts 7411 and the cylindrical holes 7131 are in one-to-one correspondence, when the base 7 is fixed on the base 71, the fifth fixing posts 7411 are inserted into the cylindrical holes 7131 to fix the base 71 and the base 7, at this time, the outer edge of the lower annular flange 741 and the side shell 714 of the base 71 abut against each other, the bottom end of the extension shell 74 enters the accommodating space of the base 71, and is clamped in the annular shell 7132, and a second cavity 75 is formed by the extension shell 74, the blocking plate 731 and the bottom shell 713, as shown in fig. 2.
The upper surface of the upper annular flange 722 is provided with a first annular retainer ring 7221 and a second annular retainer ring 7222, the first retainer ring 7221 and the second retainer ring 7222 are coaxially arranged with the main body housing 72, the first retainer ring 7221 and the second retainer ring 7222 are formed by protruding upward from the upper surface of the upper annular flange 722, and the first retainer ring 7221 is arranged close to the main body housing 72 relative to the second retainer ring 7222. The upper annular flange 722 is provided with at least one locking groove 7223 in the first retainer ring 7221 at a position close to the main body housing 72, in this embodiment, the number of the locking grooves 7223 is four, and the four locking grooves 7223 are circumferentially arranged at equal intervals. Similarly, the outer edge of the upper surface of the upper annular flange 722 is protruded upward to form protruding frames 7224, first concave rings 7225 are formed between the protruding frames 7224 and the upper annular flange 722, in this embodiment, the number of the protruding frames 7224 is two, the two protruding frames 7224 are oppositely located on two sides of the base cavity 73, and the two protruding frames 7224 form a circular ring with two openings, so the number of the first concave rings 7225 is two, the two first concave rings 7225 are oppositely located on two sides of the base cavity 73, the protruding frames 7224 are further provided with through holes 7226 communicated with the first concave rings 7225, the number of the through holes 7226 is six, three through holes 7226 are communicated with one first concave ring 7225 and are circumferentially arranged at equal intervals, and the other three through holes 7226 are communicated with the second concave ring 7225 and are circumferentially arranged at equal intervals.
Referring to fig. 2, a weight 76 for lowering the center of gravity of the base 7 is further disposed in the base 7, and the weight 76 is disposed at the bottom of the base 7 and fixed on the base 7 by a fixing member. Specifically, the weight 76 is located in the second cavity 75, and the structure and material of the weight 76 are not limited herein, in this embodiment, the weight 76 is a rectangular parallelepiped structure, the four corners of the weight 76 are respectively provided with second concave holes (not shown), and the positions of the second concave holes correspond to the positions of the sixth fixing posts 715 arranged on the base 71 one by one, when the weight 76 is placed in the second cavity 75, the base 7 is fixed on the base 71, and the sixth fixing posts 715 arranged on the base 71 are inserted into the second concave holes at the corresponding positions of the weight 76, so as to fix the weight 76 on the base 71, and the sixth fixing posts 715 and the second concave holes may be in threaded engagement, but not limited thereto, and in other embodiments, the fixing manner of the weight may be other, and is not limited herein.
The base 7 is further provided with a nozzle lock bracket 77 for limiting the nozzle assembly 100, the nozzle lock bracket 77 includes a lock bracket body 771 and at least one protruding extension block 772 arranged on the lock bracket body 771, and the protruding extension block 772 is formed by protruding outwards from the inner wall of the lock bracket body 771. In this embodiment, the number of the protruding blocks 772 is three, the three protruding blocks 772 are arranged at equal intervals in the circumferential direction and are arranged in one-to-one correspondence with the positions of the through holes 7226 on the base 7, which are communicated with the first concave ring 7225, when the nozzle lock holder 77 is fixed on the base 7, the lock holder body 771 enters the first concave ring 7225, the protruding blocks 772 protrude out of the base 7 through the through holes 7226 at the corresponding positions, a limit space capable of limiting axial movement is formed between the protruding blocks 772 and the base 7, specifically, the protruding blocks 722 are positioned above the upper annular flange 722, and the limit space is formed between the protruding blocks 722 and the upper annular flange 722. In this embodiment, the quantity that nozzle lock frame 77 set up is two, and two nozzle lock frame 77 set up in the both sides of base 7 relatively, and rotating assembly 8 one end sets up in spacing space in order to fix on base 7 to, rotating assembly 8 can not move at axial direction relative base 7, can't break away from base 7, and rotating assembly 8 can only rotate around the center pin relative base 7, has increased bladeless fan's assembly stability.
The base 7 is provided with two accommodating grooves 78 for accommodating cables, the accommodating grooves 78 extend along the axial direction of the base 7, and the two accommodating grooves 78 are identical and are oppositely arranged on two sides of the base 7. In this embodiment, two receiving slots 78 are formed on the main body housing 72 and the extension housing 74, and specifically, a first tab 781 and a second tab 782 protrude from the main body housing 72, and the first tab 781 and the second tab 782 extend to the extension housing 74 along the axial direction of the main body housing 72. A first baffle 783 is arranged between the first tab 781 and the second tab 782 below the upper annular flange 722, a second baffle 784 is arranged between the first tab 781 and the second tab 782 above the lower annular flange 741, the first tab 781, the second tab 782, the first baffle 783, the second baffle 784 and the main body shell 72 enclose a receiving groove 78 with an opening, and the receiving groove 78 is of a structure similar to a rectangular parallelepiped. At the bottom position of the receiving groove 78, the receiving groove 78 is formed with a third inner recess 785 in the extension case 74 to communicate the receiving groove 78 with the second cavity 75, and a fourth inner recess 786 is formed in the second flap 784 to communicate the receiving groove 78 with the second cavity 75. A cable (not shown) for supplying power to the bladeless fan enters from the opening 7141 of the base 71 and passes through the third or fourth inner recessed hole 785 or 786 into the receptacle 78 for connection to the bladeless fan at a desired location for powering the bladeless fan, the outer end of the cable being connected to a plug for connection to a mains power supply. The cable includes a live wire and a neutral wire. Alternatively, the cable may be divided into at least two strands of electrical wire within the interior of the housing 78 after one strand of electrical wire enters the housing. In addition, the first baffle 783, the first protruding piece 781, and the second protruding piece 782 have a first receiving groove 787 formed above the receiving groove 78, the second baffle 784, the first protruding piece 781, and the second protruding piece 782 have a second receiving groove 788 formed below the receiving groove 78, and the magnet pieces 795 are fixedly received in the first receiving groove 787 and the second receiving groove 788, as shown in fig. 2.
Referring to fig. 8 to 10, the base 7 is further provided with side bars 79 for closing the receiving slots 78, the side bars 79 are similar to rectangular parallelepiped structures, accordingly, the number of the side bars 79 is two, and the two side bars 79 respectively close the opening of one receiving slot 78. A plurality of second reinforcing ribs 791 are provided on the inner wall of the side bar 79 to increase the strength of the side bar 79. The receiving groove 78 is provided with a first step surface 789, the side bar 79 is provided with a second step surface 792 matched with the first step surface 789, specifically, both the first tab 781 and the second tab 782 of the receiving groove 78 are provided with the first step surface 789 at one end far away from the main body housing 72, the side bar 79 is provided with a first side wall 793 and a second side wall 794 respectively butted with the first tab 781 and the second tab 782, the first side wall 793 and the second side wall 794 are provided with a second step surface 792 at one end butted with the first tab 781 and the second tab 782, and the second step surface 792 is clamped with the first step surface 789 to clamp the side bar 79 in the receiving groove 78. The side bar 79 is inserted into the base 7 from above the base 7 and engaged with the housing groove 78, and at this time, the first step surface 789 and the second step surface 792 are engaged to fix the side bar 79 with the housing groove 78, so that the cable housed in the housing groove 78 is hidden, the wiring is facilitated, the cable is not disordered and exposed, and the appearance of the bladeless fan is improved.
In addition, in order to further fix the side edge strips 79 in the receiving slots 78, the first tab 781 and the second tab 782 of the receiving slots 78 are provided with fixing blocks 780 at an end away from the main body case 72, see fig. 6, the fixing block 780 is formed to protrude outward from the first protruding piece 781 or the second protruding piece 782, the side edge strip 79 is formed to protrude outward from the second reinforcing rib 791 at a position close to the first side wall 793 and the second side wall 794 with a fixing strip 796, the fixing strip 796 has a fixing baffle 7961 and an extension plate 7962 formed to extend downward from the fixing baffle 7961, the extension plate 7962 being higher than the first side wall 793 or the second side wall 794, when the side edge strips 79 are inserted into the base 7 from the upper part of the base 7 and are matched with the containing grooves 78, the fixing blocks 780 support against the fixing strips 796, and the fixing block 780 is positioned between the fixing baffle 7961 and the extension plate 7962, so that the matching stability of the side edge strip 79 and the accommodating groove 78 is improved. The top of side bars 79 have fixing tabs 797, and when two side bars 79 are fixed to base 71, two fixing tabs 797 are inserted into two openings formed by two protruding frames 7224 to form a complete ring with two protruding frames 7224.
The screen assembly 9 is mounted between the upper and lower annular flanges 722, 741, and the screen assembly 9 is disposed on either side of the side bar 79, the side bar 79 being connected to the screen assembly 9 and securing the screen assembly 9 to the base 7. Adopt the mode of magnetism to be connected between side strake 79 and the filter screen subassembly 9, specifically, the last joint of filter screen subassembly 9 has inhaled the piece, and side strake 79 has respectively installed a magnet piece 795 in upper end and lower extreme department, magnet piece 795 in first storage tank 787 and the second storage tank 788 promptly. However, the connection of the side bars 79 to the screen assembly 9 is not limited thereto, and is not limited thereto.
Referring to fig. 11, in order to drive the nozzle assembly 100 to rotate around the central axis relative to the base 7 to change the horizontal wind direction of the bladeless fan, the bladeless fan further comprises a second driving member 811 for providing power and a transmission assembly for transmitting the power to the nozzle assembly 100, the transmission assembly is disposed between the base 7 and the nozzle assembly 100, and the nozzle assembly 100 is rotated relative to the base 7 through the transmission assembly. In this embodiment, the bladeless fan further comprises a rotating assembly 8 connecting the base 7 and the nozzle assembly 100, the nozzle assembly 100 is fixed on the rotating assembly 8, the rotating assembly 8 is used for driving the nozzle assembly 100 to rotate relative to the base 7, therefore, the second driving member 811 and the transmission assembly are disposed between the rotating assembly 8 and the base 7, and the rotating assembly 8 comprises a rotating support 82 connecting the base 7 and the nozzle assembly 100.
Referring to fig. 12 and 13, one end of the rotary support 82 is fixedly connected to the nozzle assembly 100, and the other end is rotatably connected to the base 7. In this embodiment, the rotating support frame 82 is generally a hollow cylinder structure, the rotating support frame 82 includes a support frame housing 821, the support frame housing 821 is a similar hollow cylinder structure, the rotating support frame 82 has an extension portion 822, the extension portion 822 extends downward along the axial direction of the support frame housing 821 after protruding outward from the inner wall of the support frame housing 821, and then extends outward along the horizontal direction, the cross section of the extension portion 822 is similar to a zigzag structure, a third receiving groove 823 is formed by surrounding the extension portion 822 and the support frame housing 821, the number of the extension portions 822 is four, the four extension portions 822 are circumferentially arranged at equal intervals along the inner wall of the support frame housing 821, and an annular receiving space is formed by the four third receiving grooves 823. In addition, each extending portion 822 is provided with a pillar 824, the pillar 824 is formed by protruding outward from the extending portion 822, the position of the pillar 824 on each extending portion 822 is the same, and the pillar 824 extends along the axis of the support frame housing 821. Two second receiving cavities 825 are also formed on the outer wall of the support frame housing 821. When the rotating assembly 8 is disposed on the base 7, one end of the rotating support frame 82 is disposed in a limiting space formed by the nozzle lock frame 77 and the base 7, specifically, the bottom of the support frame housing 821 extends outward from the support frame housing 821 to form a support frame flange 826, the support frame flange 826 is disposed in the limiting space, and the rotating support frame 82 may be mounted in a manner that the rotating support frame 82 is first placed on the base 7, then the two nozzle lock frames 77 are mounted on the base 7, and the protruding block 772 is disposed above the support frame flange 826, so as to limit the movement of the rotating support frame 82 in the axial direction, and increase the stability of the bladeless fan.
The transmission assembly includes a ring gear 812 and a pinion 813 engaged with the ring gear 812, the ring gear 812 is disposed on one of the base 7 and the nozzle assembly 100, the pinion 813 is disposed on the other of the base 7 and the nozzle assembly 100, the specific positions where the ring gear 812 and the pinion 813 are disposed are not limited, in this embodiment, the pinion 813 is disposed on the nozzle assembly 100, specifically, the pinion 813 is disposed on the rotary support frame 82, and the ring gear 812 is fixed on the base 7.
The second driving member 811 is mounted on the rotary supporting frame 82, the second driving member 811 is a motor with a second output shaft 814, and the pinion 813 is sleeved on the second output shaft 814. The second driving member 811 is fixed to the support frame housing 821 of the rotary support frame 82, and the second output shaft 814 of the motor is located below the motor and extends into the third receiving groove 823 formed by the support frame housing 821 and the extending portion 822. The outer wall of the ring gear 812 is provided with a plurality of teeth which mesh with the pinions 813, and in this embodiment, the teeth are formed on the upper half portion of the outer wall of the ring gear 812, and the teeth are arranged along the axial direction of the ring gear 812, but the teeth are not limited thereto, and may be formed on the entire outer wall of the ring gear 812. At least one fixture block 815 is disposed on the ring gear 812, the fixture block 815 is formed by extending downward from the ring gear 812, the at least one fixture block 815 is disposed at equal intervals in the circumferential direction, in this embodiment, the number of the fixture blocks 815 is four, and the specific number of the fixture blocks 815 is not limited. It should be noted that the latch 815 and the ring gear 812 may be detachably fixed. The base 7 is provided with a locking groove 7223 matched with the locking block 815, and the locking block 815 is inserted into the locking groove 7223 at the corresponding position to fix the ring gear 812 on the base 7. The ring gear 812 is provided with a fourth receiving groove 816, and specifically, the fourth receiving groove 816 is formed at an upper portion of the ring gear 812.
One end of the ring gear 812, which is away from the base 7, extends into a third receiving groove 823 formed by the support frame housing 821 and the extending portion 822, and the pinion 813 and the ring gear 812 mesh in the third receiving groove 823. The motor rotates the pinion 813 so that the pinion 813 and the ring gear 812 rotate relative to each other, the ring gear 812 is fixed to the base 7 so that the motor and the pinion 813 rotate relative to the ring gear 812 and the base 7, the motor is fixed to the rotary support frame 82 so that the motor rotates the rotary support frame 82 relative to the ring gear 812 and the base 7, and the nozzle assembly 100 and the wind wheel assembly 200 are fixed to the rotary support frame 82 so that the nozzle assembly 100 and the wind wheel assembly 200 rotate relative to the base 7 in synchronization with the rotary support frame 82.
Referring to fig. 14 and 15 in conjunction with fig. 1 and 11, a shock absorbing flexible member 83 is disposed between the wind wheel assembly 200 and the rotating support frame 82. The vibration-absorbing flexible member 83 includes a fixing portion 831 fixed in the wind wheel assembly 200 and a vibration-absorbing portion 832 clamped between the wind wheel assembly 200 and the rotating support frame 82, the fixing portion 831 and the vibration-absorbing portion 832 are integrally formed, the vibration-absorbing flexible member 83 is connected with the rotating support frame 82 through a first connecting member 833, and the first connecting member 833 and the vibration-absorbing flexible member 83 together limit circumferential rotation of the wind wheel assembly 200 relative to the rotating support frame 82.
In this embodiment, the first connecting member 833 is a pin 833, but the first connecting member 833 is not limited to the pin 833 and can be other members for connecting and fixing, such as a long rod. The pin 833 is partially inserted into the rotating bracket 82, and a first fixing hole 827 is formed in the rotating bracket 82, as shown in fig. 12, in this embodiment, the first fixing hole 827 is formed in the pillar 824 of the extension 822, and the pin 833 is partially inserted into the first fixing hole 827. Another portion of the pin 833 is inserted into the shock absorbing flexible member 83 to fix the shock absorbing flexible member 83 and the rotary support bracket 82, the shock absorbing portion 832 is formed with an insertion hole 834 at an end adjacent to the rotary support bracket 82, and the pin 833 is partially inserted into the insertion hole 834. The insertion hole 834 may penetrate the damping portion 832 and extend into the fixing portion 831, and it is contemplated that the insertion hole 834 may also be a through hole penetrating the damping portion 832 and the fixing portion 831, and a specific formation position of the insertion hole 834 is not limited herein.
The wind wheel assembly 200 is provided with a second fixing hole 2011, and the fixing portion 831 is inserted into the second fixing hole 2011, thereby fixing the shock absorbing flexible member 83 and the wind wheel assembly 200. In other embodiments, the fixing portion 831 may also clamp the wind wheel assembly 200 to fix the wind wheel assembly 200 and the shock absorbing flexible member 83. The wind wheel assembly 200 is fixed to the rotation support frame 82 by the shock absorbing flexible member 83.
In this embodiment, the shock absorbing flexible member 83 is shaped like an arrow, the shock absorbing portion 832 is shaped like a cone, the fixing portion 831 is shaped like a cylinder, and the diameter of the fixing portion 831 is smaller than the maximum diameter of the shock absorbing portion 832, but the shock absorbing flexible member 83 may have other structures, for example, the shock absorbing portion 832 is shaped like a rectangular parallelepiped, a cylinder, etc., which are not listed here. The wind-absorbing flexible member 83 is made of an elastic material, when the wind-absorbing flexible member 83 is fixed to the rotation supporter 82 through the first connection member 833, the wind turbine assembly 200 is fixed to the wind-absorbing flexible member 83 through the fixing portion 831, since the diameter of the fixing portion 831 is smaller than the maximum diameter of the vibration absorbing portion 832, the wind turbine assembly 200 is at least partially positioned above the vibration absorbing portion 832, thereby limiting the wind turbine assembly 200 from moving downward in the axial direction with respect to the rotation supporter 82, since the wind-absorbing flexible member 83 is made of an elastic material, a vibration-absorbing effect is provided between the wind turbine assembly 200 and the rotation supporter 82, and further, since the fixing portion 831 is inserted into the wind turbine assembly 200, the wind turbine assembly 200 is limited from moving in the circumferential direction with respect to the rotation supporter 82, and a further vibration-absorbing effect is provided due to the elastic property of the fixing portion 831. The number of the shock-absorbing flexible members 83 is four, and the four shock-absorbing flexible members 83 are circumferentially arranged at equal intervals to stably fix the wind wheel assembly 200 to the rotating support frame 82, but in other embodiments, the number of the shock-absorbing flexible members 83 may be other, which is not particularly limited herein, and the shock-absorbing flexible members 83 enhance the stability of the bladeless fan.
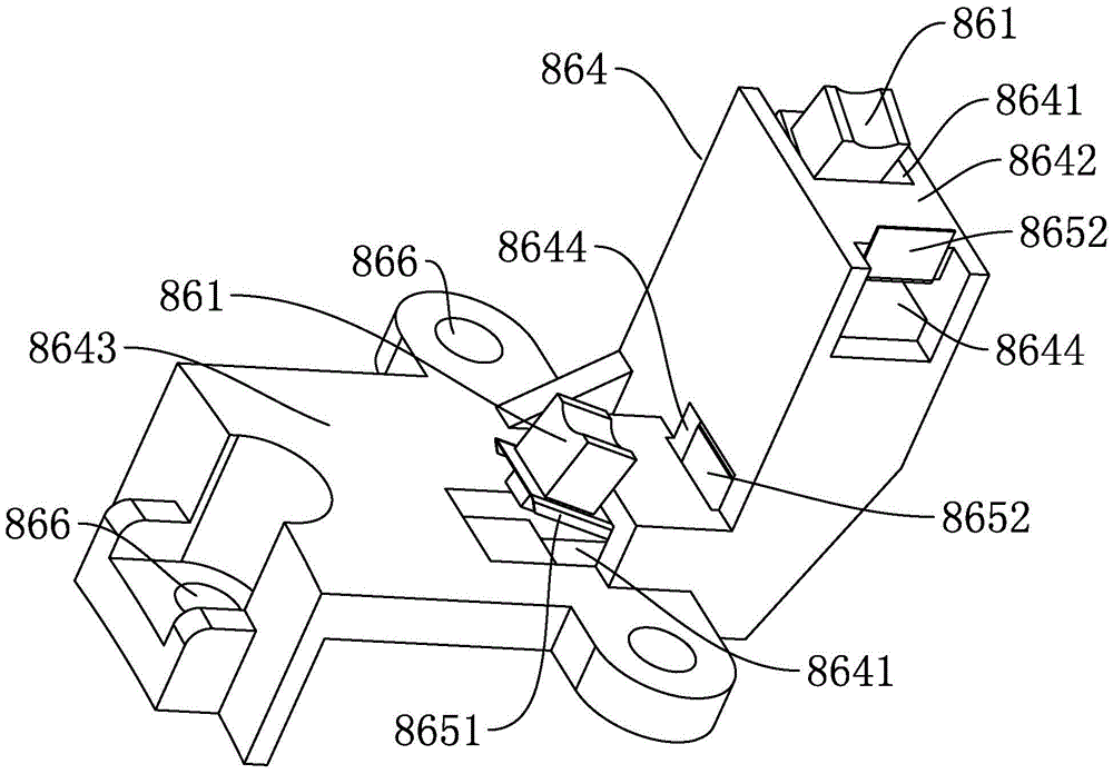
Referring to fig. 14 and 16, a bearing 84 is disposed between the rotating assembly 8 and the base 7 to increase the rotational smoothness of the nozzle assembly 100 disposed on the base 7 and the rotating assembly 8 relative to the base 7, reduce the friction loss between the rotating assembly 8 and the base 7, and increase the service life of the bladeless fan, and the rotating assembly 8, the bearing 84, and the base 7 are arranged along the axial direction. The bearing 84 is an annular structure, and includes a lower bearing shell 841 disposed on the base 7, an upper bearing shell 842 abutted against the rotary support frame 82, a retainer 843 disposed between the upper bearing shell 842 and the lower bearing shell 841, and balls 844 disposed in the retainer 843, and a plurality of concave holes 8431 for mounting the balls 844 are disposed in the retainer 843, as shown in fig. 11. A plurality of concave holes 8431 are equidistantly arranged on the retainer 843, the balls 844 are installed in the concave holes 8431, and the balls 844 are positioned between the upper bearing shell 842 and the lower bearing shell 841, so that the upper bearing shell 842 and the lower bearing shell 841 smoothly rotate relatively.
The base 7 is provided with a second concave ring 7227, the second concave ring 7227 is an accommodating space formed by the ring gear 812 and the first limit ring 7221 after the ring gear 812 is fixed on the base 7, and the bearing lower shell 841 is positioned in the second concave ring 7227, so that the bearing lower shell 841 and the base 7 are relatively fixed. The bottom of the rotating support frame 82 is provided with a third step surface 828, and the third step surface 828 is clamped with the bearing upper shell 842. Specifically, the third step surface 828 at the bottom of the rotating support frame 82 is formed by inwardly recessing from the inner wall of the support frame housing 821, after the third step surface 828 is clamped with the bearing upper housing 842, the third step surface 828 and the upper surface of the bearing upper housing 842 and the inner surface of the bearing upper housing 842 are both abutted against each other, the bearing 84 bears the weight of the rotating support frame 82 and the components mounted on the rotating support frame 82, and when the rotating assembly 8 and the nozzle assembly 100 rotate relative to the base 7, the rotating support frame can rotate smoothly.
The bladeless fan further comprises a steering sensing assembly for detecting a rotation state of the nozzle assembly 100 relative to the base 7, wherein the rotation state comprises parameters such as a rotation direction and a rotation position. Referring to fig. 11 and 12, the steering sensing assembly includes a first magnet 851 disposed in the fourth receiving groove 816 of the ring gear 812, and a centering hall PCBA plate 852 and a limiting hall PCBA plate 853 disposed on the rotary supporting frame 82, and specifically, the centering hall PCBA plate 852 and the limiting hall PCBA plate 853 are respectively mounted in two second receiving cavities 825 of the rotary supporting frame 82. It should be noted that the hall sensors mounted on the rotating support frame 82 are not limited to the centering hall PCBA board 852 and the limiting hall PCBA board 853, and may be other sensors, which are not specifically limited herein. Indeed, in other embodiments, the first magnet 851 may be disposed on the rotary support bracket 82, while the centering hall PCBA plate 852 and the limit hall PCBA plate 853 are disposed on the ring gear 812 or the base 7, which is not particularly limited herein, depending on the actual situation. When the rotating support bracket 82 rotates relative to the ring gear 812, the centering hall PCBA plate 852 cooperates with the first magnet 851 to determine the position of rotation of the rotating support bracket 82, and the limit hall PCBA plate 853 cooperates with the first magnet 851 to determine the maximum limit position of rotation of the rotating support bracket 82, thereby determining the rotational orientation and rotational angle of the rotating support bracket 82, to obtain the position and rotational angle of the confirmation nozzle during rotation of the nozzle assembly 100, to improve the rotational accuracy of the nozzle assembly 100.
Referring to fig. 11 and 12, and fig. 17, the bladeless fan further includes a power supply assembly for supplying power to the rotating nozzle assembly 100 and a motor for driving the nozzle assembly 100 to rotate, the power supply assembly includes a conductive assembly having a contact 861 and a conductive ring 862 electrically contacting an end surface of the contact 861, the conductive assembly may be disposed on one of the base 7 and the rotating assembly 8, the conductive ring 862 may be disposed on the other of the base 7 and the rotating assembly 8, and the conductive assembly and the conductive ring 862 are disposed at specific positions, which is not limited herein. In this embodiment, a conductive member having contacts 861 is disposed on the base 7 and a conductive ring 862 is disposed on the rotating member 8.
The conductive ring 862 has an open annular structure and an L-shaped cross section, the conductive ring 862 may be fixed to the rotating assembly 8 by sleeving the conductive assembly 8, a plurality of protruding bars 863 are formed on the conductive ring 862, the protruding bars 863 protrude upwards from the conductive ring 862, and the protruding bars 863 and the conductive ring 862 are integrally formed, but not limited thereto, the protruding bars 863 may also be fixed to the conductive ring 862 by fastening with screws, gluing, or the like. The conducting ring 862 comprises a positive conducting ring 862 and a negative conducting ring 862, the structures of the positive conducting ring 862 and the negative conducting ring 862 are completely the same, one of the positive conducting ring 862 and the negative conducting ring 862 is disposed on the rotating support frame 82, the rotating assembly 8 further comprises a conducting ring fixing frame 87 disposed on the rotating support frame 82, and the other of the positive conducting ring 862 and the negative conducting ring 862 is disposed on the conducting ring fixing frame 87. Specifically, the conducting ring fixing frame 87 is sleeved on the rotating support frame 82, and the conducting ring fixing frame 87 is fixed on the rotating support frame 82 through a locking piece (not shown), a first locking hole 871 and a second locking hole 829 matched with the locking piece are respectively formed on the conducting ring fixing frame 87 and the rotating support frame 82, the first locking hole 871 and the second locking hole 829 are correspondingly arranged, the locking piece can be a screw, the first locking hole 871 and the second locking hole 829 are threaded holes matched with the screw in a threaded manner, but the fixing modes of the conducting ring fixing frame 87 and the rotating support frame 82 are not limited to this, which is not listed one by one. The conducting ring fixing frame 87 is circumferentially provided with a plurality of fifth receiving grooves 872 matched with the protruding strips 863, when the conducting ring 862 is fixed on the conducting ring fixing frame 87, the conducting ring 862 is attached to the side surface and the bottom surface of the conducting ring fixing frame 87, and the protruding strips 863 are inserted into the corresponding fifth receiving grooves 872 so as to fix the conducting ring 862 on the conducting ring fixing frame 87. Similarly, a plurality of sixth receiving slots 8261 are circumferentially formed in the support frame flange 826 of the rotary support frame 82 and are engaged with the protrusions 863, when the conductive ring 862 is fixed to the rotary support frame 82, the conductive ring 862 fits to the side and bottom surfaces of the support frame flange 826, and the protrusions 863 are inserted into the corresponding sixth receiving slots 8261 to fix the conductive ring 862 to the rotary support frame 82, where the fixing manner of the conductive ring 862 is not specifically limited. One face of the positive conducting ring 862 and the negative conducting ring 862 face the conducting member disposed on the base 7.
Referring to fig. 5, the conductive assembly includes a conductive holder 864 fixed on the substrate 7, and a conductive sheet disposed on the conductive holder 864, wherein the conductive sheet includes a resilient arm 8651 disposed on the conductive holder 864, and a contact 861 disposed on the resilient arm 8651. The contact 861 comprises an anode contact 861 and a cathode contact 861, an anode conducting ring 862 is in electrical contact with the end face of the anode contact 861, a cathode conducting ring 862 is in electrical contact with the end face of the cathode contact 861, and when the rotating support frame 82 rotates relative to the base 7, end faces of the conducting ring 862 are always in contact with the contact 861. The elastic arm 8651 includes a first end fixed to the conductive holder 864 and a second end to which the contact 861 is fixed. The resilient arm 8651 is fixed at a first end and is not fixed at a second end, the resilient arm 8651 is of a U-like configuration, the resilient arm 8651 has an upward bend 8652 at the first end to facilitate the fixing of the resilient arm 8651, and the second end of the resilient arm 8651 is bent upward relative to the first end to apply an upward force to the contact 861 fixed on the second end, so that the contact 861 is movable in an axial direction relative to the base 7.
Referring to fig. 6, the base 7 is provided with a seventh receiving groove 723 located above the receiving groove 78, wherein the seventh receiving groove 723 is communicated with one of the first receiving grooves 787 and located above the first receiving groove 787, the conductive fixing seat 864 is fixed in the seventh receiving groove 723 and located above the magnet block 795, the conductive fixing seat 864 and the base 7 are fixed by a fixing member (not shown), the conductive fixing seat 864 and the base 7 are provided with third fixing holes 866 matched with the fixing member, the fixing member may be a screw, the third fixing holes 866 are screw holes, and the conductive fixing seat 864 and the base 7 are fixed by screw-thread matching of the screw and the screw holes. Indeed, in other embodiments, the fixing manner of the conductive fixing seat 864 and the base 7 is other, such as a clamp connection, etc., and the number and distribution positions of the third fixing holes 866 are not limited herein. In order to make the contact 861 and the conductive ring 862 fully contact, two adjacent conductive holders 864 may be installed in one seventh receiving slot 723, and referring to fig. 18, the specific installation number of the conductive holders 864 is not specifically limited herein.
Referring to fig. 17, a first concave hole 8641 is disposed on the conductive holder 864, a second end of the elastic arm 8651 traverses the first concave hole 8641, and the contact 861 is located above the first concave hole 8641, specifically, the conductive holder 864 is of a step-like structure and has a first plane 8642 and a second plane 8643 located below the first plane 8642, one of the positive contact 861 and the negative contact 861 is disposed on the first plane 8642, and the other of the positive contact 861 and the negative contact 861 is disposed on the second plane 8643, which is not limited in this respect. Each of the first plane 8642 and the second plane 8643 has a first concave hole 8641, and further, on one side of the first concave hole 8641, each of the first plane 8642 and the second plane 8643 has a mounting hole 8644 formed therein, a bent portion 8652 of the elastic arm 8651 is fixed to a side wall of the mounting hole 8644, and the elastic arm 8651 is located below the first plane 8642 or the second plane 8643 with a second end facing the first concave hole 8641 and passing through the first concave hole 8641, and the contact 861 is located on an upper surface of the second end and facing the conductive ring 862. When the rotating assembly 8 is mounted on the base 7, the positive conductive ring 862 and the negative conductive ring 862 are in contact with the corresponding positive contact 861 and the negative contact 861, and the positive conductive ring 862 and the negative conductive ring 862 apply a force to move the positive contact 861 and the negative contact 861 downward, but the elastic arm 8651 applies a force to move the contact 861 upward, so that the conductive ring 862 is in contact with the contact 861 more tightly, and the stability of supplying power to the rotating nozzle assembly 100 and the like is high. In this embodiment, the contact 861 is disposed upward, i.e., top contact power supply can be achieved, in other embodiments, referring to fig. 18, the contact 861 may be disposed at a side of the conductive holder 864, i.e., side contact power supply can be achieved, and a power supply manner may be selected according to actual needs, which is not limited herein.
The technical features of the above embodiments can be arbitrarily combined, and for the sake of brevity, all possible combinations of the technical features in the above embodiments are not described, but should be considered as the scope of the present specification as long as there is no contradiction between the combinations of the technical features.
The above examples only represent some embodiments of the present invention, and the description thereof is more specific and detailed, but not to be construed as limiting the scope of the present invention. It should be noted that, for those skilled in the art, without departing from the spirit of the present invention, several variations and modifications can be made, which are within the scope of the present invention. Therefore, the protection scope of the present invention should be subject to the appended claims.

Claims (11)

1.一种无叶风扇,其特征在于,所述无叶风扇包括基座、设置在所述基座上的喷嘴组件,所述基座上设置有用以给所述喷嘴组件供电的导电组件,所述导电组件包括固定在所述基座上的导电固定座、以及设置在所述导电固定座上的导电片。1. A bladeless fan, characterized in that the bladeless fan comprises a base, a nozzle assembly disposed on the base, and a conductive assembly for supplying power to the nozzle assembly is disposed on the base, The conductive component includes a conductive fixing seat fixed on the base, and a conductive sheet arranged on the conductive fixing seat. 2.如权利要求1所述的无叶风扇,其特征在于,所述导电片包括设置在所述导电固定座的弹性臂,以及设置在所述弹性臂上的触点,所述弹性臂包括第一端和第二端,所述第一端固定在所述导电固定座上,所述第二端固定有所述触点。2 . The bladeless fan according to claim 1 , wherein the conductive sheet comprises an elastic arm provided on the conductive fixing base, and a contact provided on the elastic arm, the elastic arm comprising: 2 . A first end and a second end, the first end is fixed on the conductive fixing base, and the second end is fixed with the contact. 3.如权利要求2所述的无叶风扇,其特征在于,所述导电固定座上设置有第一通孔,所述弹性臂的第二端横穿所述第一通孔,所述触点位于所述第一通孔上方。3 . The bladeless fan according to claim 2 , wherein a first through hole is provided on the conductive fixing base, the second end of the elastic arm traverses the first through hole, and the contact The dot is above the first through hole. 4.如权利要求3所述的无叶风扇,其特征在于,所述触点可相对基座在轴向方向移动。4. The bladeless fan of claim 3, wherein the contact is movable relative to the base in an axial direction. 5.如权利要求2所述的无叶风扇,其特征在于,所述触点包括正极触点和负极触点。5. The bladeless fan of claim 2, wherein the contacts comprise a positive contact and a negative contact. 6.如权利要求1所述的无叶风扇,其特征在于,所述基座上设置有第七凹槽,所述导电固定座固定在所述第七凹槽内。6 . The bladeless fan of claim 1 , wherein a seventh groove is provided on the base, and the conductive fixing base is fixed in the seventh groove. 7 . 7.如权利要求6所述的无叶风扇,其特征在于,所述导电固定座和所述基座通过固定件固定,所述导电固定座和所述基座上设置有与所述固定件配合的第三固定孔。7 . The bladeless fan according to claim 6 , wherein the conductive fixing base and the base are fixed by a fixing member, and the conductive fixing base and the base are provided with the fixing member. 8 . The matching third fixing hole. 8.如权利要求1所述的无叶风扇,其特征在于,所述基座上设置有用以限位所述喷嘴组件的喷嘴锁架,所述喷嘴锁架包括锁架主体、以及设在所述锁架主体上的至少一个凸伸块,所述凸伸块自所述锁架主体内壁向外凸伸形成的。8 . The bladeless fan according to claim 1 , wherein a nozzle lock frame for limiting the nozzle assembly is provided on the base, and the nozzle lock frame comprises a lock frame main body and a nozzle lock frame provided on the base. 9 . At least one protruding block on the main body of the lock frame is formed by protruding outward from the inner wall of the main body of the lock frame. 9.如权利要求8所述的无叶风扇,其特征在于,所述基座上设置有收容所述锁架主体的第一凹环以及与所述第一凹环连通的穿孔,所述穿孔与所述凸伸块一一对应设置。9 . The bladeless fan of claim 8 , wherein the base is provided with a first concave ring for accommodating the lock frame body and a through hole communicating with the first concave ring, and the through hole is provided with 9 . They are arranged in a one-to-one correspondence with the protruding blocks. 10.如权利要求9所述的无叶风扇,其特征在于,所述凸伸块穿过所述穿孔凸伸出所述基座,所述凸伸块与所述基座之间形成可限制轴向移动的限位空间。10 . The bladeless fan according to claim 9 , wherein the protruding block protrudes out of the base through the through hole, and a restraint is formed between the protruding block and the base. 11 . Limit space for axial movement. 11.如权利要求10所述的无叶风扇,其特征在于,所述喷嘴组件和所述基座之间设置有旋转支撑架,所述旋转支撑架一端设置在所述限位空间内。11 . The bladeless fan of claim 10 , wherein a rotating support frame is disposed between the nozzle assembly and the base, and one end of the rotating support frame is disposed in the limiting space. 12 .
CN202021308108.4U 2020-07-06 2020-07-06 Bladeless fan Active CN212928276U (en)

Priority Applications (1)

Application Number Priority Date Filing Date Title
CN202021308108.4U CN212928276U (en) 2020-07-06 2020-07-06 Bladeless fan

Applications Claiming Priority (1)

Application Number Priority Date Filing Date Title
CN202021308108.4U CN212928276U (en) 2020-07-06 2020-07-06 Bladeless fan

Publications (1)

Publication Number Publication Date
CN212928276U true CN212928276U (en) 2021-04-09

Family

ID=75328445

Family Applications (1)

Application Number Title Priority Date Filing Date
CN202021308108.4U Active CN212928276U (en) 2020-07-06 2020-07-06 Bladeless fan

Country Status (1)

Country Link
CN (1) CN212928276U (en)

Similar Documents

Publication Publication Date Title
CN107313958B (en) Driving assembly for fan and fan with driving assembly
KR102147730B1 (en) Blowers with BMC motor that increase ventilation volume and minimize vibration noise
KR101539321B1 (en) generator with roof exhaust fan
CN212389559U (en) Bladeless fan
CN212928277U (en) Bladeless fan
CN212536210U (en) Bladeless fan
CN212838508U (en) Bladeless fan
CN212838528U (en) fan base
CN110249137B (en) Fan blower
CN212928276U (en) Bladeless fan
CN212803664U (en) Bladeless fan
US20060147310A1 (en) Ceiling fan motor with stationary shaft
CN111852922B (en) bladeless fan
US11156225B2 (en) Flow generating device
CN111648995A (en) Bladeless fan
CN220646266U (en) Machine head and fan
CN220822781U (en) Novel high-speed blowing motor of external rotor
CN216142936U (en) Rotating structure of fan and integrated fan
CN117108531A (en) Machine head and fan
CN212838644U (en) Bladeless fan
CN115681177B (en) Air conditioning blower structure for new energy vehicles
KR101828065B1 (en) Fan motor and electronic device having the same
CN111648990A (en) Bladeless fan
CN111561469A (en) Fan base
CN111648991A (en) Bladeless fan

Legal Events

Date Code Title Description
GR01 Patent grant
GR01 Patent grant
TR01 Transfer of patent right
TR01 Transfer of patent right

Effective date of registration: 20250407

Address after: Units 1, 2, and 3, Building 8, No. 1688 Songwei Road, Guoxiang Street, Wuzhong Economic Development Zone, Suzhou City, Jiangsu Province, 215000

Patentee after: Dreame technology (Suzhou) Co.,Ltd.

Country or region after: China

Address before: Room j4656, block B, 925 Yecheng Road, Jiading District, Shanghai

Patentee before: Chase Technology (Shanghai) Co.,Ltd.

Country or region before: China