CN212904743U - Atmospheric pollution monitoring alarm device - Google Patents

Atmospheric pollution monitoring alarm device Download PDF

Info

Publication number
CN212904743U
CN212904743U CN202021278605.4U CN202021278605U CN212904743U CN 212904743 U CN212904743 U CN 212904743U CN 202021278605 U CN202021278605 U CN 202021278605U CN 212904743 U CN212904743 U CN 212904743U
Authority
CN
China
Prior art keywords
detection box
transmission
plate
cavity
detection
Prior art date
Legal status (The legal status is an assumption and is not a legal conclusion. Google has not performed a legal analysis and makes no representation as to the accuracy of the status listed.)
Expired - Fee Related
Application number
CN202021278605.4U
Other languages
Chinese (zh)
Inventor
于长林
Current Assignee (The listed assignees may be inaccurate. Google has not performed a legal analysis and makes no representation or warranty as to the accuracy of the list.)
Energy Saving Sincerity Hebei Environmental Protection Technology Co ltd
Original Assignee
Energy Saving Sincerity Hebei Environmental Protection Technology Co ltd
Priority date (The priority date is an assumption and is not a legal conclusion. Google has not performed a legal analysis and makes no representation as to the accuracy of the date listed.)
Filing date
Publication date
Application filed by Energy Saving Sincerity Hebei Environmental Protection Technology Co ltd filed Critical Energy Saving Sincerity Hebei Environmental Protection Technology Co ltd
Priority to CN202021278605.4U priority Critical patent/CN212904743U/en
Application granted granted Critical
Publication of CN212904743U publication Critical patent/CN212904743U/en
Expired - Fee Related legal-status Critical Current
Anticipated expiration legal-status Critical

Links

Images

Classifications

    • YGENERAL TAGGING OF NEW TECHNOLOGICAL DEVELOPMENTS; GENERAL TAGGING OF CROSS-SECTIONAL TECHNOLOGIES SPANNING OVER SEVERAL SECTIONS OF THE IPC; TECHNICAL SUBJECTS COVERED BY FORMER USPC CROSS-REFERENCE ART COLLECTIONS [XRACs] AND DIGESTS
    • Y02TECHNOLOGIES OR APPLICATIONS FOR MITIGATION OR ADAPTATION AGAINST CLIMATE CHANGE
    • Y02ATECHNOLOGIES FOR ADAPTATION TO CLIMATE CHANGE
    • Y02A50/00TECHNOLOGIES FOR ADAPTATION TO CLIMATE CHANGE in human health protection, e.g. against extreme weather
    • Y02A50/20Air quality improvement or preservation, e.g. vehicle emission control or emission reduction by using catalytic converters

Landscapes

  • Sampling And Sample Adjustment (AREA)

Abstract

本实用新型公开了一种大气污染监测报警设备,包括检测箱、吸气结构、集气盘、风机和升降结构,所述检测箱底部处开设有安装腔,安装腔内设置有升降结构,升降结构上设置有滑轮、所述检测箱顶部处设置有吸气结构,所述检测箱内部设置有集气盘,所述集气盘与检测腔顶部一端通过连通管连通,连通管的中段处设置有风机,检测腔内部交错等距固定有遮挡板,检测腔内从左到右依次设置有PM2.5检测器、二氧化碳检测器、温度检测器和湿度检测器,且连通处铰接安装有盖覆板,所述检测箱的外侧边对应盖覆板顶部处设置有推把。该大气污染监测报警设备,设计合理,能在工作时多方位的进行吸气采集,同时方便装置移动,适合推广使用。

Figure 202021278605

The utility model discloses an air pollution monitoring and alarming device, which comprises a detection box, a suction structure, a gas collecting plate, a fan and a lifting structure. An installation cavity is opened at the bottom of the detection box, and a lifting structure is arranged in the installation cavity. The structure is provided with a pulley, the top of the detection box is provided with a suction structure, and the detection box is provided with a gas collecting plate. There is a fan, and there are staggered and equidistant shielding plates inside the detection chamber. The detection chamber is provided with PM2.5 detector, carbon dioxide detector, temperature detector and humidity detector in sequence from left to right, and the connecting part is hingedly installed with a cover The outer side of the detection box is provided with a push handle corresponding to the top of the cover plate. The air pollution monitoring and alarming equipment has a reasonable design, can perform inhalation collection in multiple directions during work, and is convenient for the movement of the device, and is suitable for popularization and use.

Figure 202021278605

Description

Atmospheric pollution monitoring alarm device
Technical Field
The utility model belongs to the technical field of the atmosphere pollution detects, concretely relates to atmosphere pollution monitoring alarm equipment.
Background
Atmospheric pollution is a phenomenon in which certain substances enter the atmosphere due to human activities or natural processes, present sufficient concentrations for a sufficient time, and thus endanger the comfort, health and welfare of the human body or the environment, and when the concentration rises to a certain extent, it may cause acute or chronic harm directly or indirectly to human, living things, materials, or the like. The purpose of atmospheric pollution monitoring is to identify pollutants in the atmosphere, master the distribution and diffusion rules of the pollutants, and monitor the emission and control conditions of atmospheric pollution sources.
Current atmosphere pollution monitoring devices can only mostly breathe in and then detect through an air inlet, and the deviation scheduling problem appears in the easy detection that appears, and current atmosphere detection device mostly all fixes to set up and is not convenient for remove.
SUMMERY OF THE UTILITY MODEL
An object of the utility model is to provide an atmosphere pollution monitoring alarm device to solve the problem that proposes among the above-mentioned background art.
In order to achieve the above object, the utility model provides a following technical scheme: an atmospheric pollution monitoring and alarming device comprises a detection box, an air suction structure, an air collection disc, a fan and a lifting structure, wherein an installation cavity is arranged at the bottom of the detection box, the lifting structure is arranged in the installation cavity, pulleys are arranged on the lifting structure, the air suction structure is arranged at the top of the detection box, the air collection disc is arranged in the detection box, a plurality of groups of guide pipes are arranged at the outer edge of the air collection disc, the guide pipes are communicated with the air suction structure, a detection cavity is arranged in the detection box and corresponds to the lower part of the air collection disc, the air collection disc is communicated with one end of the top of the detection cavity through a communicating pipe, the fan is arranged at the middle section of the communicating pipe, shielding plates are fixed at the inner part of the detection cavity in a staggered and equidistant mode, a PM2.5 detector, a carbon dioxide detector, a temperature detector and a humidity detector are, and the communicating part is hinged with a cover plate, and the outer side edge of the detection box is provided with a push handle corresponding to the top of the cover plate.
Preferably, the suction structure includes breathing pipe, suction nozzle, driving plate and drive motor, the breathing pipe is provided with a plurality of groups, and articulates and installs on the outside limit of detection case, the suction nozzle is installed to the one end that the detection case was kept away from to the breathing pipe, detection case top department is provided with the driving plate that drives the breathing pipe wobbling, detection case top center department installs drive motor, drive motor's spindle front end is provided with the transfer line, and the transfer line passes the driving plate and stretches out.
Preferably, the transmission plate comprises a fixed plate and a meshing plate, a plurality of groups of meshing plates matched with the air suction pipe are symmetrically fixed on the outer side edge of the fixed plate, the meshing plate is of an L-shaped plate structure, the outer side edge of the meshing plate is meshed with one end of the air suction pipe, a cavity channel is formed in the air suction pipe, and one end, far away from the air suction nozzle, of the cavity channel is communicated with the guide pipe.
Preferably, elevation structure includes push rod, branch, dwang and rotation motor, the articulated installation in the installation cavity of push rod symmetry, and the push rod one side of keeping away from the installation cavity side installs the pulley, and the transmission cavity has all been seted up to installation cavity top department, transversely runs through in two sets of transmission cavities and is provided with the dwang, in the transmission cavity the cover is established on the dwang and is installed the slider, articulated branch of installing in slider bottom, the articulated installation in push rod top middle section department of one end that the slider was kept away from to branch, detection case internally mounted has the rotation motor.
Preferably, the crankshaft front end of the rotating motor and the middle section of the rotating rod are both fixed with groove wheels, two groups of groove wheels are driven by a belt, two groups of threads with opposite spiral directions are symmetrically arranged on the rotating rod corresponding to the transmission cavity, and the rotating rod is in threaded fit with the sliding block.
The utility model discloses a technological effect and advantage: this atmosphere pollution monitoring alarm equipment, the structure of breathing in through setting up, breathing pipe in the structure of breathing in, the suction nozzle, the driving plate, the fixed plate, the meshing board, cooperation between transmission motor and the transfer line, can breathe in through the multiunit suction nozzle and realize diversified operation of breathing in, and swing at the in-process of breathing in, and then make the gaseous diversified collection of collection even, it inhales to cause the testing result to have the error scheduling problem to take place to avoid appearing single position, through the elevation structure that sets up, push rod among the elevation structure, branch, the dwang, the slider, rotate the motor, cooperation between the recess wheel, can prop the pulley when needs remove, withdraw the pulley and then improve device's overall stability when not needing. This atmosphere pollution monitoring alarm device, reasonable in design can be at the diversified collection of breathing in of during operation, makes things convenient for the device to remove simultaneously, is fit for using widely.
Drawings
Fig. 1 is a schematic structural view of the present invention;
fig. 2 is a cross-sectional view of the present invention;
FIG. 3 is an enlarged view of the point A in FIG. 2 according to the present invention;
fig. 4 is a schematic structural view of the driving plate of the present invention.
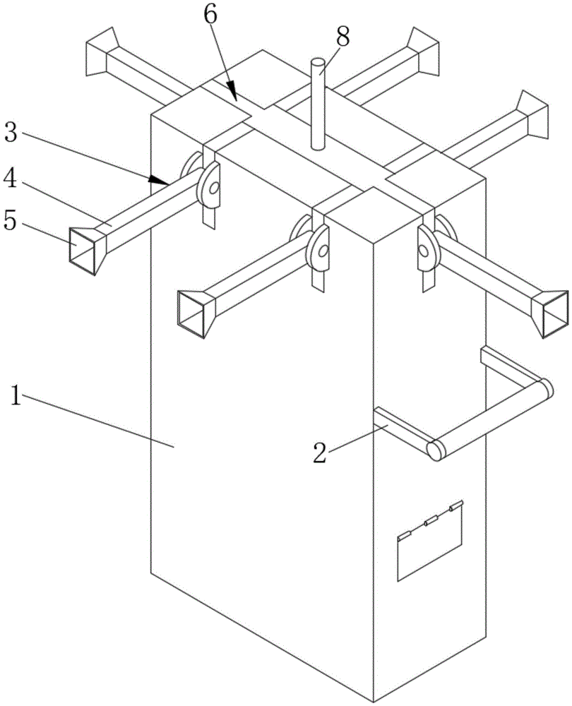
In the figure: the device comprises a detection box 1, a push handle 2, an air suction structure 3, an air suction pipe 4, an air suction nozzle 5, a transmission plate 6, a fixed plate 61, a meshing plate 62, a transmission motor 7, a transmission rod 8, an air collection plate 9, a guide pipe 10, a fan 11, a shielding plate 12, a lifting structure 13, a push rod 14, a support rod 15, a rotating rod 16, a sliding block 17, a rotating motor 18 and a groove wheel 19.
Detailed Description
The technical solutions in the embodiments of the present invention will be described clearly and completely with reference to the accompanying drawings in the embodiments of the present invention, and it is obvious that the described embodiments are only some embodiments of the present invention, not all embodiments. Based on the embodiments in the present invention, all other embodiments obtained by a person skilled in the art without creative work belong to the protection scope of the present invention.
The utility model provides an air pollution monitoring alarm device as shown in fig. 1-4, including detection case 1, aspiration structure 3, gas collection dish 9, fan 11 and elevation structure 13, 1 bottom department of detection case has seted up the installation cavity, is provided with elevation structure 13 in the installation cavity, is provided with the pulley on elevation structure 13 detection case 1 top department is provided with aspiration structure 3, 1 inside gas collection dish 9 that is provided with of detection case, the outer fringe of gas collection dish 9 is provided with a plurality of groups pipe 10, pipe 10 and aspiration structure 3 intercommunication, 1 inside correspondence of detection case 1 the detection chamber has been seted up to the below of gas collection dish 9, gas collection dish 9 passes through communicating pipe intercommunication with detection chamber top one end, and the middle section department of communicating pipe is provided with fan 11, and the crisscross equidistance of detection intracavity portion is fixed with shielding plate 12, and the detection intracavity has set gradually PM2.5 detector from left to right, The model of PM2.5 detector is DSM501A, the model of carbon dioxide detector is PG610-CO2, the model of thermodetector is Shanwu YAMATAKE, the model of thermodetector is USRegal LPM 500, be provided with the alarm on the outside limit of detection case 1, the alarm sends the warning when data is great, alarm and controller electric connection, the model of controller is SPC-STW-2612CMS (can use but not be limited to this model), one end and the external intercommunication that communicating pipe was kept away from to one side of detection chamber, and the articulated cover board that installs in intercommunication department, the outside limit of detection case 1 corresponds cover board top department and is provided with pushing handle 2.
Specifically, the suction structure 3 includes breathing pipe 4, suction nozzle 5, driving plate 6 and driving motor 7, suction structure 3 can realize diversified operation of breathing in to swing at the in-process of breathing in, and then make the gaseous diversified collection of collection even, avoid appearing single position and breathe in and cause the testing result to have the error scheduling problem to take place, breathing pipe 4 is provided with a plurality of groups, and articulates and install on the outside edge of detection case 1, suction nozzle 5 is installed to the one end that detection case 1 was kept away from to breathing pipe 4, 1 top department of detection case is provided with and drives 4 wobbling driving plate 6 of breathing pipe, 1 top center department of detection case installs driving motor 7, the spindle front end of driving motor 7 is provided with transfer line 8, and transfer line 8 passes driving plate 6 and stretches out.
Specifically, the transmission plate 6 includes a fixed plate 61 and a meshing plate 62, a plurality of groups of meshing plates 62 matched with the air suction pipe 4 are symmetrically fixed on the outer side edge of the fixed plate 61, the meshing plate 62 is in an L-shaped plate structure, the outer side edge of the meshing plate 62 is meshed with one end of the air suction pipe 4, a cavity channel is formed in the air suction pipe 4, and one end of the cavity channel, which is far away from the air suction nozzle 5, is communicated with the guide pipe 10.
Concretely, elevation structure 13 includes push rod 14, branch 15, dwang 16 and rotation motor 18, elevation structure 13 can prop up the pulley when needs remove and remove, withdraws the pulley and then improve device's overall stability when not needing, the articulated installation in the installation cavity of push rod 14 symmetry, and push rod 14 keeps away from one side of installation cavity side and installs the pulley, and installation cavity top department has all seted up the transmission cavity, transversely runs through in two sets of transmission cavities and is provided with dwang 16, in the transmission cavity the cover is established on the dwang 16 and is installed slider 17, articulated branch 15 of installing in slider 17 bottom, the articulated department of installing in push rod 14 top middle-section of one end that slider 17 was kept away from to branch 15, 1 internally mounted of detection case has rotation motor 18.
Concretely, the spindle front end of rotating electrical machine 18 and the middle section department of dwang 16 all are fixed with recess wheel 19, and pass through belt transmission between two sets of recess wheels 19, two sets of opposite screw thread of spiral direction have been seted up to the symmetry of dwang 16 corresponding transmission chamber department, and screw-thread fit between dwang 16 and the slider 17.
The working principle is as follows: the air pollution monitoring and alarming device, in operation, when air needs to be detected, the fan 11 and the transmission motor 7 are started, the fan 11 extracts air to flow, and then air is extracted through the suction nozzle 5, the transmission motor 7 drives the transmission rod 8 to rotate, the transmission rod 8 is in threaded fit with the transmission plate 6, and then the transmission plate 6 moves, the meshing plate 62 on the transmission plate 6 is meshed with one end of the suction pipe 4, so that the suction pipe 4 swings, the suction pipe 4 swings back and forth through the reciprocating rotation of the transmission motor 7, and then surrounding air is well collected, the collected air enters the air collecting disc 9 and then enters the detection cavity, the PM2.5 detector, the carbon dioxide detector, the temperature detector and the humidity detector in the detection cavity well detect various data such as air quality, when the device needs to be moved, the rotation motor 18 is started, the rotation motor 18 drives the groove wheel 19 to rotate, so that the transmission rod 8 rotates when passing through the belt, the rotation rod 16 is matched with the sliding block 17, the sliding block 17 is further moved towards two sides, the supporting rod 15 is further used for supporting the push rod 14, and then the pulley is extended out. This atmosphere pollution monitoring alarm device, reasonable in design can be at the diversified collection of breathing in of during operation, makes things convenient for the device to remove simultaneously, is fit for using widely.
Finally, it should be noted that: although the present invention has been described in detail with reference to the foregoing embodiments, it will be apparent to those skilled in the art that modifications and variations can be made in the embodiments or in part of the technical features of the embodiments without departing from the spirit and the scope of the invention.

Claims (5)

1.一种大气污染监测报警设备,包括检测箱(1)、吸气结构(3)、集气盘(9)、风机(11)和升降结构(13),其特征在于:所述检测箱(1)底部处开设有安装腔,安装腔内设置有升降结构(13),升降结构(13)上设置有滑轮、所述检测箱(1)顶部处设置有吸气结构(3),所述检测箱(1)内部设置有集气盘(9),所述集气盘(9)的外缘设置有若干组导管(10),所述导管(10)与吸气结构(3)连通,所述检测箱(1)内部对应所述集气盘(9)的下方开设有检测腔,所述集气盘(9)与检测腔顶部一端通过连通管连通,连通管的中段处设置有风机(11),检测腔内部交错等距固定有遮挡板(12),检测腔内从左到右依次设置有PM2.5检测器、二氧化碳检测器、温度检测器和湿度检测器,检测腔的一侧边远离连通管的一端与外界连通,且连通处铰接安装有盖覆板,所述检测箱(1)的外侧边对应盖覆板顶部处设置有推把(2)。1. An air pollution monitoring and alarming device, comprising a detection box (1), a suction structure (3), a gas collecting plate (9), a fan (11) and a lifting structure (13), characterized in that: the detection box (1) An installation cavity is opened at the bottom, a lifting structure (13) is arranged in the installation cavity, a pulley is arranged on the lifting structure (13), and a suction structure (3) is arranged at the top of the detection box (1), so The detection box (1) is provided with a gas collecting plate (9) inside, and the outer edge of the gas collecting plate (9) is provided with several groups of conduits (10), and the conduits (10) communicate with the suction structure (3). , a detection cavity is opened inside the detection box (1) corresponding to the lower part of the gas collecting plate (9), the gas collecting plate (9) is communicated with one end of the top of the detection cavity through a communication pipe, and the middle section of the communication pipe is provided with a The fan (11), the interior of the detection chamber is staggered and equidistantly fixed with shielding plates (12), and the detection chamber is sequentially provided with a PM2.5 detector, a carbon dioxide detector, a temperature detector and a humidity detector from left to right. One end of one side away from the communication pipe is communicated with the outside world, and a cover plate is hingedly installed at the communication part, and a push handle (2) is provided on the outer side of the detection box (1) corresponding to the top of the cover plate. 2.根据权利要求1所述的一种大气污染监测报警设备,其特征在于:所述吸气结构(3)包括吸气管(4)、吸气嘴(5)、传动板(6)和传动电机(7),所述吸气管(4)设置有若干组,且铰接安装在检测箱(1)的外侧边上,所述吸气管(4)远离检测箱(1)的一端安装有吸气嘴(5),所述检测箱(1)顶部处设置有带动吸气管(4)摆动的传动板(6),所述检测箱(1)顶部中心处安装有传动电机(7),所述传动电机(7)的机轴前端设置有传动杆(8),传动杆(8)穿过传动板(6)伸出。2. An air pollution monitoring and alarming device according to claim 1, characterized in that: the suction structure (3) comprises a suction pipe (4), a suction nozzle (5), a transmission plate (6) and a A transmission motor (7), the suction pipe (4) is provided with several groups and is hingedly mounted on the outer side of the detection box (1), and the suction pipe (4) is away from the end of the detection box (1) A suction nozzle (5) is installed, the top of the detection box (1) is provided with a transmission plate (6) that drives the suction pipe (4) to swing, and a transmission motor (6) is installed at the top center of the detection box (1). 7), the front end of the crankshaft of the transmission motor (7) is provided with a transmission rod (8), and the transmission rod (8) protrudes through the transmission plate (6). 3.根据权利要求2所述的一种大气污染监测报警设备,其特征在于:所述传动板(6)包括固定板(61)和啮合板(62),所述固定板(61)上的外侧边上对称固定有若干组与吸气管(4)配合的啮合板(62),所述啮合板(62)呈L型板状结构,所述啮合板(62)的外侧边与吸气管(4)的一端啮合,所述吸气管(4)内部开设有腔道,腔道远离吸气嘴(5)的一端与导管(10)连通。3. An air pollution monitoring and alarming device according to claim 2, characterized in that: the transmission plate (6) comprises a fixing plate (61) and an engaging plate (62), and the Several groups of engaging plates (62) matched with the suction pipe (4) are symmetrically fixed on the outer side, the engaging plates (62) are in an L-shaped plate-like structure, and the outer sides of the engaging plates (62) are in the shape of an L-shaped plate. One end of the suction pipe (4) is engaged, and the inside of the suction pipe (4) is provided with a cavity, and the end of the cavity away from the suction nozzle (5) is communicated with the conduit (10). 4.根据权利要求1所述的一种大气污染监测报警设备,其特征在于:所述升降结构(13)包括推杆(14)、支杆(15)、转动杆(16)和转动电机(18),所述推杆(14)对称铰接安装在安装腔内,且推杆(14)远离安装腔侧边的一侧安装有滑轮,安装腔顶部处均开设有传动腔,两组传动腔内横向贯穿设置有转动杆(16),传动腔内所述转动杆(16)上套设安装有滑块(17),所述滑块(17)底部铰接安装有支杆(15),所述支杆(15)远离滑块(17)的一端铰接安装在推杆(14)顶部中段处,所述检测箱(1)内部安装有转动电机(18)。4 . The air pollution monitoring and alarming device according to claim 1 , wherein the lifting structure ( 13 ) comprises a push rod ( 14 ), a support rod ( 15 ), a rotating rod ( 16 ) and a rotating motor ( 4 . 4 . 18), the push rod (14) is symmetrically and hingedly installed in the installation cavity, and a pulley is installed on the side of the push rod (14) away from the side of the installation cavity, and a transmission cavity is opened at the top of the installation cavity. A rotating rod (16) is arranged horizontally through the inner side, a sliding block (17) is sleeved and installed on the rotating rod (16) in the transmission cavity, and a support rod (15) is hingedly installed at the bottom of the sliding block (17), so One end of the support rod (15) away from the slider (17) is hingedly installed at the top middle section of the push rod (14), and a rotating motor (18) is installed inside the detection box (1). 5.根据权利要求4所述的一种大气污染监测报警设备,其特征在于:所述转动电机(18)的机轴前端以及转动杆(16)的中段处均固定有凹槽轮(19),且两组凹槽轮(19)之间通过皮带传动,所述转动杆(16)对应传动腔处对称开设有两组螺旋方向相反的螺纹,且转动杆(16)与滑块(17)之间螺纹配合。5. An air pollution monitoring and alarming device according to claim 4, characterized in that: the front end of the crankshaft of the rotating motor (18) and the middle section of the rotating rod (16) are fixed with a groove wheel (19) , and the two groups of groove wheels (19) are driven by a belt, the rotating rod (16) is symmetrically provided with two sets of threads with opposite helical directions at the corresponding transmission cavity, and the rotating rod (16) and the slider (17) threaded fit.
CN202021278605.4U 2020-07-02 2020-07-02 Atmospheric pollution monitoring alarm device Expired - Fee Related CN212904743U (en)

Priority Applications (1)

Application Number Priority Date Filing Date Title
CN202021278605.4U CN212904743U (en) 2020-07-02 2020-07-02 Atmospheric pollution monitoring alarm device

Applications Claiming Priority (1)

Application Number Priority Date Filing Date Title
CN202021278605.4U CN212904743U (en) 2020-07-02 2020-07-02 Atmospheric pollution monitoring alarm device

Publications (1)

Publication Number Publication Date
CN212904743U true CN212904743U (en) 2021-04-06

Family

ID=75282454

Family Applications (1)

Application Number Title Priority Date Filing Date
CN202021278605.4U Expired - Fee Related CN212904743U (en) 2020-07-02 2020-07-02 Atmospheric pollution monitoring alarm device

Country Status (1)

Country Link
CN (1) CN212904743U (en)

Cited By (4)

* Cited by examiner, † Cited by third party
Publication number Priority date Publication date Assignee Title
CN113341073A (en) * 2021-06-04 2021-09-03 徐州虹源环保科技有限公司 Air pollutant standard exceeding monitoring and warning equipment for electroplating workshop
CN115267080A (en) * 2022-08-01 2022-11-01 罗亚鑫 Atmospheric pollution monitoring alarm system and monitoring alarm device thereof
CN115389717A (en) * 2022-10-28 2022-11-25 北京光尘环保科技股份有限公司 Building indoor environment-friendly detection equipment
CN117571969A (en) * 2024-01-16 2024-02-20 昆明理工大学 Automatic soil humidity detection equipment for agriculture

Cited By (6)

* Cited by examiner, † Cited by third party
Publication number Priority date Publication date Assignee Title
CN113341073A (en) * 2021-06-04 2021-09-03 徐州虹源环保科技有限公司 Air pollutant standard exceeding monitoring and warning equipment for electroplating workshop
CN113341073B (en) * 2021-06-04 2022-02-08 徐州虹源环保科技有限公司 Air pollutant standard exceeding monitoring and warning equipment for electroplating workshop
CN115267080A (en) * 2022-08-01 2022-11-01 罗亚鑫 Atmospheric pollution monitoring alarm system and monitoring alarm device thereof
CN115389717A (en) * 2022-10-28 2022-11-25 北京光尘环保科技股份有限公司 Building indoor environment-friendly detection equipment
CN117571969A (en) * 2024-01-16 2024-02-20 昆明理工大学 Automatic soil humidity detection equipment for agriculture
CN117571969B (en) * 2024-01-16 2024-04-09 昆明理工大学 Automatic soil humidity detection equipment for agriculture

Similar Documents

Publication Publication Date Title
CN212904743U (en) Atmospheric pollution monitoring alarm device
CN114295431A (en) Gas detection data processing system
CN110940562B (en) Gas collection body sampling and cleanliness detection instrument integrated with each other
CN213516529U (en) Toxic gas sampling and detecting robot
CN210554821U (en) Carbon dioxide concentration sensor for subway carriage
CN208612077U (en) A kind of industrial waste gas circulation filter
CN212484341U (en) Computer hardware check out test set
CN208733279U (en) A kind of textile machinery dust-extraction unit
CN213986416U (en) Air pollution detection device based on thing networking
CN217766289U (en) Volatile organic compound detection testing device
CN110672798A (en) Environment-friendly waste gas detection device
CN208212898U (en) A kind of emission-control equipment with on-line monitoring function
CN109186223B (en) Drying device is used in production of weaving clothing cloth
CN218069059U (en) Combustible gas alarm device
CN211453535U (en) Device for detecting content of nitrogen oxides in industrial waste gas
CN209432549U (en) A gas collection device with bag washing function
CN215493474U (en) Workshop flue gas content detection device
CN118566089B (en) Raise dust detection device for construction
CN217888993U (en) Laboratory ventilation equipment capable of preventing foreign matter blockage
CN223256899U (en) A safety monitoring device for shield tunnel construction based on water-rich mudstone sand layer
CN213903036U (en) Automatic sampling device for gaseous pollutants
CN214345115U (en) Toxic gas leaks with warning absorbing device
CN222760617U (en) Underground coal mine gas control detection device
CN218188723U (en) Centrifugal water film dust collector is used in crude zinc production
CN223448552U (en) Laboratory ventilation purification control device

Legal Events

Date Code Title Description
GR01 Patent grant
GR01 Patent grant
CF01 Termination of patent right due to non-payment of annual fee
CF01 Termination of patent right due to non-payment of annual fee

Granted publication date: 20210406