CN212886309U - Milling fixture - Google Patents

Milling fixture Download PDF

Info

Publication number
CN212886309U
CN212886309U CN202021455753.9U CN202021455753U CN212886309U CN 212886309 U CN212886309 U CN 212886309U CN 202021455753 U CN202021455753 U CN 202021455753U CN 212886309 U CN212886309 U CN 212886309U
Authority
CN
China
Prior art keywords
block
transverse
longitudinal screw
sliding
longitudinal
Prior art date
Legal status (The legal status is an assumption and is not a legal conclusion. Google has not performed a legal analysis and makes no representation as to the accuracy of the status listed.)
Expired - Fee Related
Application number
CN202021455753.9U
Other languages
Chinese (zh)
Inventor
田广
周康
杨中翰
Current Assignee (The listed assignees may be inaccurate. Google has not performed a legal analysis and makes no representation or warranty as to the accuracy of the list.)
Wuhan Junchen Precision Manufacturing Co ltd
Original Assignee
Wuhan Junchen Precision Manufacturing Co ltd
Priority date (The priority date is an assumption and is not a legal conclusion. Google has not performed a legal analysis and makes no representation as to the accuracy of the date listed.)
Filing date
Publication date
Application filed by Wuhan Junchen Precision Manufacturing Co ltd filed Critical Wuhan Junchen Precision Manufacturing Co ltd
Priority to CN202021455753.9U priority Critical patent/CN212886309U/en
Application granted granted Critical
Publication of CN212886309U publication Critical patent/CN212886309U/en
Expired - Fee Related legal-status Critical Current
Anticipated expiration legal-status Critical

Links

Images

Landscapes

  • Gripping Jigs, Holding Jigs, And Positioning Jigs (AREA)

Abstract

本实用新型公开了一种铣加工用夹具,属于机械加工用夹具领域,其底座上平行设置有固定块和活动块,活动块下端设置有与滑槽配合的滑块,活动块后侧设有承接杆,底座后侧设有固定柱,固定柱上套接有偏心轮,偏心轮与承接杆抵接,固定块通过两端的轴承安装有横向丝杠,横向丝杠上滑动连接有横向滑块,横向滑块能够沿着横向丝杠的长度方向,随着横向丝杠的转动而被驱动滑动,横向滑块固定连接有纵向丝杠座,纵向丝杠座上下两端通过轴承安装有纵向丝杠,纵向丝杠上滑动连接有定位孔安装块,定位孔安装块能够沿着纵向丝杠的长度方向,随着纵向丝杠的转动而被驱动滑动。本实用新型可以适应绝大部分带有键孔的零部件的铣削加工使用,且夹持效果较好。

Figure 202021455753

The utility model discloses a fixture for milling, belonging to the field of fixtures for machining. A fixed block and a movable block are arranged in parallel on a base, a sliding block matched with a chute is arranged at the lower end of the movable block, and a rear side of the movable block is provided with a sliding block. The receiving rod is provided with a fixed column on the back side of the base, and an eccentric wheel is sleeved on the fixed column, and the eccentric wheel is in contact with the receiving rod. , the transverse slider can be driven to slide along the length of the transverse screw with the rotation of the transverse screw. The transverse slider is fixedly connected with a longitudinal screw seat, and the upper and lower ends of the longitudinal screw seat are installed with longitudinal screws through bearings. The longitudinal screw is slidably connected with a positioning hole mounting block, and the positioning hole mounting block can be driven and slid along the longitudinal direction of the longitudinal screw along with the rotation of the longitudinal screw. The utility model can be adapted to the milling process of most parts with key holes, and the clamping effect is good.

Figure 202021455753

Description

Milling fixture
Technical Field
The utility model relates to a machining anchor clamps field especially relates to a mill anchor clamps for processing.
Background
The existing milling machine fixture is widely applied, is mainly used for processing planes, grooves, splines and various forming surfaces on parts, and is one of the most common fixtures. During milling, the cutting force is large, the cutting is interrupted, and the vibration is large, so that the clamping force requirement of the milling machine clamp is large, and the requirements on the rigidity and the strength of the clamp are high.
However, in the existing milling machine, when clamping a workpiece with a plurality of pin keys or hole grooves on the side surface, the clamping is inconvenient due to the pin keys and the like, so that in the milling process, the processing effect is influenced due to the processing vibration. CN210549639U discloses a milling jig for milling, which realizes the processing of parts with pin keys by setting up mounting holes and positioning holes in the patent, and although the processing requirements can be met to a certain extent, the processing requirements can not be met for parts whose mounting holes and positioning holes can not be corresponded to some pin keys, and the use has great limitation.
Disclosure of Invention
An object of the utility model is to provide a can adapt to the keyway of optional position, the fixture device that milling process of hole site spare part used.
In order to achieve the above purpose, the utility model adopts the following technical scheme:
the utility model provides a milling fixture, which comprises a base, wherein a fixed block and a movable block are arranged on the base in parallel, the lower end of the movable block is provided with a slide block matched with a chute, the rear side of the movable block is provided with a bearing rod, the rear side of the base is provided with a fixed column, an eccentric wheel is sleeved on the fixed column, the eccentric wheel is abutted against the bearing rod, the fixed block is provided with a transverse screw rod through bearings at two ends, the transverse screw rod is connected with a transverse sliding block in a sliding way, the transverse sliding block can be driven to slide along the length direction of the transverse screw rod along with the rotation of the transverse screw rod, the transverse sliding block is fixedly connected with a longitudinal screw rod seat, the upper end and the lower end of the longitudinal screw rod seat are provided with a longitudinal screw rod through bearings, the longitudinal screw rod is connected with a positioning hole mounting block in a sliding mode, and the positioning hole mounting block can be driven to slide along the length direction of the longitudinal screw rod along with the rotation of the longitudinal screw rod.
As the utility model discloses to above-mentioned scheme preferred, the fixed block is provided with at least two sets of lead screw groups that constitute by horizontal lead screw and vertical lead screw respectively, can provide more locating hole installation pieces through a plurality of lead screw groups to do benefit to the different work piece clamping of adaptation, also can play better clamping stability simultaneously.
As the utility model discloses to above-mentioned scheme preferred, the adapting rod end is equipped with the adapting plate, adapts plate and eccentric wheel butt.
As the utility model discloses to above-mentioned scheme preferred, it is equipped with the locating hole mounting disc to inlay on the locating hole installation piece, the locating hole mounting disc has the specification in two kinds of at least different apertures, can adapt to the spare part in different specification apertures.
As the utility model discloses to above-mentioned scheme preferred, eccentric wheel one side and bull stick fixed connection to can be convenient for utilize the bull stick to apply bigger pressure, make the movable block press from both sides the work piece of treating processing with the fixed block clamp.
As the utility model discloses to above-mentioned scheme preferred, be equipped with the spacing post that passes the slider in the spout, and the cover is equipped with reset spring on the spacing post, reset spring one end supports the spout lateral wall, and other end butt slider utilizes reset spring can accomplish the back in processing, rotates the bull stick and just can make the movable block reset by oneself, the processing of next batch of being convenient for.
The beneficial effects of the utility model reside in that: the utility model discloses a device is in the use, drives the eccentric wheel through the bull stick and rotates, thereby accept the board through the extrusion, accept the pole and make the movable block remove along the spout, realize the reset work after processing through reset spring, utilize horizontal lead screw and vertical lead screw to make the position of locating hole can adjust wantonly, consequently when the clamping work piece, because metal work piece tens kilograms frequently, the adjustment position is hard to take the time, and makes the workman scotch easily, and the utility model discloses the form of work piece need not hard to adjust, just can be through the position of adjustment locating hole, thereby passes the work piece and finally inserts the locating hole with the locating pin, with the location of realization processing, has avoided the use limitation problem of existing equipment.
Drawings
Fig. 1 is a top view structural diagram of the present invention.
Fig. 2 is the assembly structure diagram of the middle screw assembly of the present invention.
Fig. 3 is an assembly schematic diagram of the middle positioning hole mounting block of the present invention.
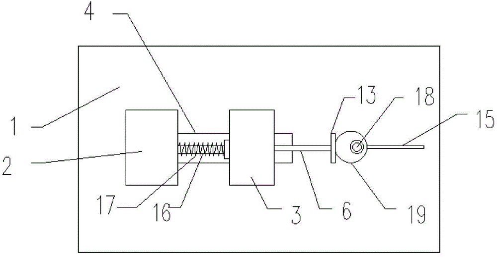
Fig. 4 is a side view of the movable block of the present invention.
The automatic positioning device comprises a base, a fixing block, a movable block, a sliding chute, a sliding block, a bearing rod, a transverse screw rod, a transverse sliding block, a longitudinal screw rod seat, a longitudinal screw rod, a positioning hole mounting block, a screw rod group, a bearing plate, a positioning hole mounting plate, a rotating rod, a limiting column, a return spring, a fixing nut, a positioning eccentric wheel, a screw rod knob and a fixing column, wherein the base is 1-1, the fixing block is 2-3, the movable block is 4-the sliding chute, the sliding block is 5-6, the bearing rod is 7-the transverse screw rod, the transverse sliding block is 8.
Detailed Description
In order to make the technical means, creation features, achievement purposes and functions of the present invention easy to understand, the present invention is further described below with reference to the following embodiments.
As shown in fig. 1-4, a milling fixture includes a base 1, a fixed block 2 and a movable block 3 are disposed on the base 1 in parallel, a slider 5 matched with a sliding slot 4 is disposed at a lower end of the movable block 3, a receiving rod 6 is disposed at a rear side of the movable block 3, a fixed column 21 is disposed at a rear side of the base 1, an eccentric wheel 19 is sleeved on the fixed column 21, the eccentric wheel 19 abuts against the receiving rod 9, a transverse lead screw 7 is mounted on the fixed block 5 through bearings at two ends, a transverse slider 8 is slidably connected on the transverse lead screw 7, the transverse slider 8 can be driven to slide along a length direction of the transverse lead screw 7 along with rotation of the transverse lead screw 7, the transverse slider 8 is fixedly connected with a longitudinal lead screw seat 9, a fixed connection form of the transverse lead screw seat and the longitudinal lead screw seat can be formed integrally, such as casting, or welded and fixed, a, the longitudinal screw 10 is slidably connected with a positioning hole mounting block 11, and the positioning hole mounting block 11 can be driven to slide along the length direction of the longitudinal screw 10 along with the rotation of the longitudinal screw 10.
In one embodiment, the fixing block 2 is provided with at least two screw groups 12 respectively composed of a transverse screw 7 and a longitudinal screw 10, and more positioning hole mounting blocks 11 can be provided through the plurality of screw groups 12, so that the fixing block is suitable for clamping different workpieces, and better clamping stability can be achieved.
In one embodiment, the end of the receiving rod 6 is provided with a receiving plate 13, and the receiving plate 13 is abutted with the eccentric wheel 19.
In one embodiment, the positioning hole mounting block 11 is embedded with a positioning hole mounting plate 14, and the positioning hole mounting plate 14 has at least two specifications with different apertures, and can adapt to parts with different specifications and apertures.
In one embodiment, the eccentric wheel 19 is fixedly connected to the rotating rod 15 on one side, so that a greater pressure can be applied by the rotating rod 15 to clamp the workpiece to be machined between the movable block 3 and the fixed block 2.
In one embodiment, a limiting column 16 penetrating through the sliding block 5 is arranged in the sliding groove 4, a return spring 17 is sleeved on the limiting column 16, one end of the return spring 17 abuts against the side wall of the sliding groove 4, the other end of the return spring abuts against the sliding block 5, and after the processing is completed by the return spring 17, the rotating rod 15 is rotated to enable the movable block 3 to automatically return, so that the processing of the next batch is facilitated.
The utility model discloses add man-hour, at first will treat that tight work piece of clamp is placed between fixed block 2 and the movable block 3 of base, position through lead screw knob 20 adjustment locating hole installation piece 11, utilize the round pin post to pass the hole site on the work piece, fix the round pin post both ends respectively on fixed block 2 and movable block 3's locating hole installation piece 11, perhaps utilize the round pin post to insert in the keyway, fix the round pin post other end on fixed block 2 or movable block 3, then utilize the lever application of force through handheld bull stick 15, drive eccentric wheel 19 rotates, thereby compress tightly the work piece, make the work piece reach better location and press from both sides tight effect, treat to process and accomplish the back, only need the antiport bull stick 15, under reset spring 17 effect, movable block 3 resets, thereby be convenient for take out the work piece.
It will be appreciated by those skilled in the art that the above embodiments are only for illustrating the present invention and are not to be used as limitations of the present invention, and that changes and modifications to the above described embodiments will fall within the scope of the claims of the present invention as long as they are within the spirit and scope of the present invention.

Claims (6)

1. A milling fixture comprises a base, a fixed block and a movable block are arranged on the base in parallel, a sliding block matched with a sliding groove is arranged at the lower end of the movable block, a bearing rod is arranged at the rear side of the movable block, a fixed column is arranged at the rear side of the base, an eccentric wheel is sleeved on the fixed column and is abutted against the bearing rod, it is characterized in that the fixed block is provided with a transverse lead screw through bearings at two ends, the transverse lead screw is connected with a transverse sliding block in a sliding way, the transverse sliding block can be driven to slide along the length direction of the transverse lead screw along with the rotation of the transverse lead screw, the transverse sliding block is fixedly connected with a longitudinal screw rod seat, the upper end and the lower end of the longitudinal screw rod seat are provided with a longitudinal screw rod through bearings, the longitudinal screw rod is connected with a positioning hole mounting block in a sliding mode, and the positioning hole mounting block can be driven to slide along the length direction of the longitudinal screw rod along with the rotation of the longitudinal screw rod.
2. The milling fixture as claimed in claim 1, wherein the fixing block and the mounting block are each provided with at least two sets of screw sets consisting of a transverse screw and a longitudinal screw.
3. The milling fixture as claimed in claim 1, wherein the receiving bar has a receiving plate at a distal end thereof, the receiving plate abutting against the eccentric wheel.
4. The milling fixture as claimed in claim 1, wherein the locating hole mounting block is embedded with a locating hole mounting plate, and the locating hole mounting plate has at least two specifications with different diameters.
5. The milling fixture as recited in claim 1, wherein one side of the eccentric is fixedly connected to the rotating rod.
6. The milling fixture as claimed in claim 5, wherein a limiting post is disposed in the sliding slot and penetrates through the sliding block, and a return spring is sleeved on the limiting post, one end of the return spring abuts against a side wall of the sliding slot, and the other end of the return spring abuts against the sliding block.
CN202021455753.9U 2020-07-22 2020-07-22 Milling fixture Expired - Fee Related CN212886309U (en)

Priority Applications (1)

Application Number Priority Date Filing Date Title
CN202021455753.9U CN212886309U (en) 2020-07-22 2020-07-22 Milling fixture

Applications Claiming Priority (1)

Application Number Priority Date Filing Date Title
CN202021455753.9U CN212886309U (en) 2020-07-22 2020-07-22 Milling fixture

Publications (1)

Publication Number Publication Date
CN212886309U true CN212886309U (en) 2021-04-06

Family

ID=75291890

Family Applications (1)

Application Number Title Priority Date Filing Date
CN202021455753.9U Expired - Fee Related CN212886309U (en) 2020-07-22 2020-07-22 Milling fixture

Country Status (1)

Country Link
CN (1) CN212886309U (en)

Similar Documents

Publication Publication Date Title
GB2309664A (en) Router table fence
CN108581542B (en) Clamping tool for flat plate type parts
CN211867290U (en) Inclined rotation indexing tool
CN213104611U (en) Boring machining clamp for bearing seat
CN212886309U (en) Milling fixture
CN209698499U (en) A CNC Drilling Fixture Convenient for Installation and Adjustment
CN201128071Y (en) Clamping structure for processing slant hole
CN211680948U (en) Boring machine workbench for cambered surface shell part
CN219275202U (en) Drilling and tapping machine
CN216990915U (en) Clamp for milling machine machining
CN212095307U (en) Cutter fixing structure for machine tool
CN213890354U (en) Planer convenient for angle adjustment and used for furniture design
CN219704756U (en) Workpiece clamping tool
CN219212306U (en) Positioning clamp for drilling station
CN217192859U (en) A special fixture for milling machine
CN216463195U (en) Quick positioner of planer-type milling machine's bogie member
CN222199660U (en) Be used for oblique guide pillar fixed block guide hole processing special fixture
CN222660341U (en) Belt pulley groove cutter for processing belt pulley with adjustable distance
CN216990017U (en) Drilling and positioning device for rocker arm seat
CN219854470U (en) Arc-shaped workpiece positioning tool
CN222176027U (en) Seat punching and positioning tool
CN220943537U (en) Circular sleeve tapping device
CN221434614U (en) Valve plate punching device
CN220560968U (en) Countersink positioning tool
CN221270403U (en) Lathe of frock clamp is conveniently installed

Legal Events

Date Code Title Description
GR01 Patent grant
GR01 Patent grant
CF01 Termination of patent right due to non-payment of annual fee

Granted publication date: 20210406

CF01 Termination of patent right due to non-payment of annual fee