CN212886227U - 一种数控金属切削机床加工用翻转结构 - Google Patents

一种数控金属切削机床加工用翻转结构 Download PDF

Info

Publication number
CN212886227U
CN212886227U CN202021624982.9U CN202021624982U CN212886227U CN 212886227 U CN212886227 U CN 212886227U CN 202021624982 U CN202021624982 U CN 202021624982U CN 212886227 U CN212886227 U CN 212886227U
Authority
CN
China
Prior art keywords
fixedly connected
cutting machine
metal cutting
machine tool
motor
Prior art date
Legal status (The legal status is an assumption and is not a legal conclusion. Google has not performed a legal analysis and makes no representation as to the accuracy of the status listed.)
Expired - Fee Related
Application number
CN202021624982.9U
Other languages
English (en)
Inventor
王强
Current Assignee (The listed assignees may be inaccurate. Google has not performed a legal analysis and makes no representation or warranty as to the accuracy of the list.)
Quanzhou Jiuxiang Automation Equipment Manufacturing Co ltd
Original Assignee
Quanzhou Jiuxiang Automation Equipment Manufacturing Co ltd
Priority date (The priority date is an assumption and is not a legal conclusion. Google has not performed a legal analysis and makes no representation as to the accuracy of the date listed.)
Filing date
Publication date
Application filed by Quanzhou Jiuxiang Automation Equipment Manufacturing Co ltd filed Critical Quanzhou Jiuxiang Automation Equipment Manufacturing Co ltd
Priority to CN202021624982.9U priority Critical patent/CN212886227U/zh
Application granted granted Critical
Publication of CN212886227U publication Critical patent/CN212886227U/zh
Expired - Fee Related legal-status Critical Current
Anticipated expiration legal-status Critical

Links

Images

Landscapes

  • Machine Tool Units (AREA)

Abstract

本实用新型公开了一种数控金属切削机床加工用翻转结构,包括基座,所述基座的顶部固定连接有对称设置的两个支撑座,两个所述支撑座的顶部均固定连接有伸缩气缸,所述伸缩气缸的输出端固定连接有伸缩杆,所述伸缩杆远离伸缩气缸的一端固定连接有安装板,所述安装板远离伸缩杆的一侧固定连接有电机,所述电机的输出端固定连接有轴杆,所述轴杆远离电机的一端上固定连接有固定板,所述固定板上设有转动腔,所述转动腔内设有螺纹杆,本实用新型有效的对工件进行翻转,稳定夹持性更高,提高了工件的整体质量。

Description

一种数控金属切削机床加工用翻转结构
技术领域
本实用新型涉及金属切削相关制品领域,具体为一种数控金属切削机床加工用翻转结构。
背景技术
金属切削是金属成形工艺中的材料去除加成形方法,在当今的机械制造中仍占有很大的比例。金属切削过程是工件和刀具相互作用的过程。刀具从待加工工件上切除多余的金属,并在控制生产率和成本的前提下,使工件得到符合设计和工艺要求的几何精度、尺寸精度和表面质量,经常需要对工件的正反两面进行加工。
但是现有的数控金属切削机床加工用翻转结构稳定性较差,结构较为复杂,成本高,操作不便,具有一定的缺陷性。
实用新型内容
本实用新型的目的在于提供一种数控金属切削机床加工用翻转结构,以解决上述背景技术中提出现有的数控金属切削机床加工用翻转结构稳定性较差,结构较为复杂,成本高,操作不便问题。
为实现上述目的,本实用新型提供如下技术方案:一种数控金属切削机床加工用翻转结构,包括基座,所述基座的顶部固定连接有对称设置的两个支撑座,两个所述支撑座的顶部均固定连接有伸缩气缸,所述伸缩气缸的输出端固定连接有伸缩杆,所述伸缩杆远离伸缩气缸的一端固定连接有安装板,所述安装板远离伸缩杆的一侧固定连接有电机,所述电机的输出端固定连接有轴杆,所述轴杆远离电机的一端上固定连接有固定板,所述固定板上设有转动腔,所述转动腔内设有螺纹杆,所述螺纹杆上螺纹套接有两个夹持板,两个所述夹持板螺口内的螺纹为相反设置,所述螺纹杆的一端与转动腔内壁转动连接,所述螺纹杆的另一端贯穿转动腔并固定连接有转块,所述基座的顶部固定连接有安装盒,所述安装盒顶部设有开口,所述安装盒内滑动插设有收纳盒。
优选的,所述伸缩气缸为电动气缸。
优选的,所述电机为伺服电机。
优选的,所述转块上设有多道防滑纹。
优选的,两个所述夹持板相对的一侧固定连接有橡胶板。
优选的,所述收纳盒的一侧外壁上固定连接有把手。
与现有技术相比,本实用新型的有益效果是:
该数控金属切削机床加工用翻转结构,通过将待加工工件放置在两个固定板之间,随后启动支撑座顶部的伸缩气缸带动伸缩杆运动,伸缩杆将推动安装板移动从而使工件两端位于两个夹持板之间,随后转动转块带动螺纹杆在转动腔内转动,此时安装在螺纹杆上的两个夹持板在相反螺口的设置进行移动从而对工件进行夹持固定,通过启动电机可带动轴杆进行旋转,实现工件在加工时的翻转,本实用新型有效的对工件进行翻转,稳定夹持性更高,提高了工件的整体质量。
附图说明
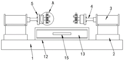
图1为本实用新型的一种数控金属切削机床加工用翻转结构的结构示意图;
图2为本实用新型的一种数控金属切削机床加工用翻转结构的A处放大图;
图3为本实用新型的一种数控金属切削机床加工用翻转结构的安装盒内部示意图。
图中:1-基座,2-支撑座,3-伸缩气缸,4-伸缩杆,5-安装板,6-电机,7-轴杆,8-固定板,9-螺纹杆,10-夹持板,11-转块,12-安装盒,13-收纳盒,14-橡胶板,15-把手。
具体实施方式
下面将结合本实用新型实施例中的附图,对本实用新型实施例中的技术方案进行清楚、完整地描述,显然,所描述的实施例仅仅是本实用新型一部分实施例,而不是全部的实施例。
请参阅图1-3,本实用新型提供的一种实施例:一种数控金属切削机床加工用翻转结构,包括基座1,基座1的顶部固定连接有对称设置的两个支撑座2,两个支撑座2的顶部均固定连接有伸缩气缸3,伸缩气缸3的输出端固定连接有伸缩杆4,伸缩杆4远离伸缩气缸3的一端固定连接有安装板5,安装板5远离伸缩杆4的一侧固定连接有电机6,电机6的输出端固定连接有轴杆7,轴杆7远离电机6的一端上固定连接有固定板8,固定板8上设有转动腔,转动腔内设有螺纹杆9,螺纹杆9上螺纹套接有两个夹持板10,两个夹持板10螺口内的螺纹为相反设置,螺纹杆9的一端与转动腔内壁转动连接,螺纹杆9的另一端贯穿转动腔并固定连接有转块11,基座1的顶部固定连接有安装盒12,安装盒12顶部设有开口,安装盒12内滑动插设有收纳盒13,具体的讲,待加工工件放置在两个固定板8之间,随后启动支撑座2顶部的伸缩气缸3带动伸缩杆4运动,伸缩杆4将推动安装板5移动从而使工件两端位于两个夹持板10之间,随后转动转块11带动螺纹杆9在转动腔内转动,此时安装在螺纹杆9上的两个夹持板10在相反螺口的设置进行移动从而对工件进行夹持固定,通过启动电机6可带动轴杆7进行旋转,实现工件在加工时的翻转。
进一步,伸缩气缸3为电动气缸。
进一步,电机6为伺服电机。
进一步,转块11上设有多道防滑纹,增大摩擦力,方便转动。
进一步,两个夹持板10相对的一侧固定连接有橡胶板14,增加缓冲力。
进一步,收纳盒13的一侧外壁上固定连接有把手15,便于拉动收纳盒13。
工作原理:首先将待加工工件放置在两个固定板8之间,随后启动支撑座2顶部的伸缩气缸3带动伸缩杆4运动,伸缩杆4将推动安装板5移动从而使工件两端位于两个夹持板10之间,随后转动转块11带动螺纹杆9在转动腔内转动,此时安装在螺纹杆9上的两个夹持板10在相反螺口的设置进行移动从而对工件进行夹持固定,通过启动电机6可带动轴杆7进行旋转,实现工件在加工时的翻转。
对于本领域技术人员而言,显然本实用新型不限于上述示范性实施例的细节,而且在不背离本实用新型的精神或基本特征的情况下,能够以其他的具体形式实现本实用新型。因此,无论从哪一点来看,均应将实施例看作是示范性的,而且是非限制性的,本实用新型的范围由所附权利要求而不是上述说明限定,因此旨在将落在权利要求的等同要件的含义和范围内的所有变化囊括在本实用新型内。不应将权利要求中的任何附图标记视为限制所涉及的权利要求。

Claims (6)

1.一种数控金属切削机床加工用翻转结构,包括基座(1),其特征在于:所述基座(1)的顶部固定连接有对称设置的两个支撑座(2),两个所述支撑座(2)的顶部均固定连接有伸缩气缸(3),所述伸缩气缸(3)的输出端固定连接有伸缩杆(4),所述伸缩杆(4)远离伸缩气缸(3)的一端固定连接有安装板(5),所述安装板(5)远离伸缩杆(4)的一侧固定连接有电机(6),所述电机(6)的输出端固定连接有轴杆(7),所述轴杆(7)远离电机(6)的一端上固定连接有固定板(8),所述固定板(8)上设有转动腔,所述转动腔内设有螺纹杆(9),所述螺纹杆(9)上螺纹套接有两个夹持板(10),两个所述夹持板(10)螺口内的螺纹为相反设置,所述螺纹杆(9)的一端与转动腔内壁转动连接,所述螺纹杆(9)的另一端贯穿转动腔并固定连接有转块(11),所述基座(1)的顶部固定连接有安装盒(12),所述安装盒(12)顶部设有开口,所述安装盒(12)内滑动插设有收纳盒(13)。
2.根据权利要求1所述的一种数控金属切削机床加工用翻转结构,其特征在于:所述伸缩气缸(3)为电动气缸。
3.根据权利要求1所述的一种数控金属切削机床加工用翻转结构,其特征在于:所述电机(6)为伺服电机。
4.根据权利要求1所述的一种数控金属切削机床加工用翻转结构,其特征在于:所述转块(11)上设有多道防滑纹。
5.根据权利要求1所述的一种数控金属切削机床加工用翻转结构,其特征在于:两个所述夹持板(10)相对的一侧固定连接有橡胶板(14)。
6.根据权利要求1所述的一种数控金属切削机床加工用翻转结构,其特征在于:所述收纳盒(13)的一侧外壁上固定连接有把手(15)。
CN202021624982.9U 2020-08-07 2020-08-07 一种数控金属切削机床加工用翻转结构 Expired - Fee Related CN212886227U (zh)

Priority Applications (1)

Application Number Priority Date Filing Date Title
CN202021624982.9U CN212886227U (zh) 2020-08-07 2020-08-07 一种数控金属切削机床加工用翻转结构

Applications Claiming Priority (1)

Application Number Priority Date Filing Date Title
CN202021624982.9U CN212886227U (zh) 2020-08-07 2020-08-07 一种数控金属切削机床加工用翻转结构

Publications (1)

Publication Number Publication Date
CN212886227U true CN212886227U (zh) 2021-04-06

Family

ID=75236691

Family Applications (1)

Application Number Title Priority Date Filing Date
CN202021624982.9U Expired - Fee Related CN212886227U (zh) 2020-08-07 2020-08-07 一种数控金属切削机床加工用翻转结构

Country Status (1)

Country Link
CN (1) CN212886227U (zh)

Cited By (1)

* Cited by examiner, † Cited by third party
Publication number Priority date Publication date Assignee Title
CN116833456A (zh) * 2023-08-30 2023-10-03 福建祥鑫新能源汽车配件制造有限公司 一种电池托盘全自动双面铣削去毛刺装置

Cited By (2)

* Cited by examiner, † Cited by third party
Publication number Priority date Publication date Assignee Title
CN116833456A (zh) * 2023-08-30 2023-10-03 福建祥鑫新能源汽车配件制造有限公司 一种电池托盘全自动双面铣削去毛刺装置
CN116833456B (zh) * 2023-08-30 2023-11-28 福建祥鑫新能源汽车配件制造有限公司 一种电池托盘全自动双面铣削去毛刺装置

Similar Documents

Publication Publication Date Title
CN210849233U (zh) 一种方便使用的工装夹具翻转平台
CN210649580U (zh) 一种数控机床旋转夹紧装置
CN110919409A (zh) 一种通用型cnc精密加工治具底座
CN115741524A (zh) 用于机械加工的夹持装置
CN212886227U (zh) 一种数控金属切削机床加工用翻转结构
CN203973202U (zh) 一种五轴联动立式加工中心
CN209754604U (zh) 一种用于机床加工的夹紧装置
CN215393932U (zh) 一种数控自动钻床
CN201002200Y (zh) 一种磨刃机床
CN211465604U (zh) 一种数控加工中心用板件气动夹具
CN217143356U (zh) 一种铸造机械用打磨装置
CN216967382U (zh) 一种翻转式锯片抛光机
CN214025205U (zh) 一种精密加工用自动化装配流水线
CN211540219U (zh) 一种用于数控车床的加工装置
CN213561208U (zh) 一种具有侧夹功能的平面铣床
CN216542136U (zh) 一种具有内部定位装置的轴承加工用普通车床
CN211728780U (zh) 一种打磨机床柔性夹紧装置
CN218695201U (zh) 一种激光焊机固定工件治具
CN222154761U (zh) 一种回转工件车削加工用定位装置
CN215041765U (zh) 一种铝材四轴雕刻机
CN223277707U (zh) 一种复杂断面铝型材端面倒角加工设备
CN211939901U (zh) 一种全自动数控机床模具加工中心设备
CN217702528U (zh) 一种五轴卧式翻板加工中心
CN222806131U (zh) 一种摇臂及摇臂钻床
CN215092583U (zh) 一种机械制造加工用零部件抛光装置

Legal Events

Date Code Title Description
GR01 Patent grant
GR01 Patent grant
CF01 Termination of patent right due to non-payment of annual fee
CF01 Termination of patent right due to non-payment of annual fee

Granted publication date: 20210406