CN212870542U - Food processing is with quick even air-drying device - Google Patents

Food processing is with quick even air-drying device Download PDF

Info

Publication number
CN212870542U
CN212870542U CN202021425596.7U CN202021425596U CN212870542U CN 212870542 U CN212870542 U CN 212870542U CN 202021425596 U CN202021425596 U CN 202021425596U CN 212870542 U CN212870542 U CN 212870542U
Authority
CN
China
Prior art keywords
air
fixedly connected
wall
drying box
rotating shaft
Prior art date
Legal status (The legal status is an assumption and is not a legal conclusion. Google has not performed a legal analysis and makes no representation as to the accuracy of the status listed.)
Expired - Fee Related
Application number
CN202021425596.7U
Other languages
Chinese (zh)
Inventor
王蕊
靳秀敏
刘建斌
Current Assignee (The listed assignees may be inaccurate. Google has not performed a legal analysis and makes no representation or warranty as to the accuracy of the list.)
Tianneng Health Industry Group Co Ltd
Original Assignee
Tianneng Health Industry Group Co Ltd
Priority date (The priority date is an assumption and is not a legal conclusion. Google has not performed a legal analysis and makes no representation as to the accuracy of the date listed.)
Filing date
Publication date
Application filed by Tianneng Health Industry Group Co Ltd filed Critical Tianneng Health Industry Group Co Ltd
Priority to CN202021425596.7U priority Critical patent/CN212870542U/en
Application granted granted Critical
Publication of CN212870542U publication Critical patent/CN212870542U/en
Expired - Fee Related legal-status Critical Current
Anticipated expiration legal-status Critical

Links

Images

Landscapes

  • Drying Of Solid Materials (AREA)

Abstract

本实用新型公开了一种食品加工用快速均匀风干装置,包括风干箱,所述风干箱的顶部外壁固定连接有加热箱,所述风干箱的顶部外壁且位于加热箱的一侧固定连接有风干机,所述风干箱的内壁顶部固定连接有风管,所述风管的一端与加热箱固定连接,所述风干箱的一侧外壁上固定连接有第一转轮,所述第一转轮上设置有第一转轴。通过第一转轮的转动带动连接板上的拨动杆随之转动,拨动杆的转动会与固定杆接触,进而使第一转轮拨动第二转轮转动,使第二转轮带动第二转轴上的网筒间歇运动,本装置通过间歇式的转动,使风筒内的自立袋与顶部传送的热风进行更好的接触,使自立袋风干更快速,节省风干时间,具有实用性。

Figure 202021425596

The utility model discloses a fast and uniform air-drying device for food processing, comprising an air-drying box, a heating box is fixedly connected to the top outer wall of the air-drying box, and an air-drying box is fixedly connected to the top outer wall of the air-drying box and located on one side of the heating box. An air duct is fixedly connected to the top of the inner wall of the air-drying box, one end of the air duct is fixedly connected to the heating box, and a first runner is fixedly connected to one side of the outer wall of the air-drying box, and the first runner A first rotating shaft is arranged thereon. The rotation of the first wheel drives the toggle lever on the connecting plate to rotate along with it, and the rotation of the toggle lever will contact the fixed rod, so that the first wheel will toggle the second wheel to rotate, so that the second wheel will drive The mesh cylinder on the second rotating shaft moves intermittently. Through intermittent rotation, the device makes the self-supporting bag in the air cylinder better contact with the hot air transmitted from the top, so that the self-supporting bag can be air-dried more quickly, and the air-drying time can be saved. It is practical .

Figure 202021425596

Description

Food processing is with quick even air-drying device
Technical Field
The utility model belongs to the technical field of air-dry the device, concretely relates to food processing is with quick even air-drying device.
Background
Food processing refers to the processing activities of food such as grain milling, feed processing, vegetable oil and sugar processing and the like directly performed on agricultural, forestry, herding and fishery products as raw materials, and food air drying refers to a method for reducing the moisture in food to a level sufficient to prevent putrefaction and deterioration under natural or artificial conditions, and keeping the moisture low all the time, so that long-term storage can be performed. Food need carry out self-reliance bag seal packing to it after air-drying, and present self-reliance bag is attached to moisture in the filling product back surface, remains moisture in the slit easily, has bred the bacterium easily for a long time, influences the preservation quality of food, needs to carry out drying process to it.
Present food processing is with quick even air-dry device when using, has air-dry speed slowly, the problem of preparation inefficiency, and when the air-dry box rotated and air-dries, the self-reliance bag piled up together easily, is unfavorable for evenly air-drying, consequently, we have proposed a food processing is with quick even air-dry device.
SUMMERY OF THE UTILITY MODEL
An object of the utility model is to provide a food processing is with quick even air-drying device to provide a current food processing is with quick even air-drying device in the use in solving above-mentioned background art, because self-reliance bag air-dry speed is slow, air-dry inhomogeneous, thereby lead to the problem that preparation efficiency is low, the air-dry effect is poor.
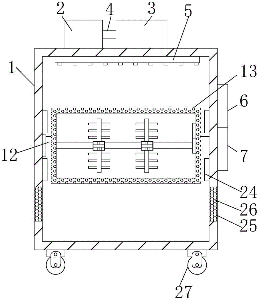
In order to achieve the above object, the utility model provides a following technical scheme: a rapid and uniform air drying device for food processing comprises an air drying box, the outer wall of the top of the air drying box is fixedly connected with a heating box, an air dryer is fixedly connected with the outer wall of the top of the air drying box and positioned at one side of the heating box, an air pipe is fixedly connected with the top of the inner wall of the air drying box, one end of the air pipe is fixedly connected with the heating box, the outer wall of one side of the air drying box is fixedly connected with a first rotating wheel, the first rotating wheel is provided with a first rotating shaft, the outer wall of the first rotating shaft and the outer wall of the first rotating wheel are fixedly connected with a connecting plate, a poke rod is fixedly connected with the outer wall of one side of the first rotating shaft, a second rotating wheel is fixedly connected with the outer wall of the air drying box and positioned below the first rotating wheel, the outer wall fixedly connected with dead lever of second runner, fixedly connected with second pivot on the outer wall of second runner, fixedly connected with net section of thick bamboo in the second pivot.
Preferably, the inner wall of the net barrel is fixedly connected with a main gear, the inner wall of the net barrel is meshed and connected with an auxiliary gear below the main gear, the outer wall of the auxiliary gear is fixedly connected with a third rotating shaft, and the outer wall of the third rotating shaft is fixedly connected with a fixing frame.
Preferably, the inner wall fixedly connected with motor of fixed frame, the output shaft fixedly connected with third runner of motor, the upper and lower both sides outer wall of third runner is fixedly connected with head rod and second connecting rod respectively, the equal fixedly connected with puddler of one end that the third runner was kept away from to head rod and second connecting rod, the outer wall welding of puddler has stirring vane.
Preferably, one side of the heating box is fixedly connected with a connecting pipe, and the heating box is communicated with the air dryer through the connecting pipe.
Preferably, the sterilizing lamps are fixedly connected to the two sides of the inner wall of the air drying box and positioned on the outer side of the net barrel.
Preferably, the air drying box is provided with air vents on the outer walls of the two sides, and filter screens are fixedly connected between the inner walls of the air vents.
Preferably, the outer wall of the bottom of the air drying box is fixedly connected with a moving device.
Compared with the prior art, the beneficial effects of the utility model are that:
1. place in the net section of thick bamboo through the self-reliance bag that will air-dry, start the dorsal drive arrangement of first runner, it rotates to drive first runner, the rotation of first runner drives the poker rod on the connecting plate and rotates thereupon, the rotation of poker rod can contact with the dead lever, and then make first runner stir the rotation of second runner, make the second runner drive the epaxial net section of thick bamboo intermittent motion of second pivot, it makes wind through starting air dryer and get into the air-dry incasement portion behind the heating cabinet, dry the self-reliance bag, this device is through the rotation of intermittent type formula, make the self-reliance bag in the dryer carry out better contact with the hot-blast of top conveying, it is faster to make the self-reliance bag air-dry, save the air-dry time, and the practicality has.
2. Drive the pinion through starting the master gear and rotate, the pinion drives the rotation of third pivot, and then make the second pivot, puddler and stirring vane overturn the food of inside, it rotates to drive the third runner through starter motor, the third runner drives head rod and second connecting rod motion, head rod and second connecting rod drive puddler and stirring vane rotate, make puddler and stirring vane realize dual motion, this device stirs through the self-reliance bag to the inside of net section of thick bamboo, avoid its adhesion together, can be better air-dry, avoid partial self-reliance bag to pile up, thereby lead to air-drying inhomogeneous problem.
Drawings
Fig. 1 is a schematic structural view of the present invention;
fig. 2 is a schematic structural view of a first rotating wheel of the present invention;
FIG. 3 is a schematic view of the structure of the net drum of the present invention;
fig. 4 is a schematic structural view of the third runner of the present invention.
In the figure: 1. an air drying box; 2. a heating box; 3. an air dryer; 4. a connecting pipe; 5. an air duct; 6. a first runner; 7. a first rotating shaft; 8. a connecting plate; 9. a poke rod; 10. a second runner; 11. fixing the rod; 12. a second rotating shaft; 13. a net drum; 14. a main gear; 15. a pinion gear; 16. a third rotating shaft; 17. a fixing frame; 18. a motor; 19. a third rotating wheel; 20. a first connecting rod; 21. a second connecting rod; 22. a stirring rod; 23. a stirring blade; 24. a sterilizing lamp; 25. a vent; 26. filtering with a screen; 27. a mobile device.
Detailed Description
The technical solutions in the embodiments of the present invention will be described clearly and completely with reference to the accompanying drawings in the embodiments of the present invention, and it is obvious that the described embodiments are only some embodiments of the present invention, not all embodiments. Based on the embodiments in the present invention, all other embodiments obtained by a person skilled in the art without creative work belong to the protection scope of the present invention.
Referring to fig. 1-4, the present invention provides a technical solution: a quick and uniform air drying device for food processing comprises an air drying box 1, a heating box 2 is fixedly connected to the outer wall of the top of the air drying box 1, an air dryer 3 is fixedly connected to the outer wall of the top of the air drying box 1 and positioned on one side of the heating box 2, an air pipe 5 is fixedly connected to the top of the inner wall of the air drying box 1, one end of the air pipe 5 is fixedly connected with the heating box 2, a first rotating wheel 6 is fixedly connected to the outer wall of one side of the air drying box 1, a first rotating shaft 7 is arranged on the first rotating wheel 6, a connecting plate 8 is fixedly connected to the outer wall of the first rotating shaft 7 and positioned on the outer wall of the first rotating wheel 6, a poking rod 9 is fixedly connected to the outer wall of the air drying box 1 and positioned below the first rotating wheel 6, a second rotating wheel 10 is fixedly connected to the outer wall of the second rotating wheel 10, a second rotating shaft 12 is fixedly connected to the, a net drum 13 is fixedly connected to the second rotating shaft 12.
In this embodiment, the self-supporting bag to be air-dried is placed in the net cylinder 13, the driving device on the back side of the first rotating wheel 6 is started, the first rotating wheel 6 is driven to rotate, the rotating of the first rotating wheel 6 drives the poking rod 9 on the connecting plate 8 to rotate along with the rotating, the first rotating wheel 6 is not in a closed state and is in contact with the second rotating wheel 10, the rotating of the poking rod 9 is in contact with the fixing rod 11, the first rotating wheel 6 is further enabled to poke the second rotating wheel 10 to rotate, the second rotating wheel 10 is enabled to drive the net cylinder 13 on the second rotating shaft 12 to intermittently move, the contact time of the self-supporting bag and the wind transmitted from the top is prolonged, the wind enters the air drying box 1 through the heating box 2 by starting the air dryer 3, and the self-supporting bag is dried.
Specifically, a main gear 14 is fixedly connected to an inner wall of the mesh drum 13, a pinion 15 is engaged and connected to the inner wall of the mesh drum 13 and located below the main gear 14, a third rotating shaft 16 is fixedly connected to an outer wall of the pinion 15, and a fixing frame 17 is fixedly connected to an outer wall of the third rotating shaft 16.
In this embodiment, the main gear 14 is activated to rotate the secondary gear 15, and the secondary gear 15 rotates the third shaft 16, so that the second shaft 12, the stirring rod 22 and the stirring blade 23 can turn the food inside.
Specifically, the inner wall of the fixed frame 17 is fixedly connected with a motor 18, an output shaft of the motor 18 is fixedly connected with a third rotating wheel 19, outer walls of the upper side and the lower side of the third rotating wheel 19 are respectively fixedly connected with a first connecting rod 20 and a second connecting rod 21, one ends of the first connecting rod 20 and the second connecting rod 21, which are far away from the third rotating wheel 19, are respectively fixedly connected with a stirring rod 22, and the outer wall of the stirring rod 22 is welded with stirring blades 23.
In this embodiment, the third rotating wheel 19 is driven to rotate by the starting motor 18, the third rotating wheel 19 drives the first connecting rod 20 and the second connecting rod 21 to move, and the first connecting rod 20 and the second connecting rod 21 drive the stirring rod 22 and the stirring blade 23 to rotate, so that the stirring rod 22 and the stirring blade 23 realize dual movement.
Specifically, one side fixedly connected with connecting pipe 4 of heating cabinet 2, communicate through connecting pipe 4 between heating cabinet 2 and the air dryer 3.
In this embodiment, the air delivered by the air dryer 3 is heated by the heating box 2, so that the drying effect is better.
Specifically, the sterilizing lamps 24 are fixedly connected to the two sides of the inner wall of the air drying box 1 and positioned outside the net cylinder 13.
In this embodiment, carry out the disinfection of disinfecting when air-drying food, make the air-dried food of this device more healthy.
Specifically, the outer walls of the two sides of the air drying box 1 are provided with ventilation openings 25, and filter screens 26 are fixedly connected between the inner walls of the ventilation openings 25.
In this embodiment, the ventilation opening 25 is provided to facilitate the replacement of air inside the drying box 1, and the filter net 26 prevents the entry of external dust.
Specifically, the outer wall of the bottom of the air drying box 1 is fixedly connected with a moving device 27.
In this embodiment, the moving device 27 facilitates the movement of the device, and the use is more convenient.
The utility model discloses a theory of operation and use flow: when the self-supporting bag drying device is used, a self-supporting bag to be dried is placed in the net cylinder 13, the driving device on the back side of the first rotating wheel 6 is started to drive the first rotating wheel 6 to rotate, the rotating of the first rotating wheel 6 drives the poking rod 9 on the connecting plate 8 to rotate along with the rotating, the poking rod 9 is in an unclosed state and is in contact with the second rotating wheel 10, the rotating of the poking rod 9 is in contact with the fixed rod 11, the first rotating wheel 6 pokes the second rotating wheel 10 to rotate, the second rotating wheel 10 drives the net cylinder 13 on the second rotating shaft 12 to intermittently move, and air enters the air drying box 1 after passing through the heating box 2 by starting the air dryer 3 to dry the self-supporting bag; the auxiliary gear 15 is driven to rotate by starting the main gear 14, the auxiliary gear 15 drives the third rotating shaft 16 to rotate, so that the second rotating shaft 12, the stirring rod 22 and the stirring blade 23 overturn the self-supporting bag inside, the third rotating wheel 19 is driven to rotate by the starting motor 18, the third rotating wheel 19 drives the first connecting rod 20 and the second connecting rod 21 to move, the first connecting rod 20 and the second connecting rod 21 drive the stirring rod 22 and the stirring blade 23 to rotate, and the stirring rod 22 and the stirring blade 23 realize double movement.
Although embodiments of the present invention have been shown and described, it will be appreciated by those skilled in the art that changes, modifications, substitutions and alterations can be made in these embodiments without departing from the principles and spirit of the invention, the scope of which is defined in the appended claims and their equivalents.

Claims (7)

1.一种食品加工用快速均匀风干装置,包括风干箱(1),其特征在于:所述风干箱(1)的顶部外壁固定连接有加热箱(2),所述风干箱(1)的顶部外壁且位于加热箱(2)的一侧固定连接有风干机(3),所述风干箱(1)的内壁顶部固定连接有风管(5),所述风管(5)的一端与加热箱(2)固定连接,所述风干箱(1)的一侧外壁上固定连接有第一转轮(6),所述第一转轮(6)上设置有第一转轴(7),所述第一转轴(7)的外壁且位于第一转轮(6)的外壁上固定连接有连接板(8),所述第一转轴(7)的一侧外壁固定连接有拨动杆(9),所述风干箱(1)的外壁且位于第一转轮(6)的下方固定连接有第二转轮(10),所述第二转轮(10)的外壁固定连接有固定杆(11),所述第二转轮(10)的外壁上固定连接有第二转轴(12),所述第二转轴(12)上固定连接有网筒(13)。1. A fast and uniform air-drying device for food processing, comprising an air-drying box (1), characterized in that: the top outer wall of the air-drying box (1) is fixedly connected with a heating box (2), and the air-drying box (1) is An air dryer (3) is fixedly connected to the outer wall of the top and located on one side of the heating box (2), and an air duct (5) is fixedly connected to the top of the inner wall of the air drying box (1). The heating box (2) is fixedly connected, a first rotating wheel (6) is fixedly connected on one side outer wall of the air-drying box (1), and a first rotating shaft (7) is arranged on the first rotating wheel (6), A connecting plate (8) is fixedly connected to the outer wall of the first rotating shaft (7) and is located on the outer wall of the first rotating wheel (6), and a toggle lever (8) is fixedly connected to the outer wall of one side of the first rotating shaft (7). 9), a second runner (10) is fixedly connected to the outer wall of the air-drying box (1) and located below the first runner (6), and a fixing rod is fixedly connected to the outer wall of the second runner (10). (11), a second rotating shaft (12) is fixedly connected to the outer wall of the second rotating wheel (10), and a mesh cylinder (13) is fixedly connected to the second rotating shaft (12). 2.根据权利要求1所述的一种食品加工用快速均匀风干装置,其特征在于:所述网筒(13)的内壁固定连接有主齿轮(14),所述网筒(13)的内壁且位于主齿轮(14)的下方啮合连接有副齿轮(15),所述副齿轮(15)的外壁固定连接有第三转轴(16),所述第三转轴(16)的外壁固定连接有固定框(17)。2. A kind of fast and uniform air-drying device for food processing according to claim 1, characterized in that: the inner wall of the mesh cylinder (13) is fixedly connected with a main gear (14), and the inner wall of the mesh cylinder (13) is fixedly connected with a main gear (14). A secondary gear (15) is meshed and connected below the main gear (14), the outer wall of the secondary gear (15) is fixedly connected with a third rotating shaft (16), and the outer wall of the third rotating shaft (16) is fixedly connected with a Fixed frame (17). 3.根据权利要求2所述的一种食品加工用快速均匀风干装置,其特征在于:所述固定框(17)的内壁固定连接有电机(18),所述电机(18)的输出轴固定连接有第三转轮(19),所述第三转轮(19)的上下两侧外壁分别固定连接有第一连接杆(20)与第二连接杆(21),所述第一连接杆(20)与第二连接杆(21)远离第三转轮(19)的一端均固定连接有搅拌杆(22),所述搅拌杆(22)的外壁焊接有搅拌叶片(23)。3. A fast and uniform air-drying device for food processing according to claim 2, characterized in that: the inner wall of the fixing frame (17) is fixedly connected with a motor (18), and the output shaft of the motor (18) is fixed A third runner (19) is connected, the outer walls of the upper and lower sides of the third runner (19) are respectively fixedly connected with a first connecting rod (20) and a second connecting rod (21), the first connecting rod (20) A stirring rod (22) is fixedly connected to the end of the second connecting rod (21) away from the third runner (19), and a stirring blade (23) is welded to the outer wall of the stirring rod (22). 4.根据权利要求1所述的一种食品加工用快速均匀风干装置,其特征在于:所述加热箱(2)的一侧固定连接有连接管(4),所述加热箱(2)与风干机(3)之间通过连接管(4)连通。4. A kind of fast and uniform air-drying device for food processing according to claim 1, characterized in that: one side of the heating box (2) is fixedly connected with a connecting pipe (4), and the heating box (2) is connected with The air dryers (3) are communicated through a connecting pipe (4). 5.根据权利要求1所述的一种食品加工用快速均匀风干装置,其特征在于:所述风干箱(1)的内壁两侧且位于网筒(13)的外侧固定连接有消毒灯(24)。5. A kind of fast and uniform air-drying device for food processing according to claim 1, characterized in that: both sides of the inner wall of the air-drying box (1) and the outer side of the net cylinder (13) are fixedly connected with a disinfection lamp (24). ). 6.根据权利要求1所述的一种食品加工用快速均匀风干装置,其特征在于:所述风干箱(1)的两侧外壁上均开设有通风口(25),所述通风口(25)的内壁之间固定连接有滤网(26)。6. A kind of fast and uniform air-drying device for food processing according to claim 1, characterized in that: both sides outer walls of the air-drying box (1) are provided with vents (25), and the vents (25) A filter screen (26) is fixedly connected between the inner walls of ). 7.根据权利要求1所述的一种食品加工用快速均匀风干装置,其特征在于:所述风干箱(1)的底部外壁固定连接有移动装置(27)。7 . The fast and uniform air-drying device for food processing according to claim 1 , wherein a moving device ( 27 ) is fixedly connected to the bottom outer wall of the air-drying box ( 1 ). 8 .
CN202021425596.7U 2020-07-17 2020-07-17 Food processing is with quick even air-drying device Expired - Fee Related CN212870542U (en)

Priority Applications (1)

Application Number Priority Date Filing Date Title
CN202021425596.7U CN212870542U (en) 2020-07-17 2020-07-17 Food processing is with quick even air-drying device

Applications Claiming Priority (1)

Application Number Priority Date Filing Date Title
CN202021425596.7U CN212870542U (en) 2020-07-17 2020-07-17 Food processing is with quick even air-drying device

Publications (1)

Publication Number Publication Date
CN212870542U true CN212870542U (en) 2021-04-02

Family

ID=75215390

Family Applications (1)

Application Number Title Priority Date Filing Date
CN202021425596.7U Expired - Fee Related CN212870542U (en) 2020-07-17 2020-07-17 Food processing is with quick even air-drying device

Country Status (1)

Country Link
CN (1) CN212870542U (en)

Cited By (1)

* Cited by examiner, † Cited by third party
Publication number Priority date Publication date Assignee Title
CN114705009A (en) * 2022-04-19 2022-07-05 甘肃省农业科学院农产品贮藏加工研究所 Drying device for drying day lily

Cited By (1)

* Cited by examiner, † Cited by third party
Publication number Priority date Publication date Assignee Title
CN114705009A (en) * 2022-04-19 2022-07-05 甘肃省农业科学院农产品贮藏加工研究所 Drying device for drying day lily

Similar Documents

Publication Publication Date Title
CN215809847U (en) A kind of ecological agriculture seed drying equipment
CN210663735U (en) Agricultural grain dryer
CN212870542U (en) Food processing is with quick even air-drying device
CN216482122U (en) A kind of drying device for sea vegetable powder processing
CN110537572A (en) A food processing and drying device
CN218949555U (en) Automatic filling equipment of fodder
CN220169899U (en) Material suspension drying device
CN220187285U (en) Efficient dewatering device for feed production
CN106839733A (en) A kind of circulation type grain drying goes out paddy machine
CN216814871U (en) Novel efficient rice drying-machine
CN206478978U (en) A kind of closed organic fertilizer dryer
CN115253974A (en) A kind of dehydration kettle for production of piperazine compound and working method thereof
CN215724711U (en) Do benefit to cylinder drying-machine that organic fertilizer evenly dried
CN113834300B (en) A tea seed storage device for tea-oil camellia processing
CN210832963U (en) Saving type fodder drying device
CN2404077Y (en) Drying machine for grains
CN213454685U (en) Effectual bio-fertilizer production facility dries
CN108497534A (en) A kind of centering type Blendling-device of feedstuffs with functions/drying
CN213881599U (en) Heat treatment air inlet device for farm produce market tailstocks
CN208447310U (en) A kind of food processing thermal cycle baking box
CN222895493U (en) Drum drying machine for processing organic fertilizer
CN217785753U (en) Drying machine
CN222747658U (en) Drying device is used in organic fertilizer production
CN222881618U (en) An improved single-drum drying machine
CN222302945U (en) Energy-saving efficient grain dryer

Legal Events

Date Code Title Description
GR01 Patent grant
GR01 Patent grant
CF01 Termination of patent right due to non-payment of annual fee
CF01 Termination of patent right due to non-payment of annual fee

Granted publication date: 20210402