CN212851840U - Tea leaf harvester - Google Patents

Tea leaf harvester Download PDF

Info

Publication number
CN212851840U
CN212851840U CN202020846689.0U CN202020846689U CN212851840U CN 212851840 U CN212851840 U CN 212851840U CN 202020846689 U CN202020846689 U CN 202020846689U CN 212851840 U CN212851840 U CN 212851840U
Authority
CN
China
Prior art keywords
cutter
main
cutter body
harvesting
tea
Prior art date
Legal status (The legal status is an assumption and is not a legal conclusion. Google has not performed a legal analysis and makes no representation as to the accuracy of the status listed.)
Expired - Fee Related
Application number
CN202020846689.0U
Other languages
Chinese (zh)
Inventor
杨晨龙
周忠友
Current Assignee (The listed assignees may be inaccurate. Google has not performed a legal analysis and makes no representation or warranty as to the accuracy of the list.)
Huzhou Vocational and Technical College
Original Assignee
Huzhou Vocational and Technical College
Priority date (The priority date is an assumption and is not a legal conclusion. Google has not performed a legal analysis and makes no representation as to the accuracy of the date listed.)
Filing date
Publication date
Application filed by Huzhou Vocational and Technical College filed Critical Huzhou Vocational and Technical College
Priority to CN202020846689.0U priority Critical patent/CN212851840U/en
Application granted granted Critical
Publication of CN212851840U publication Critical patent/CN212851840U/en
Expired - Fee Related legal-status Critical Current
Anticipated expiration legal-status Critical

Links

Images

Landscapes

  • Harvesting Machines For Specific Crops (AREA)

Abstract

本发明提供了一种茶叶收割机,包括外壳、茶叶收集器、收割机构以及初筛机构;所述外壳包括顶部和所述顶部两侧的向下延伸的侧部,所述侧部下端设有履带行走机构和转向机构;所述茶叶收集器包括收集箱连通;所述收割机构包括主收割斗和侧收割斗,所述主收割斗端部设有主割刀,所述主割刀上端设有收割波轮,所述侧收割斗上设有侧割刀,所述侧割刀上侧设有扫轮;所述初筛机构包括筛板,所述筛板位于所述收割机构与所述顶部之间,所述筛板上设有开孔。该收割机能够对不同地形、不同生长状况的茶树进行采收,采摘的茶叶可进行初筛,保证采摘存储过程中对茶叶品质造成影响。

Figure 202020846689

The invention provides a tea harvester, comprising a casing, a tea collector, a harvesting mechanism and a primary screening mechanism; the casing includes a top and downwardly extending side portions on both sides of the top, and the lower end of the side portion is provided with A crawler traveling mechanism and a steering mechanism; the tea collector includes a collection box in communication; the harvesting mechanism includes a main harvesting bucket and a side harvesting bucket, the end of the main harvesting bucket is provided with a main cutter, and the upper end of the main cutter is provided with There is a harvesting pulsator, the side harvesting bucket is provided with a side cutter, and the upper side of the side cutter is provided with a sweeping wheel; the primary screening mechanism includes a sieve plate, and the sieve plate is located between the harvesting mechanism and the Between the tops, the sieve plate is provided with openings. The harvester can harvest tea trees with different terrains and growth conditions, and the picked tea leaves can be pre-screened to ensure that the quality of the tea leaves is affected during the picking and storage process.

Figure 202020846689

Description

Tea leaf harvester
Technical Field
The invention relates to the technical field of agricultural machinery, in particular to a tea harvester.
Background
At present, tea plucking is usually carried out by tea growers in a manual mode or a backpack tea plucker or a double tea plucker. The tea plucking machine is mostly based on the cutting type working principle, the plucking process is interrupted by a lot of pieces, the impurities are more, and the cut tea is mostly used for making the powdered tea bag. The handheld tea plucker is small in one-time picking amount, and needs to frequently transfer tea leaves picked, so that the backpack tea plucker is very inconvenient to operate due to the fact that the backpack tea plucker is heavy, and needs other people to help to sort the tea leaves picked into the storage bag. If the rail-mounted walking tea plucker is adopted, the investment is large, and the tea plucker is difficult to adapt to the plucking of tea trees in different areas and different growth conditions.
Disclosure of Invention
The invention provides a tea harvester which can be used for harvesting tea trees in different terrains and different growth conditions, picked tea can be subjected to primary screening, and the influence on the tea quality in the picking and storing processes is ensured.
In order to achieve the purpose, the invention adopts the following technical scheme:
a tealeaves harvester which characterized in that: comprises a shell, a tea leaf collector, a harvesting mechanism and a primary screening mechanism; the shell comprises a top and side parts extending downwards on two sides of the top, and a crawler walking mechanism and a steering mechanism are arranged at the lower ends of the side parts; the tea leaf collector comprises a top plate and a collecting box at the side part of the top plate, and the upper side of the top plate is communicated with the collecting box; the harvesting mechanism comprises a main harvesting hopper and a side harvesting hopper, a main cutting knife is arranged at the end part of the main harvesting hopper, a harvesting impeller is arranged at the upper end of the main cutting knife, the main cutting knife comprises a first knife body and a second knife body, a main driving mechanism for driving the first knife body and the second knife body to move relatively is arranged at the side part of the main cutting knife, a side cutting knife is arranged on the side harvesting hopper, a sweeping wheel is arranged at the upper side of the side cutting knife, the side cutting knife comprises a third knife body and a fourth knife body, and an auxiliary driving mechanism for driving the third knife body and the fourth knife body to move relatively is arranged at the side part of the side cutting knife; the primary screening mechanism comprises a screen plate, the screen plate is located between the harvesting mechanism and the top, and an opening is formed in the screen plate.
Preferably, a main motor is arranged on the side portion of the main cutting knife, the main motor drives an eccentric shaft to rotate, a first eccentric wheel and a second eccentric wheel are arranged on the eccentric shaft, the first eccentric wheel abuts against the first knife body, and the second eccentric wheel abuts against the second knife body.
Preferably, a hydraulic communicating vessel is arranged on the opposite side of the main cutter and the main motor, piston rods are arranged on the opposite sides of the first cutter body and the second cutter body and the main motor, and the two piston rods are respectively connected with two ports of a hydraulic channel of the hydraulic communicating vessel.
Preferably, the second cutter body is provided with a guide groove, the first cutter body is partially embedded in the guide groove and can move relative to the second cutter body along the guide groove, and a plane roller plate is arranged between the first cutter body and the second cutter body.
Preferably, a track groove is formed in the fourth cutter body, the third cutter body is partially embedded in the track groove and can move along the track groove, an auxiliary motor is arranged on the side portion of the side cutter, a driving rod is eccentrically connected to a rotating shaft of the auxiliary motor, and the driving rod is hinged to the rotating shaft of the motor and the third cutter body.
Preferably, a primary screen frame is arranged on the lower side of the screen plate, and screen holes are formed in the area, opposite to the screen plate, of the primary screen frame.
Preferably, a third rack extending upwards is arranged on the side portion of the primary screening frame, a second height adjusting motor is arranged on the top portion of the primary screening frame, a third gear is arranged at the output end of the second height adjusting motor, and the third gear is meshed with the third rack.
Preferably, the main harvesting hopper comprises a side arm which is located at the end and extends upwards, a first rack is arranged on the side arm, a first height adjusting motor is arranged on the top, a first gear is arranged at the output end of the first height adjusting motor, and the first gear is meshed with the first rack.
Preferably, one end of the side harvesting hopper is hinged with the side arm, the other end of the side harvesting hopper is provided with a sliding block, the side portion of the side harvesting hopper is provided with a sliding groove embedded with the sliding block, the side portion of the sliding groove is provided with a second rack, the side portion of the sliding block is provided with a second gear, and the second gear is meshed with the second rack.
Preferably, the collection box is provided with a fan, and a vent hole is provided at the opposite side of the fan.
In summary, compared with the prior art, the invention has the advantages that: the harvesting machine can be used for harvesting tea trees in different terrains and different heights, is high in flexibility, and can adjust a harvesting mechanism according to the shape of the tea trees to ensure the quality stability of harvested leaves; picked tea leaves can be subjected to primary screening, impurities in the tea leaves are removed, subsequent processing work is reduced, and meanwhile, the influence on the quality of the tea leaves in the storage process of a collector is reduced.
Drawings
Fig. 1 is a schematic structural diagram of the present invention;
fig. 2 is a schematic structural view of another view angle of the present invention;
FIG. 3 is a schematic view of the main drive mechanism;
FIG. 4 is a schematic structural view of the sub-drive mechanism;
fig. 5 is a schematic view of the structure of the main cutter.
The reference numbers in the figures are as follows:
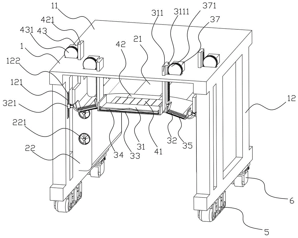
1. the main body of the harvester comprises a shell, 11, a top part, 12, a side part, 121, a sliding chute, 122, a second rack, 2, a tea leaf collector, 21, a top plate, 22, a collecting box, 221, a fan, 3, a harvesting mechanism, 31, a main harvesting hopper, 311, a side arm, 3111, a first rack, 32, a side harvesting hopper, 321, a sliding block, 322, a second gear, 33, a main cutter, 331, a first cutter body, 332, a second cutter body, 3321, a guide groove, 333, a plane roller plate, 34, a harvesting impeller, 35, a side cutter, 351, a third cutter body, 352, a fourth cutter body, 3521, a rail groove, 36, a sweeping wheel, 37, a first height adjusting motor, 371, a first gear, 4, a prescreening mechanism, 41, a sieve plate, 42, a primary sieve frame, 421, a third rack, 43, a second height adjusting motor, 431, a third gear, 5, a crawler traveling mechanism, 6, a steering mechanism, 7, a main driving mechanism, 71, a main motor, 72. eccentric shaft, 73, first eccentric wheel, 74, second eccentric wheel, 75, hydraulic communicating device, 76, piston rod, 8, secondary driving mechanism, 81, secondary motor, 82, driving rod.
Detailed Description
The invention will be further elucidated with reference to an embodiment in the drawing.
As shown in fig. 1 to 5, the tea leaf harvester includes a housing 1, a tea leaf collector 2, a harvesting mechanism 3, and a prescreening mechanism 4. The housing 1 comprises a top part 11 and a side part extending downwards on two sides of the top part 11, and the lower end of the side part 12 is provided with a crawler belt 5 mechanism and a steering mechanism 6. The crawler belt walking mechanism 5 comprises three walking wheels and a crawler belt wrapped on the outer side. The steering mechanism 6 comprises a steering wheel and a wheel carrier arranged on the shell 1, a steering motor is arranged on the side part of the wheel carrier, and the steering motor is meshed with the gear teeth on the wheel carrier through a gear at the output end to drive the wheel carrier to rotate. The wheel carrier may be connected to the housing 1 by bearings.
The tea leaf collector 2 comprises a top plate 21 and collecting boxes 22 on two sides of the top plate 21, the upper sides of the collecting boxes 22 are open, the upper sides of the top plate 21 are communicated with the collecting boxes 22, the top plate 21 is gradually inclined downwards from the middle part to the end part, and tea leaves falling on the top plate 21 can slide into the collecting boxes 22 on two sides along the top plate 21.
The harvesting mechanism 3 comprises a main harvesting hopper 31 and a side harvesting hopper 32, a main cutter 33 is arranged at the end part of the main harvesting hopper 31, a harvesting impeller 334 is arranged at the upper end of the main cutter 33, the main cutter 33 comprises a first cutter body 331 and a second cutter body 332, and a main driving mechanism 7 for driving the first cutter body 331 and the second cutter body 332 to move relatively is arranged at the side part of the main cutter 33. The side harvesting bucket 32 is provided with a side cutting knife 35, the upper side of the side cutting knife 35 is provided with a sweeping wheel 36, and the sweeping wheel 36 comprises a shaft lever and a convex rod which is arranged along the axial direction of the shaft lever and is vertical to the shaft lever. The side cutter 35 includes a third blade 351 and a fourth blade 352, and a sub-drive mechanism 8 for driving the third blade 351 and the fourth blade 352 to move relatively is provided on a side portion of the side cutter 35.
The main driving mechanism 7 comprises a main motor 71 positioned at the side part of the main cutting knife 33, the main motor 71 drives an eccentric shaft 72 to rotate, a first eccentric wheel 73 and a second eccentric wheel 74 are arranged on the eccentric shaft 72, the first eccentric wheel 73 abuts against a first knife body 331, and the second eccentric wheel 74 abuts against a second knife body 332. The two eccentric wheels drive the first cutter body and the second cutter body to move in a staggered mode.
The main cutter 33 is provided with a hydraulic communicating vessel 75 on the side opposite to the main motor 71, the first cutter body 331 and the second cutter body 332 are provided with piston rods 76 on the side opposite to the main motor 71, and the two piston rods 76 are respectively connected with two ports of a hydraulic passage of the hydraulic communicating vessel 75. When the eccentric shaft 72 drives the first cutter 331 and the second cutter 332 to perform the alternating motion, the two piston rods 76 alternately move toward the inside of the hydraulic communication unit 75, and the hydraulic communication unit 75 generates the restoring force of the first cutter 331 and the second cutter 332.
The second blade body 332 is provided with a guide groove 3321, the first blade body 331 is partially inserted into the guide groove 3321 and can move along the guide groove 3321 relative to the second blade body 332, and a plane roller plate 333 is provided between the first blade body 331 and the second blade body 332. The lower end of the second cutter 332 is also provided with a plane needle roller plate 333, and the plane needle roller plate 333 is fixed on the support plates at both sides.
The fourth cutter body 352 is provided with a track groove 3521, the third cutter body 351 is partially embedded in the track groove 3521 and can move along the track groove 3521, the side of the side cutter 35 is provided with an auxiliary motor 81, a rotating shaft of the auxiliary motor 81 is eccentrically connected with a driving rod 82, and the driving rod 82 is hinged with the rotating shaft of the motor and the third cutter body 351. The main motor 71 and the sub motor 81 are micro motors, and are supplied with power through a battery pack.
The first cutter body 331 and the second cutter body 332 move alternately, and the third cutter body 351 and the fourth cutter body 352 move alternately to cut tea leaves at the upper end and both sides of the tea tree, respectively.
The prescreening mechanism 4 comprises a sieve plate 41, the sieve plate 41 is positioned between the harvesting mechanism 3 and the top 11, and the sieve plate 41 is provided with an opening. A primary screen frame 42 is arranged on the lower side of the screen plate 41, and screen holes are arranged on the primary screen frame 42 in the area opposite to the screen plate 41. The side of the primary screen frame 42 is provided with a third rack 421 extending upwards, the top 11 is provided with a second height adjusting motor 43, the output end of the second height adjusting motor 43 is provided with a third gear 431, and the third gear 431 is meshed with the third rack 421.
The main harvesting hopper 31 comprises side arms which are located at the end portions and extend upwards, a first rack 3111 is arranged on the side arms 311, a first height adjusting motor 37 is arranged on the top portion 11, a first gear 371 is arranged at the output end of the first height adjusting motor 37, the first gear 371 is meshed with the first rack 3111, the height of the main harvesting hopper 31 is adjusted through the first height adjusting motor 37, and therefore harvesting of tea trees with different heights is adapted.
One end of the side harvesting bucket 32 is hinged with the side arm, the other end of the side harvesting bucket is provided with a sliding block 321, the side part 12 is provided with a sliding groove 121 embedded with the sliding block 321, the side part of the sliding groove 121 is provided with a second rack 122, the side part of the sliding block 321 is provided with a second gear 322, and the second gear 322 is meshed with the second rack 122. The open end of the sliding groove 121 is tightened inward to prevent the sliding block 321 from falling off.
The collection tank 22 is provided with a fan 221, and a vent hole provided at the opposite side of the fan 221. The fan 221 is located on the collecting box 22 near one side of the harvesting mechanism 3, and the tea leaves discharged into the collecting box 22 from one side of the harvesting mechanism 3 are dispersed to the other side under the action of the fan 221 so as to avoid the accumulation of local tea leaves in the collecting box 22, and the tea leaves with light weight and large area can drift away under the action of wind power and are separated from heavier particles. Meanwhile, the fan 221 can ventilate the collection box 22 regularly to avoid excessive internal humidity.
The above description is only for explaining the present invention and making the present invention complete, but not limiting the present invention, and the skilled in the art can make modifications without inventive contribution to the present embodiment as required after reading the present specification, and these are all modifications without inventive contribution, but are protected by patent laws within the scope of the claims of the present invention.

Claims (10)

1.一种茶叶收割机,其特征在于:包括外壳(1)、茶叶收集器(2)、收割机构(3)以及初筛机构(4);所述外壳(1)包括顶部(11)和所述顶部(11)两侧的向下延伸的侧部(12),所述侧部(12)下端设有履带行走机构(5)和转向机构(6);所述茶叶收集器(2)包括顶板(21)以及所述顶板(21)侧部的收集箱(22),所述顶板(21)上侧与所述收集箱(22)连通;所述收割机构(3)包括主收割斗(31)和侧收割斗(32),所述主收割斗(31)端部设有主割刀(33),所述主割刀(33)上端设有收割波轮(34),所述主割刀(33)包括第一刀体(331)和第二刀体(332),所述主割刀(33)侧部(12)设有驱动所述第一刀体(331)和所述第二刀体(332)相对移动的主驱动机构(7),所述侧收割斗(32)上设有侧割刀(35),所述侧割刀(35)上侧设有扫轮(36),所述侧割刀(35)包括第三刀体(351)和第四刀体(352),所述侧割刀(35)侧部设有驱动所述第三刀体(351)与所述第四刀体(352)相对移动的副驱动机构(8);所述初筛机构(4)包括筛板(41),所述筛板(41)位于所述收割机构(3)与所述顶部(11)之间,所述筛板(41)上设有开孔。1. A tea harvester, characterized in that it comprises a casing (1), a tea collector (2), a harvesting mechanism (3) and a primary screening mechanism (4); the casing (1) comprises a top (11) and a The downwardly extending side portions (12) on both sides of the top portion (11), the lower ends of the side portions (12) are provided with a crawler traveling mechanism (5) and a steering mechanism (6); the tea collector (2) comprising a top plate (21) and a collection box (22) on the side of the top plate (21), the upper side of the top plate (21) communicates with the collection box (22); the harvesting mechanism (3) includes a main harvesting bucket (31) and a side harvesting bucket (32), the end of the main harvesting bucket (31) is provided with a main cutter (33), and the upper end of the main cutter (33) is provided with a harvesting pulsator (34), the The main cutter (33) includes a first cutter body (331) and a second cutter body (332), and the side portion (12) of the main cutter (33) is provided with a drive to drive the first cutter body (331) and the second cutter body (332). The main drive mechanism (7) for the relative movement of the second cutter body (332), the side cutting bucket (32) is provided with a side cutter (35), and the upper side of the side cutter (35) is provided with a sweep wheel (36), the side cutter (35) includes a third cutter body (351) and a fourth cutter body (352), and the side portion of the side cutter (35) is provided with a drive to drive the third cutter body (351). ) an auxiliary driving mechanism (8) that moves relatively with the fourth cutter body (352); the primary screening mechanism (4) includes a screen plate (41), and the screen plate (41) is located in the harvesting mechanism (3) ) and the top (11), the sieve plate (41) is provided with openings. 2.根据权利要求1所述的一种茶叶收割机,其特征在于:所述主割刀(33)侧部设有主电机(71),所述主电机(71)驱动偏心轴(72)转动,所述偏心轴(72)上设有第一偏心轮(73)和第二偏心轮(74),所述第一偏心轮(73)与所述第一刀体(331)相抵,所述第二偏心轮(74)与所述第二刀体(332)相抵。2 . The tea harvester according to claim 1 , wherein a main motor ( 71 ) is provided on the side of the main cutter ( 33 ), and the main motor ( 71 ) drives the eccentric shaft ( 72 ). 3 . Rotating, the eccentric shaft (72) is provided with a first eccentric wheel (73) and a second eccentric wheel (74), the first eccentric wheel (73) is in contact with the first cutter body (331), so The second eccentric wheel (74) is in contact with the second cutter body (332). 3.根据权利要求2所述的一种茶叶收割机,其特征在于:所述主割刀(33)与所述主电机(71)相对侧设有液压连通器(75),所述第一刀体(331)和所述第二刀体(332)上与所述主电机(71)相对一侧设有活塞杆(76),两个所述活塞杆(76)分别与所述液压连通器(75)的液压通道的两端口相连。3. The tea harvester according to claim 2, characterized in that: a hydraulic connector (75) is provided on the opposite side of the main cutter (33) and the main motor (71), and the first The cutter body (331) and the second cutter body (332) are provided with piston rods (76) on the opposite side of the main motor (71), and the two piston rods (76) are respectively in communication with the hydraulic pressure The two ports of the hydraulic passage of the device (75) are connected. 4.根据权利要求2所述的一种茶叶收割机,其特征在于:所述第二刀体(332)上设有导槽(3321),所述第一刀体(331)部分嵌在所述导槽(3321)内并可沿所述导槽(3321)相对所述第二刀体(332)移动,所述第一刀体(331)与所述第二刀体(332)之间设有平面滚针板(333)。4. The tea harvester according to claim 2, characterized in that: the second cutter body (332) is provided with a guide groove (3321), and the first cutter body (331) is partially embedded in the The guide groove (3321) can move relative to the second knife body (332) along the guide groove (3321), between the first knife body (331) and the second knife body (332) A flat needle roller plate (333) is provided. 5.根据权利要求1所述的一种茶叶收割机,其特征在于:所述第四刀体(352)上设有轨道槽(3521),所述第三刀体(351)部分嵌在所述轨道槽(3521)内并可沿所述轨道槽(3521)运动,所述侧割刀(35)侧部设有副电机(81),所述副电机(81)的转轴上偏心连接有驱动杆(82),所述驱动杆(82)与所述副电机(81)的输出端和所述第三刀体(351)铰接连接。5. The tea harvester according to claim 1, characterized in that: the fourth cutter body (352) is provided with a track groove (3521), and the third cutter body (351) is partially embedded in the fourth cutter body (352). The orbital groove (3521) can move along the orbital groove (3521). The side of the side cutter (35) is provided with an auxiliary motor (81), and the rotating shaft of the auxiliary motor (81) is eccentrically connected with a A driving rod (82) is hingedly connected with the output end of the auxiliary motor (81) and the third cutter body (351). 6.根据权利要求1所述的一种茶叶收割机,其特征在于:所述筛板(41)下侧设有初筛架(42),所述初筛架(42)上与所述筛板(41)相对区域设有筛孔。6 . The tea harvester according to claim 1 , characterized in that: the lower side of the sieve plate ( 41 ) is provided with a primary sieve frame ( 42 ), and the primary sieve frame ( 42 ) is connected with the sieve. 7 . The opposite areas of the plate (41) are provided with screen holes. 7.根据权利要求6所述的一种茶叶收割机,其特征在于:所述初筛架(42)侧部设有向上延伸的第三齿条(421),所述顶部(11)设有第二高度调节电机(43),所述第二高度调节电机(43)的输出端设有第三齿轮(431),所述第三齿轮(431)与所述第三齿条(421)啮合。7. The tea harvester according to claim 6, characterized in that: a third rack (421) extending upward is provided on the side of the primary screen frame (42), and the top (11) is provided with a third rack (421) extending upward. A second height adjustment motor (43), the output end of the second height adjustment motor (43) is provided with a third gear (431), and the third gear (431) meshes with the third rack (421) . 8.根据权利要求1所述的一种茶叶收割机,其特征在于:所述主收割斗(31)包括位于端部的向上延伸的侧臂(311),所述侧臂(311)上设有第一齿条(3111),所述顶部(11)上设有第一高度调节电机(37),所述第一高度调节电机(37)的输出端设有第一齿轮(371),所述第一齿轮(371)与所述第一齿条(3111)啮合。8 . The tea harvester according to claim 1 , wherein the main harvesting bucket ( 31 ) comprises an upwardly extending side arm ( 311 ) at the end, and the side arm ( 311 ) is provided with a side arm ( 311 ). There is a first rack (3111), the top (11) is provided with a first height adjustment motor (37), and the output end of the first height adjustment motor (37) is provided with a first gear (371), so The first gear (371) meshes with the first rack (3111). 9.根据权利要求8所述的一种茶叶收割机,其特征在于:所述侧收割斗(32)一端与所述侧臂(311)铰接连接,另一端设有滑块(321),所述侧部(12)设有与所述滑块(321)嵌合的滑槽(121),所述滑槽(121)侧部(12)设有第二齿条(122),所述滑块(321)侧部设有第二齿轮(322),所述第二齿轮(322)与所述第二齿条(122)啮合。9 . The tea harvester according to claim 8 , wherein one end of the side harvesting bucket ( 32 ) is hingedly connected with the side arm ( 311 ), and the other end is provided with a slider ( 321 ), so that the The side portion (12) is provided with a chute (121) fitted with the slider (321), the side portion (12) of the chute (121) is provided with a second rack (122), and the slide slot (121) is provided with a second rack (122). A second gear (322) is provided on the side of the block (321), and the second gear (322) meshes with the second rack (122). 10.根据权利要求1所述的一种茶叶收割机,其特征在于:所述收集箱(22)上设有风扇(221),以及设置在所述风扇(221)相对侧的通风孔。10 . The tea harvester according to claim 1 , wherein a fan ( 221 ) is provided on the collection box ( 22 ), and ventilation holes are provided on the opposite side of the fan ( 221 ). 11 .
CN202020846689.0U 2020-05-20 2020-05-20 Tea leaf harvester Expired - Fee Related CN212851840U (en)

Priority Applications (1)

Application Number Priority Date Filing Date Title
CN202020846689.0U CN212851840U (en) 2020-05-20 2020-05-20 Tea leaf harvester

Applications Claiming Priority (1)

Application Number Priority Date Filing Date Title
CN202020846689.0U CN212851840U (en) 2020-05-20 2020-05-20 Tea leaf harvester

Publications (1)

Publication Number Publication Date
CN212851840U true CN212851840U (en) 2021-04-02

Family

ID=75205167

Family Applications (1)

Application Number Title Priority Date Filing Date
CN202020846689.0U Expired - Fee Related CN212851840U (en) 2020-05-20 2020-05-20 Tea leaf harvester

Country Status (1)

Country Link
CN (1) CN212851840U (en)

Cited By (3)

* Cited by examiner, † Cited by third party
Publication number Priority date Publication date Assignee Title
CN111512782A (en) * 2020-05-20 2020-08-11 湖州职业技术学院 Automatic Tea Harvester
CN113728799A (en) * 2021-08-05 2021-12-03 高力权 Automatic tea-leaf picker with sorting function
CN114514824A (en) * 2022-02-23 2022-05-20 庐江县金乔生态农业有限公司 Multi-functional tea-leaf picker of circulation rail mounted

Cited By (4)

* Cited by examiner, † Cited by third party
Publication number Priority date Publication date Assignee Title
CN111512782A (en) * 2020-05-20 2020-08-11 湖州职业技术学院 Automatic Tea Harvester
CN111512782B (en) * 2020-05-20 2024-03-15 湖州职业技术学院 Automatic tea harvester
CN113728799A (en) * 2021-08-05 2021-12-03 高力权 Automatic tea-leaf picker with sorting function
CN114514824A (en) * 2022-02-23 2022-05-20 庐江县金乔生态农业有限公司 Multi-functional tea-leaf picker of circulation rail mounted

Similar Documents

Publication Publication Date Title
CN111512782B (en) Automatic tea harvester
CN212851840U (en) Tea leaf harvester
CN111357477B (en) Agricultural weed collecting device
CN112219552A (en) Tender bud tea-leaf picker capable of screening broken leaves
CN112868376A (en) Hybrid power full-electric control sugarcane harvester
CN212544658U (en) A tea harvesting and screening mechanism
KR20190048259A (en) Fruit picking device
CN208754717U (en) pineapple harvester
CN207369660U (en) A kind of park maintenance vegetation trimmer
CN215345920U (en) A tea picking machine
CN112219553A (en) Self-propelled tea picking device capable of adaptively adjusting tea picking height
CN220342897U (en) Tobacco harvester with purely mechanical tobacco harvesting device
CN108450126B (en) Automatic stevia rebaudiana harvesting and defoliating integrated machine
CN214338722U (en) Tea leaf picking equipment
CN110149901A (en) High effective portable sweet osmanthus seed harvester
CN209218647U (en) A kind of winter jujube picking machine
CN214126083U (en) A winter jujube picking device
CN211982667U (en) Self-propelled harvester
CN111386857B (en) High-efficient agricultural harvesting robot
CN209710632U (en) A kind of electrically membrane removal machine
CN119234566B (en) A tobacco harvester employing a pairing semi-circular blade.
CN223322521U (en) A sour jujube harvester
CN219269579U (en) Automatic adjusting device of cotton picker
CN216795828U (en) Pruning device for planting podocarpus macrophyllus
CN219612507U (en) Soil preparation device

Legal Events

Date Code Title Description
GR01 Patent grant
GR01 Patent grant
EE01 Entry into force of recordation of patent licensing contract

Assignee: Huzhou Branch of Guangzhou Sound Channel AV Technology Co.,Ltd.

Assignor: HUZHOU VOCATIONAL TECHNOLOGY College

Contract record no.: X2022330000773

Denomination of utility model: Tea Harvester

Granted publication date: 20210402

License type: Common License

Record date: 20221215

EE01 Entry into force of recordation of patent licensing contract
CF01 Termination of patent right due to non-payment of annual fee

Granted publication date: 20210402

CF01 Termination of patent right due to non-payment of annual fee