CN212797618U - Even presser of food material package - Google Patents

Even presser of food material package Download PDF

Info

Publication number
CN212797618U
CN212797618U CN202021487666.1U CN202021487666U CN212797618U CN 212797618 U CN212797618 U CN 212797618U CN 202021487666 U CN202021487666 U CN 202021487666U CN 212797618 U CN212797618 U CN 212797618U
Authority
CN
China
Prior art keywords
food
pressing part
lower pressing
pressing
package
Prior art date
Legal status (The legal status is an assumption and is not a legal conclusion. Google has not performed a legal analysis and makes no representation as to the accuracy of the status listed.)
Expired - Fee Related
Application number
CN202021487666.1U
Other languages
Chinese (zh)
Inventor
张智勇
Current Assignee (The listed assignees may be inaccurate. Google has not performed a legal analysis and makes no representation or warranty as to the accuracy of the list.)
Anhui Maierke Biotechnology Co ltd
Original Assignee
Anhui Maierke Biotechnology Co ltd
Priority date (The priority date is an assumption and is not a legal conclusion. Google has not performed a legal analysis and makes no representation as to the accuracy of the date listed.)
Filing date
Publication date
Application filed by Anhui Maierke Biotechnology Co ltd filed Critical Anhui Maierke Biotechnology Co ltd
Priority to CN202021487666.1U priority Critical patent/CN212797618U/en
Application granted granted Critical
Publication of CN212797618U publication Critical patent/CN212797618U/en
Expired - Fee Related legal-status Critical Current
Anticipated expiration legal-status Critical

Links

Images

Landscapes

  • Auxiliary Devices For And Details Of Packaging Control (AREA)

Abstract

本实用新型公开了一种食品料包的均匀压制器,包括上下设置的上位压制部和下位压制部,上位压制部与下位压制部相向或背向运动;还包括:上位压制部与下位压制部接触面的边缘分别设置挤压条和承压板;下位压制部的一端设置用于食品料包输送压制的导向入口,导向入口输出的一端连接有用于放置食品料包的压制仓,压制仓的上方设置一用于注入调料的注射口;食品料包沿导向入口运动至压制仓,调料自注射口注入后上位压制部与下位压制部相向运动,挤压条和承压板将食品料包碾压封包。本实用新型通过设置将食品料包沿导向入口运输至压制仓,再通过上位压制部与下位压制部的压合作用,完成食品料包的注入均匀压制,效果良好。

Figure 202021487666

The utility model discloses a uniform pressing device for food packets, which comprises an upper pressing part and a lower pressing part arranged up and down, and the upper pressing part and the lower pressing part move toward or away from each other; further comprising: an upper pressing part and a lower pressing part The edge of the contact surface is respectively provided with an extrusion strip and a pressure-bearing plate; one end of the lower pressing part is provided with a guide inlet for conveying and pressing food packs, and the output end of the guide inlet is connected with a pressing bin for placing food packs. An injection port for injecting seasoning is set above; the food package moves along the guide inlet to the pressing bin, and after the seasoning is injected from the injection port, the upper pressing part and the lower pressing part move towards each other, and the extrusion bar and the pressure-bearing plate roll the food package. Compressed package. The utility model transports the food material package to the pressing bin along the guide inlet by setting, and then completes the injection and uniform pressing of the food material package through the pressing action of the upper pressing part and the lower pressing part, and the effect is good.

Figure 202021487666

Description

Even presser of food material package
Technical Field
The utility model relates to a food processing technology field especially relates to an even presser of food material package.
Background
In the modern food processing production process, production personnel need to accurately grasp the production process, namely the production quality monitoring of food processing, comprising the steps of material selection, mixing, process manufacturing and the like of the food processing.
During the processing of some foods, food seasoning bags are correspondingly produced to adjust the taste of the foods. In the existing production process, the food material bags are uneven after being packaged, the net content of the food material bags is easily different, air cannot be completely exhausted in the packaging process, the storage time of food can be reduced, particularly for fluid food ingredients, the food ingredients are not easily uniformly pressed in the food material bags and are ensured to have no air, and therefore equipment capable of enabling the food material bags to be uniformly filled and pressed is urgently needed to solve the problems.
SUMMERY OF THE UTILITY MODEL
Problem to above-mentioned prior art exists, the utility model provides an even presser of food material package, the utility model discloses a setting transports the food material package to the suppression storehouse along the direction entry, and the pressfitting effect of the last suppression portion of rethread and next suppression portion accomplishes the even suppression of injection of food material package, and is respond well.
In order to achieve the purpose, the utility model provides a uniform pressing device for food material bags, which comprises an upper pressing part and a lower pressing part which are arranged up and down, wherein the upper pressing part and the lower pressing part move in opposite directions or in opposite directions; further comprising:
the edges of the contact surfaces of the upper pressing part and the lower pressing part are respectively provided with an extrusion strip and a pressure bearing plate; one end of the lower pressing part is provided with a guide inlet for conveying and pressing the food material bag, one end of the output of the guide inlet is connected with a pressing bin for placing the food material bag, and an injection port for injecting seasoning is arranged above the pressing bin; the food material package moves to the pressing bin along the guide inlet, the upper pressing part and the lower pressing part move oppositely after the seasoning to be packaged in the food material package is injected into the food material package from the injection port, and the food material package is rolled and packaged by the extrusion strip and the pressure bearing plate.
As a further optimization of the above scheme, one end of the lower pressing part for conveying the food material bag is provided with a lifting structure, the lifting structure comprises a scale column for marking the pressing specification of the food material bag and a lifting rod for supporting the scale column, and the scale column is arranged outside the pressure bearing plate; the lower end of the bearing plate is provided with a rack for fixing and adjusting the height of the structure.
As a further optimization of the above scheme, the lower pressing part has a limiting structure, the limiting structure includes a horizontal supporting pipe perpendicular to the outer wall of the lower pressing part, a traction spring is arranged in the horizontal supporting pipe, and the traction spring is connected with the outer wall of the lower pressing part.
As a further optimization of the scheme, the limiting structure is further provided with an Contraband-shaped limiting rod, and one end of the limiting rod is connected with the traction spring; and a gear provided on the side of the lower pressing portion, the gear being in meshing contact with the other end of the regulating rod.
As a further optimization of the above solution, the gear is in meshing contact with the rack.
As the further optimization of above-mentioned scheme, the bottom in suppression storehouse sets up a conveyer belt that is used for passing to the food package after the suppression, the conveyer belt still sets up the lift post along the motion of perpendicular direction of transfer.
As a further refinement of the solution described above, the guide inlet is provided with a separating portion for separating the wrapped layer of food material.
As the further optimization of the scheme, one end of the upper pressing part in the direction different from the direction of the guide inlet is also provided with a knife switch for cutting the food material bag.
The utility model discloses an even presser of food material package possesses following beneficial effect:
1. the utility model discloses the setting is transported the wrapping bag of food package to the suppression storehouse along the direction entry, and other sides except that the injection port corresponds the limit are sealed with the pressfitting effect of next suppression portion to the higher level suppression portion of rethread, carry out the injection and the even suppression of food package again, respond well.
2. The utility model drives the lifting column and the conveyor belt after packaging, so that the height of the conveyor belt is changed, and the pressed material bag is conveyed out; based on the lifting structure and the limiting structure which are arranged, the specification of the pressed material bag can be flexibly controlled, so that the pressed material bag can meet different specification requirements of the market, and the effect is remarkable.
Drawings
Fig. 1 is a schematic structural view of the present invention;
fig. 2 is a schematic structural view of the lifting structure and the limiting structure of the present invention;
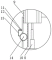
in the figure: the device comprises an upper pressing part 1, a lower pressing part 2, an extrusion strip 3, a pressure bearing plate 4, a guide inlet 5, a pressing bin 6, an injection port 7, a lifting rod 8, a scale column 9, a rack 10, a support transverse pipe 11, a traction spring 12, a limiting rod 13, a gear 14, a conveyor belt 15, a lifting column 16, a separating part 17, a knife switch 18 and a bag winding wheel 19.
Detailed Description
The technical solution in the embodiments of the present invention will be clearly and completely described below with reference to the drawings in the embodiments of the present invention, and it is obvious that the described embodiments are only some embodiments of the present invention, rather than all embodiments, and all other embodiments obtained by a person of ordinary skill in the art without creative work belong to the protection scope of the present invention based on the embodiments of the present invention.
Referring to fig. 1-2, in order to achieve the above object, the present invention provides a uniform pressing device for food material bags, comprising an upper pressing part 1 and a lower pressing part 2, which are vertically arranged, wherein the upper pressing part 1 and the lower pressing part 2 move in opposite directions or in opposite directions; further comprising: the edges of the contact surfaces of the upper pressing part 1 and the lower pressing part 2 are respectively provided with an extrusion strip 3 and a pressure bearing plate 4; one end of the lower pressing part 2 is provided with a guide inlet 5 for conveying and pressing the food material bag, one end of the output of the guide inlet 5 is connected with a pressing bin 6 for placing the food material bag, and an injection port 7 for injecting seasoning is arranged above the pressing bin 6; the food material package moves to pressing storehouse 6 along direction entry 5, and the food material is interior to wait to bag condiment and is injected into the food material package from injection port 7 and go up pressing portion 1 and the 2 relative motion of next pressing portion 2 in opposite directions, and extrusion strip 3 and bearing plate 4 roll the package with the food material package. The utility model discloses a setting transports food material package to suppression storehouse 6 along direction entry 5, and the pressfitting effect of the last suppression portion of rethread 1 and next suppression portion 2 accomplishes the even suppression of injection of food material package, and is respond well. It should be particularly noted that the front and rear positions of the pressing bin 6 are provided with baffles, which facilitate the fixation of the material bag during the pressing operation; and still set up the injection tube that is used for injecting food condiment with injection port 7 corresponding position, adopt the injection tube to pass through injection port 7 with food condiment injection to pressing in the storehouse 6, injection port 7 lies in between upper pressing portion 1 and the lower pressing portion 2, and injection port 7 is scalable to accomplish the injection of batching in the food package and the pressing operation of food package.
Specifically, one end of the lower pressing part 2 for conveying the food material bag is provided with a lifting structure, the lifting structure comprises a scale column 9 for marking the pressing specification of the food material bag and a lifting rod 8 for supporting the scale column 9, and the scale column 9 is arranged on the outer side of the bearing plate 4; the lower end of the bearing plate 4 is provided with a rack 10 for fixing and adjusting the height of the structure; more specifically, after the height of through adjusting lifter 8, change along with it with the bearing plate 4 that its fixed connection set up, drive scale post 9 and change the height together, obtain the specification of actual pressing material package promptly through reading the scale, it needs the corresponding height of scale post 9 for the bottom surface area of pressing storehouse 6 is explained here in particular that, the specification of material package.
Specifically, the lower pressing part 2 has a limiting structure, the limiting structure comprises a horizontal supporting pipe 11 which is perpendicular to the outer wall of the lower pressing part 2, a traction spring 12 is arranged in the horizontal supporting pipe 11, and the traction spring 12 is connected with the outer wall of the lower pressing part 2; based on the lifting structure and the limiting structure which are arranged, the specification of the pressed material bag can be flexibly controlled, so that the pressed material bag can meet different specification requirements of the market, and the effect is remarkable.
Specifically, the limiting structure is further provided with an Contraband-shaped limiting rod 13, and one end of the limiting rod 13 is connected with the traction spring 12; a gear 14 provided on the side of the lower press part 2, the gear 14 being in meshing contact with the other end of the regulating rod 13; more specifically, one end of the limiting rod 13 is fixedly connected with the traction spring 12, so that the limiting rod 13 has an elastic movement direction trend under the action of the elastic force of the traction spring 12; the other end thereof is engaged with the gear 14 to limit the gear 14.
Specifically, gear 14 and rack 10 meshing contact, gear 14 blocks rack 10 after spacing to make scale post 9 at fixed height, be convenient for calculate the post-pressing specification of food material package.
Specifically, the bottom end of the pressing bin 6 is provided with a conveyor belt 15 used for conveying the pressed food material bag, the conveyor belt 15 is further provided with a lifting column 16 moving along the vertical conveying direction, and the lifting column 16 is arranged to adjust the height of the conveyor belt 15 so as to facilitate conveying the pressed material bag out; it should be noted that the lifting columns 16 are in the same plane as the bearing plate 4, so that the conveyor belt 15 changes height after the height of the bearing plate 4 changes.
Specifically, the longitudinal position of the guide inlet 5 is symmetrically provided with bag winding wheels 19, and a separating part 17 for separating the food material package layer is arranged in the guide inlet 5; a knife switch 18 for cutting the food material bag is arranged at one end of the upper pressing part 1 in the direction different from the direction of the guide inlet 5. It should be particularly noted that, in order to make the packaging layer of the food package obviously delaminate up and down after entering the pressing bin, the preferred upper pressing portion of this embodiment is provided with a negative pressure air hole, and the internal pressure of the upper pressing portion is adjusted through the negative pressure air hole, so that the upper layer and the lower layer of the packaging layer of the food package are separated.
The utility model discloses still set up a driving motor who is connected with plug-in strip 18, this driving motor is adjustable plug-in strip 18's vertical height.
The working principle is as follows: when the utility model is operated for the first time, the two layers of the food material bag packaging bag are pulled out from the bag winding wheel 19 and are separated by the separating part 17 and extend to the switch knife 18;
after the equipment is started, the food material bags are packed and pressed except for one side of an injection port 7 by the extrusion strips 3 and the pressure bearing plates 4 of the upper pressing part 1 and the lower pressing part 2; then, the food seasoning is injected into the material bag packaging bag in the pressing bin 6 through the injection port 7, after the food seasoning is completely filled, the food seasoning is extracted out of the material injection equipment of the injection port 7, the side edge is packaged, and the lifting column 16 and the conveyor belt 15 are driven, so that the height of the conveyor belt 15 is changed along with the change of the height of the conveyor belt 15, and the pressed material bag is conveyed out; after the food material is completely transmitted, the driving motor drives the knife switch 18 to cut the material bag, the pressing and cutting of the food material bag are completed, and the process is circulated. The utility model discloses an even presser easy operation, work efficiency is high, and is respond well, can guarantee fluid food batching and 6 upper surface parallel and level in suppression storehouse during the suppression, and the inside no air of food package after the suppression remains, and the fluid batching that does not have and spills over gets into the position that food package bag mutually fixed about.
Finally, it should be noted that: although the present invention has been described in detail with reference to the foregoing embodiments, it will be apparent to those skilled in the art that modifications may be made to the embodiments described in the foregoing embodiments, or equivalents may be substituted for elements thereof. Any modification, equivalent replacement, or improvement made within the spirit and principle of the present invention should be included in the protection scope of the present invention.

Claims (8)

1.一种食品料包的均匀压制器,包括上下设置的上位压制部(1)和下位压制部(2),上位压制部(1)与下位压制部(2)相向或背向运动,其特征在于,还包括:1. A uniform pressing device for a food package, comprising an upper pressing part (1) and a lower pressing part (2) arranged up and down, and the upper pressing part (1) and the lower pressing part (2) move toward or away from each other, which It is characterized in that it also includes: 所述上位压制部(1)与下位压制部(2)接触面的边缘分别设置挤压条(3)和承压板(4);所述上位压制部(1)与下位压制部(2)的一端设置用于食品料包输送压制的导向入口(5),所述导向入口(5)输出的一端连接有用于放置食品料包的压制仓(6),所述压制仓(6)的上方设置一用于注入调料的注射口(7);食品料包沿导向入口(5)运动至压制仓(6),食品料包中的待装袋调料自注射口(7)注入食品料包后上位压制部(1)与下位压制部(2)相向运动,挤压条(3)和承压板(4)将食品料包碾压封包。The edges of the contact surfaces of the upper pressing part (1) and the lower pressing part (2) are respectively provided with a pressing strip (3) and a pressure bearing plate (4); the upper pressing part (1) and the lower pressing part (2) One end is provided with a guide inlet (5) for conveying and pressing food packages, and the output end of the guide inlet (5) is connected with a pressing bin (6) for placing food packs. The upper part of the pressing bin (6) An injection port (7) for injecting seasoning is provided; the food material package moves along the guide inlet (5) to the pressing chamber (6), and the seasoning to be bagged in the food material package is injected into the food material package from the injection port (7). The upper pressing part (1) and the lower pressing part (2) move toward each other, and the extrusion bar (3) and the pressure-bearing plate (4) roll the food material package to seal the package. 2.根据权利要求1所述的一种食品料包的均匀压制器,其特征在于,所述下位压制部(2)的食品料包输送一端设置升降结构,所述升降结构包括用于标识食品料包压制规格的刻度柱(9)和支撑刻度柱(9)的升降杆(8),所述刻度柱(9)设置在所述承压板(4)外侧;所述承压板(4)的下端设置一用于固定调节结构高度的齿条(10)。2. The uniform presser for food packets according to claim 1, characterized in that a lifting structure is provided at one end of the food packet conveying of the lower pressing part (2), and the lifting structure includes a device for marking food A scale column (9) of the material bag pressing specification and a lifting rod (8) supporting the scale column (9), the scale column (9) is arranged on the outside of the pressure-bearing plate (4); the pressure-bearing plate (4) ) is provided with a rack (10) for fixing the height of the adjusting structure. 3.根据权利要求2所述的一种食品料包的均匀压制器,其特征在于,所述下位压制部(2)的侧壁设置有限位结构,所述限位结构包括垂直下位压制部(2)的外壁设置的支撑横管(11),所述支撑横管(11)内设置一牵引弹簧(12),所述牵引弹簧(12)与下位压制部(2)的外壁连接。3. The uniform press of a food pack according to claim 2, wherein the side wall of the lower pressing portion (2) is provided with a limiting structure, and the limiting structure comprises a vertical lower pressing portion (2). 2) A supporting transverse tube (11) provided on the outer wall of the supporting transverse tube (11), a traction spring (12) is arranged in the supporting transverse tube (11), and the traction spring (12) is connected with the outer wall of the lower pressing part (2). 4.根据权利要求3所述的一种食品料包的均匀压制器,其特征在于,所述限位结构还设置一“匚”形限制杆(13),所述限制杆(13)的一端与牵引弹簧(12)连接设置;设置在下位压制部(2)侧边的齿轮(14),所述齿轮(14)与限制杆(13)另一端啮合接触。4. The uniform presser for food packs according to claim 3, wherein the limiting structure is further provided with a "tuck"-shaped limiting rod (13), one end of the limiting rod (13) The gear (14) is arranged in connection with the traction spring (12); the gear (14) is arranged on the side of the lower pressing part (2), and the gear (14) is in meshing contact with the other end of the limiting rod (13). 5.根据权利要求4所述的一种食品料包的均匀压制器,其特征在于,所述齿轮(14)与齿条(10)啮合接触。5. A uniform press for food packs according to claim 4, characterized in that the gear (14) is in meshing contact with the rack (10). 6.根据权利要求1所述的一种食品料包的均匀压制器,其特征在于,所述压制仓(6)的底端设置一用于传到压制后食品料包的传送带(15),所述传送带(15)还设置沿垂直传送方向运动的升降柱(16)。6. The uniform press of a food material package according to claim 1, wherein the bottom end of the pressing bin (6) is provided with a conveyor belt (15) for conveying to the pressed food material package, The conveyor belt (15) is also provided with a lifting column (16) that moves in the vertical conveying direction. 7.根据权利要求1所述的一种食品料包的均匀压制器,其特征在于,所述导向入口(5)的纵向位置对称设置绕袋轮(19),且导向入口(5)内设置一分离食品料包包装层的分离部(17)。7 . The uniform presser for food packs according to claim 1 , wherein the guide inlet ( 5 ) is arranged symmetrically with respect to the longitudinal position of the bag wrapping wheel ( 19 ), and the guide inlet ( 5 ) is arranged inside the guide inlet ( 5 ). 8 . A separation part (17) for separating the packaging layers of food packs. 8.根据权利要求1所述的一种食品料包的均匀压制器,其特征在于,与导向入口(5)异方向的所述上位压制部(1)一端还设置一用于切割食品料包的闸刀(18)。8. A uniform press for food packets according to claim 1, characterized in that, one end of the upper pressing part (1) in a different direction from the guide inlet (5) is also provided with a device for cutting the food packets the guillotine (18).
CN202021487666.1U 2020-07-24 2020-07-24 Even presser of food material package Expired - Fee Related CN212797618U (en)

Priority Applications (1)

Application Number Priority Date Filing Date Title
CN202021487666.1U CN212797618U (en) 2020-07-24 2020-07-24 Even presser of food material package

Applications Claiming Priority (1)

Application Number Priority Date Filing Date Title
CN202021487666.1U CN212797618U (en) 2020-07-24 2020-07-24 Even presser of food material package

Publications (1)

Publication Number Publication Date
CN212797618U true CN212797618U (en) 2021-03-26

Family

ID=75104548

Family Applications (1)

Application Number Title Priority Date Filing Date
CN202021487666.1U Expired - Fee Related CN212797618U (en) 2020-07-24 2020-07-24 Even presser of food material package

Country Status (1)

Country Link
CN (1) CN212797618U (en)

Cited By (1)

* Cited by examiner, † Cited by third party
Publication number Priority date Publication date Assignee Title
CN114229438A (en) * 2021-12-31 2022-03-25 安徽麦尔客生物科技有限公司 Lossless packing mechanism and food processing packing equipment based on same

Cited By (1)

* Cited by examiner, † Cited by third party
Publication number Priority date Publication date Assignee Title
CN114229438A (en) * 2021-12-31 2022-03-25 安徽麦尔客生物科技有限公司 Lossless packing mechanism and food processing packing equipment based on same

Similar Documents

Publication Publication Date Title
CN104057642B (en) Multilayer complex films planar band mouth Bag Making Machine and the bag technique using the Bag Making Machine
CN110294159B (en) Natural rubber bag film-covered packaging device and using method thereof
CN110606237A (en) Toy bagging and vacuumizing equipment
US2753671A (en) Machine for vacuum packaging using flexible sheet material
CN212797618U (en) Even presser of food material package
CN208498935U (en) Heat sealing machine
CN216660477U (en) Automatic packaging device for shaft-mounted welding strip
CN221809854U (en) Bread bagging machine
CN215205636U (en) Automatic packaging production line for inner and outer bags with high efficiency
CN205418269U (en) Intermittent transverse and longitudinal thermoplastic packaging device
CN206494148U (en) A kind of food automatic packaging machine
CN220374953U (en) Packaging equipment for packaging bagged food
CN118479123B (en) Food packaging equipment
CN222272456U (en) Vacuum-pumping sealing equipment for hard product bagging
CN209209122U (en) Cray vacuum packing machine
CN216509621U (en) Woven bag packaging device
CN115973544B (en) Bale breaker
CN116639344A (en) Packaging equipment for packaging bagged food
CN112960221B (en) Full-automatic packing pile up neatly production line
CN221624120U (en) Mushroom bagging machine
CN110092045A (en) A kind of heat sealing machine and heat sealing method
CN210212970U (en) A stick bag canning sealing equipment
CN209567143U (en) A kind of upright packing machine
CN222432678U (en) Automatic packaging machine for fresh wet noodle products
CN109969478B (en) Packaging method and application thereof in sheet packaging

Legal Events

Date Code Title Description
GR01 Patent grant
GR01 Patent grant
CF01 Termination of patent right due to non-payment of annual fee
CF01 Termination of patent right due to non-payment of annual fee

Granted publication date: 20210326