CN212795511U - Uniform plastic granulating device - Google Patents
Uniform plastic granulating device Download PDFInfo
- Publication number
- CN212795511U CN212795511U CN202021457027.0U CN202021457027U CN212795511U CN 212795511 U CN212795511 U CN 212795511U CN 202021457027 U CN202021457027 U CN 202021457027U CN 212795511 U CN212795511 U CN 212795511U
- Authority
- CN
- China
- Prior art keywords
- spacing
- cutting
- conveyer belt
- set forth
- compression roller
- Prior art date
- Legal status (The legal status is an assumption and is not a legal conclusion. Google has not performed a legal analysis and makes no representation as to the accuracy of the status listed.)
- Active
Links
- 229920003023 plastic Polymers 0.000 title claims abstract description 26
- 239000004033 plastic Substances 0.000 title claims abstract description 26
- 239000000463 material Substances 0.000 claims abstract description 61
- 238000005520 cutting process Methods 0.000 claims abstract description 42
- 230000007246 mechanism Effects 0.000 claims abstract description 31
- 230000006835 compression Effects 0.000 claims abstract description 21
- 238000007906 compression Methods 0.000 claims abstract description 21
- 239000008187 granular material Substances 0.000 claims abstract description 4
- 238000007605 air drying Methods 0.000 claims description 13
- 238000005453 pelletization Methods 0.000 claims 7
- 229920000426 Microplastic Polymers 0.000 abstract description 5
- 238000000034 method Methods 0.000 abstract description 4
- 230000008901 benefit Effects 0.000 abstract description 3
- 239000002245 particle Substances 0.000 description 8
- 238000001816 cooling Methods 0.000 description 5
- 238000003825 pressing Methods 0.000 description 5
- 238000001035 drying Methods 0.000 description 3
- 230000000694 effects Effects 0.000 description 3
- 230000008859 change Effects 0.000 description 2
- 238000001125 extrusion Methods 0.000 description 2
- 238000007493 shaping process Methods 0.000 description 2
- 238000003466 welding Methods 0.000 description 2
- 238000009826 distribution Methods 0.000 description 1
- 239000003365 glass fiber Substances 0.000 description 1
- 238000012986 modification Methods 0.000 description 1
- 230000004048 modification Effects 0.000 description 1
- 239000008188 pellet Substances 0.000 description 1
- 239000000843 powder Substances 0.000 description 1
- 230000003252 repetitive effect Effects 0.000 description 1
- 238000005096 rolling process Methods 0.000 description 1
- 230000007306 turnover Effects 0.000 description 1
- XLYOFNOQVPJJNP-UHFFFAOYSA-N water Substances O XLYOFNOQVPJJNP-UHFFFAOYSA-N 0.000 description 1
Images
Landscapes
- Processing And Handling Of Plastics And Other Materials For Molding In General (AREA)
Abstract
The utility model relates to a plastics are granule device even, which comprises a frame, the rack surface is provided with the conveyer belt, the rack surface can be dismantled and be connected with spacing, spacing set up in the conveyer belt top, spacing top is provided with the compression roller, the compression roller both ends are rotated respectively and are connected with the grudging post, the grudging post bottom with frame fixed connection, frame one end surface inlays and is equipped with the cutting backing plate, be provided with cutting mechanism directly over the cutting backing plate. The utility model discloses novel structure, design benefit forms a plurality of spacing passageways through a plurality of spacing bars, makes the material strip avoid the slope at the in-process that gos forward to the plastic granules that make the cutting come out are more even.
Description
Technical Field
The utility model relates to a plastic granules makes mechanical technical field, especially relates to an even grain device of cutting of plastics.
Background
The plastic particles refer to granular plastics, the plastic particles have great effects in daily life and industry, when the plastic particles are manufactured, base materials, glass fibers, powder materials and the like need to be put into an extruder to be melted and then extruded into plastic strips, the plastic strips are cooled and formed after water cooling and then cut into the plastic particles, the existing plastic grain cutting machine drives the material strips to advance through a rolling shaft roller and then cuts the material strips into the granular plastic particles through a cutting mechanism, but the positions of the material strips in the cutting process are not limited, the material strips are easy to incline and even overlap during cutting, and the cut particles are not uniform enough.
SUMMERY OF THE UTILITY MODEL
In order to solve the problem, the utility model provides a granule device is evenly cut to plastics through spacing restriction material strip shift position, makes many material strips can the parallel go forward, makes the cutting more even, improves the finished product quality.
In order to achieve the above purpose, the utility model adopts the following technical scheme: the utility model provides a plastics are granule device even, includes the frame, the frame surface is provided with the conveyer belt, the frame surface can be dismantled and be connected with spacing, spacing set up in the conveyer belt top, spacing top is provided with the compression roller, the compression roller both ends are rotated respectively and are connected with the grudging post, grudging post bottom with frame fixed connection, frame one end surface inlays and is equipped with the cutting backing plate, be provided with cutting mechanism directly over the cutting backing plate.
Adopt above-mentioned technical scheme, the material strip that will follow the extruder extrusion is drawn to the feed end of conveyer belt behind water-cooling shaping, the position of advancing through the every material strip of spacing restriction, it leads to the slope to place the material strip and remove when advancing, spacing passes through bolted connection in the frame, can change not unidimensional spacing according to the material strip of different specifications, spacing top is provided with the compression roller simultaneously, the compression roller offsets with the material strip surface, the material strip drives the in-process compression roller that advances at the conveyer belt and does the relative rotation, the auxiliary material strip advances and prevents the material strip rebound, the material strip removes the conveyer belt end, when being located cutting backing plate top, cutting mechanism accomplishes the cutting to the material strip. Wherein the conveyor belt is a step conveyor belt in the prior art. The utility model discloses a spacing restriction material strip moving direction ensures that the plastic granules cutting is even, improves the finished product quality.
Preferably, spacing includes two connecting plates and a plurality of spacing portions of "U" shape structure of falling, two spacing set up respectively in the both ends of conveyer belt, spacing portion is including spacing and connecting block, the connecting block have two respectively fixed connection in spacing portion both ends, the connecting block is kept away from one side of spacing with connecting plate fixed connection is a plurality of the equidistance distributes and is parallel to each other between spacing each other.
Adopt above-mentioned technical scheme, the connecting plate of the structure of falling the U-shaped sets up in the both ends of conveyer belt, it passes in and out to wait to cut the stuff strip from the connecting plate bottom, the connecting block and the spacing integrated into one piece of spacing portion are connected, and spacing portion is connected with connecting plate welding or integrated into one piece, spacing that distributes and be parallel to each other through a plurality of equidistance forms the passageway that a plurality of stuff strips advance, a plurality of spacing distances of each other set up according to the width of stuff strip, the passing through that forms between two liang of spacing strips just allows the stuff strip to pass through, make the stuff strip advance along an orientation.
Preferably, a gap is formed between the bottom of the limiting strip and the surface of the conveying belt, and the horizontal height of the top of the limiting strip is lower than that of the top of the connecting plate.
By adopting the technical scheme, a gap is formed between the bottom of the limiting strip and the surface of the conveying belt, so that the phenomenon that the conveying belt runs due to the contact of the limiting strip and the conveying belt is avoided, and meanwhile, the material strips cannot pass through the gap and are placed to move left and right; the level at spacing top is less than the level at connecting plate top, and the material strip gets into the passageway that spacing formed through the connecting block, and the height ratio connecting block of material strip is low, and the height ratio spacing height of material strip, makes material strip upper surface can be connected with the compression roller contact.
Preferably, the cutting mechanism comprises a support, a hydraulic cylinder is fixedly connected to the top end of the support, a fixing plate is fixedly connected to an output shaft of the hydraulic cylinder, and a cutting knife is fixedly connected to the bottom of the fixing plate.
Adopt above-mentioned technical scheme, through the support with hydraulic cylinder fixed connection in frame top, hydraulic cylinder drive fixed plate reciprocates to the drive cutting knife reciprocates and cuts the material strip, and hydraulic cylinder motion repeatedly cuts the material strip constantly.
Preferably, the number of compression roller has a plurality of, a plurality of the compression roller equidistance distribute in spacing top.
Adopt above-mentioned technical scheme, the quantity of compression roller can prevent the material strip perk according to the length setting of conveyer belt, a plurality of compression rollers.
Preferably, the air drying device further comprises an air drying mechanism, the air drying mechanism comprises a blower, a pipeline and a fan cover, the output end of the blower is connected with one end of the pipeline, the other end of the pipeline is connected with the input end of the fan cover, and the output end of the fan cover is arranged above the conveyor belt.
Adopt above-mentioned technical scheme, moisture can be remained through water-cooling rear surface to the material strip, air-dries through air-drying mechanism, and the hair-dryer blows in the pipeline with the high wind, and the pipeline of flowing through blows off from the output of fan housing, and the fan housing is the arc structure, and arc structure bottom is the open-ended output, and the wind-force of hair-dryer is blown off downwards through curved fan housing gathering and is air-dried the material strip.
Preferably, the air drying mechanism is provided with a plurality of air drying mechanisms which are equidistantly distributed above the conveyor belt.
Adopt above-mentioned technical scheme, the quantity of air-drying mechanism can be according to the length setting of conveyer belt, and a plurality of air-drying mechanism air-dry effects are better.
Preferably, a material collecting box is arranged at one end, close to the cutting mechanism, of the machine frame.
By adopting the technical scheme, the cut plastic particles are collected through the material collecting box.
The utility model has the advantages that: the utility model discloses novel structure, design benefit forms a plurality of spacing passageways through a plurality of spacing bars, makes the material strip avoid the slope at the in-process that gos forward to the plastic granules that make the cutting come out are more even.
Drawings
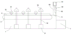
FIG. 1 is a schematic structural view of a dicing apparatus of the present invention;
FIG. 2 is a schematic cross-sectional structure of the pellet cutting structure of the present invention;
fig. 3 is a schematic structural view of the stop frame of the present invention.
Shown in the figure: 1-a frame; 11-cutting the backing plate; 2-a conveyor belt; 31-a press roll; 32-a vertical frame; 4-a limiting frame; 41-connecting plate; 42-a limiting part; 421-connecting blocks; 422-limit strip; 51-a blower; 52-a pipeline; 53-wind shield; 61-a hydraulic cylinder; 62-fixing plate; 63-a cutter; 64-a scaffold; 7-collecting box; 8-material strip.
Detailed Description
As shown in fig. 1-3, an embodiment of the utility model provides a plastics evenly cut grain device, which comprises a frame 1, frame 1 surface is provided with conveyer belt 2, frame 1 surface can be dismantled and be connected with spacing 4, spacing 4 set up in 2 tops of conveyer belt, spacing 4 tops are provided with compression roller 31, compression roller 31 both ends are rotated respectively and are connected with grudging post 32, grudging post 32 bottom with 1 fixed connection of frame, 1 one end surface of frame inlays and is equipped with cutting backing plate 11, be provided with cutting mechanism directly over cutting backing plate 11.
Wherein, will follow the material strip 8 of extruder extrusion and pull the feed end to conveyer belt 2 behind the water-cooling shaping, the position of advancing through every material strip 8 of spacing 4 restriction, prevent that material strip 8 from removing when advancing and leading to the slope, spacing 4 passes through bolted connection in frame 1, can change not unidimensional spacing 4 according to the material strip 8 of different specifications, spacing 4 tops are provided with compression roller 31 simultaneously, compression roller 31 offsets with material strip 8 surface, material strip 8 drives forward in-process compression roller 31 and does the relative rotation at conveyer belt 2, supplementary material strip 8 advances and prevents material strip 8 rebound, material strip 8 removes conveyer belt 2 end, when being located cutting backing plate 11 top, cutting mechanism accomplishes the cutting to material strip 8. Wherein the conveyor belt 2 is a prior art step conveyor belt 2. The utility model discloses a spacing 4 restriction material strips 8 moving direction ensure that the plastic granules cutting is even, improve the finished product quality.
Further, spacing 4 includes two connecting plates 41 and a plurality of spacing portions 42 of "U" shape structure, two spacing 4 set up respectively in the both ends of conveyer belt 2, spacing portion 42 includes spacing 422 and connecting block 421, connecting block 421 have two and respectively fixed connection in spacing 42 both ends, connecting block 421 keeps away from one side of spacing 422 with connecting plate 41 fixed connection, it is a plurality of spacing 422 is equidistant between each other and is distributed and be parallel to each other. Connecting plate 41 of the structure of falling the U-shaped sets up in the both ends of conveyer belt 2, it is business turn over from connecting plate 41 bottom to cut the material strip 8, connecting block 421 and spacing 422 integrated into one piece of spacing portion 42 are connected, and spacing portion 42 is connected with connecting plate 41 welding or integrated into one piece, spacing 422 through a plurality of equidistance distributions and parallel to each other forms the passageway that a plurality of material strips 8 go forward, the distance between a plurality of spacing 422 each other sets up according to the width of material strip 8, the passing through that forms between two liang of spacing 422 just allows material strip 8 to pass through, make material strip 8 can advance along a direction.
Further, a gap is formed between the bottom of the limiting strip 422 and the surface of the conveyor belt 2, and the horizontal height of the top of the limiting strip 422 is lower than that of the top of the connecting plate 41. A gap is formed between the bottom of the limiting strip 422 and the surface of the conveyor belt 2, so that the influence of the contact between the limiting strip 422 and the conveyor belt 2 on the operation of the conveyor belt 2 is avoided, and meanwhile, the material strips 8 cannot pass through the gap and are placed to move left and right; the horizontal height at the top of the limiting strips 422 is lower than the horizontal height at the top of the connecting plate 41, the material strips 8 enter the channel formed by the limiting strips 422 through the connecting block 421, the height of the material strips 8 is lower than that of the connecting block 421, and the height of the material strips 8 is higher than that of the limiting strips 422, so that the upper surfaces of the material strips 8 can be in contact connection with the pressing roller 31.
Further, the cutting mechanism comprises a support 64, a hydraulic cylinder 61 is fixedly connected to the top end of the support 64, a fixing plate 62 is fixedly connected to an output shaft of the hydraulic cylinder 61, and a cutting knife 63 is fixedly connected to the bottom of the fixing plate 62. Through support 64 with hydraulic cylinder 61 fixed connection in frame 1 top, hydraulic cylinder 61 drive fixed plate 62 reciprocates to drive cutting knife 63 reciprocates and cuts material strip 8, and hydraulic cylinder 61 repetitive motion constantly cuts material strip 8.
Further, the number of the pressing rollers 31 is several, and the pressing rollers 31 are equidistantly distributed above the limiting frame 4. The number of the pressing rollers 31 may be set according to the length of the conveyor belt 2, and the plurality of pressing rollers 31 prevent the material strip 8 from being tilted.
Further, the drying device comprises a drying mechanism, the drying mechanism comprises a blower 51, a pipeline 52 and a wind cover 53, an output end of the blower 51 is connected with one end of the pipeline 52, the other end of the pipeline 52 is connected with an input end of the wind cover 53, and an output end of the wind cover 53 is arranged above the conveyor belt 2. Moisture can be remained on the surface after the material strip 8 passes through the water-cooling, air-dries through air-drying mechanism, and blower 51 blows in the pipeline 52 with the strong wind, and the pipeline 52 of flowing through blows out from the output of fan housing 53, and fan housing 53 is the arc structure, and the arc structure bottom is open-ended output, and the wind-force of blower 51 blows out downwards through curved fan housing 53 gathering and air-dries material strip 8.
Further, air-dry mechanism has a plurality of, a plurality of air-dry mechanism equidistance distribute in 2 tops of conveyer belt. The quantity of air-dry mechanism can be according to the length setting of conveyer belt 2, and a plurality of air-dry mechanisms air-dry effect is better.
Further, a material collecting box 7 is arranged at one end, close to the cutting mechanism, of the machine frame 1. The cut plastic particles are collected by a collection bin 7.
The technical features of the embodiments described above may be arbitrarily combined, and for the sake of brevity, all possible combinations of the technical features in the embodiments described above are not described, but should be considered as being within the scope of the present specification as long as there is no contradiction between the combinations of the technical features.
The above-mentioned embodiments only represent some embodiments of the present invention, and the description thereof is specific and detailed, but not to be construed as limiting the scope of the present invention. It should be noted that, for those skilled in the art, without departing from the spirit of the present invention, several variations and modifications can be made, which are within the scope of the present invention. Therefore, the protection scope of the present invention should be subject to the appended claims.
Claims (8)
1. The utility model provides a plastics are granule device even which characterized in that: the automatic cutting machine comprises a frame, the rack surface is provided with the conveyer belt, the rack surface can be dismantled and be connected with spacing, spacing set up in the conveyer belt top, spacing top is provided with the compression roller, the compression roller both ends are rotated respectively and are connected with the grudging post, the grudging post bottom with frame fixed connection, frame one end surface inlays and is equipped with the cutting backing plate, be provided with cutting mechanism directly over the cutting backing plate.
2. A uniform plastic pelletizing device as set forth in claim 1, characterized in that: spacing including two connecting plates and a plurality of spacing portions of "U" shape structure of falling, two spacing set up respectively in the both ends of conveyer belt, spacing portion is including spacing and connecting block, the connecting block have two and respectively fixed connection in spacing portion both ends, the connecting block is kept away from one side of spacing with connecting plate fixed connection, it is a plurality of the equidistance distributes and is parallel to each other between spacing.
3. A uniform plastic pelletizing device as set forth in claim 2, characterized in that: a gap is formed between the bottom of the limiting strip and the surface of the conveying belt, and the horizontal height of the top of the limiting strip is lower than that of the top of the connecting plate.
4. A uniform plastic pelletizing device as set forth in claim 1, characterized in that: the cutting mechanism comprises a support, a hydraulic cylinder is fixedly connected to the top end of the support, a fixing plate is fixedly connected to an output shaft of the hydraulic cylinder, and a cutting knife is fixedly connected to the bottom of the fixing plate.
5. A uniform plastic pelletizing device as set forth in claim 1, characterized in that: the quantity of compression roller has a plurality of, a plurality of the compression roller equidistance distribute in spacing top.
6. A uniform plastic pelletizing device as set forth in claim 1, characterized in that: still including air-drying mechanism, air-drying mechanism includes hair-dryer, pipeline and fan housing, the output of hair-dryer with the one end of pipeline is connected, the pipeline other end with the input of fan housing is connected, the output of fan housing set up in the conveyer belt top.
7. A uniform plastic pelletizing device as set forth in claim 6, characterized in that: the air drying mechanism is provided with a plurality of air drying mechanisms which are distributed above the conveyor belt at equal intervals.
8. A uniform plastic pelletizing device as set forth in claim 1, characterized in that: and a material collecting box is arranged at one end, close to the cutting mechanism, of the rack.
Priority Applications (1)
| Application Number | Priority Date | Filing Date | Title |
|---|---|---|---|
| CN202021457027.0U CN212795511U (en) | 2020-07-22 | 2020-07-22 | Uniform plastic granulating device |
Applications Claiming Priority (1)
| Application Number | Priority Date | Filing Date | Title |
|---|---|---|---|
| CN202021457027.0U CN212795511U (en) | 2020-07-22 | 2020-07-22 | Uniform plastic granulating device |
Publications (1)
| Publication Number | Publication Date |
|---|---|
| CN212795511U true CN212795511U (en) | 2021-03-26 |
Family
ID=75102508
Family Applications (1)
| Application Number | Title | Priority Date | Filing Date |
|---|---|---|---|
| CN202021457027.0U Active CN212795511U (en) | 2020-07-22 | 2020-07-22 | Uniform plastic granulating device |
Country Status (1)
| Country | Link |
|---|---|
| CN (1) | CN212795511U (en) |
Cited By (2)
| Publication number | Priority date | Publication date | Assignee | Title |
|---|---|---|---|---|
| CN113118347A (en) * | 2021-04-08 | 2021-07-16 | 苏州施普曼精密制造科技有限公司 | Lead screw material loading track with guide structure |
| CN114571630A (en) * | 2022-02-23 | 2022-06-03 | 马瑞蕾 | Foaming master batch preparation equipment and preparation method |
-
2020
- 2020-07-22 CN CN202021457027.0U patent/CN212795511U/en active Active
Cited By (2)
| Publication number | Priority date | Publication date | Assignee | Title |
|---|---|---|---|---|
| CN113118347A (en) * | 2021-04-08 | 2021-07-16 | 苏州施普曼精密制造科技有限公司 | Lead screw material loading track with guide structure |
| CN114571630A (en) * | 2022-02-23 | 2022-06-03 | 马瑞蕾 | Foaming master batch preparation equipment and preparation method |
Similar Documents
| Publication | Publication Date | Title |
|---|---|---|
| CN212795511U (en) | Uniform plastic granulating device | |
| CN216442866U (en) | Add modified plastic pellet production line of fine PA66 | |
| CN116766677B (en) | A quantitative rapid slicing device for biomass particle production and its use method | |
| CN119189113A (en) | Plastic masterbatch screening and impurity removal system | |
| CN115503145B (en) | Forming equipment for plastic particle production and application method thereof | |
| CN110238019A (en) | A kind of stalk particle of anti-stick prepares molding machine | |
| CN116572422A (en) | Powder granulator capable of collecting waste materials | |
| CN218535247U (en) | Pelleter with screening structure | |
| CN209775264U (en) | plastic granulator | |
| CN211194548U (en) | Pelleter with screening function | |
| CN223323785U (en) | Small pill granulation device | |
| CN118181576B (en) | A material extrusion device and production steps | |
| CN219666882U (en) | Extruded sheet deburring device | |
| CN222958971U (en) | A pelletizer for recycling waste plastics | |
| CN222135169U (en) | Feeding device of pelletizer | |
| CN222057276U (en) | Agricultural fertilizer pelletization device | |
| CN221015900U (en) | Granulating device for edge banding production | |
| CN222005559U (en) | A tea packing and shaping integrated machine | |
| CN210679260U (en) | Cooling device for granulator | |
| CN116968288B (en) | PVC board production line | |
| CN223532770U (en) | A plastic pelletizer | |
| CN217729306U (en) | Pelleter of single screw extruder stripping water-cooling pelleting production line | |
| CN221112479U (en) | Granulating device for EVA particle processing | |
| CN221517907U (en) | Plastic granules cutting equipment of plastic granulator | |
| CN217169935U (en) | Horizontal incense maker |
Legal Events
| Date | Code | Title | Description |
|---|---|---|---|
| GR01 | Patent grant | ||
| GR01 | Patent grant |