CN212778433U - Heated air circulation oven - Google Patents
Heated air circulation oven Download PDFInfo
- Publication number
- CN212778433U CN212778433U CN202021801468.8U CN202021801468U CN212778433U CN 212778433 U CN212778433 U CN 212778433U CN 202021801468 U CN202021801468 U CN 202021801468U CN 212778433 U CN212778433 U CN 212778433U
- Authority
- CN
- China
- Prior art keywords
- hot air
- box body
- cavity
- communicated
- slide rail
- Prior art date
- Legal status (The legal status is an assumption and is not a legal conclusion. Google has not performed a legal analysis and makes no representation as to the accuracy of the status listed.)
- Active
Links
- 238000001035 drying Methods 0.000 claims abstract description 69
- 230000008878 coupling Effects 0.000 claims description 2
- 238000010168 coupling process Methods 0.000 claims description 2
- 238000005859 coupling reaction Methods 0.000 claims description 2
- 230000000694 effects Effects 0.000 abstract description 5
- 239000000463 material Substances 0.000 description 28
- 239000003814 drug Substances 0.000 description 3
- 230000008676 import Effects 0.000 description 3
- 238000004891 communication Methods 0.000 description 2
- 239000000725 suspension Substances 0.000 description 2
- 238000009736 wetting Methods 0.000 description 2
- 230000000712 assembly Effects 0.000 description 1
- 238000000429 assembly Methods 0.000 description 1
- 230000009286 beneficial effect Effects 0.000 description 1
- 238000007664 blowing Methods 0.000 description 1
- 238000010586 diagram Methods 0.000 description 1
- 238000005516 engineering process Methods 0.000 description 1
- 238000010438 heat treatment Methods 0.000 description 1
- 238000007602 hot air drying Methods 0.000 description 1
- 239000012535 impurity Substances 0.000 description 1
- 238000004519 manufacturing process Methods 0.000 description 1
- 238000000034 method Methods 0.000 description 1
- 230000001737 promoting effect Effects 0.000 description 1
- 239000000126 substance Substances 0.000 description 1
- 238000010408 sweeping Methods 0.000 description 1
- XLYOFNOQVPJJNP-UHFFFAOYSA-N water Chemical compound O XLYOFNOQVPJJNP-UHFFFAOYSA-N 0.000 description 1
Images
Landscapes
- Drying Of Solid Materials (AREA)
Abstract
The application relates to a heated air circulation oven, which comprises a box body and a drying chamber arranged in the box body, wherein a box door is arranged at an opening of the drying chamber, an air heater is arranged on the upper side of the box body, an air pipe is communicated with the air heater, a heater is arranged on the air pipe and extends into the box body, and the other end of the heater is connected with a communicating pipe; a first cavity and a second cavity are respectively formed in the side walls of the box body, which are perpendicular to the horizontal plane, on two opposite sides, a communicating pipe is communicated with the first cavity in the side wall of one side of the box body, a plurality of hot air inlets communicated with the drying chamber are uniformly formed in the side wall of the box body communicated with the communicating pipe, and the hot air inlets are communicated with the first cavity; the side wall of the box body, which is provided with the second cavity, is provided with hot air outlets in one-to-one correspondence with the hot air inlets, the hot air outlets are communicated with the second cavity, and the upper end of the second cavity is connected with an exhaust pipe. This application has the effect that promotes hot-blast oven's drying efficiency.
Description
Technical Field
The application relates to the field of medicine drying equipment, in particular to a hot air circulating oven.
Background
With the wide application of the heated air circulation drying oven in the industries of medicine, chemical industry, food, agricultural and sideline products and the like, most of the drying ovens used in the current domestic medicine production are heated air circulation drying ovens, and the circulating heated air is used for continuously blowing and sweeping the medicinal materials, so that the medicinal materials are heated and dried.
The utility model discloses a current chinese utility model patent as publication number CN211012186U discloses a heated air circulation oven, including heated air circulation oven body, the hinged door closure that has been put forward at the heated air circulation oven front end, the fixed suspension mechanism that is provided with in inside upper end of heated air circulation oven, the suspension mechanism below is connected with braced frame, a plurality of horizontal trays have set gradually from top to bottom on the rectangular frame, the fixed bottom plate that is provided with of rectangular frame lower extreme, the bottom plate below is provided with vibration mechanism, vibration mechanism below level is provided with the division board, be the hot-blast cabin that takes place between division board and the heated air circulation oven lower extreme, the right-hand member of heated air circulation oven top is provided with exhaust case, exhaust case lower extreme and the inside.
According to the related technology, in the process of drying the materials, the materials in the horizontal tray are vibrated through the vibration mechanism, so that the materials are heated more uniformly by hot air; however, because the above-mentioned heated air circulation oven's hot-blast carries out the successive layer drying to the material from supreme down, hot-blast steam that will lie in the lower floor material earlier takes out and upward movement, and the great hot-blast of humidity this moment can carry out the secondary to the material that lies in the upside moist, reduces heated air circulation oven's drying efficiency, the urgent need to solve.
SUMMERY OF THE UTILITY MODEL
In order to promote hot air oven's drying efficiency, this application provides a heated air circulation oven.
The application provides a heated air circulation oven adopts following technical scheme:
a hot air circulation oven comprises a box body and a drying chamber arranged in the box body, wherein a box door is arranged at an opening of the drying chamber, an air heater is arranged on the upper side of the box body, an air pipe is communicated with the air heater, a heater is arranged on the air pipe and extends into the box body, and the other end of the heater is connected with a communicating pipe; a first cavity and a second cavity are respectively formed in the side walls of the box body, which are perpendicular to the horizontal plane, on two opposite sides, a communicating pipe is communicated with the first cavity in the side wall of one side of the box body, a plurality of hot air inlets communicated with the drying chamber are uniformly formed in the side wall of the box body communicated with the communicating pipe, and the hot air inlets are communicated with the first cavity; the side wall of the box body, which is provided with the second cavity, is provided with hot air outlets in one-to-one correspondence with the hot air inlets, the hot air outlets are communicated with the second cavity, and the upper end of the second cavity is connected with an exhaust pipe.
Through adopting above-mentioned technical scheme, when heated air circulation oven carries out the drying to the material, can place the material in the drying chamber, open the air heater afterwards and let in gas to the heater through the tuber pipe, form the hot gas after heating through the heater afterwards and let in the first cavity of box through communicating pipe in, the material that the hot gas entered into the drying chamber through hot-blast import afterwards carries out the stoving operation, will have the hot-blast gas of steam in through hot air outlet discharge drying chamber afterwards. Because the hot air inlet is positioned on the side wall of the box body vertical to the horizontal plane, hot air passes through one side of the material and is discharged out of the drying chamber from the hot air outlet on the other side of the material, the possibility that the material is wetted by the second time is reduced, and the drying efficiency of the hot air oven is improved.
Preferably, one end of the air heater, which is far away from the air pipe, is sequentially connected with an air filter and a dehumidifier.
Through adopting above-mentioned technical scheme, can dispel impurity and moisture in the middle of the external gas, not only can promote the life of heater, but also can further promote heated air circulation oven's drying efficiency.
Preferably, a rotating disc is arranged in the box body, and a driving mechanism for driving the rotating disc to rotate is arranged on the lower side of the rotating disc; the rotary drying machine is characterized in that two parallel sliding rails are arranged on the rotary disk, a movable drying rack is arranged on the sliding rails, a plurality of drying trays are uniformly arranged on the movable drying machine along the height direction of the movable drying machine, a walking wheel is arranged at each of four end corners of the bottom of the movable drying rack, the walking wheel can slide into the sliding rails and can slide along the length direction of the sliding rails, and a fixing assembly for fixing the walking wheel on the sliding rails is arranged on the sliding rails.
Through adopting above-mentioned technical scheme, the staff can place the material on the stoving tray earlier, will remove the stoving frame through the walking wheel afterwards and place on the slide rail of rotary disk, then fix the walking wheel on the slide rail through fixed subassembly, drive the rotary disk through actuating mechanism after that and rotate for go out hot-blast can be even blow on the stoving tray that hot-blast import blew off, improved drying effect.
Preferably, the fixed subassembly is including setting up the screw rod on the slide rail lateral wall, the screw rod passes the lateral wall of slide rail and with slide rail threaded connection, the tip rigid coupling of screw rod orientation walking wheel has the fixed plate.
Through adopting above-mentioned technical scheme, fixed subassembly during operation, the staff accessible rotates the screw rod for the screw rod can remove relative slide rail, thereby pastes the fixed plate of screw rod tip on the lateral wall of walking the wheel, thereby will remove the stoving frame through the frictional force between fixed plate and the walking wheel and fix on the rotary disk, and then reduce the possibility of removing stoving frame slippage rotary disk, strengthen the holistic stability of device.
Preferably, the end of the screw rod, which faces away from the fixed plate, is provided with a screwing disc.
By adopting the technical scheme, the screw rod can be conveniently screwed by the worker by the aid of the screwing disc, and labor consumption of the worker is reduced.
Preferably, the fixing plate is an elastic plate having elasticity.
Through adopting above-mentioned technical scheme, reduce the rigid contact of fixed plate and walking wheel to reduce the pressure loss of fixed plate to the walking wheel.
Preferably, actuating mechanism is including inlaying the driving motor who establishes in the box diapire, driving motor's output shaft and the fixed connection of the bottom of rotary disk, and the driving motor output shaft is located the middle part setting of rotary disk, be provided with on the lateral wall of box and be used for supporting rotary disk pivoted supporting component.
By adopting the technical scheme, when the driving mechanism works, a worker can start the driving motor, and then the rotation of the driving motor can drive the rotating disc to rotate relative to the bottom wall of the drying chamber; the supporting component is arranged to stably support the rotary disc, so that the rotary disc can bear a heavier movable drying frame when rotating normally, and the practicability of the hot air circulation drying oven is improved.
Preferably, the supporting component comprises an annular groove formed in the side wall of the bottom of the rotating disc, a plurality of rotating wheels are evenly embedded in the annular groove, and the rotating wheels are rotatably connected with the bottom wall of the box body.
Through adopting above-mentioned technical scheme, when the rotary disk rotated, it can rotate at the annular in to rotate the wheel, and it can carry out stable support to the rotating disc to rotate the wheel simultaneously, promotes the rotational stability of rotary disk.
To sum up, the application comprises the following beneficial technical effects:
1. because the hot air inlet is positioned on the side wall of the box body vertical to the horizontal plane, hot air passes through one side of the material and is discharged out of the drying chamber from the hot air outlet at the other side of the material, the possibility of secondary wetting of the material is further reduced, and the drying efficiency of the hot air drying oven is improved;
2. the rotating disc is driven by the driving motor to rotate, so that hot air blown out from the hot air outlet can be uniformly blown on the drying tray, and the drying effect is improved;
3. the supporting component is arranged to stably support the rotary disc, so that the rotary disc can bear a heavier movable drying frame when rotating normally, and the practicability of the hot air circulation drying oven is improved.
Drawings
Fig. 1 is a schematic perspective view of the present application.
Fig. 2 is a schematic perspective view of the present application after the door of the compartment is hidden.
Fig. 3 is a sectional view of the internal structure of the present application.
Fig. 4 is a partially enlarged schematic view of a portion a in fig. 3.
FIG. 5 is a schematic diagram showing the structure of the rotary disk and the driving mechanism.
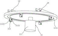
In the figure, 1, a box body; 11. a drying chamber; 12. a box door; 13. a hot air blower; 14. an air filter; 15. a dehumidifier; 16. an air duct; 17. a heater; 171. a communicating pipe; 18. a first cavity; 181. a hot air inlet; 19. a second cavity; 191. a hot air outlet; 192. an exhaust duct; 2. rotating the disc; 21. a drive mechanism; 211. a drive motor; 212. a support assembly; 2121. a ring groove; 2122. a rotating wheel; 2123. an ear plate; 22. a slide rail; 23. moving the drying rack; 24. drying the tray; 25. a traveling wheel; 26. a fixing assembly; 261. a screw; 262. a fixing plate; 263. and (4) screwing the disc.
Detailed Description
The present application is described in further detail below with reference to the accompanying drawings.
The embodiment of the application discloses a heated air circulation oven. Referring to fig. 1 and 2, a heated air circulation oven includes a box body 1 and a drying chamber 11 provided inside the box body 1, one side of the drying chamber 11 is provided with an opening, a door 12 for closing the opening of the drying chamber 11 is provided at the opening of the drying chamber 11, and one side of the door 12 is hinged to a side wall of the box body 1.
Referring to fig. 2 and 3, a hot air blower 13 is fixedly connected to the upper side of the box body 1, and one end of the hot air blower 13 is sequentially communicated with an air filter 14 and a dehumidifier 15 to improve the quality of air entering the drying chamber 11 and reduce the influence on materials to be dried; an air pipe 16 is communicated with the lower side of the air heater 13, a heater 17 is arranged on the air pipe 16 and extends into the box body 1, and the other end of the heater 17 is connected with a communicating pipe 171; a first cavity 18 and a second cavity 19 are respectively arranged in the side walls of the two opposite sides of the box body 1, which are vertical to the horizontal plane, a communication pipe 171 is mutually communicated with the first cavity 18 in the side wall of one side of the box body 1, a plurality of hot air inlets 181 which are mutually communicated with the drying chamber 11 are uniformly arranged on the side wall of the box body 1, which is mutually communicated with the communication pipe 171, and the hot air inlets 181 are mutually communicated with the first cavity 18; the side wall of the box body 1 with the second cavity 19 is provided with hot air outlets 191 corresponding to the hot air inlets 181 one by one, the hot air outlets 191 are communicated with the second cavity 19, the upper end of the second cavity 19 is connected with an exhaust pipe 19216 for exhausting hot air, and the other end of the exhaust pipe 19216 penetrates through the side wall of the box body 1 to be communicated with the outside.
Referring to fig. 3 and 4, a rotating disc 2 is horizontally arranged on the bottom wall of the drying chamber 11, and a driving mechanism 21 for driving the rotating disc 2 to rotate is arranged below the rotating disc 2; two parallel slide rails 22 are fixedly connected to the rotating disc 2, the vertical sections of the slide rails 22 are arranged in a U shape, one ends of the slide rails 22 are of a closed structure, a movable drying rack 23 is arranged on the two slide rails 22, the movable drying rack 23 is a rectangular frame, a plurality of drying trays 24 used for placing materials to be dried are uniformly placed on the movable drying machine along the height direction of the movable drying machine, a row of travelling wheels 25 are respectively arranged at four end corners of the bottom of the movable drying rack 23, the travelling wheels 25 can slide into the slide rails 22 and can slide along the length direction of the slide rails 22, and fixing assemblies 26 for fixing the travelling wheels 25 on the slide rails 22 are arranged on the slide rails 22; the side wall of each slide rail 22 is provided with two fixing components 26 which are oppositely arranged, each fixing component 26 comprises a screw 261 which is vertically arranged on the side wall of one side of each slide rail 22, each screw 261 penetrates through the side wall of each slide rail 22 and is in threaded connection with each slide rail 22, the end part, facing the walking wheel 25, of each screw 261 is fixedly connected with a fixing plate 262, each fixing plate 262 is an elastic plate, and the end part, away from the corresponding fixing plate 262, of each screw 261 is fixedly connected with a screwing disc 263. The staff can place the material on drying tray 24 earlier, will remove drying rack 23 through walking wheel 25 and place on slide rail 22 of rotary disk 2 afterwards, then through rotating screw 261, make screw 261 can remove relative slide rail 22, thereby paste the fixed plate 262 of screw 261 tip and lean on the lateral wall of walking wheel 25, thereby will remove drying rack 23 and fix on rotary disk 2 through the frictional force between fixed plate 262 and the walking wheel 25, drive rotary disk 2 through actuating mechanism 21 and rotate after that, make the hot-blast that hot-blast import 181 blew out can be even blow on drying tray 24, drying effect has been improved.
Referring to fig. 3 and 5, the driving mechanism 21 includes a driving motor 211 embedded in the bottom wall of the box body 1, an output shaft of the driving motor 211 is arranged perpendicular to the horizontal plane, the output shaft of the driving motor 211 is fixedly connected with the bottom of the rotating disc 2, the output shaft of the driving motor 211 is arranged in the middle of the rotating disc 2, and a supporting assembly 212 for supporting the rotating disc 2 to rotate is arranged on the side wall of the box body 1; the supporting assembly 212 comprises a circular groove 2121 formed in the side wall of the bottom of the rotating disc 2, four rotating wheels 2122 are uniformly embedded in the circular groove 2121, the rotating wheels 2122 are connected with the bottom wall of the box body 1 through two ear plates 2123 arranged in parallel, the ear plates 2123 are fixedly connected with the bottom wall of the box body 1, and the rotating wheels 2122 are located between the two ear plates 2123 and are rotatably connected with the two ear plates 2123. When the driving mechanism 21 works, a worker can start the driving motor 211, and then the rotation of the driving motor 211 can drive the rotating disc 2 to rotate relative to the bottom wall of the drying chamber 11; when rotary disk 2 rotated, it can rotate in annular 2121 to rotate wheel 2122, and rotate wheel 2122 simultaneously and can carry out stable support to rotary disk 2, when promoting rotary disk 2's stability of rotation for rotary disk 2 can bear heavier removal stoving frame 23, thereby promotes heated air circulation oven's practicality.
The implementation principle of a heated air circulation oven in the embodiment of the application is as follows: when the hot air circulation oven is used for drying materials, the materials can be placed in the drying chamber 11, then the hot air blower 13 is started to introduce air into the heater 17 through the air pipe 16, then the materials are heated by the heater 17 to form hot air and are introduced into the first cavity 18 of the box body 1 through the communicating pipe 171, then the hot air enters the materials in the drying chamber 11 through the hot air inlet 181 to be dried, and then the hot air with water vapor is discharged out of the drying chamber 11 through the hot air outlet 191. Because the hot air inlet 181 is located on the side wall of the box body 1 perpendicular to the horizontal plane, hot air passes through one side of the material and is discharged from the drying chamber 11 through the hot air outlet 191 on the other side of the material, thereby reducing the possibility of secondary wetting of the material and improving the drying efficiency of the hot air oven.
The above embodiments are preferred embodiments of the present application, and the protection scope of the present application is not limited by the above embodiments, so: all equivalent changes made according to the structure, shape and principle of the present application shall be covered by the protection scope of the present application.
Claims (8)
1. The utility model provides a heated air circulation oven, includes box (1) and sets up drying chamber (11) inside box (1), the opening part of drying chamber (11) is provided with chamber door (12), its characterized in that: an air heater (13) is arranged on the upper side of the box body (1), an air pipe (16) is communicated with the air heater (13), a heater (17) is arranged on the air pipe (16) and extends into the box body (1), and the other end of the heater (17) is connected with a communicating pipe (171); a first cavity (18) and a second cavity (19) are respectively formed in the inner parts of the side walls of the two opposite sides of the box body (1) perpendicular to the horizontal plane, a communicating pipe (171) is communicated with the first cavity (18) in the side wall of one side of the box body (1), a plurality of hot air inlets (181) communicated with the drying chamber (11) are uniformly formed in the side wall of the box body (1) communicated with the communicating pipe (171), and the hot air inlets (181) are communicated with the first cavity (18); the box body (1) is provided with a hot air outlet (191) which corresponds to the hot air inlet (181) one by one on the side wall of the second cavity (19), the hot air outlet (191) is communicated with the second cavity (19), and the upper end of the second cavity (19) is connected with an exhaust pipe (192).
2. A hot air circulating oven according to claim 1, characterized in that: one end of the hot air blower (13) departing from the air pipe (16) is sequentially connected with an air filter (14) and a dehumidifier (15).
3. A hot air circulating oven according to claim 1, characterized in that: a rotating disc (2) is arranged in the box body (1), and a driving mechanism (21) for driving the rotating disc (2) to rotate is arranged on the lower side of the rotating disc (2); be provided with two parallel arrangement's slide rail (22) on rotary disk (2), be provided with on slide rail (22) and remove stoving frame (23), it evenly is provided with a plurality of stoving trays (24) along its direction of height to remove the stoving frame, four extreme angle departments of removing stoving frame (23) bottom are provided with walking wheel (25) respectively, walking wheel (25) can slide into on slide rail (22) and can slide along the length direction of slide rail (22), be provided with on slide rail (22) and fix fixed subassembly (26) on slide rail (22) with walking wheel (25).
4. A hot air circulating oven according to claim 3, characterized in that: fixed subassembly (26) including setting up screw rod (261) on slide rail (22) lateral wall, screw rod (261) pass the lateral wall of slide rail (22) and with slide rail (22) threaded connection, screw rod (261) have fixed plate (262) towards the tip rigid coupling of walking wheel (25).
5. A hot air circulating oven according to claim 4, characterized in that: the end of the screw (261) facing away from the fixed plate (262) is provided with a screwing disc (263).
6. A hot air circulating oven according to claim 4, characterized in that: the fixing plate (262) is an elastic plate with elasticity.
7. A hot air circulating oven according to claim 3, characterized in that: actuating mechanism (21) are including inlaying driving motor (211) of establishing in box (1) diapire, the fixed connection of the output shaft of driving motor (211) and the bottom of rotary disk (2), and driving motor (211) output shaft is located the middle part setting of rotary disk (2), be provided with on the lateral wall of box (1) and be used for supporting rotary disk (2) pivoted supporting component (212).
8. The hot air circulation oven according to claim 7, characterized in that: the supporting component (212) comprises an annular groove (2121) formed in the side wall of the bottom of the rotating disc (2), a plurality of rotating wheels (2122) are uniformly embedded in the annular groove (2121), and the rotating wheels (2122) are rotatably connected with the bottom wall of the box body (1).
Priority Applications (1)
| Application Number | Priority Date | Filing Date | Title |
|---|---|---|---|
| CN202021801468.8U CN212778433U (en) | 2020-08-25 | 2020-08-25 | Heated air circulation oven |
Applications Claiming Priority (1)
| Application Number | Priority Date | Filing Date | Title |
|---|---|---|---|
| CN202021801468.8U CN212778433U (en) | 2020-08-25 | 2020-08-25 | Heated air circulation oven |
Publications (1)
| Publication Number | Publication Date |
|---|---|
| CN212778433U true CN212778433U (en) | 2021-03-23 |
Family
ID=75054811
Family Applications (1)
| Application Number | Title | Priority Date | Filing Date |
|---|---|---|---|
| CN202021801468.8U Active CN212778433U (en) | 2020-08-25 | 2020-08-25 | Heated air circulation oven |
Country Status (1)
| Country | Link |
|---|---|
| CN (1) | CN212778433U (en) |
-
2020
- 2020-08-25 CN CN202021801468.8U patent/CN212778433U/en active Active
Similar Documents
| Publication | Publication Date | Title |
|---|---|---|
| CN107525383A (en) | A kind of Efficient textile product drying plant | |
| CN112361773A (en) | Drying equipment and operation method thereof | |
| CN109059471A (en) | A kind of device of instant feedstuff flash baking | |
| CN107726814A (en) | A kind of full-automatic tunnel type closed loop dehumidifying mosquito-repellent incense drying device | |
| CN212778433U (en) | Heated air circulation oven | |
| CN106595266A (en) | Traditional Chinese medicine material drying device | |
| CN206583238U (en) | A kind of multichannel mixed flow drying case of variable wind direction | |
| CN212962533U (en) | A air blast drying cabinet for concrete production | |
| CN212987896U (en) | High-efficient drying device is used in tea processing | |
| CN209085189U (en) | A kind of ceramics drying device | |
| CN219810168U (en) | Be used for American ginseng drying device that processes | |
| CN207570270U (en) | A kind of full-automatic tunnel type closed loop dehumidifying mosquito-repellent incense drying device | |
| CN206131663U (en) | Belt medicinal material drying -machine | |
| CN116267652A (en) | An experimental cabin for simulating damage to rats in a desert dry heat environment | |
| CN115854670A (en) | A radio frequency combined heat pump gas jet dryer and drying method for agricultural products | |
| CN208254122U (en) | Rotary type Chinese medicine medicine materical crude slice dryer | |
| CN108125322A (en) | A kind of drying shoes equipment of shoemaking station-service | |
| CN211120281U (en) | A vacuum drying machine for chinese-medicinal material processing | |
| CN219756862U (en) | Wood tray drying device | |
| CN206895736U (en) | A kind of tealeaves sterilizing, drying device | |
| CN219347092U (en) | Drying device is used in production of OLED midbody | |
| CN209085188U (en) | A kind of Ceramic manufacturing drying process device | |
| CN217031919U (en) | A kind of kiwi fruit pollen drying oven | |
| CN207991115U (en) | A kind of plant quarantine dehumidifier | |
| CN220959249U (en) | Circulating hot air oven |
Legal Events
| Date | Code | Title | Description |
|---|---|---|---|
| GR01 | Patent grant | ||
| GR01 | Patent grant |