CN212762383U - A positioning pusher for aluminum profile processing equipment - Google Patents

A positioning pusher for aluminum profile processing equipment Download PDF

Info

Publication number
CN212762383U
CN212762383U CN202021487737.8U CN202021487737U CN212762383U CN 212762383 U CN212762383 U CN 212762383U CN 202021487737 U CN202021487737 U CN 202021487737U CN 212762383 U CN212762383 U CN 212762383U
Authority
CN
China
Prior art keywords
frame
clamping
adjusting
processing equipment
aluminum profile
Prior art date
Legal status (The legal status is an assumption and is not a legal conclusion. Google has not performed a legal analysis and makes no representation as to the accuracy of the status listed.)
Active
Application number
CN202021487737.8U
Other languages
Chinese (zh)
Inventor
汪建欣
汪柯
Current Assignee (The listed assignees may be inaccurate. Google has not performed a legal analysis and makes no representation or warranty as to the accuracy of the list.)
Nanchang Langhan Technology Co ltd
Original Assignee
Henan Xinke Yizhou Heavy Industry Technology Co ltd
Priority date (The priority date is an assumption and is not a legal conclusion. Google has not performed a legal analysis and makes no representation as to the accuracy of the date listed.)
Filing date
Publication date
Application filed by Henan Xinke Yizhou Heavy Industry Technology Co ltd filed Critical Henan Xinke Yizhou Heavy Industry Technology Co ltd
Priority to CN202021487737.8U priority Critical patent/CN212762383U/en
Application granted granted Critical
Publication of CN212762383U publication Critical patent/CN212762383U/en
Active legal-status Critical Current
Anticipated expiration legal-status Critical

Links

Images

Landscapes

  • Jigs For Machine Tools (AREA)

Abstract

本实用新型涉及铝型材自动加工设备技术领域,具体涉及一种用于铝型材加工设备的定位推料车,包括移动架、调节架和夹持件,移动架活动安装在铝型材自动加工设备的输送架上并可由驱动电机驱动,夹持件通过调节架安装在移动架上,在随移动架同步输送的同时还可在调节架的作用下进行纵向和横向上综合调节,夹持件包括安装杆、推杆和夹持头,推杆由与之平行的气缸带动位移,从而带动夹持头动作进行铝型材的抓放操作。

Figure 202021487737

The utility model relates to the technical field of aluminum profile automatic processing equipment, in particular to a positioning pusher used for aluminum profile processing equipment, comprising a moving frame, an adjustment frame and a clamping piece. The conveying frame can be driven by a driving motor. The clamping piece is installed on the moving frame through the adjusting frame. While conveying synchronously with the moving frame, it can also be adjusted vertically and horizontally under the action of the adjusting frame. The clamping piece includes the installation The rod, the push rod and the clamping head, the push rod is driven by the cylinder parallel to it to move, thereby driving the clamping head to carry out the pick-and-place operation of the aluminum profile.

Figure 202021487737

Description

A location pushing cart for aluminium alloy processing equipment
Technical Field
The utility model relates to an aluminium alloy automatic processing equipment technical field, concretely relates to location pushing cart for aluminium alloy processing equipment.
Background
The aluminium alloy wide application is in each field, in aluminium alloy production, needs continuous to carry other production lines to the continuous transfer of aluminium alloy, because the aluminium alloy is mostly square form or cylindric, and length is long moreover, consequently, becomes the indispensable process in the aluminium alloy production to the centre gripping of aluminium alloy and carry. The operation is carried in aluminium alloy centre gripping generally is through equipment with its one end centre gripping, and the clamping is carried out through the cylinder cooperation mostly to current clamping part, drives two clamping jaw actions through the cylinder of slope, because aluminium alloy raw materials is longer and different in size, and a plurality of aluminium alloy simultaneous processing need be amputated the tip, and the excision volume need be confirmed according to the shortest in a plurality of aluminium alloy of simultaneous processing or many, causes the waste of raw materials very easily.
SUMMERY OF THE UTILITY MODEL
In order to solve the problem, the utility model provides a location pusher carriage for aluminium alloy processing equipment, including removing the frame, alignment jig and holder, remove frame movable mounting on the carriage of aluminium alloy automatic processing equipment and can be driven by driving motor, the holder passes through the alignment jig and installs on removing the frame, still can carry out vertical and horizontal comprehensive regulation under the effect of alignment jig when carrying along with removing the frame synchronous stay, the holder is including the installation pole, push rod and holding head, the push rod drives the displacement by the cylinder parallel with it, thereby it carries out grabbing of aluminium alloy to drive the holding head action and puts the operation.
The utility model provides a positioning material pushing vehicle for aluminum profile processing equipment, which comprises a movable frame, an adjusting frame and a clamping piece, wherein the movable frame is movably arranged on a conveying frame of the aluminum profile processing equipment and is driven by a driving motor to move and adjust along the length direction of the conveying frame, a mounting plate is longitudinally arranged on the movable frame, a lifting slide rail is longitudinally and fixedly arranged on the mounting plate, the adjusting frame is movably arranged on the mounting plate and can be longitudinally adjusted along the lifting slide rail, a plurality of end adjusting motors are fixedly arranged above the adjusting frame, a power shaft of the end adjusting motor is parallel to the moving direction of the movable frame, the tail end of the end adjusting motor is movably connected with the clamping piece, the clamping piece comprises a mounting rod, a push rod and a clamping head, the mounting rod is movably arranged on the bottom surface of the adjusting frame through a connecting frame and is parallel to the power shaft of the end adjusting motor, a through groove is arranged in the mounting rod along the length direction of the mounting, the connecting frame is provided with an air cylinder used for driving the push rod to move axially, and the clamping head is movably arranged at the end part of the mounting rod so as to drive the push rod to clamp the aluminum profile.
As a further scheme of a location pusher for aluminium alloy processing equipment, the one end that the removal frame was kept away from to the installation pole has been seted up the centre gripping groove and the pivot is worn to be equipped with to the centre gripping inslot is fixed, and the supporting head includes grip block and gripper jaw, and two grip blocks are located the both sides of pivot respectively and articulated with the pivot, and the one end rigid coupling that the grip block is located the grip block outside of groove has the gripper jaw, the one end that the push rod is located the centre gripping inslot is located between two grip blocks, thereby the accessible drives two grip blocks when the push rod moves along its length direction revolutes the rotation of axes and adjusts the terminal interval of two clamping jaws.
As a further scheme of a location pusher for aluminium alloy processing equipment, the one end that the grip block is located the centre gripping groove tank bottom passes through the flexure strip with the cell wall in centre gripping groove to be connected, the flexure strip for U-shaped piece and its both ends support respectively with the cell wall in centre gripping groove and the lateral wall of grip block.
As a further scheme of a location pusher for aluminium alloy processing equipment, the bar groove has been seted up to the side of installation pole and the connecting rod is worn to be equipped with by the activity of bar inslot, and the both ends of connecting rod are connected with the piston rod of push rod and cylinder respectively.
As a further scheme of a location pusher for aluminium alloy processing equipment, the alignment jig bottom surface sets firmly a plurality of and the parallel regulation slide rail of removal frame activity direction, and link movable mounting is in the bottom of alignment jig and is adjusted the motor drive by the end and remove along adjusting the slide rail.
As the utility model relates to a further scheme of location pusher for aluminium alloy processing equipment, the top of link has set firmly the connecting plate, sets up threaded hole on the connecting plate, and end accommodate motor's the terminal rigid coupling of power shaft has end adjusting screw and end adjusting screw connects with the screw hole soon.
As a further scheme of a location pusher for aluminium alloy processing equipment, the upper surface of removing the frame set firmly with remove a moving direction vertically lateral slide rail, remove movable mounting and have the diaphragm on the frame, the diaphragm is connected with the positioning motor of installing on removing the frame and is adjusted in order to be removed along lateral slide rail by positioning motor drive.
As a further scheme of a location pusher for aluminium alloy processing equipment, install the lifting screw through taking a pedestal bearing on mounting panel and diaphragm rigid coupling and its face, the lifting screw vertically sets up and its top is connected with the elevator motor transmission that sets up on the diaphragm, lifting screw's bottom and alignment jig threaded connection.
As a further scheme of a location pusher for aluminium alloy processing equipment, be provided with the rack on the carriage and evenly be provided with a plurality of teeth along its length direction on the rack, remove the both sides of frame and all install driving motor, driving motor's last rigid coupling of power shaft has drive gear and rack drive to be connected.
Advantageous effects
The plurality of clamping pieces are arranged on the moving frame through the adjusting frame, the transverse positions, the height positions and the positions along the conveying direction of the plurality of clamping pieces can be adjusted, the applicability of the device is greatly improved, the plurality of clamping pieces are respectively adjusted by the plurality of end adjusting motors, and the end parts of the aluminum profiles to be processed can be aligned, so that the waste amount of raw materials is effectively reduced; the push rod of the clamping head is movably arranged in the mounting rod in a penetrating mode and driven by the air cylinder outside the mounting rod to be adjusted in the axial direction, the air cylinder drives the push rod to move axially through the connecting rod to be adjusted, so that the action adjustment of the clamping head can be achieved, the air cylinder and the mounting rod are parallel to each other, the space occupation of the device can be greatly reduced, and the action smoothness of equipment is improved; the push rod can drive two grip blocks of holding head when removing to the centre gripping groove and revolve round the pivot to make two clamping jaws that are located the centre gripping groove outside be close and the centre gripping aluminium alloy, two installation pieces reset under the effect of flexure strip when push rod reverse movement drive two clamping jaws and reset, thereby loosen the aluminium alloy.
Drawings
Fig. 1 is a schematic perspective view of the pushing device of the present invention;
FIG. 2 is a schematic view of the external structure of the pushing device of the present invention;
FIG. 3 is a schematic side view of the pushing device of the present invention;
FIG. 4 is a schematic view of the external structure of the holding member of the pushing device of the present invention;
FIG. 5 is a schematic side view of the internal structure of the holding member of the pushing device according to the present invention;
FIG. 6 is a schematic view of the installation of the clamping head of the clamping member of the pushing device of the present invention;
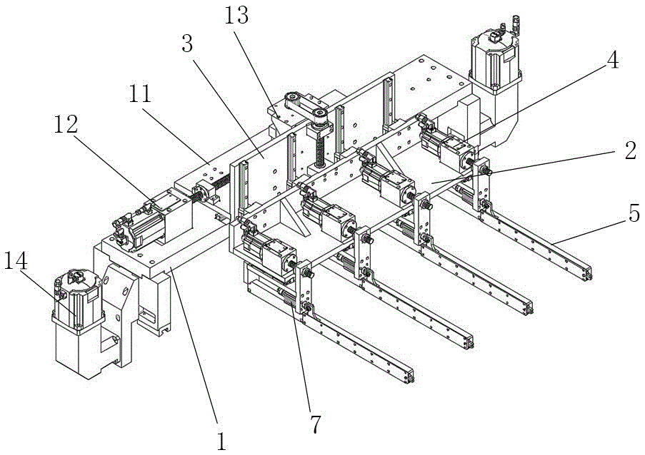
the labels in the figure are: 1. the device comprises a moving frame, 2, an adjusting frame, 3, an installing plate, 4, an end adjusting motor, 5, an installing rod, 6, a push rod, 7, a cylinder, 8, a clamping block, 9, a clamping claw, 10, an elastic sheet, 11, a transverse plate, 12, a positioning motor, 13, a lifting motor, 14 and a driving motor.
Detailed Description
As shown in the figure: a positioning pusher used for aluminum profile processing equipment, which comprises a movable frame 1, an adjusting frame 2 and a clamping piece, the movable frame 1 is movably arranged on a conveying frame of the aluminum profile processing equipment, a guide slide rail is fixedly arranged on the upper surface of the conveying frame along the length direction of the conveying frame, the movable frame 1 is in a gantry shape, a slide block is arranged on the bottom surface of a transverse plate 11 of the movable frame, the movable frame 1 is movably arranged on the conveying frame through the slide block at the bottom of the movable frame, the conveying frame is fixedly provided with racks, the racks are long-strip-shaped plates with rectangular sections, a plurality of teeth are uniformly arranged on the surfaces of the racks along the length direction, the two racks are positioned on the upper surface of the conveying frame and close to the edges of the two sides, the racks are parallel to the guide sliding rail, the two sides of the moving frame 1 are both provided with driving motors 14, the tail ends of power shafts of the driving motors 14 are fixedly provided with driving gears, the two driving gears are respectively in transmission connection with the two racks, and the driving motors 14 can drive the moving frame 1 to move along the length direction of the guide sliding rail when working; the upper surface of the moving frame 1 is provided with a transverse sliding rail, the transverse sliding rail is perpendicular to the moving direction of the moving frame 1, the upper surface of the moving frame 1 is movably provided with a transverse plate 11, the transverse plate 11 is movably arranged on the transverse sliding rail through a sliding block on the lower surface of the transverse plate 11, the upper surface of the moving frame 1 is provided with a positioning motor 12, a power shaft of the positioning motor 12 is parallel to the transverse sliding rail, a positioning screw rod is fixedly connected to the shaft end of the transverse sliding rail, a connecting block is arranged on the transverse plate 11, a threaded hole is formed in the connecting block, the positioning screw rod is connected with the threaded hole of the connecting block in a screwing mode, and the;
the movable frame 1 is longitudinally provided with a mounting plate 3, the mounting plate 3 is fixedly connected with the transverse plate 11 and synchronously moves along with the transverse plate 11, a plurality of lifting slide rails are longitudinally and fixedly arranged on the surface of the mounting plate 3 away from the transverse plate 11, and the adjusting frame 2 is movably mounted on the mounting plate 3 through a slide block fixedly arranged on the side surface of the adjusting frame and can move along the lifting slide rails; preferably, the lifting screw is installed through the pedestal bearing on the face of mounting panel 3, and the lifting screw is parallel with the lift slide rail and its bottom connects with alignment jig 2 soon, installs elevator motor 13 on the face of diaphragm 11, and elevator motor 13's power shaft passes through belt or gear drive with the top of lifting screw to be connected, and elevator motor 13 accessible drives the rotatory alignment jig 2 that drives of elevator screw and carries out lift adjustment. The adjustable rack 2 is an L-shaped rack, the upper surface of the adjustable rack 2 is provided with a plurality of end adjusting motors 4, the power shafts of the end adjusting motors 4 are parallel to the guide sliding rails, the bottom surface of the adjustable rack 2 is fixedly provided with a plurality of adjusting sliding rails, and the adjusting sliding rails are parallel to the guide sliding rails and used for installing a clamping piece.
The clamping piece comprises an installation rod 5, a push rod 6 and a clamping head, the installation rod 5 is installed at the bottom of the adjusting frame 2 through a connecting frame, the connecting frame is movably installed on the adjusting slide rail through a sliding block at the upper end of the connecting frame, a connecting plate is fixedly arranged at the top end of the connecting frame, a threaded hole is formed in the connecting plate, an end adjusting screw rod is fixedly connected to the tail end of a power shaft of the end adjusting motor 4 and is in screwed connection with the threaded hole, and the end adjusting motor 4 can drive the clamping piece to move along the length direction of the adjusting slide rail when working; the clamping heads are multiple, and each clamping head is respectively arranged on one adjusting slide rail and is independently adjusted by an end adjusting motor 4; a through groove is formed in the installation rod 5 along the length direction of the installation rod, a clamping groove is formed in the end face, far away from the moving frame 1, of the installation rod 5 and communicated with the through groove, a rotating shaft perpendicular to the installation rod 5 is fixedly arranged in the clamping groove, a strip-shaped groove is formed in the rod body of the installation rod 5, the length direction of the strip-shaped groove is parallel to the rod length of the installation rod 5, a connecting rod movably penetrates through the strip-shaped groove, one end, located in the through groove, of the connecting rod is connected with a push rod 6, an air cylinder 7 is fixedly arranged outside the installation rod 5 or on a connecting frame, the stretching direction of the air cylinder 7 is parallel to the installation rod 5, the tail end of a piston rod of the air cylinder is connected; the clamping head is movably arranged in the clamping groove and comprises two clamping blocks 8 and clamping claws 9, the two clamping blocks 8 are respectively positioned at two sides of the rotating shaft, the clamping blocks 8 are hinged with the rotating shaft, one ends of the clamping blocks 8, which are positioned at the outer parts of the clamping grooves, are fixedly connected with clamping jaws, two sides, which are positioned on the rotating shaft, of the opposite sides of the two clamping blocks 8 are inclined planes, so that the two clamping blocks 8 have certain moving space around the rotating shaft, one ends, which are positioned at the bottom of the clamping groove, of the push rods 6 are conical surfaces and positioned between the two clamping blocks 8, the push rods 6 can drive the clamping blocks 8 to rotate around the rotating shaft when moving to the side of the clamping groove, one ends, which are positioned at the bottom of the clamping grooves, of the two clamping blocks 8 are far away from each other and the other ends of the two clamping jaws are close to clamp the end part of the aluminum profile, when the push rods 6 move reversely, the two installation blocks are not stressed to, the elastic piece 10 is a U-shaped piece, two ends of the elastic piece are respectively abutted against the groove wall of the clamping groove and the side wall of the clamping block 8, and the two clamping blocks 8 reset under the action of the elastic piece 10 when the push rod 6 moves towards the direction away from the clamping groove.
This device is used for cooperating aluminium alloy automatic processing equipment, the holding head is a plurality of so that carry out the processing of a plurality of aluminium alloies simultaneously, the position of a plurality of holding heads is adjusted to positioning motor 12 during the use, the height of holding head is adjusted to elevator motor 13, thereby make the holding head be in the position of centre gripping aluminium alloy, thereby driving motor 14 drives this device moving as a whole makes the aluminium alloy tip be in between the clamping jaw of holder, 7 extensions of cylinder make the holding head with the aluminium alloy clamping, end accommodate motor 4 work drives the holding head and removes, make the free end parallel and level of aluminium alloy, the operation such as cutting and punching in the later stage of being convenient for.
The above description is only a preferred embodiment of the present invention, and the present invention is not limited to the above embodiments, and although the present invention has been disclosed with the preferred embodiments, it is not limited to the present invention, and any skilled person in the art can make some modifications or equivalent changes without departing from the technical scope of the present invention.

Claims (9)

1.一种用于铝型材加工设备的定位推料车,其特征在于:包括移动架(1)、调节架(2)和夹持件,所述移动架(1)活动安装在铝型材加工设备的输送架上并由驱动电机(14)驱动沿输送架长度方向移动调节,移动架(1)上纵向设置有安装板(3)并且安装板(3)上纵向固设有升降滑轨,所述调节架(2)活动安装在安装板(3)上并可沿升降滑轨纵向调节,调节架(2)的上方固定安装有多个端头调节电机(4),端头调节电机(4)的动力轴与移动架(1)的移动方向平行且其末端与一个夹持件活动连接,所述夹持件包括安装杆(5)、推杆(6)和夹持头,安装杆(5)通过连接架活动安装在调节架(2)的底面并与端头调节电机(4)的动力轴平行,安装杆(5)内沿其长度方向开设有通槽并且推杆(6)活动穿设于通槽内,连接架上安装有用于驱动推杆(6)轴向移动的气缸(7),所述夹持头活动安装在安装杆(5)的端部以由推杆(6)带动夹持铝型材。1. A positioning pusher for aluminum profile processing equipment, characterized in that it comprises a moving frame (1), an adjusting frame (2) and a clamping member, and the moving frame (1) is movably installed on the aluminum profile processing The conveying frame of the equipment is driven by a drive motor (14) to move and adjust along the length of the conveying frame. A mounting plate (3) is longitudinally arranged on the moving frame (1), and a lifting slide rail is longitudinally fixed on the mounting plate (3). The adjusting frame (2) is movably mounted on the mounting plate (3) and can be adjusted longitudinally along the lifting slide rail. A plurality of end adjusting motors (4) are fixedly installed above the adjusting frame (2), and the end adjusting motors ( 4) The power shaft of the moving frame (1) is parallel to the moving direction and its end is movably connected with a clamping piece, the clamping piece includes a mounting rod (5), a push rod (6) and a clamping head, and the mounting rod (5) It is movably installed on the bottom surface of the adjusting frame (2) through the connecting frame and is parallel to the power shaft of the end adjusting motor (4). A cylinder (7) for driving the push rod (6) to move axially is installed on the connecting frame, and the clamping head is movably installed at the end of the installation rod (5) to be driven by the push rod (6). 6) Drive and clamp aluminum profiles. 2.如权利要求1所述的一种用于铝型材加工设备的定位推料车,其特征在于:所述安装杆(5)远离移动架(1)的一端开设有夹持槽并且夹持槽内固定穿设有转轴,夹持头包括夹持块(8)和夹持爪(9),两个夹持块(8)分别位于转轴的两侧并与转轴铰接,夹持块(8)位于夹持槽外部的一端固接有夹持爪(9),所述推杆(6)位于夹持槽内的一端位于两个夹持块(8)之间,推杆(6)沿其长度方向运动时可通过带动两个夹持块(8)绕转轴旋转从而调节两个夹爪末端的间距。2. A positioning pusher for aluminum profile processing equipment according to claim 1, characterized in that: one end of the mounting rod (5) away from the moving frame (1) is provided with a clamping groove and clamps A rotating shaft is fixed through the groove, and the clamping head includes a clamping block (8) and a clamping claw (9). The two clamping blocks (8) are respectively located on both sides of the rotating shaft and are hinged with the rotating shaft. ) A clamping claw (9) is fixedly connected to the end outside the clamping groove, and the end of the push rod (6) located in the clamping groove is located between the two clamping blocks (8). The distance between the ends of the two gripping jaws can be adjusted by driving the two gripping blocks (8) to rotate around the rotating shaft during the movement in the longitudinal direction. 3.如权利要求2所述的一种用于铝型材加工设备的定位推料车,其特征在于:所述夹持块(8)位于夹持槽槽底的一端与夹持槽的槽壁通过弹性片(10)连接,弹性片(10)为U形片且其两端分别抵在与夹持槽的槽壁和夹持块(8)的侧壁。3. A positioning pusher for aluminum profile processing equipment according to claim 2, characterized in that: the clamping block (8) is located at one end of the bottom of the clamping groove and the groove wall of the clamping groove Connected by an elastic sheet (10), the elastic sheet (10) is a U-shaped sheet and two ends of the elastic sheet (10) abut against the groove wall of the clamping groove and the side wall of the clamping block (8) respectively. 4.如权利要求3所述的一种用于铝型材加工设备的定位推料车,其特征在于:所述安装杆(5)的侧面开设有条形槽并且条形槽内活动穿设有连杆,连杆的两端分别与推杆(6)和气缸(7)的活塞杆连接。4. A positioning pusher for aluminum profile processing equipment according to claim 3, characterized in that: the side of the mounting rod (5) is provided with a strip groove, and the strip groove is movably penetrated by a strip groove. Connecting rod, the two ends of the connecting rod are respectively connected with the push rod (6) and the piston rod of the cylinder (7). 5.如权利要求1所述的一种用于铝型材加工设备的定位推料车,其特征在于:所述调节架(2)底面固设有多个与移动架(1)活动方向平行的调节滑轨,连接架活动安装在调节架(2)的底部并由端头调节电机(4)驱动沿调节滑轨移动。5. A positioning pusher for aluminum profile processing equipment according to claim 1, characterized in that: the bottom surface of the adjustment frame (2) is fixed with a plurality of parallel to the moving direction of the moving frame (1). Adjusting the sliding rail, the connecting frame is movably installed at the bottom of the adjusting frame (2) and is driven by the end adjusting motor (4) to move along the adjusting sliding rail. 6.如权利要求5所述的一种用于铝型材加工设备的定位推料车,其特征在于:所述连接架的顶部固设有连接板,连接板上开设有螺纹孔,端头调节电机(4)的动力轴末端固接有端头调节螺杆并且端头调节螺杆与螺纹孔旋接。6 . The positioning pusher for aluminum profile processing equipment according to claim 5 , wherein a connecting plate is fixed on the top of the connecting frame, and the connecting plate is provided with a threaded hole, and the end head is adjusted. 7 . The end of the power shaft of the motor (4) is fixedly connected with an end adjusting screw, and the end adjusting screw is screwed with the threaded hole. 7.如权利要求1所述的一种用于铝型材加工设备的定位推料车,其特征在于:所述移动架(1)的上表面固设有与移动架(1)移动方向垂直的横向滑轨,移动架(1)上活动安装有横板(11),横板(11)与安装在移动架(1)上的调位电机(12)连接以由调位电机(12)驱动沿横向滑轨移动调节。7 . The positioning pusher for aluminum profile processing equipment according to claim 1 , characterized in that: the upper surface of the moving frame ( 1 ) is fixed with a vertical moving direction of the moving frame ( 1 ). 8 . A horizontal slide rail, a horizontal plate (11) is movably installed on the moving frame (1), and the horizontal plate (11) is connected with a position adjustment motor (12) installed on the moving frame (1) to be driven by the position adjustment motor (12) Move and adjust along the lateral slide rails. 8.如权利要求7所述的一种用于铝型材加工设备的定位推料车,其特征在于:所述安装板(3)与横板(11)固接且其板面上通过带座轴承安装有升降螺杆,升降螺杆纵向设置且其顶端与设置在横板(11)上的升降电机(13)传动连接,升降螺杆的底端与调节架(2)螺纹连接。8 . The positioning pusher for aluminum profile processing equipment according to claim 7 , wherein the mounting plate ( 3 ) is fixedly connected to the transverse plate ( 11 ), and a belt seat passes through the plate surface. 9 . The bearing is provided with a lifting screw, the lifting screw is longitudinally arranged and the top end of the lifting screw is drivingly connected with the lifting motor (13) arranged on the horizontal plate (11), and the bottom end of the lifting screw is threadedly connected with the adjusting frame (2). 9.如权利要求1所述的一种用于铝型材加工设备的定位推料车,其特征在于:所述输送架上设置有齿条并且齿条上沿其长度方向均匀设置有多个齿牙,移动架(1)的两侧均安装有驱动电机(14),驱动电机(14)的动力轴上固接有驱动齿轮并且驱动齿轮与齿条传动连接。9 . The positioning pusher for aluminum profile processing equipment according to claim 1 , wherein a rack is provided on the conveying frame and a plurality of teeth are uniformly provided on the rack along its length direction. 10 . A drive motor (14) is installed on both sides of the moving frame (1), a drive gear is fixed on the power shaft of the drive motor (14), and the drive gear is connected with the rack in a transmission.
CN202021487737.8U 2020-07-24 2020-07-24 A positioning pusher for aluminum profile processing equipment Active CN212762383U (en)

Priority Applications (1)

Application Number Priority Date Filing Date Title
CN202021487737.8U CN212762383U (en) 2020-07-24 2020-07-24 A positioning pusher for aluminum profile processing equipment

Applications Claiming Priority (1)

Application Number Priority Date Filing Date Title
CN202021487737.8U CN212762383U (en) 2020-07-24 2020-07-24 A positioning pusher for aluminum profile processing equipment

Publications (1)

Publication Number Publication Date
CN212762383U true CN212762383U (en) 2021-03-23

Family

ID=75038662

Family Applications (1)

Application Number Title Priority Date Filing Date
CN202021487737.8U Active CN212762383U (en) 2020-07-24 2020-07-24 A positioning pusher for aluminum profile processing equipment

Country Status (1)

Country Link
CN (1) CN212762383U (en)

Cited By (1)

* Cited by examiner, † Cited by third party
Publication number Priority date Publication date Assignee Title
CN118578144A (en) * 2024-08-06 2024-09-03 昆山惠众机电有限公司 Batch processing platform and method based on engineering vehicle brake retarder housing

Cited By (2)

* Cited by examiner, † Cited by third party
Publication number Priority date Publication date Assignee Title
CN118578144A (en) * 2024-08-06 2024-09-03 昆山惠众机电有限公司 Batch processing platform and method based on engineering vehicle brake retarder housing
CN118578144B (en) * 2024-08-06 2024-12-06 昆山惠众机电有限公司 Batch processing platform and method based on engineering vehicle brake retarder housing

Similar Documents

Publication Publication Date Title
CN214445802U (en) Improved generation is from line-up dress convenient to quick location
CN116037843A (en) Air hammer machined part location flanging device
CN212762383U (en) A positioning pusher for aluminum profile processing equipment
CN212762370U (en) A pusher for aluminum profile processing
CN213829771U (en) Squaring machine silicon crystal bar clamping device
CN209758469U (en) Industrial transfer robot
CN220901793U (en) Turnover forging device
CN222465191U (en) Multifunctional chip mounter
CN221808993U (en) Bridge cut-off aluminium tooth strip machine of wearing
CN220296438U (en) The method comprises the following steps of: machine tool clamp
CN219906080U (en) Glass clamping jaw cleaning device
CN215546604U (en) Automatic water chamber assembling equipment for micro-channel heat exchanger core
CN219053102U (en) Bridge cut-off aluminium alloy is with cutting sawing machine convenient to press from both sides tightly
CN218575043U (en) Long section bar processing device
CN216466758U (en) Automatic peel off equipment of peeling off glued membrane
CN215967124U (en) An automatic welding machine for iron sheet surface
CN212762138U (en) A material head processing mechanism for aluminum profile cutting
CN210995939U (en) Clamping mechanism of double-arm stretch bender
CN221087472U (en) Metal cutting processing device
CN209792364U (en) pressure former in bicycle
CN221539196U (en) Pipe fitting chamfering device
CN221161639U (en) An anti-sticking device for press-fitting of a mechanical servo press
CN223172603U (en) A burr removal device for a curved arm
CN222680686U (en) A clamp for electrical automation
CN217831487U (en) Accurate punching device of dust remover card

Legal Events

Date Code Title Description
GR01 Patent grant
GR01 Patent grant
TR01 Transfer of patent right
TR01 Transfer of patent right

Effective date of registration: 20251130

Address after: 330500 Jiangxi Province Nanchang City Anyi County High-tech Industrial Park Xiongying Aluminum Second Phase Extrusion Workshop Room 101-08

Patentee after: Nanchang Langhan Technology Co.,Ltd.

Country or region after: China

Address before: 454950 500 meters east of the intersection of Heshuo Avenue and Xingye Road, Wuzhi County, Jiaozuo City, Henan Province

Patentee before: Henan Xinke Yizhou Heavy Industry Technology Co.,Ltd.

Country or region before: China