CN212699112U - Integral type operation accessory car - Google Patents

Integral type operation accessory car Download PDF

Info

Publication number
CN212699112U
CN212699112U CN201820468474.2U CN201820468474U CN212699112U CN 212699112 U CN212699112 U CN 212699112U CN 201820468474 U CN201820468474 U CN 201820468474U CN 212699112 U CN212699112 U CN 212699112U
Authority
CN
China
Prior art keywords
storage
integrated surgical
surgical accessory
accessory cart
aseptic bag
Prior art date
Legal status (The legal status is an assumption and is not a legal conclusion. Google has not performed a legal analysis and makes no representation as to the accuracy of the status listed.)
Expired - Fee Related
Application number
CN201820468474.2U
Other languages
Chinese (zh)
Inventor
邹莹莹
王莉慧
金兵兵
黄颖
邢同印
彭群
谭文欣
赖吉凤
陈湘
Current Assignee (The listed assignees may be inaccurate. Google has not performed a legal analysis and makes no representation or warranty as to the accuracy of the list.)
Nanfang Hospital of Southern Medical University
Original Assignee
Nanfang Hospital of Southern Medical University
Priority date (The priority date is an assumption and is not a legal conclusion. Google has not performed a legal analysis and makes no representation as to the accuracy of the date listed.)
Filing date
Publication date
Application filed by Nanfang Hospital of Southern Medical University filed Critical Nanfang Hospital of Southern Medical University
Priority to CN201820468474.2U priority Critical patent/CN212699112U/en
Application granted granted Critical
Publication of CN212699112U publication Critical patent/CN212699112U/en
Expired - Fee Related legal-status Critical Current
Anticipated expiration legal-status Critical

Links

Images

Landscapes

  • Accommodation For Nursing Or Treatment Tables (AREA)
  • Handcart (AREA)

Abstract

本实用新型公开了一种一体式手术配件车。一种一体式手术配件车,包括治疗车主体,该治疗车主体上部设有开口向上的收纳仓,所述的治疗车主体中部设有能收入在其内或从其一侧横向拖出的无菌袋安装框,无菌袋安装框位于收纳仓的下方,所述的收纳仓内设有能上下伸缩并旋转移出的置物架,所述移出的的置物架与横向拖出的无菌袋安装框上下对齐。本实用新型的一种一体式手术配件车具有可在手术过程中作为手术器具存放架使用的特点。

Figure 201820468474

The utility model discloses an integrated surgical accessory cart. An integrated surgical accessory car, comprising a treatment car main body, the upper part of the treatment car main body is provided with a storage bin with an upward opening, and the middle part of the treatment car main body is provided with a medical car body that can be received in it or pulled out laterally from one side of the treatment car body. The bacteria bag installation frame, the aseptic bag installation frame is located below the storage compartment, the storage compartment is provided with a rack that can be retracted up and down and rotated out, and the removed rack is installed with the aseptic bag pulled out horizontally Boxes are aligned up and down. The integrated surgical accessory cart of the utility model has the characteristics that it can be used as a storage rack for surgical instruments during the operation.

Figure 201820468474

Description

Integral type operation accessory car
Technical Field
The utility model relates to a treatment car, more specifically say, especially relate to an integral type operation accessory car.
Background
Nowadays, a conventional treatment cart is generally of a two-layer structure, which is mainly used for storing and moving medicines, and is not capable of meeting the needs of a user when there are many medicines and operation tools that need to be exchanged and used in the operation processes such as ESD (endoscopic submucosal dissection), POEM (oral endoscopic esophageal sphincterotomy), ESTD (endoscopic duodenal papillary sphincterotomy), and the like. In addition, conventional surgical tool holders do not have the function of storing medications. The traditional treatment cart and the surgical tool rack are matched for use, so that the occupied space is large, surgical articles are difficult to reasonably place, and the compactness of the surgical process is seriously influenced.
Therefore, how to provide a treatment cart for use in a surgical procedure, which can store a great amount of medicines and surgical tools, becomes a problem to be solved.
SUMMERY OF THE UTILITY MODEL
An object of the utility model is to provide an integral type operation accessory car has the characteristics that can use as operation utensil storage rack in the operation process.
The technical scheme of the utility model as follows:
the utility model provides an integral type operation accessory car, includes treatment car main part, this treatment car main part upper portion is equipped with the ascending containing storage of opening, treatment car main part middle part be equipped with can take in it or from the aseptic bag installing frame that its one side transversely dragged out, aseptic bag installing frame is located the below of containing storage, containing storage in be equipped with the supporter that can stretch out and draw back from top to bottom and rotate and shift out, the supporter that shifts out aligns from top to bottom with the aseptic bag installing frame that transversely drags out.
Furthermore, the supporter include the telescopic part that can reciprocate and the thing portion of putting that rotates to shift out.
Furthermore, the object placing part is provided with a plurality of hooks which are arranged at equal intervals and jacks which are matched with the needle tube head.
Furthermore, the object placing part is in a transversely arranged long strip shape, one end of the object placing part is rotatably connected with the telescopic part, the other end of the object placing part is a free end, and the hook is in a structure inclined towards the extending direction of the object placing part.
Further, the aseptic bag fixing device comprises a disposable aseptic bag arranged on the dragged-out aseptic bag fixing frame, and a plurality of snap fasteners for fixing the aseptic bag fixing frame and the aseptic bag are arranged between the aseptic bag fixing frame and the aseptic bag.
Furthermore, the aseptic bag mounting frame is of a drawer type structure, and sliding rails which are mutually matched are arranged in the therapeutic vehicle body and at the lower part of the aseptic bag mounting frame.
Further, the storage bin top be equipped with the shield, be equipped with the connecting rod of opening this shield back vertical placement between treatment car main part and the shield.
Furthermore, a plurality of transparent latticed bags are arranged on the inner side of the dustproof cover.
Furthermore, a storage cabinet is arranged at the lower part of the treatment trolley main body.
Furthermore, a medical garbage can is arranged on one side of the treatment vehicle main body, which is opposite to the dragging-out direction of the aseptic bag mounting frame.
The utility model discloses the beneficial effect who has does:
1. the utility model discloses an integral type operation accessory car adopts the ascending collecting storage of opening can place medical supplies, and the supporter of adoption can extend and shift out from collecting storage when the operation needs to be used for the placing of more and longer surgical instruments in the operation processes such as ESD, POEM, ESTD, aseptic bag installing frame can suit aseptic bag for accepting flagging surgical instruments and the residues that drip on the surgical instruments, and, this integral type operation accessory car still has the function of ordinary treatment car, therefore the utility model discloses an integral type operation accessory car has can place and remove medical supplies fast, can be in the operation process as the characteristics that surgical instruments storage rack used;
2. the object placing part of the object placing rack is provided with a plurality of hooks which are arranged at equal intervals and jacks which are matched with the needle tube head, so that various surgical tools, such as a snare, an IT knife (end insulation scalpel), a hook knife and the like, a syringe and an injection needle can be placed neatly and reasonably;
3. the disposable aseptic bag is fixed on the aseptic bag mounting frame through the snap fasteners, various surgical tools used in the operation can be conveniently exchanged in the aseptic bag, and the aseptic bag can be used by one person to keep aseptic operation, so that cross infection is avoided;
4. adopt the shield to realize this integral type operation accessory car and keep dustless state in the collecting storage facility before the operation, simultaneously the utility model discloses an integral type operation accessory car is when not being used for the operation, and the shield can be in closed condition and makes this integral type operation accessory car use as ordinary treatment car.
Drawings
In order to more clearly illustrate the embodiments of the present invention or the technical solutions in the prior art, the drawings used in the description of the embodiments or the prior art will be briefly described below, it is obvious that the drawings in the following description are only some embodiments of the present invention, and for those skilled in the art, other drawings can be obtained according to the drawings without creative efforts.
FIG. 1 is a perspective view of an integrated surgical accessory cart according to an embodiment of the present invention;
FIG. 2 is a top view of an integrated surgical accessory cart according to an embodiment of the present invention;
FIG. 3 is a perspective view of an integrated surgical accessory cart with an aseptic bag installed in accordance with an embodiment of the present invention;
fig. 4 is a perspective view of the integrated surgical accessory cart according to the embodiment of the present invention in a closed state of the dust cap.
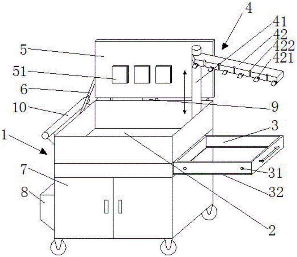
Wherein: 1-treatment vehicle main body, 2-storage bin, 3-aseptic bag mounting frame, 4-storage rack, 5-dust cover, 6-connecting rod, 7-storage cabinet, 8-medical garbage can, 9-rotating shaft connecting plate, 10-handle, 11-universal wheel, 30-aseptic bag, 31-snap fastener, 32-slide rail, 41-telescopic part, 42-storage part, 421-hook, 422-jack and 51-latticed bag.
Detailed Description
The technical solution of the present invention will be further described in detail with reference to the following detailed description, but the present invention is not limited thereto.
Examples
Referring to fig. 1-4, an integral type operation accessory car, including treatment car main part 1, this treatment car main part 1 upper portion is equipped with the ascending containing warehouse of opening 2, treatment car main part 1 middle part is equipped with can take in it or from the aseptic bag installing frame 3 that its one side transversely dragged out, aseptic bag installing frame 3 is located the below of containing warehouse 2, be equipped with the supporter 4 that can stretch out and draw back from top to bottom and rotatory shifting out in the containing warehouse 2, the supporter 4 that shifts out aligns from top to bottom with the aseptic bag installing frame 3 that transversely drags out. Adopt the ascending storage bin 2 of opening can be when the operation neatly plan put various surgical instruments, including dyeing agent, some first aid medicine that sample bottle etc. can use in the operation. The supporter 4 of adoption can be when the operation needs use the extension and shift out for the operation in-process such as ESD, POEM, ESTD more and longer surgical instruments place, aseptic bag 30 can be put on aseptic bag installing frame 3 suit, and the supporter 4 aligns from top to bottom when shifting out with aseptic bag installing frame 3 drags out promptly and aligns with aseptic bag 30 promptly for accept the flagging residual on flagging surgical instruments and the surgical instruments on the supporter 4. Meanwhile, the integrated operation accessory cart also has the function of a common treatment cart, and can be freely moved through a universal wheel 11 arranged at the bottom of the integrated operation accessory cart and a handle 10 arranged at one side of the integrated operation accessory cart. Therefore, the integrated operation accessory trolley has the characteristics of being capable of placing and rapidly moving medical supplies and being used as an operation instrument storage rack in the operation process.
The utility model discloses in, aseptic bag installing frame 3 is equipped with the slide rail 32 of mutual adaptation for drawer type structure and in the treatment car main part 1 with aseptic bag installing frame 3 lower part, and aseptic bag installing frame 3's the outside is equipped with the handle of dragging it out, can make things convenient for quick drag it out. The utility model discloses an integral type operation accessory car, including being used for installing aseptic bag 30 of disposable on the aseptic bag installing frame 3 that drags out is equipped with snap-fastener 31 that a plurality of will both fix between aseptic bag installing frame 3 and the aseptic bag 30. The adopted disposable aseptic bag 30 is fixed on the aseptic bag mounting frame 3 through the snap fasteners 31, so that various surgical tools used in the operation can be conveniently exchanged in the aseptic bag 30, and the aseptic bag 30 can be used by one person to ensure the aseptic operation of the operation, thereby avoiding cross infection.
In the utility model, the shelf 4 comprises a telescopic part 41 which can move up and down and a storage part 42 which can move out in a rotating way. The placing part 42 is provided with a plurality of hooks 421 arranged at equal intervals and jacks 422 matched with the needle head. The object placing part 42 of the object placing frame 4 can more neatly and reasonably place various surgical tools, such as a snare, an IT knife, a hook knife and the like, a syringe and an injection needle through the hook 421 and the inserting hole 422. The object placing part 42 is transversely arranged in a long strip shape, one end of the object placing part is rotatably connected with the telescopic part 41, the other end of the object placing part is a free end, and the hook 421 is of a structure inclined towards the extending direction of the object placing part 42, so that the operation of taking down the surgical tool under the emergency situation of the operation is more convenient and quicker.
The utility model discloses in, 2 tops in the collecting storage are equipped with shield 5. One side of the treatment vehicle body 1 and the dust cover 5 is provided with a plurality of rotating shaft connecting plates 9 for connecting the two. A connecting rod 6 which is vertically placed after the dust cover 5 is opened is arranged between the treatment vehicle body 1 and the dust cover 5. The inner side of the dust cover 5 is provided with a plurality of transparent grid-shaped bags 51, and the transparent grid-shaped bags 51 can clearly distinguish the medicines placed in the transparent grid-shaped bags. The dust-proof cover 5 can be used for keeping the dust-free state in the storage bin 2 before the operation. When the dust cover 5 is opened, the medical supplies placed in the storage bin 2 and on the lattice-shaped bag 51 of the integrated operation accessory cart can be displayed and the storage rack 4 is moved out, so that the medical supplies can be used for exchanging surgical tools and storing dyeing medicines and first-aid medicines for the operation in the operation; when the dust cover 5 is in a closed state, the utility model discloses an integral type operation accessory car can regard as ordinary treatment car to use, therefore this integral type operation accessory car has multiple functions.
The utility model discloses in, the lower part of treatment car main part 1 is equipped with accomodates cabinet 7 for accomodate the great medical supplies of storage volume. One side that drags out opposite direction with aseptic bag installing frame 3 on treatment car main part 1 is equipped with medical garbage bin 8, and non-sharp ware medical waste in the operation can in time be abandoned in this medical garbage bin 8, avoids the improper pollution that causes of rubbish disposal.
What has been described above is only the preferred embodiment of the present invention, and it should be noted that for those skilled in the art, without departing from the structure of the present invention, a plurality of deformations and improvements can be made to the integrated operation accessory cart, which will not affect the utility model and the utility of the patent.

Claims (10)

1. The utility model provides an integral type operation accessory car, is including treatment car main part (1), its characterized in that, this treatment car main part (1) upper portion is equipped with ascending containing storage (2) of opening, treatment car main part (1) middle part be equipped with can take in it or from aseptic bag installing frame (3) that one side transversely dragged out, aseptic bag installing frame (3) are located the below of containing storage (2), containing storage (2) in be equipped with commodity shelf (4) that can stretch out and draw back from top to bottom and rotatory shifting out, commodity shelf (4) that shift out align from top to bottom with aseptic bag installing frame (3) that transversely drags out.
2. The integrated surgical accessory cart according to claim 1, wherein the shelf (4) comprises a telescopic part (41) capable of moving up and down and a storage part (42) capable of rotating out.
3. The integrated surgical accessory cart of claim 2, wherein the placement portion (42) is provided with a plurality of hooks (421) arranged at equal intervals and insertion holes (422) matched with the needle head.
4. An integrated surgical accessory cart according to claim 3, wherein the storage portion (42) is in a transversely-arranged elongated shape, one end of the storage portion is rotatably connected to the telescopic portion (41), the other end of the storage portion is a free end, and the hook (421) is inclined in a direction in which the storage portion (42) extends.
5. An integrated surgical accessory cart as claimed in claim 1, comprising a disposable sterile bag (30) for mounting on the pulled-out sterile bag mounting frame (3), wherein a plurality of snap fasteners (31) are provided between the sterile bag mounting frame (3) and the sterile bag (30) for fixing the sterile bag and the sterile bag.
6. The integrated surgical accessory cart according to claim 1, wherein the sterile bag mounting frame (3) is of a drawer type structure and sliding rails (32) are arranged in the therapeutic cart body (1) and at the lower part of the sterile bag mounting frame (3) and are matched with each other.
7. The integrated surgical accessory cart according to claim 1, wherein a dust cover (5) is disposed above the storage compartment (2), and a connecting rod (6) is disposed between the therapeutic cart body (1) and the dust cover (5) for vertically placing the dust cover (5) after the dust cover (5) is opened.
8. An integrated surgical accessory cart according to claim 7, wherein a plurality of transparent lattice-like pockets (51) are provided inside the dust cover (5).
9. An integrated surgical accessory cart according to any one of claims 1 to 8, wherein a storage cabinet (7) is provided at a lower portion of the cart body (1).
10. An integrated surgical accessory cart as claimed in any one of claims 1 to 8, wherein a medical waste bin (8) is provided on the side of the cart body (1) opposite to the pulling-out direction of the aseptic bag mounting frame (3).
CN201820468474.2U 2018-03-30 2018-03-30 Integral type operation accessory car Expired - Fee Related CN212699112U (en)

Priority Applications (1)

Application Number Priority Date Filing Date Title
CN201820468474.2U CN212699112U (en) 2018-03-30 2018-03-30 Integral type operation accessory car

Applications Claiming Priority (1)

Application Number Priority Date Filing Date Title
CN201820468474.2U CN212699112U (en) 2018-03-30 2018-03-30 Integral type operation accessory car

Publications (1)

Publication Number Publication Date
CN212699112U true CN212699112U (en) 2021-03-16

Family

ID=74903850

Family Applications (1)

Application Number Title Priority Date Filing Date
CN201820468474.2U Expired - Fee Related CN212699112U (en) 2018-03-30 2018-03-30 Integral type operation accessory car

Country Status (1)

Country Link
CN (1) CN212699112U (en)

Cited By (1)

* Cited by examiner, † Cited by third party
Publication number Priority date Publication date Assignee Title
CN120131207A (en) * 2025-04-29 2025-06-13 中国医学科学院北京协和医院 A treatment vehicle for use in a digestive endoscopy room

Cited By (1)

* Cited by examiner, † Cited by third party
Publication number Priority date Publication date Assignee Title
CN120131207A (en) * 2025-04-29 2025-06-13 中国医学科学院北京协和医院 A treatment vehicle for use in a digestive endoscopy room

Similar Documents

Publication Publication Date Title
CN206852659U (en) A kind of integrated rescue carrigae
CN201384664Y (en) Nursing vehicle
CN212699112U (en) Integral type operation accessory car
CN201759787U (en) Multifunctional bedside working carriage
CN205434200U (en) Multifunctional medical appliance car
CN211460536U (en) Push-pull PICC maintenance box of going out a doctor
CN205359627U (en) Remove portable tip blood blood -collecting car
CN207429165U (en) A kind of Portable blood sampling case
CN208989505U (en) A kind of venous blood collection nursing car
CN203447460U (en) Double-layer medical tray
CN214968344U (en) Use convenient 5S nursing treatment car
CN110584793A (en) Push-pull PICC maintenance box of going out a doctor
CN209153984U (en) A kind of multipurpose integral type therapeutic endoscopy vehicle
CN204274892U (en) Structure improved infusion equipment
CN210250400U (en) Dressing change cart
CN209932978U (en) a blood collection vehicle
CN222816011U (en) Special treatment car of dialysis
CN221731360U (en) Multifunctional nurse workbench in operating room
CN207722035U (en) A kind of Multifucntional dressing change cart
CN210228578U (en) Clinical trial mining vehicle
CN218305424U (en) Multifunctional movable nursing operation table
CN221600160U (en) A drawer-type treatment tray
CN216535973U (en) 6S treatment trolley for preventing article from being overdue
CN217908255U (en) Diabetes nursing vehicle
CN216603384U (en) Multifunctional treatment vehicle

Legal Events

Date Code Title Description
GR01 Patent grant
GR01 Patent grant
CF01 Termination of patent right due to non-payment of annual fee
CF01 Termination of patent right due to non-payment of annual fee

Granted publication date: 20210316