CN212669302U - Flue gas desulfurization water flocculating agent injection device - Google Patents

Flue gas desulfurization water flocculating agent injection device Download PDF

Info

Publication number
CN212669302U
CN212669302U CN202020993207.4U CN202020993207U CN212669302U CN 212669302 U CN212669302 U CN 212669302U CN 202020993207 U CN202020993207 U CN 202020993207U CN 212669302 U CN212669302 U CN 212669302U
Authority
CN
China
Prior art keywords
motor
flue gas
agitator tank
fixedly connected
gas desulfurization
Prior art date
Legal status (The legal status is an assumption and is not a legal conclusion. Google has not performed a legal analysis and makes no representation as to the accuracy of the status listed.)
Active
Application number
CN202020993207.4U
Other languages
Chinese (zh)
Inventor
张成磊
杨圣业
王立志
于永强
田晓光
潘德昌
王永新
刘新成
董鹏
Current Assignee (The listed assignees may be inaccurate. Google has not performed a legal analysis and makes no representation or warranty as to the accuracy of the list.)
Hongrun Petrochemical Weifang Co ltd
Original Assignee
Sinochem Hongrun Petrochemical Co Ltd
Priority date (The priority date is an assumption and is not a legal conclusion. Google has not performed a legal analysis and makes no representation as to the accuracy of the date listed.)
Filing date
Publication date
Application filed by Sinochem Hongrun Petrochemical Co Ltd filed Critical Sinochem Hongrun Petrochemical Co Ltd
Priority to CN202020993207.4U priority Critical patent/CN212669302U/en
Application granted granted Critical
Publication of CN212669302U publication Critical patent/CN212669302U/en
Active legal-status Critical Current
Anticipated expiration legal-status Critical

Links

Images

Landscapes

  • Separation Of Suspended Particles By Flocculating Agents (AREA)

Abstract

一种烟气脱硫水絮凝剂注入装置,包括底座,底座的上端安装有输送机构,支柱的上端安装有搅拌箱,搅拌箱的左侧设有清理机构,固定板转动连接有搅拌轴,搅拌轴的右端连接有驱动机构;本实用新型结构设计合理,启动第三电机转动带动搅拌叶片转动,从而对絮凝剂和水进行充分搅拌,还可以防止絮凝剂凝结,通过第一电机带动输送轴和螺旋叶片转动,不但可以带动絮凝剂从左往右移动,还可以防止在输送的过程中凝结,使用一段时间后,拧开固定螺栓,将固定板从搅拌箱上拿下来,此时可以对搅拌叶片进行清理,然后启动第二电机正传带动齿板右移,齿板带动活塞板右移,活塞板可将搅拌箱内壁上的残渣刮出来,提高了装置的使用寿命,清理方便。

Figure 202020993207

A flue gas desulfurization water flocculant injection device comprises a base, a conveying mechanism is installed on the upper end of the base, a stirring box is installed on the upper end of the support, the left side of the stirring box is provided with a cleaning mechanism, a fixed plate is rotatably connected with a stirring shaft, and the stirring shaft The right end is connected with a driving mechanism; the structure design of the utility model is reasonable, and the third motor is started to rotate to drive the stirring blades to rotate, so as to fully stir the flocculant and water, and can also prevent the coagulation of the flocculant. The first motor drives the conveying shaft and the screw. The rotation of the blade can not only drive the flocculant to move from left to right, but also prevent condensation during the conveying process. After using for a period of time, unscrew the fixing bolt and remove the fixing plate from the mixing box. At this time, the mixing blade can be adjusted. After cleaning, the second motor is activated to drive the tooth plate to the right, and the tooth plate drives the piston plate to move to the right. The piston plate can scrape out the residue on the inner wall of the mixing box, which improves the service life of the device and facilitates cleaning.

Figure 202020993207

Description

Flue gas desulfurization water flocculating agent injection device
Technical Field
The utility model relates to a flue gas desulfurization water treatment technical field specifically is a flue gas desulfurization water flocculating agent injection device.
Background
Flue gas desulfurization refers to the removal of sulfur oxides (SO2 and SO3) from flue gas or other industrial waste gases, and the wastewater produced by the desulfurization production process contains a large amount of metal ions, and because the wastewater produced by desulfurization contains a large amount of pollutants, if the wastewater is directly discharged, serious harm is inevitably caused to the surrounding environment, and therefore, the flue gas desulfurization water must be treated. When the flue gas desulfurization water is treated, metal ions in the sewage can be separated by adding a flocculating agent, and the flocculating agent can be divided into an inorganic flocculating agent and an organic flocculating agent according to the total chemical components. Wherein the inorganic flocculant also comprises an inorganic coagulant and an inorganic polymeric flocculant; the organic flocculant also comprises a synthetic organic polymer flocculant, a natural organic polymer flocculant and a microbial flocculant.
The existing flocculating agent is generally slowly dissolved in water, if the flocculating agent is directly conveyed to a sewage tank, the flocculating agent is required to be dissolved in water firstly and then separated from metal ions to cause low water treatment efficiency, the flocculating agent and the water are required to be stirred uniformly and then added into the sewage, the existing stirring device is only simply used for stirring the flocculating agent, after the flocculating agent is used for a period of time, coagulates can be remained in the stirring device, subsequent stirring effect is poor due to the fact that the coagulates cannot be cleaned, the device is influenced, a pipeline for conveying the flocculating agent is generally longer, coagulation blockage can occur in the conveying process, the flocculating agent flowing is slower, and the efficiency for injecting the flocculating agent is low.
SUMMERY OF THE UTILITY MODEL
The utility model aims at providing a flue gas desulfurization water flocculating agent injection device to solve the problem that appears in the above-mentioned background art.
In order to achieve the above object, the utility model provides a following technical scheme:
the utility model provides a flue gas desulfurization water flocculating agent injection device, includes the base, conveying mechanism is installed to the upper end of base, the upper end fixedly connected with pillar of base, the agitator tank is installed to the upper end of pillar, the left side of agitator tank is equipped with clearance mechanism, the right-hand member of agitator tank has the fixed plate through fixing bolt spiro union, the fixed plate rotates and is connected with the (mixing) shaft, be equipped with a plurality of stirring vane of group on the (mixing) shaft, the right-hand member of (mixing) shaft is connected with actuating mechanism, the upper and lower end of agitator tank communicates respectively has first feeder hopper and discharge gate, the opening has been seted up to the left side.
Preferably, a flue gas desulfurization water flocculant injection device, conveying mechanism includes the conveyer pipe, the conveyer pipe is installed in the base upper end, the left end fixedly connected with first motor of conveyer pipe, first motor right-hand member fixedly connected with carries the axle, carry the rotation of axes to connect in the left and right walls of conveyer pipe, carry an externally mounted and have helical blade, the left side upper end intercommunication of conveyer pipe has the second feeder hopper, the right side wall intercommunication of conveyer pipe has the filling opening.
Preferably, a flue gas desulfurization water flocculant injection device, clearance mechanism includes the second motor, second motor fixed connection is in agitator tank left side outer wall, the gear is installed to the output of second motor, the gear engagement transmission has the pinion rack, the left side upper end fixedly connected with slider of pinion rack, slider sliding connection has the slide rail, slide rail fixed connection is in agitator tank left side outer wall, the right-hand member of pinion rack is through opening and fixedly connected with piston plate, the agitator tank inner wall of piston plate laminating.
Preferably, a flue gas desulfurization water flocculant injection device, actuating mechanism includes the drive case, the drive case is installed in the fixed plate lateral wall, the right-hand member of (mixing) shaft stretches into the first spur gear of drive case and fixedly connected with, fixed plate right side wall fixedly connected with third motor, the output end fixedly connected with second spur gear of third motor, second spur gear and first spur gear meshing transmission.
Preferably, the discharge port and the injection port are respectively provided with a first valve and a second valve.
Preferably, the four corners of the bottom of the base are provided with universal wheels.
The utility model has the advantages that:
1. the utility model has the advantages of reasonable design, start the third motor and rotate the mating reaction through second straight-teeth gear, first straight-teeth gear, drive (mixing) shaft and stirring vane and rotate to carry out intensive mixing to flocculating agent and water, not only can make flocculating agent and water fully react, can also prevent that the flocculating agent from condensing, improved the result of use of flocculating agent.
2. Drive through first motor and carry axle and helical blade to rotate, helical blade rotates not only can drive the flocculating agent and turn right from a left side and remove, can also stir the flocculating agent simultaneously, prevents to condense at the in-process of carrying, causes the transportation problem such as pipe blockage, and flow rate is fast, pours into the efficient of flocculating agent into.
3. This device is after using a period, unscrews fixing bolt, takes the fixed plate from the agitator tank, can clear up stirring vane this moment, then starts the second motor and just passes through driving gear revolve to drive the engaged pinion rack and move to the right, the pinion rack drives the piston board and moves to the right, the residue on the agitator tank inner wall can be scraped out to the piston board, thereby has carried out effectual cleanness to the agitator tank, has improved the life of device, and the clearance is convenient.
Drawings
In order to more clearly illustrate the technical solutions of the embodiments of the present invention, the drawings used for describing the embodiments are briefly introduced below, and for those skilled in the art, other drawings can be obtained according to the drawings without creative efforts.
FIG. 1 is a schematic structural view of the present invention;
fig. 2 is the structure schematic diagram of the cleaning mechanism of the utility model.
In the drawings, the components represented by the respective reference numerals are listed below:
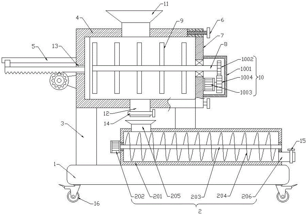
1-base, 2-conveying mechanism, 201-conveying pipe, 202-first motor, 203-conveying shaft, 204-helical blade, 205-second feeding hopper, 206-injection port, 3-pillar, 4-stirring box, 5-cleaning mechanism, 501-second motor, 502-gear, 503-toothed plate, 504-slide block, 505-slide rail, 506-plug plate, 6-fixing bolt, 7-fixing plate, 8-stirring shaft, 9-stirring blade, 10-driving mechanism, 1001-driving box, 1002-first straight gear, 1003-third motor, 1004-second straight gear, 11-first feeding hopper, 12-discharge port, 13-through port, 14-first valve, 15-second valve, 16-universal wheel.
Detailed Description
The technical solutions in the embodiments of the present invention will be described clearly and completely with reference to the accompanying drawings in the embodiments of the present invention, and it is obvious that the described embodiments are only some embodiments of the present invention, not all embodiments. Based on the embodiments in the present invention, all other embodiments obtained by a person skilled in the art without creative efforts belong to the protection scope of the present invention.
In the description of the present invention, it is to be understood that the terms "upper", "lower", "front", "rear", "left", "right", "top", "bottom", "inner", "outer", and the like indicate orientations or positional relationships based on the orientations or positional relationships shown in the drawings, and are only for convenience of description and simplicity of description, and do not indicate or imply that the device or element being referred to must have a particular orientation, be constructed and operated in a particular orientation, and therefore, should not be construed as limiting the present invention.
Please refer to fig. 1-2, this embodiment is a flue gas desulfurization water flocculant injection device, which includes a base 1, a conveying mechanism 2 is installed at the upper end of the base 1, a pillar 3 is fixedly connected to the upper end of the base 1, an agitator tank 4 is installed at the upper end of the pillar 3, a cleaning mechanism 5 is arranged at the left side of the agitator tank 4, a fixing plate 7 is screwed at the right end of the agitator tank 4 through a fixing bolt 6, the fixing plate 7 is rotatably connected with an agitator shaft 8, a plurality of groups of stirring blades 9 are arranged on the agitator shaft 8, the right end of the agitator shaft 8 is connected with a driving mechanism 10, the upper end and the lower end of the agitator tank 4 are respectively communicated with a first feeding hopper 11 and a discharge port 12.
Conveying mechanism 2 includes conveyer pipe 201, and conveyer pipe 201 is installed in base 1 upper end, and the left end fixedly connected with of conveyer pipe 201 has first motor 202, and first motor 202 right-hand member fixedly connected with carries axle 203, carries axle 203 to rotate to be connected in the conveyer pipe 201 left and right sides wall, carries axle 203 externally mounted to have helical blade 204, and the left side upper end intercommunication of conveyer pipe 201 has second feeder hopper 205, and the right side wall intercommunication of conveyer pipe 201 has injection mouth 206.
Cleaning mechanism 5 includes second motor 501, second motor 501 fixed connection is in agitator tank 4 left side outer wall, gear 502 is installed to the output of second motor 501, gear 502 meshing transmission toothed plate 503, toothed plate 503's left side upper end fixedly connected with slider 504, slider 504 sliding connection has slide rail 505, slide rail 505 fixed connection is in agitator tank 4 left side outer wall, the right-hand member of toothed plate 503 passes through opening 13 and fixedly connected with piston plate 506, 4 inner walls of agitator tank of laminating of piston plate 506.
The driving mechanism 10 comprises a driving box 1001, the driving box 1001 is mounted on the side wall of the fixing plate 7, the right end of the stirring shaft 8 extends into the driving box 1001 and is fixedly connected with a first straight gear 1002, the right side wall of the fixing plate 7 is fixedly connected with a third motor 1003, the output end of the third motor 1003 is fixedly connected with a second straight gear 1004, and the second straight gear 1004 and the first straight gear 1002 are in meshing transmission.
The discharge port 12 and the injection port 206 are respectively provided with a first valve 14 and a second valve 15.
Universal wheels 16 are arranged at four corners of the bottom of the base 1.
The utility model discloses a theory of operation does:
when the device is used, the device is moved to a specified injection point through the universal wheel 16, the movement is convenient, then the flocculant and water which are prepared in advance are put into the stirring box 4 from the first feed hopper 11, then the third motor 1003 is started to rotate to drive the second straight gear 1004 to rotate, so as to drive the first straight gear 1002 and the stirring shaft 8 to rotate, so as to drive the stirring blade 9 to rotate, so as to fully stir the flocculant and the water, not only the flocculant and the water can fully react, but also the flocculant can be prevented from coagulating, after the stirring is finished, the first valve 14 is opened, the mixture of the water and the flocculant in the stirring box 4 enters the second feed hopper 205 through the discharge port 12, finally enters the conveying pipe 201, the first motor 202 is started to drive the conveying shaft 203 to rotate, so as to drive the spiral blade 204 to rotate, the spiral blade 204 not only can drive the flocculant to move from left to right, can also stir the flocculating agent simultaneously, prevent to condense at the in-process of carrying, cause the transportation problems such as pipe blockage, the flocculating agent removes to pour into flue gas desulfurization aquatic into behind the filling opening 206. After using a period of time, unscrew fixing bolt 6, take fixed plate 7 from agitator tank 4, can clear up stirring vane 9 this moment, then start second motor 501 and just pass and drive gear 502 and rotate, thereby drive engaged pinion rack 503 and pass through slider 504 and move along slide rail 505 right side, pinion rack 503 drives piston plate 506 and moves right side, residue on piston plate 506 can be with agitator tank 4 inner wall is scraped out, thereby effectual cleanness has been carried out agitator tank 4, the life of device has been improved, the clearance is convenient.
The electrical components are externally connected with a power supply, and the control mode is common knowledge, so that the detailed description is omitted in the specification.
It is obvious to a person skilled in the art that the invention is not restricted to details of the above-described exemplary embodiments, but that it can be implemented in other specific forms without departing from the spirit or essential characteristics of the invention. The present embodiments are therefore to be considered in all respects as illustrative and not restrictive, the scope of the invention being indicated by the appended claims rather than by the foregoing description, and all changes which come within the meaning and range of equivalency of the claims are therefore intended to be embraced therein. Any reference sign in a claim should not be construed as limiting the claim concerned.
It is noted that, herein, relational terms such as first and second, and the like may be used solely to distinguish one entity or action from another entity or action without necessarily requiring or implying any actual such relationship or order between such entities or actions. Although the present description is described in terms of embodiments, not every embodiment includes only a single embodiment, and such description is for clarity only, and those skilled in the art should be able to integrate the description as a whole, and the embodiments can be appropriately combined to form other embodiments as will be understood by those skilled in the art.

Claims (6)

1. The utility model provides a flue gas desulfurization water flocculating agent injection apparatus, includes base (1), its characterized in that: conveying mechanism (2) are installed to the upper end of base (1), upper end fixedly connected with pillar (3) of base (1), agitator tank (4) are installed to the upper end of pillar (3), the left side of agitator tank (4) is equipped with clearance mechanism (5), the right-hand member of agitator tank (4) has fixed plate (7) through fixing bolt (6) spiro union, fixed plate (7) rotate and are connected with (mixing) shaft (8), be equipped with a plurality of stirring vane (9) of group on (mixing) shaft (8), the right-hand member of (mixing) shaft (8) is connected with actuating mechanism (10), the upper and lower end of agitator tank (4) communicates respectively has first feeder hopper (11) and discharge gate (12), opening (13) have been seted up to the left side wall of agitator tank (4).
2. The device for injecting the flue gas desulfurization water flocculant according to claim 1, characterized in that: conveying mechanism (2) are including conveyer pipe (201), install in base (1) upper end conveyer pipe (201), the left end fixedly connected with of conveyer pipe (201) has first motor (202), first motor (202) right-hand member fixedly connected with carries axle (203), carry axle (203) to rotate and connect in conveyer pipe (201) right and left wall, carry axle (203) externally mounted to have helical blade (204), the left side upper end intercommunication of conveyer pipe (201) has second feeder hopper (205), the right side wall intercommunication of conveyer pipe (201) has filling opening (206).
3. The device for injecting the flue gas desulfurization water flocculant according to claim 1, characterized in that: clearance mechanism (5) include second motor (501), second motor (501) fixed connection is in agitator tank (4) left side outer wall, gear (502) are installed to the output of second motor (501), gear (502) meshing transmission has pinion rack (503), the left side upper end fixedly connected with slider (504) of pinion rack (503), slider (504) sliding connection has slide rail (505), slide rail (505) fixed connection is in agitator tank (4) left side outer wall, the right-hand member of pinion rack (503) passes through opening (13) and fixedly connected with piston plate (506), piston plate (506) laminating agitator tank (4) inner wall.
4. The device for injecting the flue gas desulfurization water flocculant according to claim 1, characterized in that: the driving mechanism (10) comprises a driving box (1001), the driving box (1001) is installed on the side wall of the fixing plate (7), the right end of the stirring shaft (8) extends into the driving box (1001) and is fixedly connected with a first straight gear (1002), the right side wall of the fixing plate (7) is fixedly connected with a third motor (1003), an output end of the third motor (1003) is fixedly connected with a second straight gear (1004), and the second straight gear (1004) and the first straight gear (1002) are in meshing transmission.
5. The device for injecting the flue gas desulfurization water flocculant according to claim 2, characterized in that: and a first valve (14) and a second valve (15) are respectively arranged on the discharge port (12) and the injection port (206).
6. The device for injecting the flue gas desulfurization water flocculant according to claim 1, characterized in that: universal wheels (16) are installed at four corners of the bottom of the base (1).
CN202020993207.4U 2020-06-03 2020-06-03 Flue gas desulfurization water flocculating agent injection device Active CN212669302U (en)

Priority Applications (1)

Application Number Priority Date Filing Date Title
CN202020993207.4U CN212669302U (en) 2020-06-03 2020-06-03 Flue gas desulfurization water flocculating agent injection device

Applications Claiming Priority (1)

Application Number Priority Date Filing Date Title
CN202020993207.4U CN212669302U (en) 2020-06-03 2020-06-03 Flue gas desulfurization water flocculating agent injection device

Publications (1)

Publication Number Publication Date
CN212669302U true CN212669302U (en) 2021-03-09

Family

ID=74813521

Family Applications (1)

Application Number Title Priority Date Filing Date
CN202020993207.4U Active CN212669302U (en) 2020-06-03 2020-06-03 Flue gas desulfurization water flocculating agent injection device

Country Status (1)

Country Link
CN (1) CN212669302U (en)

Similar Documents

Publication Publication Date Title
CN116986761A (en) Dangerous waste heavy metal waste liquid treatment system and treatment process
CN108079827A (en) A kind of oil auxiliary material additive quickly stirs evenly device
CN212669302U (en) Flue gas desulfurization water flocculating agent injection device
CN211546062U (en) Sewage purification device
CN218579728U (en) Sedimentation tank charge device for sewage treatment
CN117323704A (en) Sedimentation tank for waste nitric acid wastewater treatment and sedimentation method thereof
CN217757134U (en) Nitrogen and phosphorus removal treatment device for wastewater treatment
CN110407319A (en) A kind of aeration type industrial sewage processing unit
CN113479982A (en) Wastewater treatment equipment for realizing sequential dosing and working method thereof
CN222250227U (en) Mine sewage treatment automation device
CN114149066A (en) Dosing device for acid wastewater treatment and using method thereof
CN221889692U (en) A sewage dephosphorization device using dephosphorization adsorbent
KR100861536B1 (en) Coagulant input device for water treatment
CN118978218A (en) A centrifugal adsorption treatment device for heavy metal wastewater
CN112302084A (en) Underwater sludge cleaning equipment
CN118724224A (en) A chemical wastewater deep treatment system
CN219217682U (en) Heavy metal chemical industry water purification treatment equipment
CN116354473A (en) An urban road sewage treatment pipeline system
CN212356596U (en) A sewage treatment dosing device
CN114804429A (en) Sewage treatment process and device
CN219972126U (en) Mud coagulant adds medicine processing apparatus
CN223659898U (en) An industrial wastewater treatment sludge removal device
CN217996856U (en) High total nitrogen pretreatment of water equipment
CN222498899U (en) An intermittently operated zinc-containing wastewater treatment device
CN220684701U (en) Printing ink waste water treatment equipment

Legal Events

Date Code Title Description
GR01 Patent grant
GR01 Patent grant
CP01 Change in the name or title of a patent holder

Address after: 261000 middle section of Fushou East Street, high tech Industrial Development Zone, Weifang City, Shandong Province

Patentee after: Hongrun Petrochemical (Weifang) Co.,Ltd.

Address before: 261000 middle section of Fushou East Street, high tech Industrial Development Zone, Weifang City, Shandong Province

Patentee before: SINOCHEM HONGRUN PETROCHEMICAL CO.,LTD.

CP01 Change in the name or title of a patent holder