CN212664953U - A kind of drilling equipment for valve processing - Google Patents

A kind of drilling equipment for valve processing Download PDF

Info

Publication number
CN212664953U
CN212664953U CN202020986704.1U CN202020986704U CN212664953U CN 212664953 U CN212664953 U CN 212664953U CN 202020986704 U CN202020986704 U CN 202020986704U CN 212664953 U CN212664953 U CN 212664953U
Authority
CN
China
Prior art keywords
cross beam
drilling
bearing plate
machining
movable rod
Prior art date
Legal status (The legal status is an assumption and is not a legal conclusion. Google has not performed a legal analysis and makes no representation as to the accuracy of the status listed.)
Expired - Fee Related
Application number
CN202020986704.1U
Other languages
Chinese (zh)
Inventor
严俭祥
严斌
唐璐
Current Assignee (The listed assignees may be inaccurate. Google has not performed a legal analysis and makes no representation or warranty as to the accuracy of the list.)
Jiangsu Fuxiang Valve Mfg Co ltd
Original Assignee
Jiangsu Fuxiang Valve Mfg Co ltd
Priority date (The priority date is an assumption and is not a legal conclusion. Google has not performed a legal analysis and makes no representation as to the accuracy of the date listed.)
Filing date
Publication date
Application filed by Jiangsu Fuxiang Valve Mfg Co ltd filed Critical Jiangsu Fuxiang Valve Mfg Co ltd
Priority to CN202020986704.1U priority Critical patent/CN212664953U/en
Application granted granted Critical
Publication of CN212664953U publication Critical patent/CN212664953U/en
Expired - Fee Related legal-status Critical Current
Anticipated expiration legal-status Critical

Links

Images

Landscapes

  • Drilling And Boring (AREA)

Abstract

本实用新型涉及一种阀门加工用钻孔设备,包括工作平台,该工作平台上设置有门字型框架,该门字型框架上设置有横梁,所述横梁上设置有钻孔组件,所述钻孔组件包括承接板和驱动装置,承接板与横梁活动连接,驱动装置分别与承接板和横梁配合连接,所述承接板上设置有电动机,且电动机的输出端连接有电动伸缩杆,该电动伸缩杆的底端连接有钻头,所述工作平台上设置有两个工件摆放工位,所述工件摆放工位上设置有两个稳固板,其中一个稳固板上设置有夹紧组件。本实用新型所述的钻孔设备可以很好地对工件进行钻孔,提高工件的钻孔效率,同时通过夹紧组件提高了工件在钻孔过程中的稳定性。

Figure 202020986704

The utility model relates to a drilling device for valve processing, comprising a working platform, a door-shaped frame is arranged on the working platform, a beam is arranged on the door-shaped frame, and a drilling assembly is arranged on the beam, and the The drilling assembly includes a receiving plate and a driving device, the receiving plate is movably connected with the beam, the driving device is respectively matched and connected with the receiving plate and the beam, the bearing plate is provided with a motor, and the output end of the motor is connected with an electric telescopic rod. The bottom end of the telescopic rod is connected with a drill bit, the working platform is provided with two workpiece placement stations, and the workpiece placement stations are provided with two stabilizing plates, one of which is provided with a clamping assembly. The drilling equipment of the utility model can well drill the workpiece, improve the drilling efficiency of the workpiece, and at the same time improve the stability of the workpiece during the drilling process through the clamping assembly.

Figure 202020986704

Description

Drilling equipment is used in valve processing
Technical Field
The utility model relates to a valve processing equipment technical field specifically is a drilling equipment is used in valve processing.
Background
Drilling equipment is the equipment commonly used in the valve spare part course of working, drilling equipment among the prior art can produce a lot of metal fragments at drilling in-process, its temperature is higher, if splash to the staff on one's body, can cause the damage, in addition, it scatters and also can pollute workshop environment in the external world, in addition, drilling and work piece are put and are two processes, drilling equipment among the prior art is mostly to its drilling after putting the work piece again, its work efficiency is very slow, the work piece is when putting, its firmness also can produce very big influence to the drilling condition of work piece, the utility model discloses a new solution is proposed to above problem.
SUMMERY OF THE UTILITY MODEL
Technical problem to be solved
Not enough to prior art, the utility model provides a drilling equipment is used in valve processing.
(II) technical scheme
In order to achieve the above object, the utility model provides a following technical scheme: a drilling device for processing a valve comprises a working platform, wherein a door-shaped frame is arranged on the working platform, the frame shaped like a Chinese character 'men' is provided with a cross beam, the cross beam is provided with a drilling assembly, the drilling assembly comprises a bearing plate and a driving device, the bearing plate is movably connected with the cross beam, the driving device is respectively connected with the bearing plate and the cross beam in a matching way, the bearing plate is provided with an electric motor, the output end of the electric motor is connected with an electric telescopic rod, the bottom end of the electric telescopic rod is connected with a drill bit, the working platform is provided with two work piece placing stations, the work piece placing stations are provided with two stabilizing plates, one of the stabilizing plates is provided with a clamping assembly, the clamping assembly comprises a rotating handle, a movable rod and a clamping block, one end of the movable rod penetrates through the stabilizing plate to be connected with the rotating handle, the other end of the movable rod is connected with the clamping block, and the movable rod is in threaded connection with the stabilizing plate.
Preferably, a supporting block is further arranged between the rotating handle and the stabilizing plate, and the movable rod penetrates through the supporting block and is in threaded connection with the supporting block.
Preferably, the bottoms of the two sides of the electric telescopic rod are both connected with magnet supports through bolts, and the two magnet supports are provided with permanent magnets.
Preferably, the driving device comprises two driving motors, a screw rod, two fixing seats and a support, the two fixing seats are symmetrically arranged at two ends of the cross beam respectively, the screw rod penetrates through the bearing plate, two ends of the screw rod are movably connected with the fixing seats respectively, one end of the screw rod penetrates through the fixing seats to be connected with the driving motors, and the driving motors are connected with the cross beam through the support.
Preferably, a sliding block is arranged on one side of the bearing plate connected with the cross beam, and a sliding groove corresponding to the sliding block is arranged on the cross beam.
Preferably, the clamping block is detachably connected with the movable rod through a screw.
Preferably, an antistatic layer is arranged on the upper surface of the working platform.
Preferably, the antistatic layer is an antistatic table mat.
(III) advantageous effects
Compared with the prior art, the utility model provides a drilling equipment is used in valve processing possesses following beneficial effect:
the utility model discloses well driving motor, the lead screw, the service position that the drill bit can be adjusted well in the design cooperation design of accepting the board, put the station cooperation with two work pieces and use, when putting the work piece to one of them work piece, can install the work piece to another one and drill, in addition, even if set up a work piece and put the station, it can drill to the different positions of work piece well to control the drill bit about, in addition, be provided with the permanent magnet on two magnet support, can adsorb metal piece well through the permanent magnet, prevent that it from to splashing all around, can press from both sides the work piece tightly well through firm board and clamping component, make it more firm at drilling in-process.
Drawings
FIG. 1 is a sectional view of the overall structure of the present invention;
FIG. 2 is a schematic view of the adapting structure of the adapting plate and the cross beam in FIG. 1 according to the present invention;
fig. 3 is a schematic view of the matching structure of the working platform and the anti-static layer of the present invention.
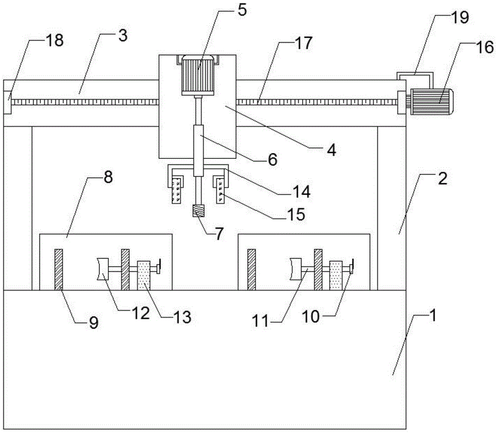
In the figure: 1. a working platform; 2. a frame shaped like a Chinese character 'men'; 3. a cross beam; 4. a bearing plate; 5. an electric motor; 6. an electric telescopic rod; 7. a drill bit; 8. a workpiece placing station; 9. a stabilizing plate; 10. rotating the handle; 11. a movable rod; 12. a clamping block; 13. a support block; 14. a magnet holder; 15. a permanent magnet; 16. a drive motor; 17. a lead screw; 18. a fixed seat; 19. a support; 20. a slider; 21. a chute; 22. and an antistatic layer.
Detailed Description
The technical solutions in the embodiments of the present invention will be described clearly and completely with reference to the accompanying drawings in the embodiments of the present invention, and it is obvious that the described embodiments are only some embodiments of the present invention, not all embodiments. Based on the embodiments in the present invention, all other embodiments obtained by a person skilled in the art without creative work belong to the protection scope of the present invention.
Example (b):
referring to fig. 1-3, a drilling device for valve processing comprises a working platform 1, wherein a portal frame 2 is arranged on the working platform 1, a beam 3 is arranged on the portal frame 2, a drilling assembly is arranged on the beam 3, the drilling assembly comprises a bearing plate 4 and a driving device, the bearing plate 4 is movably connected with the beam 3, the driving device is respectively connected with the bearing plate 4 and the beam 3 in a matching manner, a motor 5 is arranged on the bearing plate 4, the output end of the motor 5 is connected with an electric telescopic rod 6, the bottom end of the electric telescopic rod 6 is connected with a drill 7, two workpiece placing stations 8 are arranged on the working platform 1, two stabilizing plates 9 are arranged on the workpiece placing stations 8, a clamping assembly is arranged on one of the stabilizing plates 9, the clamping assembly comprises a rotating handle 10, a movable rod 11 and a clamping block 12, one end of a movable rod 11 penetrates through the stabilizing plate 9 to be connected with the rotating handle 10, the other end of the movable rod is connected with the clamping block 12, and the movable rod 11 is in threaded connection with the stabilizing plate 9.
In this embodiment, for more stable use of the movable rod 11, a supporting block 13 is further disposed between the rotating handle 10 and the stabilizing plate 9, and the movable rod 11 passes through the supporting block 13 and is in threaded connection with the supporting block 13. The movable rod 11 can be supported by the supporting block 13 and the stabilizing plate 9 at the same time, so that the movable rod is not shaken in the moving process and is more stable.
In this embodiment, the bottom of the two sides of the electric telescopic rod 6 are both connected with magnet brackets 14 through bolts, and the two magnet brackets 14 are provided with permanent magnets 15. The chips generated by drilling are adsorbed by the permanent magnet 15, so that the chips can be well prevented from splashing around.
In this embodiment, for better use of the driving device, the driving device includes a driving motor 16, a screw rod 17, two fixing seats 18 and a bracket 19, the two fixing seats 18 are respectively and symmetrically installed at two ends of the cross beam 3, the screw rod 17 passes through the bearing plate 4, and the two ends are respectively and movably connected with the fixing seats 18, one end of the screw rod 17 passes through the fixing seats 18 and is connected with the driving motor 16, and the driving motor 16 is connected with the cross beam 3 through the bracket 19. The driving motor 16 drives the screw rod 17, and the screw rod 17 drives the bearing plate 4 to move left and right, so that the use position of the drill bit 7 can be better adjusted.
In this embodiment, a sliding block 20 is disposed on one side of the receiving plate 4 connected to the cross beam 3, and a sliding groove 21 corresponding to the sliding block 20 is disposed on the cross beam 3. The bearing plate 4 and the cross beam 3 move left and right through the matching of the sliding block 20 and the sliding groove 21, the sliding block 20 and the sliding groove 21 can be replaced by a pulley and a sliding rail, and the bearing plate can move left and right better along the cross beam.
In this embodiment, the clamping block 12 is detachably connected to the movable rod 11 by a screw. The clamping blocks are connected through screws, so that the clamping blocks are convenient to disassemble and assemble, and the clamping blocks in different shapes can be replaced.
In this embodiment, the upper surface of the working platform 1 is provided with an antistatic layer 22. The antistatic layer 22 is designed to eliminate static electricity well and not generate static electricity in dry weather, so that workers do not feel uncomfortable.
In this embodiment, for better use of the anti-static layer 22, the anti-static layer 22 is an anti-static pad.
To sum up, when the drilling equipment for valve processing is used, a workpiece is opened and is respectively installed on a workpiece placing station 8, then a rotating handle 10 is manually rotated, a movable rod 11 drives a clamping block 12 to rotate until the clamping block 12 extrudes one end of the workpiece, the other end of the workpiece is attached to a stabilizing plate 9, then a driving motor 16 is started, the driving motor 16 drives a receiving plate 4 to move, the receiving plate 4 drives a drill bit 7 to move, when the drill bit 7 moves above one of the workpieces, an electric telescopic rod 6 drives the drill bit 7 to move downwards, then the motor 5 is started, the motor 5 drives the drill bit 7 to drill the workpiece, after drilling is completed, the drill bit 7 is moved to another workpiece placing station 8, corresponding workpieces on the workpiece placing station 8 are drilled, meanwhile, the machined workpieces are disassembled and replaced with new workpieces to be machined, metal chips generated in the drilling process are adsorbed by a permanent magnet 15, the debris on the permanent magnet 15 is cleaned periodically.
Although embodiments of the present invention have been shown and described, it will be appreciated by those skilled in the art that changes, modifications, substitutions and alterations can be made in these embodiments without departing from the principles and spirit of the invention, the scope of which is defined in the appended claims and their equivalents.

Claims (8)

1. A drilling device for valve processing comprises a working platform and is characterized in that a portal frame is arranged on the working platform, a cross beam is arranged on the portal frame, a drilling assembly is arranged on the cross beam and comprises a bearing plate and a driving device, the bearing plate is movably connected with the cross beam, the driving device is respectively connected with the bearing plate and the cross beam in a matched mode, a motor is arranged on the bearing plate, the output end of the motor is connected with an electric telescopic rod, the bottom end of the electric telescopic rod is connected with a drill bit, two workpiece placing stations are arranged on the working platform, two stabilizing plates are arranged on the workpiece placing stations, one of the stabilizing plates is provided with a clamping assembly, the clamping assembly comprises a rotating handle, a movable rod and a clamping block, one end of the movable rod penetrates through the stabilizing plate to be connected with the rotating handle, and the other end of the movable rod is connected with the clamping block, the movable rod is connected with the stable plate through screw threads.
2. The drilling apparatus for machining the valve according to claim 1, wherein: a supporting block is further arranged between the rotating handle and the stabilizing plate, and the movable rod penetrates through the supporting block and is in threaded connection with the supporting block.
3. The drilling apparatus for machining the valve according to claim 1, wherein: the bottom of electric telescopic handle's both sides all is provided with the permanent magnet through bolted connection with the magnet support, and is provided with the permanent magnet on two magnet supports.
4. The drilling apparatus for machining the valve according to claim 1, wherein: the driving device comprises two driving motors, a screw rod, two fixing seats and a support, the two fixing seats are symmetrically arranged at two ends of the cross beam respectively, the screw rod penetrates through the bearing plate, two ends of the screw rod are movably connected with the fixing seats respectively, one end of the screw rod penetrates through the fixing seats to be connected with the driving motors, and the driving motors are connected with the cross beam through the support.
5. The drilling apparatus for machining the valve according to claim 4, wherein: one side of the bearing plate connected with the cross beam is provided with a sliding block, and the cross beam is provided with a sliding groove corresponding to the sliding block.
6. The drilling apparatus for machining the valve according to claim 1, wherein: the clamping block is detachably connected with the movable rod through a screw.
7. The drilling apparatus for machining the valve according to claim 1, wherein: and an anti-static layer is arranged on the upper surface of the working platform.
8. The drilling apparatus for machining the valve according to claim 7, wherein: the anti-static layer is an anti-static table mat.
CN202020986704.1U 2020-06-03 2020-06-03 A kind of drilling equipment for valve processing Expired - Fee Related CN212664953U (en)

Priority Applications (1)

Application Number Priority Date Filing Date Title
CN202020986704.1U CN212664953U (en) 2020-06-03 2020-06-03 A kind of drilling equipment for valve processing

Applications Claiming Priority (1)

Application Number Priority Date Filing Date Title
CN202020986704.1U CN212664953U (en) 2020-06-03 2020-06-03 A kind of drilling equipment for valve processing

Publications (1)

Publication Number Publication Date
CN212664953U true CN212664953U (en) 2021-03-09

Family

ID=74813166

Family Applications (1)

Application Number Title Priority Date Filing Date
CN202020986704.1U Expired - Fee Related CN212664953U (en) 2020-06-03 2020-06-03 A kind of drilling equipment for valve processing

Country Status (1)

Country Link
CN (1) CN212664953U (en)

Similar Documents

Publication Publication Date Title
CN110315403A (en) The Workholding Approaches of robotic deburring's polishing work station and the application work station
CN105922130A (en) Gantry grinding machine with movable grinding device
CN109333339B (en) Wheel hub numerical control polishing machine and working method thereof
CN212664953U (en) A kind of drilling equipment for valve processing
CN221436049U (en) Metalwork equipment of polishing with clean function
CN213969139U (en) Workpiece positioning device for drilling machine
CN214162922U (en) Rotatable fixture workbench
CN209919582U (en) Iron and steel rust removing device for waste recovery
CN211072830U (en) Four-axis machining center
CN221415099U (en) Precision machinery spare part processing platform
CN209754775U (en) Cast deburring equipment for tubular casting
CN115157024A (en) Cylindrical grinding and polishing machine for sapphire crystal bar and clamp thereof
CN209157742U (en) A kind of skylight guide rail milling tool
CN114833400A (en) Device for removing slag and burrs of pipe
CN222493281U (en) High-pressure fuel pump seat processingequipment
CN219901493U (en) Mechanical equipment accessory processing is with equipment of polishing
CN220145673U (en) Sand blasting equipment
CN219704553U (en) Cutter thickness processing equipment
CN220592631U (en) Polishing device for manufacturing electrical equipment
CN216098114U (en) A precision grinder table mechanism
CN222154836U (en) Vertical drilling machine for metal casting machining
CN217144259U (en) Bamboo wood burnishing device that skins for bamboo wood processing
CN220481234U (en) Grinding machine
CN219752435U (en) Piston shaft laser cladding and polishing device
CN223071090U (en) Automatic numerically controlled grinder of duplex position

Legal Events

Date Code Title Description
GR01 Patent grant
GR01 Patent grant
CF01 Termination of patent right due to non-payment of annual fee
CF01 Termination of patent right due to non-payment of annual fee

Granted publication date: 20210309