CN212664639U - Numerical control stamping device of office chair production usefulness - Google Patents

Numerical control stamping device of office chair production usefulness Download PDF

Info

Publication number
CN212664639U
CN212664639U CN202021391171.9U CN202021391171U CN212664639U CN 212664639 U CN212664639 U CN 212664639U CN 202021391171 U CN202021391171 U CN 202021391171U CN 212664639 U CN212664639 U CN 212664639U
Authority
CN
China
Prior art keywords
seat
groove
base
fixedly installed
push rod
Prior art date
Legal status (The legal status is an assumption and is not a legal conclusion. Google has not performed a legal analysis and makes no representation as to the accuracy of the status listed.)
Expired - Fee Related
Application number
CN202021391171.9U
Other languages
Chinese (zh)
Inventor
范能能
Current Assignee (The listed assignees may be inaccurate. Google has not performed a legal analysis and makes no representation or warranty as to the accuracy of the list.)
Saidong Anji Furniture Co ltd
Original Assignee
Saidong Anji Furniture Co ltd
Priority date (The priority date is an assumption and is not a legal conclusion. Google has not performed a legal analysis and makes no representation as to the accuracy of the date listed.)
Filing date
Publication date
Application filed by Saidong Anji Furniture Co ltd filed Critical Saidong Anji Furniture Co ltd
Priority to CN202021391171.9U priority Critical patent/CN212664639U/en
Application granted granted Critical
Publication of CN212664639U publication Critical patent/CN212664639U/en
Expired - Fee Related legal-status Critical Current
Anticipated expiration legal-status Critical

Links

Images

Landscapes

  • Punching Or Piercing (AREA)

Abstract

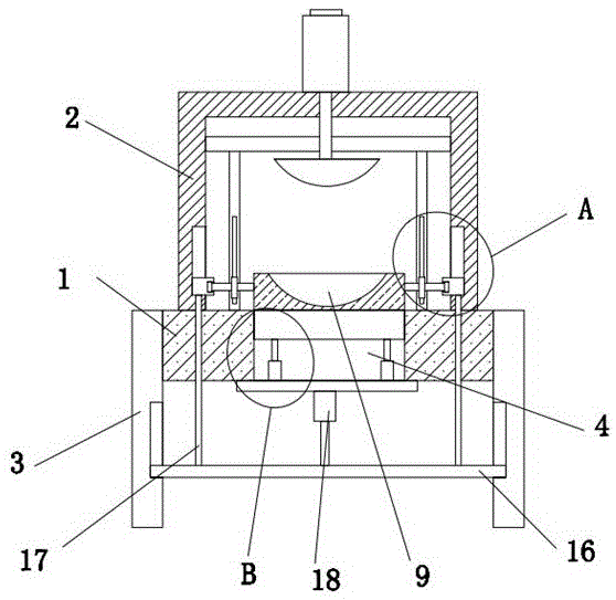
本实用新型属于冲压设备领域,尤其是一种办公椅生产用的数控冲压装置,包括基座,所述基座的顶部固定安装有连接架,基座的两侧均固定安装有支撑板,基座的顶部开设有第一孔,连接架相互靠近的一侧均开设有第一槽,第一槽内滑动安装有滑动座,两个滑动座相互靠近的一侧均转动安装有转动杆的一端,两个转动杆的另一端固定安装有同一个冲压座,冲压座的顶部开设有冲压槽,基座的顶部固定安装有两个对称设置的固定杆,固定杆的一侧固定安装有齿条,转动杆上固定套设有齿轮,且齿轮与对应的齿条相啮合。本实用新型设计合理,结构简单,操作方便,通过冲压座的转动,能够使得冲压槽的开口向下,从而便于取出工件。

Figure 202021391171

The utility model belongs to the field of stamping equipment, in particular to a numerically controlled stamping device for the production of office chairs, comprising a base, a connecting frame is fixedly installed on the top of the base, and support plates are fixedly installed on both sides of the base, The top of the seat is provided with a first hole, the side of the connecting frame close to each other is provided with a first slot, the sliding seat is slidably installed in the first slot, and the side of the two sliding seats that are close to each other is rotatably installed with one end of the rotating rod , the other end of the two rotating rods is fixedly installed with the same stamping seat, the top of the stamping seat is provided with a stamping groove, the top of the base is fixedly installed with two symmetrically arranged fixed rods, and one side of the fixed rod is fixedly installed with a rack , a gear is fixedly sleeved on the rotating rod, and the gear is meshed with the corresponding rack. The utility model has the advantages of reasonable design, simple structure and convenient operation. Through the rotation of the punching seat, the opening of the punching groove can be made downward, so that the workpiece can be easily taken out.

Figure 202021391171

Description

Numerical control stamping device of office chair production usefulness
Technical Field
The utility model relates to a stamping equipment technical field especially relates to a numerical control stamping device of office chair production usefulness.
Background
The punching is a forming processing method which applies external force to plates, strips, pipes, profiles and the like by a press machine and a die to cause the plates, the strips, the pipes, the profiles and the like to generate plastic deformation or separation so as to obtain workpieces with required shapes and sizes.
Disclosure of Invention
The utility model aims at solving the problem that the workpiece needs to be manually taken out after the punching is finished in the prior art, because the workpiece is tightly stuck on the punching groove after the punching, the relatively troublesome defect is taken out, and the numerical control punching device for producing the office chair is provided.
In order to achieve the above purpose, the utility model adopts the following technical scheme:
a numerical control stamping device for office chair production comprises a base, wherein a connecting frame is fixedly arranged at the top of the base, supporting plates are fixedly arranged on two sides of the base respectively, a first hole is formed in the top of the base, first grooves are formed in the sides, close to each other, of the connecting frame respectively, sliding seats are slidably arranged in the first grooves, one sides, close to each other, of the two sliding seats are rotatably provided with one ends of rotating rods respectively, the other ends of the two rotating rods are fixedly provided with the same stamping seat, the top of the stamping seat is provided with a stamping groove, the top of the base is fixedly provided with two symmetrically arranged fixing rods, one sides of the fixing rods are fixedly provided with racks, gears are fixedly sleeved on the rotating rods and are meshed with the corresponding racks, a fixing plate is fixedly arranged at the bottom of the base, two symmetrically arranged first push rod motors are fixedly arranged at the top of the fixing plate, the output shafts, and the supporting seat is slidably mounted in the first hole and matched with the stamping seat, one side of the two supporting plates close to each other is slidably mounted with the same movable plate, the top of the movable plate is fixedly provided with one ends of two symmetrically arranged push rods, the other ends of the push rods extend into the first groove and are fixedly mounted on the sliding seat, the bottom of the fixed plate is fixedly provided with a second push rod motor, and the output shaft of the second push rod motor is fixedly mounted on the movable plate.
Preferably, all seted up the spacing groove on the both sides inner wall of first groove, the equal fixed mounting in both sides of sliding seat has spacing seat, and spacing seat and the spacing groove sliding connection who corresponds can make the sliding seat carry out stable removal owing to be provided with spacing groove and sliding seat.
Preferably, the rotation groove has been seted up to one side that two sliding seats are close to each other, and the equal fixed cover of one end that two dwangs were kept away from each other is equipped with the bearing, and the outer lane fixed mounting of bearing is on the inner wall that rotates the groove, owing to be provided with the bearing, can make the dwang carry out stable removal.
Preferably, the moving grooves are formed in one side, close to each other, of each of the two supporting plates, the moving seats are fixedly mounted on two sides of the moving plate, the moving seats are connected with the corresponding moving grooves in a sliding mode, and the moving plates can move stably due to the fact that the moving seats and the moving grooves are arranged.
Preferably, a moving hole is formed in the inner wall of the bottom of the first groove, and the push rod is slidably mounted in the moving hole.
In the utility model, when the chair workpiece is punched, the workpiece needs to be taken out of the punching groove, the first push rod motor is started, the first push rod motor can drive the support seat to move downwards through the output shaft, so that the support of the punching seat can be removed, the second push rod motor is started, the movable plate of the second push rod motor can move upwards, the movable plate can move upwards to drive the push rod to move upwards, the push rod can drive the sliding seat to move upwards, the sliding seat can drive the punching seat to move upwards through the rotating rod, under the action of the fixed rod and the rack, the gear can be rotated in the process that the rotating rod drives the gear to move upwards, the rotating rod and the punching seat can be driven by the gear to rotate, so that the punching seat can be rotated 180 degrees, and the opening of the punching groove faces downwards, the bottom of the punching seat is lightly knocked to separate the workpiece from the punching groove, so that the workpiece can be conveniently taken out of the punching groove.
The utility model relates to a rationally, simple structure, convenient operation through the rotation of punching press seat, can make the opening in punching press groove downwards to be convenient for take out the work piece.
Drawings
Fig. 1 is a schematic structural view of a numerical control stamping device for office chair production according to the present invention;
FIG. 2 is a schematic structural view of part A of a numerical control stamping device for office chair production according to the present invention;
fig. 3 is a schematic structural diagram of a part B of the numerical control stamping device for office chair production according to the present invention.
In the figure: 1. a base; 2. a connecting frame; 3. a support plate; 4. a first hole; 5. a first groove; 6. a sliding seat; 7. rotating the rod; 8. punching a seat; 9. punching a groove; 10. fixing the rod; 11. a rack; 12. a gear; 13. a fixing plate; 14. a first push rod motor; 15. a supporting seat; 16. moving the plate; 17. a push rod; 18. a second push rod motor.
Detailed Description
The technical solutions in the embodiments of the present invention will be described clearly and completely with reference to the accompanying drawings in the embodiments of the present invention, and it is obvious that the described embodiments are only some embodiments of the present invention, not all embodiments.
Referring to fig. 1-3, a numerical control stamping device for office chair production comprises a base 1, a connecting frame 2 is fixedly installed on the top of the base 1, supporting plates 3 are fixedly installed on both sides of the base 1, a first hole 4 is formed on the top of the base 1, a first groove 5 is formed on one side of the connecting frame 2 close to each other, sliding seats 6 are slidably installed in the first groove 5, one side of each sliding seat 6 close to each other is rotatably installed with one end of a rotating rod 7, the other ends of the two rotating rods 7 are fixedly installed with a same stamping seat 8, a stamping groove 9 is formed on the top of the stamping seat 8, two symmetrically arranged fixing rods 10 are fixedly installed on the top of the base 1, a rack 11 is fixedly installed on one side of each fixing rod 10, a gear 12 is fixedly sleeved on the rotating rod 7, the gear 12 is meshed with the corresponding rack 11, a fixing plate 13 is fixedly installed on, fixed plate 13's top fixed mounting has first push rod motor 14 that two symmetries set up, two first push rod motor 14's output shaft fixed mounting has same supporting seat 15, and supporting seat 15 slidable mounting in first hole 4 and with 8 looks adaptations of punching press seat, one side slidable mounting that two backup pad 3 are close to each other has same movable plate 16, movable plate 16's top fixed mounting has the one end of catch bar 17 that two symmetries set up, catch bar 17's the other end extends to in first groove 5 and fixed mounting on sliding seat 6, fixed plate 13's bottom fixed mounting has second push rod motor 18, second push rod motor 18's output shaft fixed mounting is on movable plate 16.
The utility model discloses in, all seted up the spacing groove on the both sides inner wall of first groove 5, the equal fixed mounting in both sides of sliding seat 6 has spacing seat, and spacing seat and the spacing groove sliding connection who corresponds can make sliding seat 6 carry out stable removal owing to be provided with spacing groove and sliding seat.
The utility model discloses in, the rotation groove has been seted up to one side that two sliding seat 6 are close to each other, and the equal fixed cover of one end that two dwang 7 kept away from each other is equipped with the bearing, and the outer lane fixed mounting of bearing is on the inner wall that rotates the groove, owing to be provided with the bearing, can make dwang 7 carry out stable removal.
The utility model discloses in, the shifting chute has all been seted up to one side that two backup pads 3 are close to each other, and the equal fixed mounting in both sides of movable plate 16 has the removal seat, and removes the shifting chute sliding connection of seat and correspondence, owing to be provided with and remove seat and shifting chute, can make movable plate 16 carry out stable removal.
The utility model discloses in, seted up on the bottom inner wall of first groove 5 and removed the hole, and catch bar 17 slidable mounting is in removing the hole.
In the utility model, after the seat workpiece is punched, the workpiece is required to be taken out from the punching groove 9, the first push rod motor 14 is started, the first push rod motor 14 can drive the support seat 15 to move downwards through the output shaft, thereby the support to the punching seat 8 can be removed, then the second push rod motor 18 is started, the movable plate 16 of the second push rod motor 18 can move upwards, the movable plate 16 can move upwards to drive the push rod 17 to move upwards, the push rod 17 can drive the sliding seat 6 to move upwards, the sliding seat 6 can drive the punching seat 8 to move upwards through the rotating rod 7, under the action of the fixed rod 10 and the rack 11, in the process that the rotating rod 7 drives the gear 12 to move upwards, the gear 12 can rotate to drive the rotating rod 7 and the punching seat 8 to rotate, therefore, the punching seat 8 can be rotated 180 degrees, the opening of the punching groove 9 is downward, the bottom of the punching seat 8 is lightly knocked, the workpiece can be separated from the punching groove 9, and therefore the workpiece can be conveniently taken out of the punching groove 9.
The above, only be the concrete implementation of the preferred embodiment of the present invention, but the protection scope of the present invention is not limited thereto, and any person skilled in the art is in the technical scope of the present invention, according to the technical solution of the present invention and the utility model, the concept of which is equivalent to replace or change, should be covered within the protection scope of the present invention.

Claims (5)

1. The utility model provides a numerical control stamping device of office chair production usefulness, which comprises a base (1), and is characterized in that, the top fixed mounting of base (1) has link (2), the both sides of base (1) are all fixed mounting have backup pad (3), first hole (4) have been seted up at the top of base (1), link (2) one side that is close to each other all seted up first groove (5), slidable mounting has sliding seat (6) in first groove (5), the one side that two sliding seat (6) are close to each other all rotates the one end of installing dwang (7), the other end fixed mounting of two dwang (7) has same punching press seat (8), punching press groove (9) have been seted up at the top of punching press seat (8), the top fixed mounting of base (1) has two dead lever (10) that the symmetry set up, one side fixed mounting of dead lever (10) has rack (11), a gear (12) is fixedly sleeved on the rotating rod (7), the gear (12) is meshed with a corresponding rack (11), a fixed plate (13) is fixedly installed at the bottom of the base (1), two first push rod motors (14) which are symmetrically arranged are fixedly installed at the top of the fixed plate (13), the same supporting seat (15) is fixedly installed on output shafts of the two first push rod motors (14), the supporting seat (15) is slidably installed in the first hole (4) and is matched with the stamping seat (8), the same movable plate (16) is slidably installed on one side, close to each other, of the two supporting plates (3), one ends of two symmetrically arranged push rods (17) are fixedly installed at the top of the movable plate (16), the other end of each push rod (17) extends into the first groove (5) and is fixedly installed on the sliding seat (6), a second push rod motor (18) is fixedly installed at the bottom of the fixed plate (13), an output shaft of the second push rod motor (18) is fixedly arranged on the moving plate (16).
2. The numerical control stamping device for office chair production according to claim 1, wherein the inner walls of the two sides of the first groove (5) are respectively provided with a limiting groove, the two sides of the sliding seat (6) are respectively fixedly provided with a limiting seat, and the limiting seats are connected with the corresponding limiting grooves in a sliding manner.
3. The numerical control stamping device for office chair production according to claim 1, characterized in that one side of the two sliding seats (6) close to each other is provided with a rotating groove, one ends of the two rotating rods (7) far away from each other are fixedly sleeved with bearings, and outer rings of the bearings are fixedly arranged on the inner wall of the rotating groove.
4. The numerical control stamping device for office chair production as claimed in claim 1, characterized in that, the two support plates (3) are provided with moving grooves on one side adjacent to each other, moving seats are fixedly mounted on both sides of the moving plate (16), and the moving seats are slidably connected with the corresponding moving grooves.
5. The numerical control punching device for office chair production as claimed in claim 1, wherein the inner wall of the bottom of the first groove (5) is provided with a moving hole, and the push rod (17) is slidably mounted in the moving hole.
CN202021391171.9U 2020-07-15 2020-07-15 Numerical control stamping device of office chair production usefulness Expired - Fee Related CN212664639U (en)

Priority Applications (1)

Application Number Priority Date Filing Date Title
CN202021391171.9U CN212664639U (en) 2020-07-15 2020-07-15 Numerical control stamping device of office chair production usefulness

Applications Claiming Priority (1)

Application Number Priority Date Filing Date Title
CN202021391171.9U CN212664639U (en) 2020-07-15 2020-07-15 Numerical control stamping device of office chair production usefulness

Publications (1)

Publication Number Publication Date
CN212664639U true CN212664639U (en) 2021-03-09

Family

ID=74838807

Family Applications (1)

Application Number Title Priority Date Filing Date
CN202021391171.9U Expired - Fee Related CN212664639U (en) 2020-07-15 2020-07-15 Numerical control stamping device of office chair production usefulness

Country Status (1)

Country Link
CN (1) CN212664639U (en)

Cited By (1)

* Cited by examiner, † Cited by third party
Publication number Priority date Publication date Assignee Title
CN114798924A (en) * 2021-12-22 2022-07-29 江苏宏马科技股份有限公司 Material ejection structure of aluminum alloy front cover die-casting die

Cited By (1)

* Cited by examiner, † Cited by third party
Publication number Priority date Publication date Assignee Title
CN114798924A (en) * 2021-12-22 2022-07-29 江苏宏马科技股份有限公司 Material ejection structure of aluminum alloy front cover die-casting die

Similar Documents

Publication Publication Date Title
CN110681780A (en) Automobile seat stamping die
CN212664639U (en) Numerical control stamping device of office chair production usefulness
CN221388524U (en) Die exchange device for punching machine
CN111958694A (en) Automatic perforating device of plank
CN111015809B (en) Mica sheet profiling device with overload prevention assembly and profiling method thereof
CN216575073U (en) Stamping equipment of convenient unloading for machining
CN208555696U (en) A stamping die for car seat slide rail material
CN211437560U (en) Aluminum alloy pipe straightening equipment
CN110355252B (en) Stamping die easy to demould
CN114273501A (en) Multifunctional steel plate stamping die and use method thereof
CN221493926U (en) Forming equipment for manufacturing rivets
CN117564165B (en) Cold rolled steel punching device
CN213469273U (en) Car seat stamping device with rotation function
CN215355848U (en) Mould taking mechanism for stamping processing of flat parts
CN213162621U (en) Novel numerical control rotary stamping device
CN218310276U (en) Die positioning device for stably positioning stamping die
CN217474582U (en) Bus processing machine
CN201108937Y (en) Apparatus for spin forming of pulleys
CN223070229U (en) Automatic stamping connecting rod manipulator
CN223629309U (en) Stamping die for connector shell element
CN223475660U (en) A CNC punching machine with resistance to machining impact
CN216065176U (en) Stamping part processing die with multidirectional positioning function
CN220409823U (en) Perforating device is used in cardboard bag processing
CN223476080U (en) High-efficient whole formula cut-out press returns
CN222430359U (en) Gear inner ring polishing device

Legal Events

Date Code Title Description
GR01 Patent grant
GR01 Patent grant
CF01 Termination of patent right due to non-payment of annual fee

Granted publication date: 20210309

CF01 Termination of patent right due to non-payment of annual fee