CN212663917U - Ecological atomizing device of landscape - Google Patents
Ecological atomizing device of landscape Download PDFInfo
- Publication number
- CN212663917U CN212663917U CN202020900179.7U CN202020900179U CN212663917U CN 212663917 U CN212663917 U CN 212663917U CN 202020900179 U CN202020900179 U CN 202020900179U CN 212663917 U CN212663917 U CN 212663917U
- Authority
- CN
- China
- Prior art keywords
- gear
- atomizing
- rod
- water inlet
- ecological
- Prior art date
- Legal status (The legal status is an assumption and is not a legal conclusion. Google has not performed a legal analysis and makes no representation as to the accuracy of the status listed.)
- Expired - Fee Related
Links
- XLYOFNOQVPJJNP-UHFFFAOYSA-N water Substances O XLYOFNOQVPJJNP-UHFFFAOYSA-N 0.000 claims abstract description 37
- 238000000889 atomisation Methods 0.000 claims abstract description 28
- 244000309464 bull Species 0.000 abstract description 8
- 238000009434 installation Methods 0.000 abstract description 6
- 230000000694 effects Effects 0.000 description 6
- 238000005507 spraying Methods 0.000 description 4
- 230000005540 biological transmission Effects 0.000 description 3
- 239000007921 spray Substances 0.000 description 3
- 239000000428 dust Substances 0.000 description 2
- 230000007613 environmental effect Effects 0.000 description 2
- 238000010586 diagram Methods 0.000 description 1
- 238000005516 engineering process Methods 0.000 description 1
- 238000000034 method Methods 0.000 description 1
- 230000003014 reinforcing effect Effects 0.000 description 1
Images
Landscapes
- Special Spraying Apparatus (AREA)
Abstract
The utility model discloses an ecological atomizing device of landscape, which comprises a housing, one side of casing bottom is connected with the water inlet, the top of casing is connected with the fixed plate, the casing bottom is located one side of water inlet and installs the gear, the bottom of going up the gear is connected with lower gear, the one end of lower gear is connected with down the bull stick, the one end of bull stick is connected with first gear down. The utility model discloses a set up the gear, the lower gear, lower bull stick, first gear, go up the bull stick, the second gear, sector gear, the third gear, the fourth gear, first installation piece, first atomizing pole, when using the device, the switch is opened to the staff, high-pressure rivers flow into the casing along the water inlet inside, through last gear and lower gear after deliver to first atomizing pole and second atomizing pole inside through the hose, through the atomization treatment blowout, go up the gear simultaneously and be done reverse circular motion respectively with lower gear by rivers drive.
Description
Technical Field
The utility model relates to an environmental protection technology field, concretely relates to ecological atomizing device of landscape.
Background
Along with the increase of environmental protection consciousness, more and more enterprises and departments can spray landscape, when replenishing moisture for the vegetation, reduce the raise dust to the influence of environment, increase the humidity reinforcing comfort level of air simultaneously, generally set up the spraying shower nozzle on the pipeline during current spraying, start the spraying when needs spraying dust fall.
But its when in actual use, present landscape atomizing device, the single structure sprays the scope fixedly, and the atomizing scope is not adjustable, and the atomizing effect is poor.
Therefore, it is necessary to invent an ecological atomization device for landscape architecture to solve the above problems.
SUMMERY OF THE UTILITY MODEL
The utility model aims at providing an ecological atomizing device of landscape, through setting up gear, lower gear, when using the device, the switch is opened to the staff, inside high-pressure rivers flowed into the casing along the water inlet, sent to first atomizing pole and second atomizing pole through the hose after last gear and lower gear inside, through atomizing treatment blowout to increase the atomizing scope of device, hoisting device's atomization effect, with the above-mentioned weak point in the solution technique.
In order to achieve the above object, the present invention provides the following technical solutions: a garden landscape ecological atomization device comprises a casing, wherein a water inlet is connected to one side of the bottom end of the casing, a fixing plate is connected to the top end of the casing, an upper gear is installed on one side, located at the water inlet, of the bottom end of the casing, a lower gear is connected to the bottom end of the upper gear, a lower rotating rod is connected to one end of the lower gear, a first gear is connected to one end of the lower rotating rod, an upper rotating rod is connected to one end of the upper gear, a second gear is connected to one end of the upper rotating rod, a sector gear is connected to one side of the second gear, a third gear is connected to one end of the sector gear, a fourth gear is connected to one side of the third gear, a first installation block is connected to one end of the third gear, a first atomization rod is connected to one end of the first installation block, a second installation block is connected to one end of the fourth gear, and a second atomization rod is, one end of the water inlet is connected with a hose.
Preferably, the lower rotary rod is welded on the inner wall of the water inlet, and the upper gear is meshed with the lower gear.
Preferably, the first atomization rod and the second atomization rod are respectively rotatably connected with the fixing plate through rotating shafts, and the first atomization rod is fixedly connected with the first mounting block through bolts.
Preferably, the upper rotating rod is welded at one end of the upper gear, and the lower rotating rod is welded at one end of the lower gear.
Preferably, the second gear is meshed with a sector gear, and the first gear is meshed with the sector gear.
Preferably, one end of the hose is fixedly connected with the first mounting block and the hose respectively, and the other end of the hose is fixedly connected with the water inlet.
In the technical scheme, the utility model provides a technological effect and advantage:
by arranging an upper gear, a lower rotating rod, a first gear, an upper rotating rod, a second gear, a sector gear, a third gear, a fourth gear, a first mounting block and a first atomizing rod, when the device is used, a worker turns on a switch, high-pressure water flows into the interior of a machine shell along a water inlet, the high-pressure water flows into the interior of a machine shell through the upper gear and the lower gear, the high-pressure water flows into the interior of the first atomizing rod and the interior of the second atomizing rod through hoses, the high-pressure water is sprayed out through atomization treatment, the upper gear and the lower gear are driven by the water flow to respectively do reverse circular motion, the upper gear drives the second gear to do anticlockwise rotation through the upper rotating rod, the lower gear drives the first gear to rotate clockwise through the lower rotating rod, the first gear and the second gear respectively drive the sector gear to do clockwise motion and anticlockwise motion alternately, the sector gear drives the third gear and the fourth gear to do clockwise motion and anticlockwise motion alternately, the third gear drives the first atomizing rod to, the fourth gear drives the second atomization rod to alternately move clockwise and anticlockwise in the direction opposite to the first atomization rod through the second installation block, so that the atomization range of the device is enlarged, and the atomization effect of the device is improved.
Drawings
In order to more clearly illustrate the embodiments of the present application or the technical solutions in the prior art, the drawings needed to be used in the embodiments will be briefly described below, and it is obvious that the drawings in the following description are only some embodiments described in the present invention, and other drawings can be obtained by those skilled in the art according to these drawings.
Fig. 1 is a top view of the present invention;
FIG. 2 is a schematic structural view of the present invention;
FIG. 3 is a front cross-sectional view of the present invention;
FIG. 4 is a side cross-sectional view of the present invention;
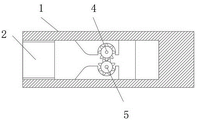
fig. 5 is a schematic structural diagram of the second gear of the present invention.
Description of reference numerals:
1 casing, 2 water inlets, 3 fixed plates, 4 upper gears, 5 lower gears, 6 lower rotating rods, 7 first gears, 8 upper rotating rods, 9 second gears, 10 sector gears, 11 third gears, 12 fourth gears, 13 first mounting blocks, 14 first atomizing rods, 15 second mounting blocks, 16 second atomizing rods and 17 hoses.
Detailed Description
In order to make the technical solution of the present invention better understood by those skilled in the art, the present invention will be further described in detail with reference to the accompanying drawings.
The utility model provides a garden landscape ecological atomization device as shown in figures 1-5, which comprises a casing 1, wherein one side of the bottom end of the casing 1 is connected with a water inlet 2, the top end of the casing 1 is connected with a fixed plate 3, one side of the bottom end of the casing 1, which is positioned at the water inlet 2, is provided with an upper gear 4, the bottom end of the upper gear 4 is connected with a lower gear 5, one end of the lower gear 5 is connected with a lower rotating rod 6, one end of the lower rotating rod 6 is connected with a first gear 7, one end of the upper gear 4 is connected with an upper rotating rod 8, one end of the upper rotating rod 8 is connected with a second gear 9, one side of the second gear 9 is connected with a sector gear 10, one end of the sector gear 10 is connected with a third gear 11, one side of the third gear 11 is connected with a fourth gear 12, one end of the third gear 11 is connected, one end of the first mounting block 13 is connected with a first atomizing rod 14, one end of the fourth gear 12 is connected with a second mounting block 15, one end of the second mounting block 15 is connected with a second atomizing rod 16, and one end of the water inlet 2 is connected with a hose 17.
Further, in the above technical solution, the lower rotating rod 6 is welded on the inner wall of the water inlet 2, so as to enhance the stability between the lower rotating rod 6 and the water inlet 2, and the upper gear 4 is engaged with the lower gear 5, so as to facilitate the power transmission of the water flow to the upper gear 4 and the lower gear 5.
Further, in the above technical solution, the first atomization rod 14 and the second atomization rod 16 are rotatably connected to the fixing plate 3 through a rotating shaft, so that the fixing plate 3 can limit the positions of the first atomization rod 14 and the second atomization rod 16, and the first atomization rod 14 is fixedly connected to the first mounting block 13 through a bolt, so that the first atomization rod 14 can be mounted and fixed conveniently.
As shown in fig. 1-5: go up the bull stick 8 and weld in the one end of last gear 4, be convenient for strengthen the steadiness between bull stick 8 and the last gear 4, bull stick 6 welds the one end at lower gear 5 down, is convenient for strengthen the steadiness between bull stick 6 and the lower gear 5 down.
Further, in the above technical solution, the second gear 9 is engaged with the sector gear 10, so as to facilitate power transmission of the second gear 9 to the sector gear 10, and the first gear 7 is engaged with the sector gear 10, so as to facilitate power transmission of the first gear 7 to the sector gear 10.
Further, in the above technical solution, one end of the hose 17 is fixedly connected to the first mounting block 13 and the hose 17, respectively, so as to facilitate the conveyance of water flow by the hose 17, and the other end of the hose 17 is fixedly connected to the water inlet 2, so as to facilitate the installation of the hose 17.
The implementation mode is specifically as follows: when the device is used, a worker turns on a switch, high-pressure water flows into the interior of the machine shell along the water inlet 2, the high-pressure water flows into the interior of the machine shell through the upper gear 4 and the lower gear 5 and then is conveyed into the interior of the first atomizing rod 14 and the second atomizing rod 16 through the hose 17, the high-pressure water is atomized and sprayed out, meanwhile, the upper gear 4 and the lower gear 5 are driven by the water flow to respectively do reverse circular motion, the upper gear 4 drives the second gear 9 to rotate anticlockwise through the upper rotating rod 8, the lower gear 5 drives the first gear 7 to rotate clockwise through the lower rotating rod 6, the first gear 7 and the second gear 9 respectively drive the sector gear 10 to do clockwise motion and anticlockwise motion alternately, the sector gear 10 drives the third gear 11 and the fourth gear 12 to do clockwise motion and anticlockwise motion alternately, the third gear 11 drives the first atomizing rod 14 to do clockwise and anticlockwise motion alternately through the first mounting block 13, and the fourth gear 12 drives the second atomizing rod 16 to do clockwise and anticlockwise motion alternately in a direction opposite to the first atomizing rod 14 Move to increase the atomizing scope of device, hoisting device's atomization effect, present landscape atomizing device that exists among the prior art has specifically been solved to this embodiment, and the single structure sprays the scope fixedly, and the atomizing scope is unadjustable, the poor problem of atomization effect.
This practical theory of operation:
referring to the attached drawings 1-5 of the specification, when using the device, a worker turns on the switch, high-pressure water flows into the interior of the machine shell along the water inlet 2, passes through the upper gear 4 and the lower gear 5, is conveyed to the interior of the first atomizing rod 14 and the second atomizing rod 16 through the hose 17, is atomized and sprayed out, meanwhile, the upper gear 4 and the lower gear 5 are driven by the water flow to respectively do reverse circular motion, the upper gear 4 drives the second gear 9 to rotate anticlockwise through the upper rotating rod 8, the lower gear 5 drives the first gear 7 to rotate clockwise through the lower rotating rod 6, the first gear 7 and the second gear 9 respectively drive the sector gear 10 to do clockwise motion and anticlockwise motion alternately, the sector gear 10 drives the third gear 11 and the fourth gear 12 to do clockwise and anticlockwise motion alternately, the third gear 11 drives the first atomizing rod 14 to do clockwise and anticlockwise motion alternately through the first mounting block 13, the fourth gear 12 drives the second atomization rod 16 to alternately move clockwise and anticlockwise in the direction opposite to the first atomization rod 14 through the second mounting block 15;
while certain exemplary embodiments of the present invention have been described above by way of illustration only, it will be apparent to those of ordinary skill in the art that the described embodiments may be modified in various different ways without departing from the spirit and scope of the present invention. Accordingly, the drawings and description are illustrative in nature and should not be construed as limiting the scope of the invention.
Claims (6)
1. The utility model provides an ecological atomizing device of landscape, includes casing (1), its characterized in that: one side of the bottom end of the machine shell (1) is connected with a water inlet (2), the top end of the machine shell (1) is connected with a fixing plate (3), one side, located at the water inlet (2), of the bottom end of the machine shell (1) is provided with an upper gear (4), the bottom end of the upper gear (4) is connected with a lower gear (5), one end of the lower gear (5) is connected with a lower rotating rod (6), one end of the lower rotating rod (6) is connected with a first gear (7), one end of the upper gear (4) is connected with an upper rotating rod (8), one end of the upper rotating rod (8) is connected with a second gear (9), one side of the second gear (9) is connected with a sector gear (10), one end of the sector gear (10) is connected with a third gear (11), one side of the third gear (11) is connected with a fourth gear (12), one end of the third gear (11) is connected with a, one end of the first mounting block (13) is connected with a first atomizing rod (14), one end of the fourth gear (12) is connected with a second mounting block (15), one end of the second mounting block (15) is connected with a second atomizing rod (16), and one end of the water inlet (2) is connected with a hose (17).
2. The ecological atomizing device of landscape architecture of claim 1, characterized in that: the lower rotating rod (6) is welded on the inner wall of the water inlet (2), and the upper gear (4) is meshed with the lower gear (5).
3. The ecological atomizing device of landscape architecture of claim 1, characterized in that: the first atomization rod (14) and the second atomization rod (16) are rotatably connected with the fixing plate (3) through rotating shafts respectively, and the first atomization rod (14) is fixedly connected with the first mounting block (13) through bolts.
4. The ecological atomizing device of landscape architecture of claim 1, characterized in that: the upper rotating rod (8) is welded at one end of the upper gear (4), and the lower rotating rod (6) is welded at one end of the lower gear (5).
5. The ecological atomizing device of landscape architecture of claim 1, characterized in that: the second gear (9) is meshed with a sector gear (10), and the first gear (7) is meshed with the sector gear (10).
6. The ecological atomizing device of landscape architecture of claim 1, characterized in that: one end of the hose (17) is fixedly connected with the first mounting block (13) and the hose (17) respectively, and the other end of the hose (17) is fixedly connected with the water inlet (2).
Priority Applications (1)
| Application Number | Priority Date | Filing Date | Title |
|---|---|---|---|
| CN202020900179.7U CN212663917U (en) | 2020-05-26 | 2020-05-26 | Ecological atomizing device of landscape |
Applications Claiming Priority (1)
| Application Number | Priority Date | Filing Date | Title |
|---|---|---|---|
| CN202020900179.7U CN212663917U (en) | 2020-05-26 | 2020-05-26 | Ecological atomizing device of landscape |
Publications (1)
| Publication Number | Publication Date |
|---|---|
| CN212663917U true CN212663917U (en) | 2021-03-09 |
Family
ID=74813305
Family Applications (1)
| Application Number | Title | Priority Date | Filing Date |
|---|---|---|---|
| CN202020900179.7U Expired - Fee Related CN212663917U (en) | 2020-05-26 | 2020-05-26 | Ecological atomizing device of landscape |
Country Status (1)
| Country | Link |
|---|---|
| CN (1) | CN212663917U (en) |
-
2020
- 2020-05-26 CN CN202020900179.7U patent/CN212663917U/en not_active Expired - Fee Related
Similar Documents
| Publication | Publication Date | Title |
|---|---|---|
| CN110917797A (en) | Environmental protection dust suppression dust collector for construction | |
| CN212663917U (en) | Ecological atomizing device of landscape | |
| CN111794166A (en) | Dust fall machine for hydraulic engineering construction site | |
| CN214715332U (en) | Dust falling device of concrete mixing plant | |
| CN112889639B (en) | A controllable square spraying device and method of using the same | |
| CN110694415A (en) | Environment-friendly electric dust removal equipment for building site | |
| CN212417387U (en) | A dust-proof sprinkler for construction blasting | |
| CN211888407U (en) | A remediation agent spraying device for soil remediation | |
| CN211216087U (en) | Waste gas purification spray tower for rare earth preparation | |
| CN220294366U (en) | Dust fall device for civil construction | |
| CN218188683U (en) | A kind of anti-dust auxiliary device for indoor construction | |
| CN112412524A (en) | Dust fall mechanism and environment-friendly equipment for mine exploitation | |
| CN218523725U (en) | Atomizing air purification device | |
| CN215782491U (en) | Energy-efficient dust device for hydraulic engineering construction | |
| CN213710235U (en) | Coating spraying device for building engineering | |
| CN223112749U (en) | Environmental protection pollution control equipment for atmospheric treatment | |
| CN112473290B (en) | Atomizing device and dust fall equipment based on venturi principle | |
| CN213668544U (en) | Air filter for environmental protection engineering | |
| CN209586420U (en) | A kind of roadway full-fracture-surfacanchoring-rod optimizes device by spraying | |
| CN211164626U (en) | High-efficient concrete mixing device | |
| CN209576122U (en) | A high-efficiency dust removal device | |
| CN208943729U (en) | A kind of purification device for preventing and treating construction site fugitive dust | |
| CN208329524U (en) | A kind of efficient wall spray equipment of architectural engineering | |
| CN221752744U (en) | A dust suppression spraying device for municipal engineering | |
| CN219596978U (en) | Concrete water spray curing machine |
Legal Events
| Date | Code | Title | Description |
|---|---|---|---|
| GR01 | Patent grant | ||
| GR01 | Patent grant | ||
| CF01 | Termination of patent right due to non-payment of annual fee | ||
| CF01 | Termination of patent right due to non-payment of annual fee |
Granted publication date: 20210309 |