CN212653193U - A dust removal device for mechanical equipment processing - Google Patents

A dust removal device for mechanical equipment processing Download PDF

Info

Publication number
CN212653193U
CN212653193U CN202020881992.4U CN202020881992U CN212653193U CN 212653193 U CN212653193 U CN 212653193U CN 202020881992 U CN202020881992 U CN 202020881992U CN 212653193 U CN212653193 U CN 212653193U
Authority
CN
China
Prior art keywords
fixedly connected
support column
dust
supporting column
hydraulic cylinder
Prior art date
Legal status (The legal status is an assumption and is not a legal conclusion. Google has not performed a legal analysis and makes no representation as to the accuracy of the status listed.)
Expired - Fee Related
Application number
CN202020881992.4U
Other languages
Chinese (zh)
Inventor
罗泉
Current Assignee (The listed assignees may be inaccurate. Google has not performed a legal analysis and makes no representation or warranty as to the accuracy of the list.)
Wuxi Borast Machinery Equipment Co ltd
Original Assignee
Wuxi Borast Machinery Equipment Co ltd
Priority date (The priority date is an assumption and is not a legal conclusion. Google has not performed a legal analysis and makes no representation as to the accuracy of the date listed.)
Filing date
Publication date
Application filed by Wuxi Borast Machinery Equipment Co ltd filed Critical Wuxi Borast Machinery Equipment Co ltd
Priority to CN202020881992.4U priority Critical patent/CN212653193U/en
Application granted granted Critical
Publication of CN212653193U publication Critical patent/CN212653193U/en
Expired - Fee Related legal-status Critical Current
Anticipated expiration legal-status Critical

Links

Images

Landscapes

  • Grinding-Machine Dressing And Accessory Apparatuses (AREA)

Abstract

本实用新型公开了一种机械设备加工用除尘装置,包括工作台,所述工作台顶部的两侧分别固定连接有第一支撑柱和第二支撑柱,所述第一支撑柱和第二支撑柱相对一侧的顶部固定连接有连接杆,所述连接杆的顶部固定连接有液压缸,所述液压缸的底部固定连接有安装板。本实用新型通过工作台、第一支撑柱、第二支撑柱、连接杆、液压缸、安装板、打磨机、电机、丝杆、螺纹套、清洁刷、收集罩、过滤板、连接管和吸尘机的配合使用,能够有效的解决传统机械加工设备用除尘装置除尘效果较差,无法有效的对散落的灰尘进行收集和清理的问题,该装置能够有效的对灰尘进行收集,并进行集中处理,降低了工作环境的污染,有效的保护人体健康。

Figure 202020881992

The utility model discloses a dust-removing device for mechanical equipment processing, which comprises a workbench, and two sides of the top of the workbench are respectively fixedly connected with a first support column and a second support column. The first support column and the second support column A connecting rod is fixedly connected to the top of the opposite side of the column, a hydraulic cylinder is fixedly connected to the top of the connecting rod, and a mounting plate is fixedly connected to the bottom of the hydraulic cylinder. The utility model adopts a workbench, a first support column, a second support column, a connecting rod, a hydraulic cylinder, a mounting plate, a grinding machine, a motor, a screw rod, a threaded sleeve, a cleaning brush, a collecting cover, a filter plate, a connecting pipe and a suction pipe. The use of the dust collector can effectively solve the problem that the dust removal effect of the traditional mechanical processing equipment is poor, and the scattered dust cannot be collected and cleaned effectively. The device can effectively collect the dust and conduct centralized processing. , reduce the pollution of the working environment, and effectively protect human health.

Figure 202020881992

Description

Dust collector is used in mechanical equipment processing
Technical Field
The utility model relates to a mechanical equipment technical field specifically is a dust collector is used in mechanical equipment processing.
Background
Machining means the process that changes the overall dimension or the performance of work piece through mechanical equipment, can divide into cutting process and pressure process according to the difference in processing, there are a lot of dust and iron fillings dirt in machining process, harm is very big to staff's health, consequently, the dust collector that machining used has appeared, the dust collector that machining used that has a lot of different grade types on the market at present, but the dust collector's that most machining used dust collector dust removal effect is not very good, can't realize the purpose of collecting the dust, can't clear up the dust that falls scattered simultaneously.
SUMMERY OF THE UTILITY MODEL
An object of the utility model is to provide a dust collector is used in mechanical equipment processing possesses the advantage of convenient clearance, and the dust collector's that has solved most machining usefulness dust removal effect is not fine, can't realize carrying out the purpose of collecting to the dust, can't carry out the problem of clearing up to the dust that scatters simultaneously.
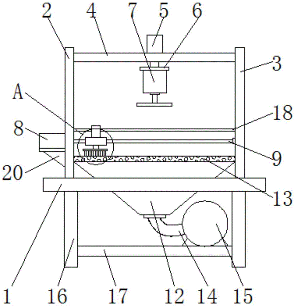
In order to achieve the above object, the utility model provides a following technical scheme: a dust removal device for machining of mechanical equipment comprises a workbench, wherein a first supporting column and a second supporting column are fixedly connected to two sides of the top of the workbench respectively, a connecting rod is fixedly connected to the top of one side, opposite to the first supporting column, of the second supporting column, a hydraulic cylinder is fixedly connected to the top of the connecting rod, a mounting plate is fixedly connected to the bottom of the hydraulic cylinder, a grinding machine is fixedly connected to the bottom of the mounting plate, a motor is fixedly connected to the bottom of the left side of the first supporting column, a lead screw is fixedly connected to the output end of the motor, the right side of the lead screw is movably connected with the second supporting column through a bearing, a threaded sleeve is connected to the left side of the surface of the lead screw in a threaded manner, a cleaning brush is fixedly connected to the bottom of the threaded sleeve, a collecting cover is fixedly connected to the top of the workbench, a filter plate is fixedly connected, one side of the connecting pipe, which is far away from the collecting cover, is communicated with a dust collector.
Preferably, the four corners of the bottom of the workbench are fixedly connected with pillars, cross rods are fixedly connected between the pillars, and the tops of the cross rods are fixedly connected with the dust collector.
Preferably, one side fixedly connected with slide bar that first support column and second support column are relative, the left side sliding connection on slide bar surface has the sliding sleeve, the bottom and the thread bush fixed connection of sliding sleeve.
Preferably, the bottom fixedly connected with mount pad of motor, the right side and the first support column fixed connection of mount pad.
Preferably, the shape of the cleaning brush is rectangular, and the length of the cleaning brush is consistent with the width of the filter plate.
Compared with the prior art, the beneficial effects of the utility model are as follows:
1. the utility model discloses a workstation, first support column, the second support column, the connecting rod, the pneumatic cylinder, the mounting panel, the polisher, including a motor, an end cap, a controller, and a cover plate, the lead screw, the thread bush, the cleaning brush, collect the cover, the filter, the cooperation of connecting pipe and dust catcher is used, can effectually solve traditional dust collector for the machining equipment dust removal effect relatively poor, the problem of unable effectual dust to scattering is collected and is cleared up, the device can effectually collect the dust, and carry out centralized processing, the pollution that has reduced operational environment, effectual protection is healthy.
2. The utility model discloses a set up pillar and horizontal pole, can play the supporting role to the device, guarantee the stability of dust catcher simultaneously, through setting up slide bar and sliding sleeve, can carry on spacingly to the thread bush to guarantee the horizontal motion of thread bush, through setting up the mount pad, can support the motor, thereby guaranteed the stability of motor, through setting up the cleaning brush, the cleaning brush covers on the filter surface, can effectually clear up the dust that scatters.
Drawings
FIG. 1 is a schematic structural view of the present invention;
FIG. 2 is a schematic view of a partial enlarged structure at A in FIG. 1 according to the present invention;
fig. 3 is a schematic top view of the structure of the filter plate of the present invention.
In the figure: 1. a work table; 2. a first support column; 3. a second support column; 4. a connecting rod; 5. a hydraulic cylinder; 6. mounting a plate; 7. a sander; 8. a motor; 9. a screw rod; 10. a threaded sleeve; 11. a cleaning brush; 12. a collection hood; 13. a filter plate; 14. a connecting pipe; 15. a dust collector; 16. a pillar; 17. a cross bar; 18. a slide bar; 19. a sliding sleeve; 20. and (7) mounting a seat.
Detailed Description
The technical solutions in the embodiments of the present invention will be described clearly and completely with reference to the accompanying drawings in the embodiments of the present invention, and it is obvious that the described embodiments are only some embodiments of the present invention, not all embodiments. Based on the embodiments in the present invention, all other embodiments obtained by a person skilled in the art without creative work belong to the protection scope of the present invention.
In the description of the present invention, it should be noted that the terms "upper", "lower", "inner", "outer", "front end", "rear end", "both ends", "one end", "the other end", and the like indicate orientations or positional relationships based on the orientations or positional relationships shown in the drawings, and are only for convenience of description and simplification of description, but do not indicate or imply that the device or element to be referred must have a specific orientation, be constructed in a specific orientation, and be operated, and thus, should not be construed as limiting the present invention. Furthermore, the terms "first" and "second" are used for descriptive purposes only and are not to be construed as indicating or implying relative importance.
In the description of the present invention, it is to be noted that, unless otherwise explicitly specified or limited, the terms "mounted", "provided", "connected", and the like are to be construed broadly, such as "connected", which may be fixedly connected, detachably connected, or integrally connected; can be mechanically or electrically connected; they may be connected directly or indirectly through intervening media, or they may be interconnected between two elements. The specific meaning of the above terms in the present invention can be understood in specific cases to those skilled in the art.
The components adopted by the utility model are all universal standard components or components known by the technicians in the field, and the structure and the principle of the components are known by the technicians through technical manuals or conventional experimental methods.
Referring to fig. 1-3, a dust removing device for machining of mechanical equipment comprises a workbench 1, pillars 16 are fixedly connected to four corners of the bottom of the workbench 1, a cross rod 17 is fixedly connected between the pillars 16, the top of the cross rod 17 is fixedly connected with a dust collector 15, a first supporting column 2 and a second supporting column 3 are fixedly connected to two sides of the top of the workbench 1 respectively, a sliding rod 18 is fixedly connected to one side of the first supporting column 2 opposite to the second supporting column 3, a sliding sleeve 19 is slidably connected to the left side of the surface of the sliding rod 18, the bottom of the sliding sleeve 19 is fixedly connected with a threaded sleeve 10, a connecting rod 4 is fixedly connected to the top of one side of the first supporting column 2 opposite to the second supporting column 3, a hydraulic cylinder 5 is fixedly connected to the top of the connecting rod 4, a mounting plate 6 is fixedly connected to the bottom of the hydraulic cylinder 5, a grinding machine 7 is fixedly connected to the bottom of, the bottom of the motor 8 is fixedly connected with a mounting seat 20, the right side of the mounting seat 20 is fixedly connected with the first support column 2, the output end of the motor 8 is fixedly connected with a screw rod 9, the right side of the screw rod 9 is movably connected with the second support column 3 through a bearing, the left side of the surface of the screw rod 9 is in threaded connection with a threaded sleeve 10, the bottom of the threaded sleeve 10 is fixedly connected with a cleaning brush 11, the cleaning brush 11 is rectangular, the length of the cleaning brush 11 is consistent with the width of a filter plate 13, the top of the workbench 1 is fixedly connected with a collecting cover 12, the top of the collecting cover 12 is fixedly connected with the filter plate 13, the bottom of the collecting cover 12 extends to the lower part of the workbench 1 and is communicated with a connecting pipe 14, one side of the connecting pipe 14 far away from the collecting cover 12 is communicated with a dust collector 15, the device can be supported by arranging a support column 16 and a cross rod 17, the, can limit the threaded sleeve 10, thereby ensuring the horizontal movement of the threaded sleeve 10, can support the motor 8 by arranging the mounting seat 20, thereby ensuring the stability of the motor 8, can effectively clean scattered dust by arranging the cleaning brush 11, can effectively clean the scattered dust by arranging the cleaning brush 11 on the surface of the filter plate 13, can effectively solve the problems that the dust removal effect of the dust removal device for the traditional machining equipment is poor and the scattered dust cannot be effectively collected and cleaned by matching the workbench 1, the first support column 2, the second support column 3, the connecting rod 4, the hydraulic cylinder 5, the mounting plate 6, the grinding machine 7, the motor 8, the screw rod 9, the threaded sleeve 10, the cleaning brush 11, the collecting cover 12, the filter plate 13, the connecting pipe 14 and the dust collector 15, can effectively solve the problems that the dust removal device for the traditional machining equipment has poor dust removal effect and the scattered dust cannot be effectively collected and cleaned, can effectively collect the dust and perform centralized treatment, thereby reducing the, effectively protect the health of human body.
During the use, in the working process, drive polisher 7 through pneumatic cylinder 5 and go up and down, thereby adjustment machining height, the dust that processing produced, through the operation of dust catcher 15, concentrate to inside collecting cover 12, unrestrained dust on filter 13 surface, through starter motor 8, motor 8 drives lead screw 9 and rotates, lead screw 9 drives thread bush 10 and removes to the right side, thread bush 10 drives cleaning brush 11 and removes, thereby can clear up the dust on filter 13 surface, the dust is collected inside the entering of the hole of filter 13 and is collected cover 12 and inside collect.
Although embodiments of the present invention have been shown and described, it will be appreciated by those skilled in the art that changes, modifications, substitutions and alterations can be made in these embodiments without departing from the principles and spirit of the invention, the scope of which is defined in the appended claims and their equivalents.

Claims (5)

1. The utility model provides a dust collector is used in machining equipment processing, includes workstation (1), its characterized in that: the automatic cleaning machine is characterized in that the two sides of the top of the workbench (1) are respectively fixedly connected with a first supporting column (2) and a second supporting column (3), the top of one side of the first supporting column (2) and the second supporting column (3) is opposite to the first supporting column (4), the top of the connecting rod (4) is fixedly connected with a hydraulic cylinder (5), the bottom of the hydraulic cylinder (5) is fixedly connected with a mounting plate (6), the bottom of the mounting plate (6) is fixedly connected with a grinding machine (7), the left bottom of the first supporting column (2) is fixedly connected with a motor (8), the output end of the motor (8) is fixedly connected with a lead screw (9), the right side of the lead screw (9) is movably connected with the second supporting column (3) through a bearing, the left side of the surface of the lead screw (9) is connected with a thread bushing (10), and the bottom of the thread, the top fixedly connected with of workstation (1) collects cover (12), collect top fixedly connected with filter (13) of cover (12), the bottom of collecting cover (12) extends the below of workstation (1) and communicates with and is connected with connecting pipe (14), one side intercommunication that collecting cover (12) was kept away from in connecting pipe (14) has dust catcher (15).
2. The dust removing device for machining equipment according to claim 1, wherein: the four corners of workstation (1) bottom all fixedly connected with pillar (16), fixedly connected with horizontal pole (17) between pillar (16), the top and the dust catcher (15) fixed connection of horizontal pole (17).
3. The dust removing device for machining equipment according to claim 1, wherein: the utility model discloses a support structure, including first support column (2) and second support column (3), one side fixedly connected with slide bar (18) that first support column (2) and second support column (3) are relative, the left side sliding connection on slide bar (18) surface has sliding sleeve (19), the bottom and the thread bush (10) fixed connection of sliding sleeve (19).
4. The dust removing device for machining equipment according to claim 1, wherein: the bottom fixedly connected with mount pad (20) of motor (8), the right side and first support column (2) fixed connection of mount pad (20).
5. The dust removing device for machining equipment according to claim 1, wherein: the shape of the cleaning brush (11) is rectangular, and the length of the cleaning brush (11) is consistent with the width of the filter plate (13).
CN202020881992.4U 2020-05-24 2020-05-24 A dust removal device for mechanical equipment processing Expired - Fee Related CN212653193U (en)

Priority Applications (1)

Application Number Priority Date Filing Date Title
CN202020881992.4U CN212653193U (en) 2020-05-24 2020-05-24 A dust removal device for mechanical equipment processing

Applications Claiming Priority (1)

Application Number Priority Date Filing Date Title
CN202020881992.4U CN212653193U (en) 2020-05-24 2020-05-24 A dust removal device for mechanical equipment processing

Publications (1)

Publication Number Publication Date
CN212653193U true CN212653193U (en) 2021-03-05

Family

ID=74746821

Family Applications (1)

Application Number Title Priority Date Filing Date
CN202020881992.4U Expired - Fee Related CN212653193U (en) 2020-05-24 2020-05-24 A dust removal device for mechanical equipment processing

Country Status (1)

Country Link
CN (1) CN212653193U (en)

Cited By (1)

* Cited by examiner, † Cited by third party
Publication number Priority date Publication date Assignee Title
CN114464026A (en) * 2022-03-08 2022-05-10 威海海洋职业学院 A kind of English teaching equipment with VR function

Cited By (1)

* Cited by examiner, † Cited by third party
Publication number Priority date Publication date Assignee Title
CN114464026A (en) * 2022-03-08 2022-05-10 威海海洋职业学院 A kind of English teaching equipment with VR function

Similar Documents

Publication Publication Date Title
CN216371576U (en) Environment-friendly railway track accessory grinding device with dust removal function
CN212653193U (en) A dust removal device for mechanical equipment processing
CN212917626U (en) Horizontal lathe with dustproof construction
CN116900880B (en) Polishing device for welding net processing
CN219504339U (en) Finger joint plate surface treatment device
CN112194351A (en) Automatic sheet cutting machine for glass manufacturing
CN218312275U (en) Vertical milling machine
CN212816091U (en) Multifunctional dust collector
CN222805642U (en) Roller surface foreign matter removing device
CN222037930U (en) Deburring equipment with stable clamping function
CN216937452U (en) Efficient dust removal device for overlock machine
CN220145236U (en) Plate type lathe bed for precision machine tool
CN219005731U (en) Cylindrical grinder workbench
CN222832119U (en) Positioning device for glass cutting
CN221911021U (en) Numerical control machining center with protection function
CN221851601U (en) Sculpture processing base for collecting waste materials
CN221909009U (en) A dust removal device for photovoltaic equipment and component manufacturing
CN222326899U (en) Gear grinding machine with high working efficiency for gear machining
CN218137340U (en) Rotating shaft cylindrical grinding machine with scrap collecting function
CN218696563U (en) Mechanism is collected to sweeps
CN221390335U (en) A grinding device with chip removal function for mold processing
CN222681205U (en) Dust removal structure for wood die processing
CN218226018U (en) Machine part grinding device convenient to use
CN217194741U (en) Guitar surface grinding machine
CN219882071U (en) Surface burr grinding device

Legal Events

Date Code Title Description
GR01 Patent grant
GR01 Patent grant
CF01 Termination of patent right due to non-payment of annual fee

Granted publication date: 20210305

CF01 Termination of patent right due to non-payment of annual fee