CN212631623U - A tool for finger rehabilitation of neurological patients - Google Patents

A tool for finger rehabilitation of neurological patients Download PDF

Info

Publication number
CN212631623U
CN212631623U CN202021495491.9U CN202021495491U CN212631623U CN 212631623 U CN212631623 U CN 212631623U CN 202021495491 U CN202021495491 U CN 202021495491U CN 212631623 U CN212631623 U CN 212631623U
Authority
CN
China
Prior art keywords
spring
column
fixedly connected
side wall
hook structure
Prior art date
Legal status (The legal status is an assumption and is not a legal conclusion. Google has not performed a legal analysis and makes no representation as to the accuracy of the status listed.)
Expired - Fee Related
Application number
CN202021495491.9U
Other languages
Chinese (zh)
Inventor
彭艳艳
周芳
周大勇
Current Assignee (The listed assignees may be inaccurate. Google has not performed a legal analysis and makes no representation or warranty as to the accuracy of the list.)
Second Peoples Hospital of Lianyungang of Oncology Hospital of Lianyungang
Original Assignee
Second Peoples Hospital of Lianyungang of Oncology Hospital of Lianyungang
Priority date (The priority date is an assumption and is not a legal conclusion. Google has not performed a legal analysis and makes no representation as to the accuracy of the date listed.)
Filing date
Publication date
Application filed by Second Peoples Hospital of Lianyungang of Oncology Hospital of Lianyungang filed Critical Second Peoples Hospital of Lianyungang of Oncology Hospital of Lianyungang
Priority to CN202021495491.9U priority Critical patent/CN212631623U/en
Application granted granted Critical
Publication of CN212631623U publication Critical patent/CN212631623U/en
Expired - Fee Related legal-status Critical Current
Anticipated expiration legal-status Critical

Links

Images

Landscapes

  • Rehabilitation Tools (AREA)

Abstract

本实用新型公开了一种神经科病人手指康复用工具,连接结构的一端连接有弹簧,弹簧的中间套接有限位柱,弹簧的一端连接有挂钩结构,挂钩结构的底部侧壁连接有衔接板,衔接板的底部侧壁连接有指套,衔接板与连接结构之间固定连接有防护布,连接结构上连接有立柱,固定在弹簧一端上套圈套接在立柱上,再将螺母螺纹连接在立柱的顶端上,确保套圈套接的稳定性,卡圈卡接在挂钩结构内,在挂钩结构的一个固定柱上转动连接有扭簧,且扭簧的一侧转动连接有闭合柱,通过按压控制闭合柱的开合,以此使卡圈更加方便与挂钩结构进行拆装,通过挂钩结构和立柱能够实现弹簧的拆卸更换,便于针对病人的恢复阶段更换不同拉力的弹簧,有效的提升病人恢复的速度。

Figure 202021495491

The utility model discloses a finger rehabilitation tool for neurological patients. One end of a connecting structure is connected with a spring, the middle of the spring is sleeved with a limiting column, one end of the spring is connected with a hook structure, and the bottom side wall of the hook structure is connected with a connecting plate , the bottom side wall of the connecting plate is connected with a finger sleeve, a protective cloth is fixedly connected between the connecting plate and the connecting structure, a column is connected to the connecting structure, and the ferrule is fixed on one end of the spring and is sleeved on the column, and then the nut is screwed on the On the top of the column, the stability of the ferrule is ensured, the collar is clamped in the hook structure, a torsion spring is rotatably connected to a fixed column of the hook structure, and one side of the torsion spring is rotated and connected to a closed column. Control the opening and closing of the closing column, so that the collar is more convenient to disassemble and assemble with the hook structure. The spring can be disassembled and replaced through the hook structure and the column, which is convenient to replace the springs with different tensions according to the patient's recovery stage, and effectively improve the patient's recovery. speed.

Figure 202021495491

Description

Instrument is used in recovered of neurology patient's finger
Technical Field
The utility model relates to a rehabilitation instrument, in particular to instrument for the recovery of patient's finger of neurology department belongs to patient's finger rehabilitation training relevant instrument technical field.
Background
The fingers are the most flexible limbs of the human body, and can enable people to complete a lot of delicate work, so the fingers are one of the very important parts for the people, because the flexibility of the fingers of the people also represents that nerves on the fingers are developed, many people cause the nerves of the fingers to be injured due to some accidents at present, and even if the operation is performed in time, the fingers still can not be recovered to the original shape.
At present, in order to enable injured fingers of a patient to return to original shapes as soon as possible, the patient can conduct training of finger functions through a rehabilitation tool for accelerating the recovery speed of the fingers of the patient, the existing finger rehabilitation tools are various, but most of the finger rehabilitation tools use a spring as a tension force, and the fingers of the patient are retracted through resistance force of the spring, so that the function of training the fingers is achieved.
But the spring on the recovered instrument now is all fixed mostly, consequently leads to the spring can not change, and this finger that makes people can not have good recovered effect after the pulling force of adaptation spring, and the spring makes the spring take place the skew easily in the process of receiving and releasing because there is not corresponding limit structure now some springs, and this can directly influence the effect of rehabilitation training.
SUMMERY OF THE UTILITY MODEL
The to-be-solved technical problem of the utility model is overcome prior art's defect, a instrument is used in recovered of patient's finger of neurology department is provided, through couple structure and spacing post, the spring that can effectual solution foretell recovered instrument now is mostly fixed, consequently, lead to the spring can not change, this finger that makes people can not have good recovered effect after the pulling force that adapts to the spring, and there is some springs now because there is not corresponding limit structure, make the spring take place the skew easily receiving and releasing the process, this problem that can directly influence the effect of rehabilitation training.
In order to solve the technical problem, the utility model provides a following technical scheme:
the utility model relates to a instrument is used in recovery of patient's finger of neurology department, including connection structure, connection structure's one end is connected with the spring, spacing post has been cup jointed in the centre of spring, the one end of spring is connected with the couple structure, the bottom lateral wall of couple structure is connected with linking plate, linking plate's bottom lateral wall is connected with the dactylotheca, fixedly connected with protection cloth between linking plate and the connection structure, the last stand that is connected with of connection structure.
As a preferred technical scheme, connection structure includes the fixed plate, the bottom lateral wall of fixed plate and the equal fixedly connected with bandage in position that is close to both ends, fixedly connected with magic subsides on the bandage, the top lateral wall one end fixedly connected with stand of fixed plate, the top threaded connection of stand has the nut, the one end fixed connection of protection cloth is on the fixed plate with the stand with the lateral wall of one end, spring detachable connections is on the stand.
As a preferred technical scheme of the utility model, the one end fixedly connected with lasso of spring, the one end fixedly connected with rand of lasso is kept away from to the spring, the rand is removable to be cup jointed in the couple structure, the one end fixed connection of spacing post is on one side lateral wall of stand, the lasso cup joints on the stand.
As an optimized technical scheme of the utility model, the couple structure includes the fixed column, two, one of them have been established to the fixed column rotate on the fixed column and be connected with the torsional spring, one side of torsional spring is rotated and is connected with the closed column.
As an optimal technical scheme of the utility model, the couple structure is rotated through the bottom and is connected on the top lateral wall of linkage plate, spacing post is for having elastic rubber preparation, protection cloth is the preparation of elasticity cloth.
The utility model discloses the beneficial effect who reaches is: the ferrule is sleeved on the upright post fixed at one end of the spring, then the nut is in threaded connection with the top end of the upright post, the ferrule is ensured to be sleeved stably, the retainer ring is clamped in the hook structure, the torsion spring is rotationally connected to one fixed column of the hook structure, one side of the torsion spring is rotationally connected with the closing post, the closing and opening of the closing post are controlled through pressing, so that the retainer ring is more convenient to disassemble and assemble with the hook structure, the disassembly and replacement of the spring can be realized through the hook structure and the upright post, springs with different tension can be conveniently replaced aiming at the recovery stage of a patient, the recovery speed of the patient is effectively improved, the limit post made of elastic rubber is adjusted in the middle of the spring, the spring can be more stably and smoothly folded and unfolded through the limit post, accidents caused by deviation in the folding and unfolding processes are effectively avoided, the recovery training effect is ensured, and the tension of the, the effect of rehabilitation training is increased, the damage to the fingers possibly caused in the spring receiving and releasing layer can be avoided through the protective cloth, and the finger sleeves made of rubber are fixedly connected to the side walls of the bottom plates of the connecting plates, so that the finger can exert force more conveniently through ensuring the fingers.
Drawings
The accompanying drawings are included to provide a further understanding of the invention, and are incorporated in and constitute a part of this specification, illustrate embodiments of the invention, and together with the description serve to explain the invention and not to limit the invention.
In the drawings:
fig. 1 is a schematic plan view of the present invention;
FIG. 2 is a schematic view of the rear end of the connecting plate according to the present invention;
fig. 3 is a schematic view of the hook structure of the present invention.
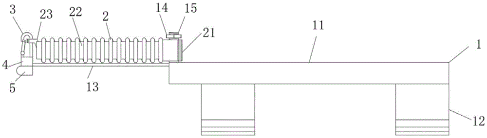
In the figure: 1. a connecting structure; 11. a fixing plate; 12. binding bands; 13. protective cloth; 14. a column; 15. a nut; 16. magic tape; 2. a spring; 21. a ferrule; 22. a limiting column; 23. a collar; 3. a hook structure; 31. fixing a column; 32. a torsion spring; 33. closing the column; 4. a connector tile; 5. disclosed is a finger stall.
Detailed Description
The preferred embodiments of the present invention will be described in conjunction with the accompanying drawings, and it will be understood that they are presented herein only to illustrate and explain the present invention, and not to limit the present invention.
Examples
As shown in fig. 1-3, a tool for finger rehabilitation of a neurology patient comprises a connecting structure 1, wherein one end of the connecting structure 1 is connected with a spring 2, the middle of the spring 2 is sleeved with a limiting column 22, one end of the spring 2 is connected with a hook structure 3, the bottom side wall of the hook structure 3 is connected with a connecting plate 4, the bottom side wall of the connecting plate 4 is connected with a finger sleeve 5, a protective cloth 13 is fixedly connected between the connecting plate 4 and the connecting structure 1, and the connecting structure 1 is connected with a stand column 14.
The hook structure 3 is rotatably connected to the side wall of the top of the connecting plate 4 through the bottom end, the limiting column 22 is made of elastic rubber, the protective cloth 13 is made of elastic cloth, the hook structure 3 and the upright column 14 can realize the disassembly and replacement of the spring 2, the spring 2 with different tensile forces can be conveniently replaced aiming at the recovery stage of a patient, the recovery speed of the patient is effectively improved, one end of the spring 2 is fixedly connected with a ferrule 21, one end of the spring 2, far away from the ferrule 21, is fixedly connected with a clamping ring 23, the clamping ring 23 is detachably sleeved in the hook structure 3, one end of the limiting column 22 is fixedly connected to the side wall of one side of the upright column 14, the ferrule 21 is sleeved on the upright column 14, the spring 2 can be more stably and smoothly folded and unfolded through the limiting column 22, accidents caused by deviation in the folding and unfolding processes are effectively avoided, the effect of rehabilitation training is ensured, and, the effect of rehabilitation training is improved, the hook structure 3 comprises two fixing columns 31, two fixing columns 31 are arranged, one fixing column 31 is rotatably connected with a torsion spring 32, one side of the torsion spring 32 is rotatably connected with a closing column 33, the opening and closing of the closing column 33 are controlled through pressing, so that the clamping ring 23 is more convenient to disassemble and assemble with the hook structure 3, the connecting structure 1 comprises a fixing plate 11, the positions, close to two ends, of the bottom side wall of the fixing plate 11 are fixedly connected with binding bands 12, magic tapes 16 are fixedly connected to the binding bands 12, one end of the top side wall of the fixing plate 11 is fixedly connected with an upright post 14, the top end of the upright post 14 is in threaded connection with a nut 15, one end of a protective cloth 13 is fixedly connected to the side wall of the same end of the fixing plate 11 and the upright post 14, the spring 2 is detachably connected to the upright post, the side wall of the bottom plate of the connecting plate 4 is fixedly connected with a fingerstall 5 made of rubber, so that the finger can exert force more conveniently.
Specifically, the fixing plate 11 is stably connected to the back of the hand through two binding bands 12 fixedly connected to the side wall of the bottom of the fixing plate 11, one binding band 12 is sleeved at the neck of the hand, the other binding band 12 is sleeved at a position close to the center of the palm, a magic tape 16 is fixedly connected to the binding band 12, the fixing plate 11 can be firmly and detachably connected to the palm through the magic tape 16, a vertical column 14 is fixedly connected to one end of the side wall of the top of the fixing plate 11, a nut 15 is connected to the top end of the column 14 in a threaded manner, a ferrule 21 fixed to one end of the spring 2 is sleeved on the column 14, the nut 15 is connected to the top end of the column 14 in a threaded manner, the stability of sleeving the ferrule 21 is ensured, a limiting column 22 made of elastic rubber is sleeved in the middle of the spring 2, the spring 2 can be more stably and smoothly wound and unwound through the limiting column 22, and accidents caused by, the effect of rehabilitation training is ensured, the established limiting column 22 can also increase the tension of the spring 2 and increase the effect of rehabilitation training, the limiting column 22 is fixedly connected to the side wall of the upright post 14 through one end, the end of the spring 2 far away from the ferrule 21 is fixedly connected with a clamping ring 23, the clamping ring 23 is clamped in the hook structure 3, a torsion spring 32 is rotatably connected to a fixed column 31 of the hook structure 3, one side of the torsion spring 32 is rotatably connected with a closing column 33, the opening and closing of the closing column 33 are controlled through pressing, so that the clamping ring 23 is more convenient to be disassembled and assembled with the hook structure 3, the disassembly and replacement of the spring 2 can be realized through the hook structure 3 and the upright post 14, the spring 2 with different tensions can be conveniently replaced aiming at the recovery stage of a patient, the recovery speed of the patient is effectively improved, the connecting plate 4 is rotatably connected to the bottom end of the hook structure 3, and a protective cloth 13 with, the protective cloth 13 can prevent the spring 2 from being damaged to the fingers in the layer, and the rubber fingerstall 5 is fixedly connected to the side wall of the bottom plate of the connecting plate 4, so that the finger can exert force more conveniently.
Finally, it should be noted that: although the present invention has been described in detail with reference to the foregoing embodiments, it will be apparent to those skilled in the art that modifications may be made to the embodiments described in the foregoing embodiments, or equivalents may be substituted for elements thereof. Any modification, equivalent replacement, or improvement made within the spirit and principle of the present invention should be included in the protection scope of the present invention.

Claims (5)

1. The utility model provides a instrument is used in recovered of patient's finger of neurology department, its characterized in that, includes connection structure (1), the one end of connection structure (1) is connected with spring (2), spacing post (22) have been cup jointed in the centre of spring (2), the one end of spring (2) is connected with couple structure (3), the bottom lateral wall of couple structure (3) is connected with linkage plate (4), the bottom lateral wall of linkage plate (4) is connected with dactylotheca (5), fixedly connected with protection cloth (13) between linkage plate (4) and connection structure (1), be connected with stand (14) on connection structure (1).
2. The finger rehabilitation tool for the neurology patient according to claim 1, wherein the connecting structure (1) comprises a fixing plate (11), the bottom side wall of the fixing plate (11) is fixedly connected with a binding band (12) at a position close to two ends, a magic tape (16) is fixedly connected to the binding band (12), a stand column (14) is fixedly connected to one end of the top side wall of the fixing plate (11), a nut (15) is connected to the top end of the stand column (14) in a threaded manner, one end of the protective cloth (13) is fixedly connected to the side wall of the fixing plate (11) at the same end as the stand column (14), and the spring (2) is detachably connected to the stand column (14).
3. The finger rehabilitation tool for the neurology patient according to claim 1, wherein one end of the spring (2) is fixedly connected with a ferrule (21), one end of the spring (2) far away from the ferrule (21) is fixedly connected with a clamping ring (23), the clamping ring (23) is detachably sleeved in the hook structure (3), one end of the limiting column (22) is fixedly connected to one side wall of the upright column (14), and the ferrule (21) is sleeved on the upright column (14).
4. The finger rehabilitation tool for neurology patients, as claimed in claim 1, wherein the hook structure (3) comprises two fixing posts (31), wherein one of the fixing posts (31) is rotatably connected with a torsion spring (32), and one side of the torsion spring (32) is rotatably connected with a closing post (33).
5. The tool for rehabilitation of fingers of a patient in the neurology department as claimed in claim 1, wherein the hook structure (3) is rotatably connected to the top side wall of the connecting plate (4) through the bottom end, the limiting column (22) is made of elastic rubber, and the protective cloth (13) is made of elastic cloth.
CN202021495491.9U 2020-07-24 2020-07-24 A tool for finger rehabilitation of neurological patients Expired - Fee Related CN212631623U (en)

Priority Applications (1)

Application Number Priority Date Filing Date Title
CN202021495491.9U CN212631623U (en) 2020-07-24 2020-07-24 A tool for finger rehabilitation of neurological patients

Applications Claiming Priority (1)

Application Number Priority Date Filing Date Title
CN202021495491.9U CN212631623U (en) 2020-07-24 2020-07-24 A tool for finger rehabilitation of neurological patients

Publications (1)

Publication Number Publication Date
CN212631623U true CN212631623U (en) 2021-03-02

Family

ID=74763726

Family Applications (1)

Application Number Title Priority Date Filing Date
CN202021495491.9U Expired - Fee Related CN212631623U (en) 2020-07-24 2020-07-24 A tool for finger rehabilitation of neurological patients

Country Status (1)

Country Link
CN (1) CN212631623U (en)

Similar Documents

Publication Publication Date Title
JPS61109581A (en) Lower limb muscle motion apparatus
CN108969305B (en) Exoskeleton hand rehabilitation training device
CN212631623U (en) A tool for finger rehabilitation of neurological patients
CN103892990B (en) A kind of two joint traction finger recovering training device
CN208097246U (en) A kind of Neurology arm rehabilitation training device
CN205164043U (en) Finger joint bends and stretches training ware
CN209032800U (en) A finger joint orthosis
CN106491306A (en) A kind of hand function exerciser
CN114632300B (en) Arm single-degree-of-freedom rehabilitation training system based on brain-computer interface
CN219185742U (en) Rehabilitation training device based on finger opening and closing
CN213252864U (en) Portable hand function training ware
CN217015247U (en) Instrument is tempered to metacarpal bone fracture patient
CN206120418U (en) Novel respiratory track foreign bodies device
CN209612128U (en) Hand Function Recovery Grip Strength Trainer
CN208405929U (en) A kind of rehabilitation medical both arms training device
CN210044202U (en) A hand rehabilitation support
CN211050092U (en) Wearable Hand Training Equipment and Medical Devices
CN208694169U (en) A kind of upper limb joint activity device for healing and training
CN210872803U (en) Hand rehabilitation training device
CN203693816U (en) Animal vein and artery operation clamp
CN212213971U (en) An upper limb antispasmodic brace
CN220757910U (en) Rehabilitation nursing exerciser
CN218774240U (en) A finger joint rehabilitation training device
CN206453956U (en) A kind of hand function exerciser
CN207679936U (en) A kind of phalangeal fracture resumes training device

Legal Events

Date Code Title Description
GR01 Patent grant
GR01 Patent grant
CF01 Termination of patent right due to non-payment of annual fee

Granted publication date: 20210302

CF01 Termination of patent right due to non-payment of annual fee