CN212631331U - A special infusion bag for immune cells - Google Patents

A special infusion bag for immune cells Download PDF

Info

Publication number
CN212631331U
CN212631331U CN202020145388.5U CN202020145388U CN212631331U CN 212631331 U CN212631331 U CN 212631331U CN 202020145388 U CN202020145388 U CN 202020145388U CN 212631331 U CN212631331 U CN 212631331U
Authority
CN
China
Prior art keywords
infusion
pipe
saline
control valve
cavity
Prior art date
Legal status (The legal status is an assumption and is not a legal conclusion. Google has not performed a legal analysis and makes no representation as to the accuracy of the status listed.)
Expired - Fee Related
Application number
CN202020145388.5U
Other languages
Chinese (zh)
Inventor
王晓瑞
郭风涛
王冬丽
张志梅
Current Assignee (The listed assignees may be inaccurate. Google has not performed a legal analysis and makes no representation or warranty as to the accuracy of the list.)
Luohe Medical College
Original Assignee
Luohe Medical College
Priority date (The priority date is an assumption and is not a legal conclusion. Google has not performed a legal analysis and makes no representation as to the accuracy of the date listed.)
Filing date
Publication date
Application filed by Luohe Medical College filed Critical Luohe Medical College
Priority to CN202020145388.5U priority Critical patent/CN212631331U/en
Application granted granted Critical
Publication of CN212631331U publication Critical patent/CN212631331U/en
Expired - Fee Related legal-status Critical Current
Anticipated expiration legal-status Critical

Links

Images

Landscapes

  • Medical Preparation Storing Or Oral Administration Devices (AREA)
  • Infusion, Injection, And Reservoir Apparatuses (AREA)

Abstract

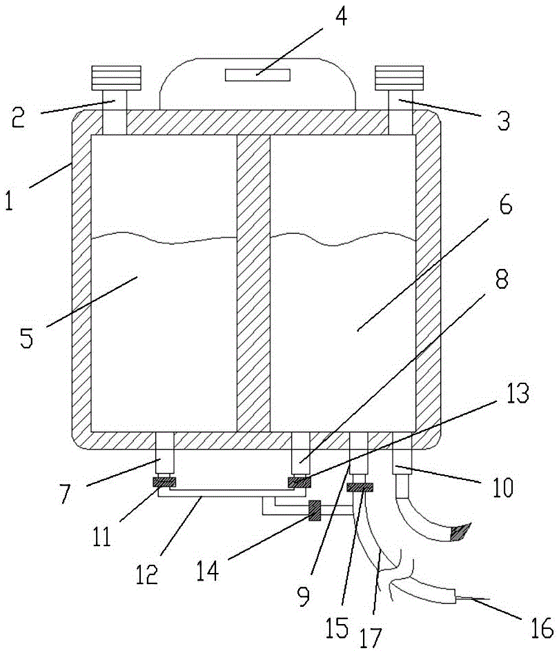
本实用新型提供了一种免疫细胞专用输液袋,包括输液袋本体,所述输液袋本体内部设有第一输液腔和第二输液腔,所述第一输液腔下方设有第一盐水管,第二输液腔下方设有第二盐水管、输液管和带有空气过滤器的空气管,所述第一盐水管通过第一软管控制连接第二盐水管,所述第一软管通过第二软管控制连接输液管,所述输液管通过第三软管连接输液针,本实用新型通过第一盐水管、第二盐水管和输液管能一体化的完成预冲、回输、再冲管,即保证了免疫细胞制剂的全量回输,更方便了护士的临床操作,很好地避免了因反复穿刺导致的污染风险,本实用新型结构新颖,操作简单,用途广泛,极易推广。

Figure 202020145388

The utility model provides a special infusion bag for immune cells, comprising an infusion bag body, a first infusion cavity and a second infusion cavity are arranged inside the infusion bag body, and a first saline tube is arranged below the first infusion cavity, A second saline pipe, an infusion pipe and an air pipe with an air filter are arranged below the second infusion cavity, the first saline pipe is controlled and connected to the second saline pipe through a first hose, and the first hose is The second hose is controlled to connect the infusion tube, the infusion tube is connected to the infusion needle through the third hose, and the utility model can complete the pre-flushing, re-infusion and re-flushing through the integration of the first saline tube, the second saline tube and the infusion tube. The tube ensures full reinfusion of the immune cell preparation, which is more convenient for the clinical operation of nurses, and avoids the risk of contamination caused by repeated puncture.

Figure 202020145388

Description

Infusion bag special for immune cells
Technical Field
The utility model relates to an infusion technical field, concretely relates to special infusion bag of immune cell.
Background
Cell therapy has been increasingly applied to clinical applications, and autoimmune cell antitumor therapy and the like have been advanced and developed greatly. Suspending the prepared immune cells by using physiological saline and the like, and injecting the suspension into a 100-250 ml infusion bottle or a blood transfusion bag, which is a currently clinically common immune cell back transfusion mode. During the reinfusion, the blood transfusion device is firstly connected with the physiological saline flushing pipe, then the cell reinfusion bottle is connected to start reinfusion, after the cell fluid in the bottle is completely infused, 20ml of physiological saline is extracted by the syringe and is injected into the cell bottle, the cells attached to the bottle wall are flushed and then are infused into the body, finally, the physiological saline bottle is connected again, the cells in the blood transfusion device pipeline are completely flushed, the whole reinfusion process, the operations of pre-flushing, reinfusion, bottle flushing and pipe refilling are repeated (up to 5 times), and the risk of cell pollution and the workload of nurses are greatly increased.
The application number is CN201610346669.5 in the prior art, which is named as an immune cell preparation transfusion bag, and discloses the following contents of an upper administration end, an immune cell bag body, a lower administration end, a lower three-fork connection port, a silica gel soft plug, a first liquid stopping clamp, a lower cell pipeline, a saline pipe, a second liquid stopping clamp, a hanging hole, a saline short pipe, a third liquid stopping clamp, an upper three-fork connection port, an exhaust pipe, a needle head and a separable joint; the immune cell bag body is of a semi-elliptical structure, the volume of the immune cell bag body is 100-150 ml, and liquid level scales are marked on the immune cell bag body according to a scale mark unit of 20 ml; the upper administration end and the lower administration end are oppositely positioned at the edges of the upper and lower opposite ends of the immune cell bag body; the lower three-fork connecting port and the upper three-fork connecting port are respectively positioned at two opposite ends of the brine pipe; the silica gel soft plug is fixed at the lower end head of the brine pipe; the first liquid stopping clamp is positioned in the middle of the lower cell pipeline; one end of the lower cell pipeline is connected with the lower trident connecting port, and the other end of the lower cell pipeline is connected with the immune cell bag body; the saline pipe is located outside the immune cell bag body, the upper end of the saline pipe is connected with the saline short pipe through an upper three-fork connecting port, the lower end of the saline pipe is connected with the lower cell pipeline through a lower three-fork connecting port, and the length of the saline pipe is 15-35 cm; the second liquid stopping clamp is positioned in the middle of the brine pipe; the hanging hole is positioned at the upper end of the immune cell bag body and is integrated with the immune cell bag body into a whole; the third liquid stopping clamp is positioned in the middle of the saline short pipe; one end of the saline short pipe is connected with the upper three-fork connecting port, and the other end of the saline short pipe is connected with the immune cell bag body to form a saline passage; the needle head is positioned at the upper top end of the saline pipe; the exhaust pipe is fixedly arranged at the lower part of the needle head and is fixed on the brine pipe; the separable joint is positioned between the exhaust pipe and the needle head and is fixed on the saline pipe; the operation is complex and the effect is not ideal.
SUMMERY OF THE UTILITY MODEL
In order to solve the above problems, the utility model provides a transfusion bag special for immune cells.
The purpose of the utility model is realized with the following mode:
the utility model provides a special infusion bag of immune cell, includes the infusion bag body, infusion bag body inside is equipped with first infusion chamber and second infusion chamber, first infusion chamber below is equipped with first brine pipe, and second infusion chamber below is equipped with second brine pipe, transfer line and has air cleaner's air hose, first brine pipe is through first hose control connection second brine pipe, first hose is through second hose control connection transfer line, the transfer line passes through third hose connection transfusion needle.
The first transfusion cavity is a saline cavity, and the second transfusion cavity is a cell cavity.
The lower end of the first brine pipe is provided with a first control valve, the lower end of the second brine pipe is provided with a second control valve, the lower end of the infusion pipe is provided with a third control valve, the middle part of the second hose is provided with a fourth control valve, and the second hose is arranged below the third control valve.
The first control valve, the second control valve, the third control valve and the fourth control valve are all flow rate regulators.
An air pipe with an air filter is also arranged below the infusion tube.
The upper part of the first transfusion cavity is provided with a saline water inlet pipe with a saline water soft plug, the upper part of the second transfusion cavity is provided with a cell inlet pipe with a cell soft plug, and a hanging hole is further formed above the transfusion bag body.
Compared with the prior art, the utility model discloses a completion that first brine pipe, second brine pipe and transfer line can be integrated is dash in advance, is reinfused, is washed the pipe again, has guaranteed the total reinfused of immunocyte preparation promptly, has more made things convenient for nurse's clinical operation, has avoided the pollution risk because of puncturing repeatedly and leading to well, the utility model discloses novel structure, easy operation, the usage is extensive, very easily promotes.
Drawings
Fig. 1 is a schematic structural diagram of the present invention.
The infusion bag comprises an infusion bag body 1, a saline water inlet pipe 2, a cell inlet pipe 3, a hanging hole 4, a first infusion cavity 5, a second infusion cavity 6, a first saline water pipe 7, a second saline water pipe 8, an infusion pipe 9, an air pipe 10, a first control valve 11, a first hose 12, a second control valve 13, a fourth control valve 14, a third control valve 15, an infusion needle 16 and a second hose 17.
Detailed Description
As shown in the attached drawing 1, a special infusion bag for immune cells, including infusion bag body 1, 1 inside first infusion chamber 5 and the second infusion chamber 6 of being equipped with of infusion bag body, 5 below in first infusion chamber is equipped with first salt solution pipe 7, and 6 below in second infusion chamber are equipped with second salt solution pipe 8, transfer line 9 and have air cleaner's air hose 10, first salt solution pipe 7 is through first hose 12 control connection second salt solution pipe 8, first hose 12 is through second hose 17 control connection transfer line 9, transfer line 9 passes through third hose connection transfusion needle 16, and transfusion needle 16 is ordinary infusion bottle pjncture needle (plastics syringe needle or steel needle) that connects, and the third hose is medical transfer line 9.
The first transfusion cavity is a saline cavity, and the second transfusion cavity is a cell cavity.
The lower end of the first brine pipe 7 is provided with a first control valve 11, the lower end of the second brine pipe 8 is provided with a second control valve 13, the lower end of the infusion pipe 9 is provided with a third control valve 15, the middle of the second hose 17 is provided with a fourth control valve 14, the second hose 17 is arranged below the third control valve 15, and the first infusion cavity 5 and the second infusion cavity 6 are respectively controlled and used in a mixed mode through the first control valve 11, the second control valve 13, the third control valve 15 and the fourth control valve 14.
The first control valve 11, the second control valve 13, the third control valve 15 and the fourth control valve 14 are all flow rate regulators, and the specific structure is referred to as CN201420448928.1 and named as a transfusion system.
An air pipe 10 with an air filter is arranged below the infusion pipe 9.
The upper part of the first transfusion cavity 5 is provided with a saline inlet pipe 2 with a saline soft plug, the upper part of the second transfusion cavity 6 is provided with a cell inlet pipe 3 with a cell soft plug, and a hanging hole 4 is further arranged above the transfusion bag body 1.
The working process of the utility model is as follows: firstly, the physiological saline and the immune cell inhibitor enter a first transfusion cavity 5 and a second transfusion cavity 6 through a saline inlet pipe 2 and a cell inlet pipe 3 respectively, a second control valve 13 and a third control valve 15 are closed, a fourth control valve 14 is opened, the physiological saline in the first transfusion cavity 5 enters a human body through a second hose 17, then a first control valve 11, a second control valve 13 and a fourth control valve 14 are closed, the third control valve 15 is opened, the immune cell inhibitor in the second transfusion cavity 6 enters the human body through the second hose 17, then an air pipe 10 is blocked, (the air pipe 10 is squeezed by hands for blocking, the air pipe 10 is made of transparent plastic), the third control valve 15 and the fourth control valve 14 are closed, the first control valve 11 and the second control valve 13 are opened, the physiological saline in the first transfusion cavity 5 enters the second transfusion cavity 6, and the physiological saline and the immune cell inhibitor are mixed uniformly, the first control valve 11 and the second control valve 13 are closed again, the third control valve 15 is opened, mixed liquid enters a human body through the second hose 17, after mixture input is completed, the third control valve 15 and the fourth control valve 14 are closed, the first control valve 11 and the second control valve 13 are opened, normal saline enters the second infusion cavity 6, the infusion bag body 1 is shaken manually, the normal saline in the second infusion cavity 6 is used for cleaning immune cell inhibitor residues, the first control valve 11 and the second control valve 13 are closed, the third control valve 15 is opened, the normal saline in the second infusion cavity 6 enters the human body, pre-flushing, back-flushing and back-flushing can be integrally completed, namely, full-volume back-flushing of immune cell preparations is guaranteed, clinical operation of nurses is facilitated, and pollution risks caused by repeated puncture are well avoided.
While the preferred embodiments of the present invention have been described, it will be understood by those skilled in the art that various changes and modifications may be made without departing from the general inventive concept, and it is intended to cover all such changes and modifications as fall within the true spirit and scope of the invention.

Claims (6)

1.一种免疫细胞专用输液袋,包括输液袋本体,其特征在于:所述输液袋本体内部设有第一输液腔和第二输液腔,所述第一输液腔下方设有第一盐水管,第二输液腔下方设有第二盐水管、输液管和带有空气过滤器的空气管,所述第一盐水管通过第一软管控制连接第二盐水管,所述第一软管通过第二软管控制连接输液管,所述输液管通过第三软管连接输液针。1. A special infusion bag for immune cells, comprising an infusion bag body, characterized in that: a first infusion cavity and a second infusion cavity are provided inside the infusion bag body, and a first saline tube is provided below the first infusion cavity , a second saline pipe, an infusion pipe and an air pipe with an air filter are arranged below the second infusion cavity, the first saline pipe is controlled and connected to the second saline pipe through a first hose, and the first hose is The second hose is controlled to connect to the infusion tube, and the infusion tube is connected to the infusion needle through the third hose. 2.根据权利要求1所述的免疫细胞专用输液袋,其特征在于:所述第一输液腔为盐水腔,第二输液腔为细胞腔。2 . The special infusion bag for immune cells according to claim 1 , wherein the first infusion cavity is a saline cavity, and the second infusion cavity is a cell cavity. 3 . 3.根据权利要求1所述的免疫细胞专用输液袋,其特征在于:所述第一盐水管下端设有第一控制阀,第二盐水管下端设有第二控制阀,输液管下端设有第三控制阀,在第二软管中部设有第四控制阀,第二软管设置在第三控制阀下方。3. The special infusion bag for immune cells according to claim 1, characterized in that: the lower end of the first saline pipe is provided with a first control valve, the lower end of the second saline pipe is provided with a second control valve, and the lower end of the infusion pipe is provided with a first control valve For the third control valve, a fourth control valve is arranged in the middle of the second hose, and the second hose is arranged below the third control valve. 4.根据权利要求3所述的免疫细胞专用输液袋,其特征在于:第一控制阀、第二控制阀、第三控制阀和第四控制阀均为流速调节器。4 . The special infusion bag for immune cells according to claim 3 , wherein the first control valve, the second control valve, the third control valve and the fourth control valve are all flow rate regulators. 5 . 5.根据权利要求1所述的免疫细胞专用输液袋,其特征在于:所述输液管下方还设有带有空气过滤器的空气管。5 . The special infusion bag for immune cells according to claim 1 , wherein an air tube with an air filter is further provided below the infusion tube. 6 . 6.根据权利要求1所述的免疫细胞专用输液袋,其特征在于:所述第一输液腔上部设有带有盐水软塞的盐水进管,第二输液腔上部设有带有细胞软塞的细胞进管,输液袋本体上方还设有挂孔。6 . The special infusion bag for immune cells according to claim 1 , wherein a saline inlet tube with a saline soft plug is arranged on the upper part of the first infusion cavity, and a cell soft plug is arranged in the upper part of the second infusion cavity. 7 . There are also hanging holes on the top of the infusion bag body.
CN202020145388.5U 2020-01-23 2020-01-23 A special infusion bag for immune cells Expired - Fee Related CN212631331U (en)

Priority Applications (1)

Application Number Priority Date Filing Date Title
CN202020145388.5U CN212631331U (en) 2020-01-23 2020-01-23 A special infusion bag for immune cells

Applications Claiming Priority (1)

Application Number Priority Date Filing Date Title
CN202020145388.5U CN212631331U (en) 2020-01-23 2020-01-23 A special infusion bag for immune cells

Publications (1)

Publication Number Publication Date
CN212631331U true CN212631331U (en) 2021-03-02

Family

ID=74767229

Family Applications (1)

Application Number Title Priority Date Filing Date
CN202020145388.5U Expired - Fee Related CN212631331U (en) 2020-01-23 2020-01-23 A special infusion bag for immune cells

Country Status (1)

Country Link
CN (1) CN212631331U (en)

Similar Documents

Publication Publication Date Title
CN212789302U (en) Transfusion system with tube sealing device
CN212631331U (en) A special infusion bag for immune cells
CN203001687U (en) Perfusion connector of disposable indwelling catheter
CN205054871U (en) Flushing device capable of flushing infusion bag and infusion pipeline
CN207755607U (en) A kind of venous detaining needle
CN211535944U (en) Disposable flushing and sealing tube integrated infusion apparatus
CN205964681U (en) Change -blood pipe and change -blood ware of output abandonment blood
CN212817444U (en) A self-stopping lengthening type infusion blood transfusion device
CN211357121U (en) Special blood transfusion device for infants
CN209019593U (en) A double-ended blood transfusion device
CN205055024U (en) Infusion device capable of being continuously washed
CN209019592U (en) A pre-compressed blood transfusion set
CN208525543U (en) A kind of infusion apparatus with Anti-stabbing dosing part
CN211675394U (en) Immune cell preparation feedback bag
CN2635126Y (en) Multifunctional pressurization three-way apparatus
CN223542242U (en) Backflow-preventing multi-way pipe for transfusion
CN213048586U (en) Neonatal acute peritoneal dialysis volume control device
CN210644740U (en) A double infusion bag infusion set
CN218187292U (en) Disposable cell preparation bag
CN206852855U (en) A kind of transfusion device for being easy to washing pipe
CN207429448U (en) Procedure for peripheral blood stem cells infusion device
CN223143875U (en) Colloid liquid transfusion system with cleaning function
CN219001185U (en) Safe cell preparation reinfusion bag
CN215191385U (en) Flushing device in laparoscopy
CN215082961U (en) Disposable drainage bag for postoperative bladder perfusion chemotherapy and bladder filling in operation

Legal Events

Date Code Title Description
GR01 Patent grant
GR01 Patent grant
CF01 Termination of patent right due to non-payment of annual fee

Granted publication date: 20210302

CF01 Termination of patent right due to non-payment of annual fee