CN212626311U - Connect power and equipment soon - Google Patents
Connect power and equipment soon Download PDFInfo
- Publication number
- CN212626311U CN212626311U CN202021356606.6U CN202021356606U CN212626311U CN 212626311 U CN212626311 U CN 212626311U CN 202021356606 U CN202021356606 U CN 202021356606U CN 212626311 U CN212626311 U CN 212626311U
- Authority
- CN
- China
- Prior art keywords
- wire
- terminal
- quick
- connect
- housing
- Prior art date
- Legal status (The legal status is an assumption and is not a legal conclusion. Google has not performed a legal analysis and makes no representation as to the accuracy of the status listed.)
- Active
Links
- 238000009434 installation Methods 0.000 claims abstract description 9
- 230000005611 electricity Effects 0.000 claims abstract description 7
- 230000037431 insertion Effects 0.000 claims 1
- 238000003780 insertion Methods 0.000 claims 1
- 230000000694 effects Effects 0.000 abstract description 12
- 238000010586 diagram Methods 0.000 description 3
- 230000009286 beneficial effect Effects 0.000 description 2
- 238000006243 chemical reaction Methods 0.000 description 2
- 238000000034 method Methods 0.000 description 2
- 235000008331 Pinus X rigitaeda Nutrition 0.000 description 1
- 235000011613 Pinus brutia Nutrition 0.000 description 1
- 241000018646 Pinus brutia Species 0.000 description 1
- 230000006978 adaptation Effects 0.000 description 1
- 230000003321 amplification Effects 0.000 description 1
- 239000003990 capacitor Substances 0.000 description 1
- 238000002788 crimping Methods 0.000 description 1
- WABPQHHGFIMREM-UHFFFAOYSA-N lead(0) Chemical compound [Pb] WABPQHHGFIMREM-UHFFFAOYSA-N 0.000 description 1
- 238000003199 nucleic acid amplification method Methods 0.000 description 1
- 238000007789 sealing Methods 0.000 description 1
- 238000003756 stirring Methods 0.000 description 1
Images
Landscapes
- Connections Arranged To Contact A Plurality Of Conductors (AREA)
Abstract
The utility model discloses a connect power and equipment soon, connect the power soon and include casing, first wiring portion and second wiring portion are located the casing, first wiring portion includes the connection terminal and is located the terminal of connection terminal, the connection terminal is used for supplying the wire to insert, the terminal can be connected with the wire electricity, second wiring portion includes quick-connect terminal and line ball subassembly, the line ball subassembly supplies the wire to pass after to be connected with quick-connect terminal electricity, the line ball subassembly includes the line ball board, the line ball board is used for compressing tightly the wire in the installation cavity; the quick-connection equipment comprises the quick-connection power supply. The utility model discloses in, the wire can be pegged graft with the connection terminal fast, with connect the terminal soon and be connected, the tear-off of wire is swift, need not be with the help of the instrument to the line ball board can suppress the wire, is fixed with the terminal of wire, has the better effect of drawing of preventing, and this pressfitting mode need not set up the screw, does not have the risk of crushing the wire, and the security performance is high.
Description
Technical Field
The utility model belongs to the technical field of the electron electrical apparatus technique and specifically relates to a connect power and connect equipment soon.
Background
Traditional power mostly adopts simple and easy line ball terminal threaded connection or welded mode to work a telephone switchboard, and this kind of mode of connection need be with the help of the instrument when carrying out the dismouting of power, and the degree of difficulty of wiring is big, and the dismouting is inefficient to for improving the steadiness of wiring, set up the anti-pulling measure on the power usually, nevertheless should prevent drawing the structure and prevent drawing the pine, can not reach and prevent drawing the effect, perhaps prevent that the screw of drawing the structure breaks the wire crust, has increaseed the power consumption risk.
SUMMERY OF THE UTILITY MODEL
The utility model discloses aim at solving one of the technical problem that exists among the prior art at least. Therefore, the utility model provides a connect the power soon, easy dismounting is convenient for wiring and change to have and prevent drawing the effect.
The utility model discloses still provide a connect equipment soon that contains above-mentioned power of connecing soon.
In a first aspect, an embodiment of the present invention provides a fast-connecting power supply, which can be connected to a wire, including:
the inner part of the shell is hollow to form a mounting cavity;
the first wiring part is arranged in the installation cavity and comprises a wiring seat and a wiring terminal positioned in the wiring seat, the wiring seat is used for inserting the lead, and the wiring terminal can be electrically connected with the lead;
the second wiring portion is arranged in the installation cavity and comprises a quick connection terminal and a wire pressing assembly, the wire pressing assembly supplies the wire to be electrically connected with the quick connection terminal after passing through, the wire pressing assembly comprises a wire pressing plate, and the wire pressing plate is used for pressing the wire in the installation cavity.
The embodiment of the utility model provides an in connect the power soon and have following beneficial effect at least:
the embodiment of the utility model provides an in, first wiring portion and second wiring portion all can realize external electric power output through being connected with the wire, and the wire can be pegged graft with the connection terminal fast, with connect the terminal soon and be connected, and the disconnect of wire is swift, need not with the help of the instrument to the line ball board can suppress the wire, is fixed with the terminal of wire, has better preventing to draw the effect, and this pressfitting mode need not set up the screw, does not have the risk of crushing the wire, and the security performance is high.
According to other embodiments of the present invention, the wire holder has an opening for inserting the wire, and the open side portion can support the wire.
According to the utility model discloses a connect the power soon of other embodiments, the line ball subassembly still includes the line ball post, the one end of line ball post with the casing is connected, the line ball board can be followed the line ball post removes, be equipped with the draw-in groove on the line ball post, the line ball board can with the draw-in groove joint.
According to the utility model discloses a connect the power soon of other embodiments, the line ball board is equipped with the mounting groove, the line ball post stretches into in the mounting groove, the mounting groove does the line ball post provides the activity space.
According to the utility model discloses a connect the power soon of other embodiments, be equipped with the wire-pressing groove on the wire-pressing plate, the wire-pressing groove supplies the wire passes.
According to the utility model discloses a connect power soon of other embodiments, the casing includes first shell and second shell, the second shell with first shell lock, the second shell lid fits in second wiring portion top.
According to the utility model discloses a connect the power soon of other embodiments, be equipped with spacing post on the first shell, spacing post supports and holds the wire holder.
According to the utility model discloses a connect the power soon of other embodiments, still include the circuit board, the circuit board embedding in the casing, the connection terminal with connect soon the terminal all with circuit board electric connection.
In a second aspect, an embodiment of the present invention provides a quick-connect device, including:
the above-mentioned quick connect power supply;
the wire, the wire tip is equipped with connecting terminal, connecting terminal can insert in the connection terminal, and with the terminal electricity is connected.
The embodiment of the utility model provides an in connect equipment soon has following beneficial effect at least:
the embodiment of the utility model provides an in, the tip of wire is provided with connecting terminal, and this connecting terminal can insert in the wire holder and be connected with the terminal electricity. Through setting up and connect power and connecting terminal soon, improved the convenience of being connected between soon connecing power and the external equipment to electric connection is stable, and the power consumption security is high.
According to the utility model discloses a connect equipment soon of other embodiments, connecting terminal's lateral part is equipped with the linking arm, the linking arm can with the casing joint.
Drawings
Fig. 1 is a schematic structural diagram of an embodiment of the quick-connect power supply of the present invention;
FIG. 2 is an exploded schematic view of the quick connect power supply of FIG. 1;
FIG. 3 is a schematic view of the hidden housing of FIG. 1;
FIG. 4 is a schematic structural diagram of an embodiment of the wire pressing assembly of the present invention;
FIG. 5 is a cross-sectional view of the crimping assembly of FIG. 4;
fig. 6 is a schematic structural diagram of the latter embodiment of the concealed portion of the housing of the quick-connect apparatus of the present invention;
FIG. 7 is a cross-sectional view of one embodiment of the connection terminal of FIG. 6;
fig. 8 is a sectional view of the connection terminal of fig. 6 in another direction.
Description of reference numerals:
the shell 100, the first shell 110, the limiting column 111, the second shell 120, the bottom shell 130 and the limiting plate 131;
a first wiring portion 200, a wiring holder 210, an opening 211, a wiring post 220;
the wire pressing device comprises a second wiring part 300, a quick-connection terminal 310, a wire pressing assembly 320, a wire pressing plate 321, an inverted buckle 3211, a mounting groove 3212, a wire pressing groove 3213, a wire pressing column 322, a clamping groove 3221 and a wire pressing seat 323;
a wiring board 400;
the lead wire 500, the connection terminal 510, the connection arm 511, and the pull-preventing protrusion 512.
Detailed Description
The conception and the resulting technical effects of the present invention will be described clearly and completely with reference to the following embodiments, so that the objects, features and effects of the present invention can be fully understood. Obviously, the described embodiments are only a part of the embodiments of the present invention, and not all embodiments, and other embodiments obtained by those skilled in the art without inventive labor based on the embodiments of the present invention all belong to the protection scope of the present invention.
In the description of the embodiments of the present invention, if an orientation description is referred to, for example, the directions or positional relationships indicated by "upper", "lower", "front", "rear", "left", "right", etc. are based on the directions or positional relationships shown in the drawings, only for convenience of description and simplification of description, but not for indicating or implying that the indicated device or element must have a specific orientation, be constructed and operated in a specific orientation, and thus should not be construed as limiting the present invention.
In the description of the embodiments of the present invention, if a feature is referred to as being "disposed", "fixed", "connected", or "mounted" on another feature, it can be directly disposed, fixed, or connected to the other feature or indirectly disposed, fixed, connected, or mounted on the other feature. In the description of the embodiments of the present invention, if "a plurality" is referred to, it means one or more, if "a plurality" is referred to, it means two or more, if "greater than", "less than" or "more than" is referred to, it is understood that the number is not included, and if "more than", "less than" or "within" is referred to, it is understood that the number is included. If reference is made to "first" or "second", this should be understood to distinguish between features and not to indicate or imply relative importance or to implicitly indicate the number of indicated features or to implicitly indicate the precedence of the indicated features.
Referring to fig. 1 to 3, the quick connection power supply in this embodiment includes a housing 100, a first wiring portion 200, and a second wiring portion 300, where the housing 100 is used to mount the first wiring portion 200 and the second wiring portion 300, and protect the first wiring portion 200 and the second wiring portion 300, and the first wiring portion 200 and the second wiring portion 300 are used to be electrically connected to an external wire, so as to output power of the quick connection power supply. Specifically, the interior of the housing 100 is hollow to form an installation cavity, the first wiring portion 200 and the second wiring portion 300 are installed in the installation cavity, the first wiring portion 200 includes a wiring holder 210 and a wiring terminal 220, the wiring terminal 220 is disposed on the wiring holder 210, the wiring holder 210 can be inserted by an external wire, and after the external wire is inserted, the external wire can be electrically connected with the wiring terminal 220 to form a conductive path, so that a power supply can output electric power through the first wiring portion 200; the second wiring portion 300 includes the fast terminal 310 and the line ball subassembly 320, and the fast terminal 310 is used for being connected with the external wire electricity, realizes the outside electric power output of second wiring portion 300, and the line ball subassembly 320 includes line ball board 321, and the wire can pass between line ball board 321 and the casing 100 inner wall, and line ball board 321 suppresses the wire between casing 100 inner wall and line ball board 321, fixes the wire, realizes preventing of wire and draws.
In this embodiment, first wiring portion 200 and second wiring portion 300 all can realize external electric power output through being connected with the wire, and the wire can be pegged graft with connection terminal 210 fast, is connected with quick-connect terminal 310, and the disconnection of wire is swift, need not be with the help of the instrument to line ball board 321 can suppress the wire, is fixed with the terminal of wire, has better preventing to draw the effect, and this pressfitting mode need not set up the screw, does not have the risk of crushing the wire, and the security performance is high.
The circuit board 400 is arranged in the mounting cavity, the wire holder 210 and the quick-connection terminal 310 are both electrically connected with the circuit board 400, and electronic components, functional circuits, batteries and the like can be electrically connected to the circuit board 400, so that the circuit board 400 can simultaneously supply power to the first wiring portion 200 and the second wiring portion 300, and the conversion of different power supply functions is realized; the electronic components on the circuit board 400 may be conventional resistors, capacitors, inductors, etc., and the functional circuits may be ac/dc conversion circuits, amplification circuits, etc.
It should be noted that the first wiring portion 200 and the second wiring portion 300 can be respectively configured as a dc output terminal and an ac output terminal of the power supply, so that the power supply can simultaneously satisfy ac/dc output. The quick-connect terminal 310 can be a plug-in quick-connect terminal 310 or a press-type quick-connect terminal 310, and in the embodiment, the press-type quick-connect terminal 310 is selected, so that compared with the plug-in quick-connect terminal 310, a lead is not easy to loosen, and the pulling-resistant effect is better; the plug type quick connect terminal 310 and the press type quick connect terminal 310 can both adopt the conventional quick connect terminal 310.
The housing 100 is provided with a through hole at the wire holder 210, the wire holder 210 has an opening 211, the opening 211 is aligned with the through hole, and a wire can be inserted into the opening 211 through the through hole and electrically connected with the post 220; the size of opening 211 and the tip adaptation of wire, the size of opening 211 can slightly be less than the tip size of wire, perhaps opening 211 department sets up joint part, makes in wire tip can the card goes into opening 211, guarantees wire and terminal 220's electric connection stability, and joint part can be parts such as buckle, sealing washer, arch.
The wiring terminal 220 may be suspended in the opening 211 of the wire holder 210, or directly disposed on the wall surface of the opening 211, and the wiring terminal 220 may be in a shape of a column, a protrusion, or the like, in this embodiment, the wiring terminal 220 is a protruding rib protruding from the wall surface of the opening 211 of the wire holder 210, the wiring terminal 220 is disposed in the opening 211 and distributed on the upper and lower sides of the opening 211, and when a wire is plugged into the wiring terminal 220, the wiring terminal 220 is in close contact with the wire, so as to achieve electrical connection; the terminal 220 is formed in a rib shape, so that a contact area between the wire and the terminal 220 can be increased, and electrical connection stability between the wire and the first wiring portion 200 can be improved.
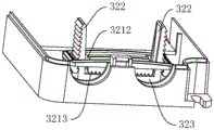
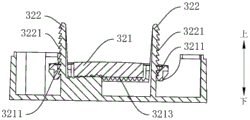
Referring to fig. 4 and 5, in the present embodiment, the wire pressing assembly 320 further includes two wire pressing posts 322 and a wire pressing base 323, the wire pressing base 323 is fixedly disposed on the inner wall of the casing 100, the two wire pressing posts 322 are respectively disposed at two sides of the wire pressing base 323, the wire pressing posts 322 pass through the wire pressing plate 321, the wire pressing plate 321 is disposed above the wire pressing base 323, and the wire pressing plate 321 can move up and down along the wire pressing posts 322 to be close to or far from the wire pressing base 323, so as to press a wire between the wire pressing plate 321 and the wire pressing base 323 or release the wire; in order to guarantee the stable pressing of the wire pressing plate 321 on the wire, in this embodiment, a serrated slot 3221 is provided on the wire pressing column 322, the reverse buckle 3211 is provided on the wire pressing plate 321, the reverse buckle 3211 and the slot 3221 can be buckled with each other, the slot 3221 limits the reverse buckle 3211 in the vertical direction, and the stable pressing of the wire pressing plate 321 on the wire is guaranteed.
In addition, be provided with two mounting grooves 3212 on the line ball board 321, two mounting grooves 3212 supply two line ball posts 322 to pass respectively to for two line ball posts 322 provide the activity space, stir line ball post 322, draw-in groove 3221 on the line ball post 322 can break away from back-off 3211 on the line ball board 321, and then can adjust the distance between line ball board 321 and the line ball seat 323, and change the position of wire or change the wire. The wire pressing grooves 3213 are further formed in the lower portion of the wire pressing plate 321, the wire pressing grooves 3213 are multiple in number, the wire pressing grooves 3213 are used for containing wires and limiting the wires, and therefore wire movement is avoided, and wiring accuracy is affected. The housing 100 is provided with a wiring slot for a wire to enter, in this embodiment, two wiring slots are provided, the wire can enter the housing 100 through the wiring slot and pass through the wire pressing assembly 320 to be electrically connected with the quick-connection terminal 310, and the wiring slots can allow a plurality of wires to pass through simultaneously, so that the use flexibility is high.
It should be noted that, in the embodiment, the assembly-type housing 100 is adopted, referring to fig. 1 and fig. 2, the housing 100 includes a first housing 110, a second housing 120 and a bottom case 130, the side portions of the first housing 110 and the second housing 120 can be fastened to each other, the first housing 110 and the second housing 120 can be fastened to the bottom case 130 to form the complete housing 100, and the first housing 110, the second housing 120 and the bottom case 130 are respectively provided with fastening positions such as a buckle and a protrusion to realize fastening; in addition, a limiting plate 131 for limiting the circuit board 400 is further disposed on the bottom case 130, and the circuit board 400 is embedded into a space enclosed by the limiting plate 131 and the inner wall of the bottom case 130, so as to prevent the circuit board 400 from shaking in the casing 100.
Referring to fig. 6, the utility model also provides a connect equipment soon, connect equipment soon includes foretell quick-witted power that connects, connects equipment soon still includes wire 500, and the quick-connect power is connected to the one end of wire 500, and outside consumer is connected to the other end, realizes the electric power output who connects equipment soon, and in this embodiment, the tip of wire 500 is provided with connecting terminal 510, and this connecting terminal 510 can block into in the connection terminal 210 and be connected with terminal 220 electricity. Through setting up and connect power and connecting terminal 510 soon, improved the convenience of being connected between soon connecing power and the external equipment to electric connection is stable, and the power consumption security is high.
Referring to fig. 7 and 8, in this embodiment, a connection hole for inserting the connection terminal 510 is formed in the housing 100, a connection arm 511 is disposed at a side portion of the connection terminal 510, the connection arm 511 can move in a small range relative to the connection terminal 510, and after the connection terminal 510 is inserted into the connection base 210, an outer side surface of the connection arm 511 abuts against two sides of the connection hole, so that the connection terminal 510 is tightly fitted with the connection base 210, and a pull-proof effect is achieved; when the wires need to be disassembled and assembled, the connecting arm 511 is pressed, the abutting action between the connecting arm 511 and the wire connecting hole disappears, the connecting terminal 510 can be separated from the wire holder 210, and the operation is quick. In this embodiment, the connection arm 511 is further provided with a pull-preventing protrusion 512, and the pull-preventing protrusion 512 can be clamped on the side of the connection hole, so as to further improve the pull-preventing effect between the connection terminal 510 and the connection holder 210.
The connecting terminal 510 is provided with a groove adapted to the terminal 220, and the terminal 220 is inserted into the groove to electrically connect the terminal holder 210 and the connecting terminal 510. In this embodiment, the first housing 110 covers the first wiring portion 200, the second housing 120 covers the second wiring portion 300, and after the wiring between the first wiring portion 200 and the second wiring portion 300 is completed, the first housing 110 or the second housing 120 can be correspondingly covered, and no interference occurs between the wiring and the assembly of the components; the first housing 110 is further provided with a limiting post 111 for limiting the wire holder 210, so as to ensure stable connection between the wire holder 210 and the connection terminal 510.
The wiring and assembling process of the quick connection device in the embodiment is as follows: the circuit board 400 is clamped into the first housing 110, the first housing 110 is fastened with the bottom case 130, the wire penetrates through the wire pressing assembly 320 and is electrically connected with the quick-connection terminal 310, the wire pressing assembly 320 is adjusted to enable the wire pressing plate 321 to press the wire, the second housing 120 is fastened on the bottom case 130, the connection terminal 510 of the wire 500 is inserted into the wire holder 210 and is electrically connected with the wiring terminal 220, wiring and assembling are completed, and operation is convenient and rapid.
The embodiments of the present invention have been described in detail with reference to the accompanying drawings, but the present invention is not limited to the above embodiments, and various changes can be made without departing from the spirit of the present invention within the knowledge of those skilled in the art. Furthermore, the embodiments of the present invention and features of the embodiments may be combined with each other without conflict.
Claims (10)
1. Connect the power soon, can be connected with the wire, its characterized in that includes:
the inner part of the shell is hollow to form a mounting cavity;
the first wiring part is arranged in the installation cavity and comprises a wiring seat and a wiring terminal positioned in the wiring seat, the wiring seat is used for inserting the lead, and the wiring terminal can be electrically connected with the lead;
the second wiring portion is arranged in the installation cavity and comprises a quick connection terminal and a wire pressing assembly, the wire pressing assembly supplies the wire to be electrically connected with the quick connection terminal after passing through, the wire pressing assembly comprises a wire pressing plate, and the wire pressing plate is used for pressing the wire in the installation cavity.
2. The quick connect power supply of claim 1 wherein the wire holder has an opening for insertion of the wire, the side of the opening being capable of holding the wire.
3. The quick-connect power supply according to claim 1, wherein the wire pressing assembly further comprises a wire pressing column, one end of the wire pressing column is connected with the housing, the wire pressing plate can move along the wire pressing column, a clamping groove is formed in the wire pressing column, and the wire pressing plate can be clamped with the clamping groove.
4. The quick-connect power supply of claim 3, wherein the wire pressing plate is provided with a mounting groove, the wire pressing column extends into the mounting groove, and the mounting groove provides a movable space for the wire pressing column.
5. The quick connect power supply of claim 1, wherein said tension disc is provided with a tension groove for said wire to pass through.
6. The fast-connecting power supply according to claim 1, wherein the housing comprises a first housing and a second housing, the second housing is fastened to the first housing, and the second housing is fitted over the second connecting portion.
7. The quick-connect power supply of claim 6, wherein the first housing is provided with a limiting post, and the limiting post abuts against the wire holder.
8. The quick-connect power supply of any one of claims 1 to 7, further comprising a circuit board embedded in the housing, wherein the wire holder and the quick-connect terminal are electrically connected to the circuit board.
9. Connect equipment soon, its characterized in that includes:
the quick connect power supply of any one of claims 1 to 8;
the wire, the wire tip is equipped with connecting terminal, connecting terminal can insert in the connection terminal, and with the terminal electricity is connected.
10. The quick-connect apparatus according to claim 9, wherein the side of the connection terminal is provided with a connection arm that can be snapped into the housing.
Priority Applications (1)
| Application Number | Priority Date | Filing Date | Title |
|---|---|---|---|
| CN202021356606.6U CN212626311U (en) | 2020-07-10 | 2020-07-10 | Connect power and equipment soon |
Applications Claiming Priority (1)
| Application Number | Priority Date | Filing Date | Title |
|---|---|---|---|
| CN202021356606.6U CN212626311U (en) | 2020-07-10 | 2020-07-10 | Connect power and equipment soon |
Publications (1)
| Publication Number | Publication Date |
|---|---|
| CN212626311U true CN212626311U (en) | 2021-02-26 |
Family
ID=74706379
Family Applications (1)
| Application Number | Title | Priority Date | Filing Date |
|---|---|---|---|
| CN202021356606.6U Active CN212626311U (en) | 2020-07-10 | 2020-07-10 | Connect power and equipment soon |
Country Status (1)
| Country | Link |
|---|---|
| CN (1) | CN212626311U (en) |
Cited By (1)
| Publication number | Priority date | Publication date | Assignee | Title |
|---|---|---|---|---|
| CN114927313A (en) * | 2022-06-13 | 2022-08-19 | 广东四会互感器厂有限公司 | Current transformer structure convenient to secondary wiring |
-
2020
- 2020-07-10 CN CN202021356606.6U patent/CN212626311U/en active Active
Cited By (1)
| Publication number | Priority date | Publication date | Assignee | Title |
|---|---|---|---|---|
| CN114927313A (en) * | 2022-06-13 | 2022-08-19 | 广东四会互感器厂有限公司 | Current transformer structure convenient to secondary wiring |
Similar Documents
| Publication | Publication Date | Title |
|---|---|---|
| IL154138A0 (en) | Electrical connector | |
| TW200503336A (en) | Electrical connector for connecting circuit boards to flat flexible cables | |
| US7611381B2 (en) | Electrical connector with board lock devices | |
| US7338329B2 (en) | Power connector | |
| US4993971A (en) | EMI resistant electrical connector | |
| CN212626311U (en) | Connect power and equipment soon | |
| CN107425356B (en) | Electric connector assembly for vehicle | |
| CN212011514U (en) | Wall power socket with charging device | |
| CN210806114U (en) | Magnetic plug | |
| CN218215769U (en) | Electric connection terminal and electric connection device | |
| CN1115747C (en) | Piercing electric connector | |
| CN210957231U (en) | Conversion socket | |
| CN217009636U (en) | Male and female plug terminal | |
| CN215218924U (en) | Mounting structure of ammeter case base | |
| CN212784105U (en) | Interconnected connector | |
| CN217607101U (en) | Data line end | |
| CN210517037U (en) | Composite relay wire holder | |
| CN218632485U (en) | Novel wiring terminal | |
| CN215037680U (en) | Small household electrical appliance circuit board connecting structure and hair clipper | |
| CN219350761U (en) | National standard socket | |
| CN221407901U (en) | Split type track socket and power distribution system of track socket | |
| CN219760048U (en) | Plug with USB interface and detachable wiring | |
| CN222775621U (en) | Socket module | |
| US12199387B1 (en) | Overload prevention device for multi-country power converter | |
| CN221447496U (en) | Protective wiring terminal structure |
Legal Events
| Date | Code | Title | Description |
|---|---|---|---|
| GR01 | Patent grant | ||
| GR01 | Patent grant |