CN212613939U - A green building integrated energy-saving house - Google Patents

A green building integrated energy-saving house Download PDF

Info

Publication number
CN212613939U
CN212613939U CN202021849892.XU CN202021849892U CN212613939U CN 212613939 U CN212613939 U CN 212613939U CN 202021849892 U CN202021849892 U CN 202021849892U CN 212613939 U CN212613939 U CN 212613939U
Authority
CN
China
Prior art keywords
water storage
storage tank
energy
roof
green building
Prior art date
Legal status (The legal status is an assumption and is not a legal conclusion. Google has not performed a legal analysis and makes no representation as to the accuracy of the status listed.)
Active
Application number
CN202021849892.XU
Other languages
Chinese (zh)
Inventor
肖湘东
马行
付丽莉
孙林丽
Current Assignee (The listed assignees may be inaccurate. Google has not performed a legal analysis and makes no representation or warranty as to the accuracy of the list.)
Suzhou Yuanke Ecological Construction Group Co ltd
Suzhou University
Original Assignee
Suzhou Yuanke Ecological Construction Group Co ltd
Suzhou University
Priority date (The priority date is an assumption and is not a legal conclusion. Google has not performed a legal analysis and makes no representation as to the accuracy of the date listed.)
Filing date
Publication date
Application filed by Suzhou Yuanke Ecological Construction Group Co ltd, Suzhou University filed Critical Suzhou Yuanke Ecological Construction Group Co ltd
Priority to CN202021849892.XU priority Critical patent/CN212613939U/en
Application granted granted Critical
Publication of CN212613939U publication Critical patent/CN212613939U/en
Active legal-status Critical Current
Anticipated expiration legal-status Critical

Links

Images

Classifications

    • YGENERAL TAGGING OF NEW TECHNOLOGICAL DEVELOPMENTS; GENERAL TAGGING OF CROSS-SECTIONAL TECHNOLOGIES SPANNING OVER SEVERAL SECTIONS OF THE IPC; TECHNICAL SUBJECTS COVERED BY FORMER USPC CROSS-REFERENCE ART COLLECTIONS [XRACs] AND DIGESTS
    • Y02TECHNOLOGIES OR APPLICATIONS FOR MITIGATION OR ADAPTATION AGAINST CLIMATE CHANGE
    • Y02ATECHNOLOGIES FOR ADAPTATION TO CLIMATE CHANGE
    • Y02A20/00Water conservation; Efficient water supply; Efficient water use
    • Y02A20/108Rainwater harvesting
    • YGENERAL TAGGING OF NEW TECHNOLOGICAL DEVELOPMENTS; GENERAL TAGGING OF CROSS-SECTIONAL TECHNOLOGIES SPANNING OVER SEVERAL SECTIONS OF THE IPC; TECHNICAL SUBJECTS COVERED BY FORMER USPC CROSS-REFERENCE ART COLLECTIONS [XRACs] AND DIGESTS
    • Y02TECHNOLOGIES OR APPLICATIONS FOR MITIGATION OR ADAPTATION AGAINST CLIMATE CHANGE
    • Y02BCLIMATE CHANGE MITIGATION TECHNOLOGIES RELATED TO BUILDINGS, e.g. HOUSING, HOUSE APPLIANCES OR RELATED END-USER APPLICATIONS
    • Y02B10/00Integration of renewable energy sources in buildings
    • Y02B10/10Photovoltaic [PV]
    • YGENERAL TAGGING OF NEW TECHNOLOGICAL DEVELOPMENTS; GENERAL TAGGING OF CROSS-SECTIONAL TECHNOLOGIES SPANNING OVER SEVERAL SECTIONS OF THE IPC; TECHNICAL SUBJECTS COVERED BY FORMER USPC CROSS-REFERENCE ART COLLECTIONS [XRACs] AND DIGESTS
    • Y02TECHNOLOGIES OR APPLICATIONS FOR MITIGATION OR ADAPTATION AGAINST CLIMATE CHANGE
    • Y02EREDUCTION OF GREENHOUSE GAS [GHG] EMISSIONS, RELATED TO ENERGY GENERATION, TRANSMISSION OR DISTRIBUTION
    • Y02E10/00Energy generation through renewable energy sources
    • Y02E10/40Solar thermal energy, e.g. solar towers
    • Y02E10/47Mountings or tracking
    • YGENERAL TAGGING OF NEW TECHNOLOGICAL DEVELOPMENTS; GENERAL TAGGING OF CROSS-SECTIONAL TECHNOLOGIES SPANNING OVER SEVERAL SECTIONS OF THE IPC; TECHNICAL SUBJECTS COVERED BY FORMER USPC CROSS-REFERENCE ART COLLECTIONS [XRACs] AND DIGESTS
    • Y02TECHNOLOGIES OR APPLICATIONS FOR MITIGATION OR ADAPTATION AGAINST CLIMATE CHANGE
    • Y02EREDUCTION OF GREENHOUSE GAS [GHG] EMISSIONS, RELATED TO ENERGY GENERATION, TRANSMISSION OR DISTRIBUTION
    • Y02E10/00Energy generation through renewable energy sources
    • Y02E10/50Photovoltaic [PV] energy

Landscapes

  • Photovoltaic Devices (AREA)
  • Water Treatment By Sorption (AREA)

Abstract

本实用新型公开了一种绿色建筑的集成节能屋,包括屋顶和墙壁,屋顶顶部安装有预设顶,预设顶上通过电动气缸和转轴安装有太阳能电池板,电动气缸和转轴分别位于太阳能电池板的两端,通过电动气缸上的伸缩杆与转轴的配合对太阳能电池板进行高度与倾斜角度的调整;预设顶内部设置有储水箱,储水箱一侧设置有雨水收集槽,预设顶上设置有凹槽,凹槽将收集的雨水通过雨水收集槽收集至储水箱内,储水箱底部设置有引流管,引流管设置在墙壁内,其另一端设置在节能屋的室内。本实用新型利用太阳能电池板收集太阳能再将其转化为电能以及通过雨水收集槽收集自然降水并将其用于室内的日常居家生活,达到节约资源的目的。

Figure 202021849892

The utility model discloses an integrated energy-saving house for a green building, which comprises a roof and a wall. A preset roof is installed on the top of the roof, and a solar battery panel is installed on the preset roof through an electric cylinder and a rotating shaft. At both ends of the board, the height and inclination angle of the solar panel are adjusted through the cooperation of the telescopic rod on the electric cylinder and the rotating shaft; the preset top is provided with a water storage tank, and one side of the water storage tank is provided with a rainwater collection tank. There is a groove on the groove, the groove collects the collected rainwater into the water storage tank through the rainwater collection tank, and a drainage pipe is arranged at the bottom of the water storage tank. The utility model utilizes solar panels to collect solar energy and converts it into electrical energy, and collects natural precipitation through a rainwater collection tank and uses it for daily home life indoors, so as to achieve the purpose of saving resources.

Figure 202021849892

Description

Integrated energy-saving house of green building
Technical Field
The utility model relates to a green ecological building field, in particular to integrated energy-conserving room of green building.
Background
The green building is a building which is built under the condition of not destroying ecological balance, can save resources to the maximum extent, comprises energy conservation, water conservation, material conservation and the like, can protect the environment and reduce pollution, provides healthy and comfortable use space for people, is harmonious with the nature, and is a sustainable development form. The green building can solve the air quality problem, the indoor temperature problem and the sunlight illumination problem by depending on natural resources; the green building energy-saving roof is taken as an emerging roof structure and is continuously updated and improved.
Most of the current traditional roofing structural forms are flat roofs and sloping roofs, concrete materials are adopted, the structure is single, natural resources such as rainfall and sunlight in the nature cannot be effectively utilized, and the natural resources are greatly wasted.
SUMMERY OF THE UTILITY MODEL
Aiming at the problems in the prior art, the invention provides an integrated energy-saving house of a green building, which utilizes a solar cell panel to collect solar energy and then convert the solar energy into electric energy, and utilizes a rainwater collecting tank to collect natural rainfall and use the rainfall for indoor daily household life, thereby achieving the purpose of saving resources.
In order to achieve the above purpose, the technical scheme of the utility model is as follows:
an integrated energy-saving house of a green building comprises a roof and a wall, wherein a preset roof is installed at the top of the roof, a solar cell panel is installed on the preset roof through an electric cylinder and a rotating shaft, the electric cylinder and the rotating shaft are respectively located at two ends of the solar cell panel, and the height and the inclination angle of the solar cell panel are adjusted through the matching of a telescopic rod on the electric cylinder and the rotating shaft; a water storage tank is arranged in the preset roof, a rainwater collecting tank is arranged on one side of the water storage tank, a groove is formed in the preset roof, the groove collects collected rainwater into the water storage tank through the rainwater collecting tank, a drainage pipe is arranged at the bottom of the water storage tank and is arranged in a wall, and the other end of the drainage pipe is arranged in a room of the energy-saving house; a purification structure is arranged in the water storage tank.
Preferably, the side surface of the water storage tank is provided with a first maintenance door, and the first maintenance door is arranged at a position matched with the purification structure.
Preferably, a second maintenance door matched with the first maintenance door in position is arranged on the side face of the preset top.
Preferably, the groove is inclined and is positioned at the lower end of the rainwater collecting groove, so that drainage is facilitated.
Preferably, the electric cylinder is electrically connected with a power line in the energy-saving room, so that the electric cylinder is controlled to drive the solar cell panel to adjust the height and the angle.
Preferably, a sand and stone filter layer, an active carbon adsorption layer and a bacteria filter layer are arranged in the purification structure.
Preferably, one end of the solar cell panel is connected with the controller, the storage battery and the inverter through wires, and solar energy is converted into electric energy to be connected to an indoor power line.
Through the technical scheme, the integrated energy-saving house of the green building, provided by the utility model, utilizes the solar cell panel to collect solar energy and then convert the solar energy into electric energy, provides electric energy for family life, can efficiently utilize the solar energy, and saves electric power resources; natural rainfall is collected through the rainwater collecting tank and collected in the water storage tank, and the collected rainwater is used for indoor daily household life through the drainage tube, so that water sources are saved, and resources are utilized to the maximum extent; the application has simple integral design structure and facilities, is operable and strong, collects resources such as sunlight and rainwater by means of natural force, can create more valuable wealth by utilizing limited space resources and environmental resources, and has great application value in the aspects of improving urban life quality and urban appearance.
Drawings
In order to more clearly illustrate the embodiments of the present invention or the technical solutions in the prior art, the drawings used in the description of the embodiments or the prior art will be briefly described below.
Fig. 1 is a schematic structural view of the present invention;
FIG. 2 is a schematic view of the purification structure of the present invention;
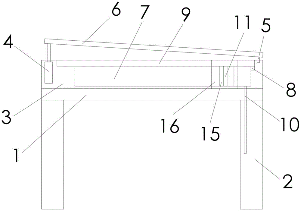
in the figure: 1. a roof; 2. a wall; 3. presetting a top; 4. an electric cylinder; 5. a rotating shaft; 6. a solar panel; 7. a water storage tank; 8. a rainwater collection tank; 9. a groove; 10. a drainage tube; 11. a purification structure; 12. a sand and stone filter layer; 13. an activated carbon adsorption layer; 14. a bacterial filter layer; 15. a first maintenance door; 16. and (7) repairing the door in a second dimension.
Detailed Description
The technical solution in the embodiments of the present invention will be clearly and completely described below with reference to the accompanying drawings in the embodiments of the present invention.
In this embodiment, as shown in fig. 1-2, an integrated energy-saving house of a green building includes a roof 1 and a wall 2, a preset roof 3 is installed on the top of the roof 1, a solar panel 6 is installed on the preset roof 3 through an electric cylinder 4 and a rotating shaft 5, the electric cylinder 4 and the rotating shaft 5 are respectively located at two ends of the solar panel 6, the solar panel 6 is adjusted in height and inclination angle through the matching of an expansion link on the electric cylinder 4 and the rotating shaft 5, the electric cylinder 4 is electrically connected with a power line in the energy-saving house, and the electric cylinder 4 drives the solar panel 6 to adjust in height and angle through the rotation of the rotating shaft 5 by indoor power supply; a water storage tank 7 is arranged inside the preset roof 3, a rainwater collecting tank 8 is arranged on one side of the water storage tank 7, a groove 9 is formed in the preset roof 3, the groove 9 collects collected rainwater into the water storage tank 7 through the rainwater collecting tank 8, the groove 9 is inclined, the lower end is positioned at the end of the rainwater collecting tank 8, drainage of the rainwater is facilitated, a drainage pipe 10 is arranged at the bottom of the water storage tank 7, the drainage pipe 10 is arranged in a wall, and the other end of the drainage pipe is arranged in a room of the energy-saving house; be provided with purification structure 11 in the storage water tank 7, be provided with gravel and sand filter layer 12, active carbon adsorption layer 13 and bacterium filter layer 14 in the purification structure 11, be convenient for filter the impurity in the rainwater.
The side of the water storage tank 7 is provided with a first maintenance door 15, the first maintenance door 15 is arranged at the position matched with the position of the purification structure 11, the side of the preset roof 3 is provided with a second maintenance door 16 matched with the position of the first maintenance door 15, the water storage tank 7 can be checked and maintained through the second maintenance door 16, the purification structure 11 in the water storage tank 7 can be replaced and impurities can be removed through the first maintenance door 15, and the purification structure 11 can be replaced regularly.
One end of the solar cell panel 6 is connected with the controller, the storage battery and the inverter through wires, and solar energy is converted into electric energy to be connected to an indoor power line.
The sand and stone filtering layer 12 can filter impurities such as sand and stone and soil particles, the activated carbon adsorption layer 13 is used for adsorbing impurity ions, and the bacteria filtering layer 14 can filter and absorb common bacteria in rainwater.
The previous description of the disclosed embodiments is provided to enable any person skilled in the art to make or use the present invention. Various modifications to these embodiments will be readily apparent to those skilled in the art, and the generic principles defined herein may be applied to other embodiments without departing from the spirit or scope of the invention. Thus, the present invention is not intended to be limited to the embodiments shown herein but is to be accorded the widest scope consistent with the principles and novel features disclosed herein.

Claims (7)

1.一种绿色建筑的集成节能屋,包括屋顶和墙壁,其特征在于,所述屋顶顶部安装有预设顶,所述预设顶上通过电动气缸和转轴安装有太阳能电池板,所述电动气缸和转轴分别位于太阳能电池板的两端,通过电动气缸上的伸缩杆与转轴的配合对太阳能电池板进行高度与倾斜角度的调整;所述预设顶内部设置有储水箱,所述储水箱一侧设置有雨水收集槽,所述预设顶上设置有凹槽,所述凹槽将收集的雨水通过雨水收集槽收集至储水箱内,所述储水箱底部设置有引流管,所述引流管设置在墙壁内,其另一端设置在节能屋的室内;所述储水箱内设置有净化结构。1. An integrated energy-saving house for a green building, comprising a roof and a wall, characterized in that, a preset roof is installed on the top of the roof, and a solar panel is installed on the preset roof through an electric cylinder and a rotating shaft, and the electric The air cylinder and the rotating shaft are respectively located at the two ends of the solar panel, and the height and inclination angle of the solar panel are adjusted through the cooperation of the telescopic rod on the electric cylinder and the rotating shaft; a water storage tank is arranged inside the preset top, and the water storage tank A rainwater collection tank is provided on one side, and a groove is provided on the preset top. The groove collects the collected rainwater into the water storage tank through the rainwater collection tank. The bottom of the water storage tank is provided with a drainage pipe. The pipe is arranged in the wall, and the other end of the pipe is arranged in the room of the energy-saving house; a purification structure is arranged in the water storage tank. 2.根据权利要求1所述的一种绿色建筑的集成节能屋,其特征在于,所述储水箱侧面开设在第一维修门,所述第一维修门设置在与净化结构位置相配合的位置上。2 . The integrated energy-saving house of a green building according to claim 1 , wherein a first maintenance door is opened on the side of the water storage tank, and the first maintenance door is arranged at a position matching the position of the purification structure. 3 . superior. 3.根据权利要求2所述的一种绿色建筑的集成节能屋,其特征在于,所述预设顶的侧面设置有与第一维修门位置相配合的第二维修门。3 . The integrated energy-saving house of a green building according to claim 2 , wherein a second maintenance door matched with the position of the first maintenance door is provided on the side of the preset roof. 4 . 4.根据权利要求1所述的一种绿色建筑的集成节能屋,其特征在于,所述凹槽为倾斜状,位于雨水收集槽端为较低端,便于引流。4 . The integrated energy-saving house of a green building according to claim 1 , wherein the groove is inclined and located at the lower end of the rainwater collecting groove, which is convenient for drainage. 5 . 5.根据权利要求1所述的一种绿色建筑的集成节能屋,其特征在于,所述电动气缸与节能屋内的电力线路电连接,进而控制电动气缸带动太阳能电池板进行高度与角度的调整。5 . The integrated energy-saving house of a green building according to claim 1 , wherein the electric cylinder is electrically connected to the power line in the energy-saving house, and then the electric cylinder is controlled to drive the solar panel to adjust the height and angle. 6 . 6.根据权利要求1所述的一种绿色建筑的集成节能屋,其特征在于,所述净化结构内设置有沙石过滤层、活性炭吸附层和细菌过滤层。6 . The integrated energy-saving house of a green building according to claim 1 , wherein the purification structure is provided with a sand filter layer, an activated carbon adsorption layer and a bacteria filter layer. 7 . 7.根据权利要求1所述的一种绿色建筑的集成节能屋,其特征在于,所述太阳能电池板一端通过导线与控制器、蓄电池以及逆变器相互连接,将太阳能转化为电能接入室内的电力线路上。7 . The integrated energy-saving house of a green building according to claim 1 , wherein one end of the solar panel is connected to the controller, the storage battery and the inverter through a wire, and the solar energy is converted into electric energy and connected indoors. 8 . on the power line.
CN202021849892.XU 2020-08-28 2020-08-28 A green building integrated energy-saving house Active CN212613939U (en)

Priority Applications (1)

Application Number Priority Date Filing Date Title
CN202021849892.XU CN212613939U (en) 2020-08-28 2020-08-28 A green building integrated energy-saving house

Applications Claiming Priority (1)

Application Number Priority Date Filing Date Title
CN202021849892.XU CN212613939U (en) 2020-08-28 2020-08-28 A green building integrated energy-saving house

Publications (1)

Publication Number Publication Date
CN212613939U true CN212613939U (en) 2021-02-26

Family

ID=74704504

Family Applications (1)

Application Number Title Priority Date Filing Date
CN202021849892.XU Active CN212613939U (en) 2020-08-28 2020-08-28 A green building integrated energy-saving house

Country Status (1)

Country Link
CN (1) CN212613939U (en)

Cited By (1)

* Cited by examiner, † Cited by third party
Publication number Priority date Publication date Assignee Title
CN112081412A (en) * 2020-08-28 2020-12-15 苏州园科生态建设集团有限公司 A green building integrated energy-saving house

Cited By (1)

* Cited by examiner, † Cited by third party
Publication number Priority date Publication date Assignee Title
CN112081412A (en) * 2020-08-28 2020-12-15 苏州园科生态建设集团有限公司 A green building integrated energy-saving house

Similar Documents

Publication Publication Date Title
CN205822479U (en) A kind of energy-conserving and environment-protective building cool in summer and warm in winter
CN112459234A (en) Assembled energy-concerving and environment-protective type sunshine room
CN211850455U (en) An energy saving and environmental protection building device
CN207218099U (en) A kind of novel and multifunctional photovoltaic energy-conserving intelligent box-type substation
CN212613939U (en) A green building integrated energy-saving house
CN211774865U (en) Energy-conserving photovoltaic curtain system
CN208347152U (en) Intelligent ecological energy-saving building system
CN212317268U (en) Energy-conserving roofing of green building
CN202300098U (en) Indoor building energy-saving system with solar power generation and heat recovery and heat insulation effects
CN112081412A (en) A green building integrated energy-saving house
CN205320019U (en) Photovoltaic tile cleaning system
CN211063149U (en) Box-type substation with rainwater is collected
CN206769227U (en) A kind of season adjustable environment protection solar building roof system
CN111794453A (en) A green energy-saving assembled roof
CN206468040U (en) Assembled energy-saving lavatory
CN105625624A (en) Solar photovoltaic operated house ventilating device
CN212613048U (en) Rotary multifunctional energy-saving house
CN205712656U (en) A kind of house ventilation equipment utilizing photovoltaic to run
CN205712794U (en) A kind of house ventilation equipment with filtering contaminants effect
CN210067005U (en) an energy efficient building
CN211499915U (en) Environment-friendly light steel villa with cadmium telluride glass power generation function
CN208137214U (en) Self-ventilation photovoltaic glass curtain wall
CN105649281A (en) House ventilation equipment with effect of filtering pollutants
CN205717722U (en) A kind of house ventilation equipment of self-purging air
CN105674464A (en) Roof ventilation device capable of automatically purifying air

Legal Events

Date Code Title Description
GR01 Patent grant
GR01 Patent grant