CN212599471U - A fixed device for gear processing with adjustment function - Google Patents

A fixed device for gear processing with adjustment function Download PDF

Info

Publication number
CN212599471U
CN212599471U CN202021316361.4U CN202021316361U CN212599471U CN 212599471 U CN212599471 U CN 212599471U CN 202021316361 U CN202021316361 U CN 202021316361U CN 212599471 U CN212599471 U CN 212599471U
Authority
CN
China
Prior art keywords
gear
rods
fixing device
supporting
rotating
Prior art date
Legal status (The legal status is an assumption and is not a legal conclusion. Google has not performed a legal analysis and makes no representation as to the accuracy of the status listed.)
Expired - Fee Related
Application number
CN202021316361.4U
Other languages
Chinese (zh)
Inventor
李文焕
Current Assignee (The listed assignees may be inaccurate. Google has not performed a legal analysis and makes no representation or warranty as to the accuracy of the list.)
Tianjin Keweituo Machinery Parts Technology Co ltd
Original Assignee
Tianjin Keweituo Machinery Parts Technology Co ltd
Priority date (The priority date is an assumption and is not a legal conclusion. Google has not performed a legal analysis and makes no representation as to the accuracy of the date listed.)
Filing date
Publication date
Application filed by Tianjin Keweituo Machinery Parts Technology Co ltd filed Critical Tianjin Keweituo Machinery Parts Technology Co ltd
Priority to CN202021316361.4U priority Critical patent/CN212599471U/en
Application granted granted Critical
Publication of CN212599471U publication Critical patent/CN212599471U/en
Expired - Fee Related legal-status Critical Current
Anticipated expiration legal-status Critical

Links

Images

Landscapes

  • Jigs For Machine Tools (AREA)

Abstract

本实用新型公开了一种具有调节功能的齿轮加工用固定装置,包括固定座,所述固定座上分别安装有两个对称设置的液压杆,且液压杆上分别连接有支撑板,两个所述支撑板之间通过安装板固定连接,且安装板上活动设置有旋转盘,所述旋转盘上开设有两个定位槽,且定位槽内滑动连接有支撑杆,所述支撑杆上相互靠近的一端分别转动连接有张力杆,且支撑杆之间设置有调节丝杠。该种具有调节功能的齿轮加工用固定装置,齿轮通过固定在两个可调节距离的顶撑弧板之间,可根据齿轮的内径大小,对齿轮进行稳定的固定,固定装配安装方便,其固定牢靠,通过在安装板的表面设置可自由旋转的旋转盘,使得齿轮加工件可以旋转至不同的加工角度位置。

Figure 202021316361

The utility model discloses a gear processing fixing device with an adjustment function, which comprises a fixing seat, two symmetrically arranged hydraulic rods are respectively installed on the fixing seat, and the hydraulic rods are respectively connected with support plates, and the two hydraulic rods are respectively connected. The support plates are fixedly connected by a mounting plate, and a rotating disk is movably arranged on the mounting plate. Two positioning grooves are opened on the rotating disk, and support rods are slidably connected in the positioning grooves, and the support rods are close to each other. Tension rods are respectively connected to one end in rotation, and an adjusting screw is arranged between the support rods. This kind of gear processing fixing device with adjustment function, the gear is fixed between two top support arc plates with adjustable distance, the gear can be stably fixed according to the inner diameter of the gear, the fixed assembly is convenient, and its fixed Reliably, by arranging a freely rotatable rotary disk on the surface of the mounting plate, the gear workpiece can be rotated to different processing angle positions.

Figure 202021316361

Description

Fixing device with adjusting function for gear machining
Technical Field
The utility model relates to a gear machining technical field specifically is a fixing device for gear machining with regulatory function.
Background
The gear is the mechanical component that has the tooth on the rim and can mesh transmission motion and power in succession, the toothed machine part that can mesh mutually, obtain extensive application in the transmission field, in the production and processing process to the gear, need be on the support frock to the gear fixed mounting who treats processing, thereby be convenient for polish the meshing tooth or carry out the finish machining operation to the gear, and current fixed to gear processing is with gear machined part suit on the location epaxially, then utilize the gland to compress tightly fixed with the gear, the processing angle position of adjustment gear is not convenient for to this kind of fixed mode, thereby cause to gear machining efficiency lower, be unfavorable for the use. Therefore, the gear machining fixing device with the adjusting function is improved.
Disclosure of Invention
In order to solve the technical problem, the utility model provides a following technical scheme:
the utility model relates to a fixing device is used in gear machining with regulatory function, which comprises a fixed base, install the hydraulic stem that two symmetries set up on the fixing base respectively, and be connected with the backup pad on the hydraulic stem respectively, two through mounting panel fixed connection between the backup pad, and the activity is provided with the rotary disk on the mounting panel, two constant head tanks have been seted up on the rotary disk, and sliding connection has the bracing piece in the constant head tank, the one end that is close to each other on the bracing piece rotates respectively and is connected with the tension bar, and is provided with the adjusting screw between the bracing piece, the both ends of adjusting screw are overlapped respectively and are equipped with the movable plate, and the both ends of movable plate respectively.
As a preferred technical scheme of the utility model, circular shape spacing recess has been seted up on the surface of mounting panel, and has seted up the ring channel in the spacing recess, one side slide card of rotary disk is established in the ring channel.
As an optimal technical scheme of the utility model, the pivot is installed to the circular department of rotary disk, and the pivot rotates and passes the mounting panel, servo motor is installed to one side of backup pad, and is connected through belt transmission between servo motor and the pivot.
As a preferred technical scheme of the utility model, two tension bars on the bracing piece are "V" font setting, and the both sides tension bar of homonymy rotates respectively on two bracing pieces and connects the surface at the movable plate.
As a preferred technical scheme of the utility model, it is equipped with location bearing to rotate the cover on the regulation lead screw, and location bearing installs the middle part at two constant head tanks.
As a preferred technical scheme of the utility model, the cover is equipped with two rotatory rings gear on the regulation lead screw, and the surface of rotatory ring gear is provided with anti-skidding insection, adjust respectively through threaded connection between lead screw and the movable plate.
As a preferred technical scheme of the utility model, the shore arc board is installed respectively to the one side of keeping away from each other on the bracing piece, and shore arc board is the arc structure to the concave surface is kept away from each other.
The utility model has the advantages that: this kind of fixing device is used in gear machining with regulatory function, the gear is through fixing between two adjustable distance's shoring arc boards, can be according to the internal diameter size of gear, carry out stable fixed to the gear, fixed mounting simple to operate, it is fixed firm, but through the surface at the mounting panel set up the rotary disk of free rotation, make the gear machined part can rotate to the processing angle position of difference, and convenient for operation uses, the processing range of application is wider, bring very big convenience for operating personnel, but set up height-adjusting's hydraulic stem on the fixing base, can adjust the gear height of fixing on the mounting panel, make things convenient for the processing equipment of installation on the fixing base to the gear machining of equidimension not, the efficiency of gear machining has been improved, avoid the impaired waste that causes of gear, the cost is saved, the quality of processing work piece has been improved.
Drawings
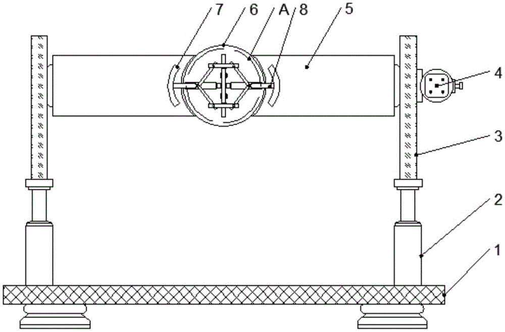
Fig. 1 is a schematic structural view of a gear machining fixing device with an adjusting function according to the present invention;
FIG. 2 is a schematic view of a mounting plate structure of the fixing device for gear machining with an adjusting function of the present invention;
fig. 3 is an enlarged view of a in fig. 1.
In the figure: 1. a fixed seat; 2. a hydraulic lever; 3. a support plate; 4. a servo motor; 5. mounting a plate; 6. rotating the disc; 7. supporting the arc plate; 8. a support bar; 9. positioning a groove; 10. a tension bar; 11. moving the plate; 12. adjusting the lead screw; 13. positioning the bearing; 14. rotating the toothed ring; 15. a limiting groove; 16. an annular groove.
Detailed Description
The preferred embodiments of the present invention will be described in conjunction with the accompanying drawings, and it will be understood that they are presented herein only to illustrate and explain the present invention, and not to limit the present invention.
Example (b): as shown in fig. 1-3, the utility model relates to a fixing device is used in gear machining with regulatory function, including fixing base 1, install the hydraulic stem 2 that two symmetries set up on the fixing base 1 respectively, and be connected with backup pad 3 on the hydraulic stem 2 respectively, through mounting panel 5 fixed connection between two backup pads 3, and the activity is provided with rotary disk 6 on the mounting panel 5, two constant head tanks 9 have been seted up on the rotary disk 6, and sliding connection has bracing piece 8 in the constant head tank 9, the one end that is close to each other on the bracing piece 8 rotates respectively and is connected with tension bar 10, and be provided with between the bracing piece 8 and adjust lead screw 12, the both ends of adjusting lead screw 12 are overlapped respectively and are equipped with movable plate 11, and the both ends of movable plate 11 rotate.
The surface of the mounting plate 5 is provided with a circular limiting groove 15, an annular groove 16 is formed in the limiting groove 15, one side of the rotating disk 6 is slidably clamped in the annular groove 16, and the annular groove 16 limits the position of the rotating disk 16.
Wherein, the pivot is installed to the circular department of rotary disk 6, and the pivot rotates and passes mounting panel 5, and servo motor 4 is installed to one side of backup pad 3, and is connected through belt transmission between servo motor 4 and the pivot, and servo motor 4 passes through the belt and drives rotary disk 6 and rotate.
Wherein, two tension bars 10 on the bracing piece 8 are "V" font setting, and rotate respectively on two bracing pieces 8 the both sides tension bar 10 of homonymy and connect on the surface of movable plate 11, and the regulation of angle between tension bar 10 can promote bracing piece 8 at constant head tank 9 internalization, and bracing piece 8 is injectd and is slided in constant head tank 9.
Wherein, it is equipped with location bearing 13 to rotate the cover on adjusting lead screw 12, and location bearing 13 installs at the middle part of two constant head tanks 9, and location bearing 13 fixes adjusting lead screw 12.
Wherein, the cover is equipped with two rotatory ring gears 14 on adjusting lead screw 12, and the surface of rotatory ring gear 14 is provided with anti-skidding insection, adjusts and passes through threaded connection respectively between lead screw 12 and the movable plate 11, and movable plate 11 is close to each other or is kept away from when adjusting lead screw 12 pivoted.
Wherein, the bracing arc plate 7 is installed respectively to the one side of keeping away from each other on the bracing piece 8, and the bracing arc plate 7 is the arc structure to the concave surface is kept away from each other, and the internal diameter of bracing arc plate 7 to the gear supports.
The working principle is as follows: when the device is used, a gear can be stably fixed according to the size of the inner diameter of the gear by being fixed between two distance-adjustable top support arc plates 7, the gear is convenient to fix, assemble and install and firm to fix, the gear is arranged between the two top support arc plates 7, an adjusting screw 12 is rotated to enable the adjusting screw 12 to push two moving plates 11 to be close to each other, then an angle between supporting tension rods 10 is reduced, a supporting rod 8 slides in a positioning groove 9 to support the two top support arc plates 7 to be close to the inner diameter of the gear to support the inner diameter, a rotary disk 6 which can rotate freely is arranged on the surface of a mounting plate 5 to enable a gear workpiece to rotate to different machining angle positions, a servo motor 4 is started to drive the rotary disk 6 to rotate, the device is convenient to operate and use, the machining application range is wide, great convenience is brought to operators, a height-adjustable hydraulic rod 2 is arranged on a fixing seat, the height of the fixed gear on the mounting plate 5 can be adjusted, the processing equipment mounted on the fixing seat 1 can conveniently process gears of different sizes, the efficiency of gear processing is improved, the gear damage is avoided, the waste is avoided, the cost is saved, and the quality of processed workpieces is improved.
Finally, it should be noted that: in the description of the present invention, it should be noted that the terms "vertical", "upper", "lower", "horizontal", and the like indicate orientations or positional relationships based on the orientations or positional relationships shown in the drawings, and are only for convenience of description and simplification of description, but do not indicate or imply that the device or element referred to must have a specific orientation, be constructed in a specific orientation, and be operated, and thus should not be construed as limiting the present invention.
In the description of the present invention, it should also be noted that, unless otherwise explicitly specified or limited, the terms "disposed," "mounted," "connected," and "connected" are to be construed broadly, e.g., as meaning either a fixed connection, a removable connection, or an integral connection; can be mechanically or electrically connected; they may be connected directly or indirectly through intervening media, or they may be interconnected between two elements. The specific meaning of the above terms in the present invention can be understood according to specific situations by those skilled in the art.
Although the present invention has been described in detail with reference to the foregoing embodiments, it will be apparent to those skilled in the art that modifications may be made to the embodiments described in the foregoing embodiments, or equivalents may be substituted for elements thereof. Any modification, equivalent replacement, or improvement made within the spirit and principle of the present invention should be included in the protection scope of the present invention.

Claims (7)

1. A fixing device with an adjusting function for gear machining comprises a fixing seat (1), it is characterized in that the fixed seat (1) is respectively provided with two symmetrically arranged hydraulic rods (2), and the hydraulic rod (2) is respectively connected with a supporting plate (3), the two supporting plates (3) are fixedly connected through a mounting plate (5), a rotating disc (6) is movably arranged on the mounting plate (5), two positioning grooves (9) are arranged on the rotating disc (6), and the positioning groove (9) is connected with a supporting rod (8) in a sliding way, one ends of the supporting rods (8) close to each other are respectively connected with a tension rod (10) in a rotating way, and an adjusting screw rod (12) is arranged between the support rods (8), two ends of the adjusting screw rod (12) are respectively sleeved with a moving plate (11), and two ends of the moving plate (11) are respectively connected with one end of the tension rod (10) far away from the support rod (8) in a rotating way.
2. The gear machining fixing device with the adjusting function is characterized in that a circular limiting groove (15) is formed in the surface of the mounting plate (5), an annular groove (16) is formed in the limiting groove (15), and one side of the rotating disc (6) is slidably clamped in the annular groove (16).
3. The gear machining fixing device with the adjusting function is characterized in that a rotating shaft is installed at the round part of the rotating disc (6) and penetrates through the installing plate (5) in a rotating mode, a servo motor (4) is installed on one side of the supporting plate (3), and the servo motor (4) is in transmission connection with the rotating shaft through a belt.
4. The gear processing fixing device with the adjusting function is characterized in that the two tension rods (10) on the supporting rods (8) are arranged in a V shape, and the two tension rods (10) on the two supporting rods (8) on the same side are respectively and rotatably connected to the surface of the moving plate (11).
5. The gear machining fixing device with the adjusting function is characterized in that a positioning bearing (13) is rotatably sleeved on the adjusting screw rod (12), and the positioning bearing (13) is installed in the middle of the two positioning grooves (9).
6. The gear machining fixing device with the adjusting function is characterized in that two rotating gear rings (14) are sleeved on the adjusting screw rod (12), anti-skidding threads are arranged on the surfaces of the rotating gear rings (14), and the adjusting screw rod (12) is in threaded connection with the moving plate (11).
7. The gear machining fixing device with the adjusting function is characterized in that the supporting rods (8) are provided with top supporting arc plates (7) at the sides far away from each other, the top supporting arc plates (7) are of arc structures, and the concave surfaces are far away from each other.
CN202021316361.4U 2020-07-08 2020-07-08 A fixed device for gear processing with adjustment function Expired - Fee Related CN212599471U (en)

Priority Applications (1)

Application Number Priority Date Filing Date Title
CN202021316361.4U CN212599471U (en) 2020-07-08 2020-07-08 A fixed device for gear processing with adjustment function

Applications Claiming Priority (1)

Application Number Priority Date Filing Date Title
CN202021316361.4U CN212599471U (en) 2020-07-08 2020-07-08 A fixed device for gear processing with adjustment function

Publications (1)

Publication Number Publication Date
CN212599471U true CN212599471U (en) 2021-02-26

Family

ID=74744512

Family Applications (1)

Application Number Title Priority Date Filing Date
CN202021316361.4U Expired - Fee Related CN212599471U (en) 2020-07-08 2020-07-08 A fixed device for gear processing with adjustment function

Country Status (1)

Country Link
CN (1) CN212599471U (en)

Similar Documents

Publication Publication Date Title
CN221582097U (en) Flexible adjustable positioning device for drilling jig
CN113579768A (en) Adjustable cutting device for new energy automobile part machining
CN210649935U (en) Pipe orifice deburring device for metal pipe fittings
CN110919481A (en) High-precision grinding equipment suitable for remanufacturing of automobile engine crankshaft
CN212599471U (en) A fixed device for gear processing with adjustment function
CN219485244U (en) Flange grooving device
CN212763377U (en) Tool for machining pump shell
CN110270719A (en) A kind of spiral bevel gear broaching machine bed
CN108406453B (en) A CNC knife sharpener
CN209754732U (en) Ball-end milling cutter grinds machine
CN202910689U (en) Belt sander
CN220560594U (en) Processing equipment for profile gears with various tooth profiles
CN216633747U (en) Fan tower section of thick bamboo is polished and is repaiied device
CN214771075U (en) Spherical alloy tooth clamping device and vertical seat type spherical alloy tooth grinding equipment
CN101745701B (en) Cam transmission device of side angle grinder
CN220162027U (en) Coping device
CN201333569Y (en) Cam driving gear of side-angle grinder
CN210476589U (en) A grinding fixture supported by the outer ring of a bearing
CN222221906U (en) Milling machine feed positioning adjustment mechanism
CN217799036U (en) Centerless lathe tool rest device capable of adjusting machining diameter in large range
CN112108664A (en) Rotary tool apron for machining numerical control lathe
CN217475692U (en) Horizontal shaft rectangular table surface grinding machine tool clamp
CN221246969U (en) Clamping and positioning device for processing revolving body parts
CN219666572U (en) Multi-angle clamping and positioning device
CN223506822U (en) Milling cutter polishing jig of numerical control machine tool

Legal Events

Date Code Title Description
GR01 Patent grant
GR01 Patent grant
CF01 Termination of patent right due to non-payment of annual fee
CF01 Termination of patent right due to non-payment of annual fee

Granted publication date: 20210226