CN212553018U - A kind of rack processing bracket end surface grinding device - Google Patents
A kind of rack processing bracket end surface grinding device Download PDFInfo
- Publication number
- CN212553018U CN212553018U CN202021294698.XU CN202021294698U CN212553018U CN 212553018 U CN212553018 U CN 212553018U CN 202021294698 U CN202021294698 U CN 202021294698U CN 212553018 U CN212553018 U CN 212553018U
- Authority
- CN
- China
- Prior art keywords
- hole
- grinding device
- welded
- bearing
- screw rod
- Prior art date
- Legal status (The legal status is an assumption and is not a legal conclusion. Google has not performed a legal analysis and makes no representation as to the accuracy of the status listed.)
- Expired - Fee Related
Links
Images
Landscapes
- Grinding Of Cylindrical And Plane Surfaces (AREA)
Abstract
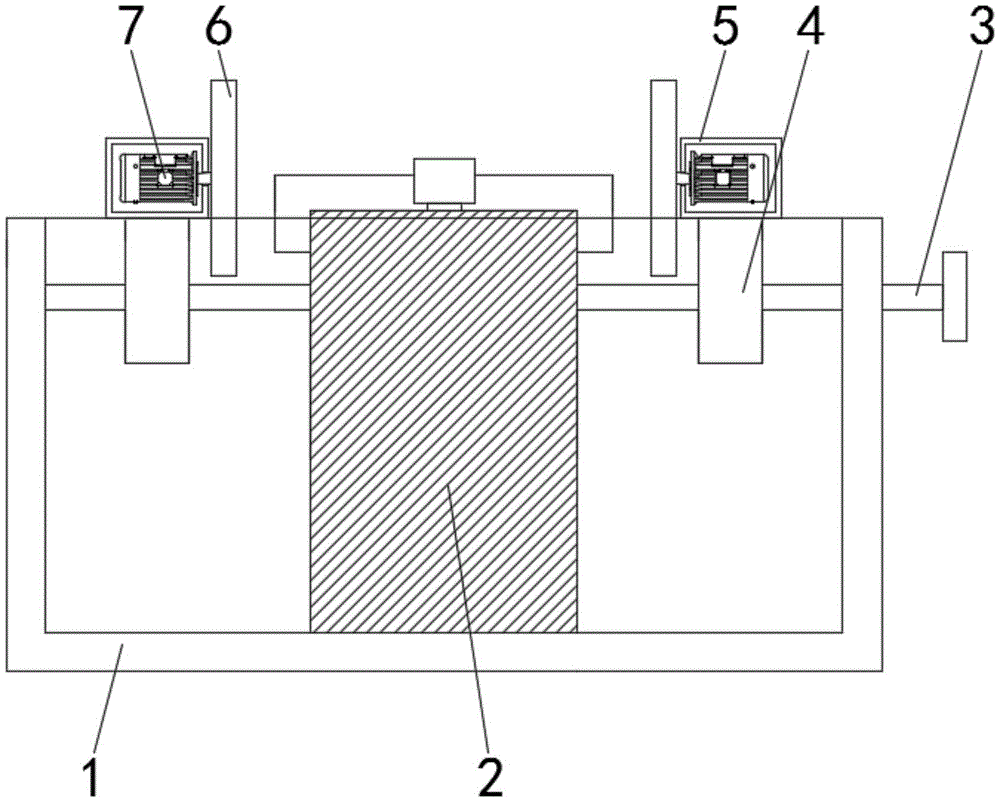
本实用新型涉及磨床技术领域,尤其涉及一种货架加工支架端面打磨装置,解决现有技术中存在的效率低、不能多个面同时打磨的缺点,包括底座,所述传动杆的一侧啮合连接有蜗轮,所述蜗轮安装在箱体的内部,所述蜗轮的一侧焊接有第一打块,所述箱体的内部通过螺钉连接有导向架,所述导向架的内部转动设置有螺杆,所述螺杆的外部套设有对称布置的移动块,所述移动块上焊接有夹头,所述螺杆的一端焊接有转盘,所述转盘的一侧焊接有第二打块,通过传动杆、导轨、移动座、电机壳等结构的设置,当使用者转动传动杆时,带动移动座同时向中间移动,可以同时加工两个端面,节省了加工时间,省去了重复装夹的操作。
The utility model relates to the technical field of grinding machines, in particular to an end surface grinding device of a rack processing bracket, which solves the shortcomings of the prior art of low efficiency and inability to grind multiple surfaces at the same time. There is a worm wheel, the worm wheel is installed inside the box body, the first block is welded on one side of the worm wheel, the inside of the box body is connected with a guide frame by screws, and the inside of the guide frame is rotated and provided with a screw rod, The outside of the screw is sleeved with a symmetrically arranged moving block, a chuck is welded on the moving block, a turntable is welded on one end of the screw, and a second block is welded on one side of the turntable. The arrangement of the guide rail, moving seat, motor shell and other structures, when the user rotates the transmission rod, drives the moving seat to move to the middle at the same time, which can process two end faces at the same time, which saves the processing time and saves the operation of repeated clamping.
Description
Claims (6)
Priority Applications (1)
| Application Number | Priority Date | Filing Date | Title |
|---|---|---|---|
| CN202021294698.XU CN212553018U (en) | 2020-07-06 | 2020-07-06 | A kind of rack processing bracket end surface grinding device |
Applications Claiming Priority (1)
| Application Number | Priority Date | Filing Date | Title |
|---|---|---|---|
| CN202021294698.XU CN212553018U (en) | 2020-07-06 | 2020-07-06 | A kind of rack processing bracket end surface grinding device |
Publications (1)
| Publication Number | Publication Date |
|---|---|
| CN212553018U true CN212553018U (en) | 2021-02-19 |
Family
ID=74614913
Family Applications (1)
| Application Number | Title | Priority Date | Filing Date |
|---|---|---|---|
| CN202021294698.XU Expired - Fee Related CN212553018U (en) | 2020-07-06 | 2020-07-06 | A kind of rack processing bracket end surface grinding device |
Country Status (1)
| Country | Link |
|---|---|
| CN (1) | CN212553018U (en) |
-
2020
- 2020-07-06 CN CN202021294698.XU patent/CN212553018U/en not_active Expired - Fee Related
Similar Documents
| Publication | Publication Date | Title |
|---|---|---|
| CN113118696B (en) | Intelligent welding device and method for pipe fitting end flange | |
| CN211361728U (en) | Grinding device is used in auto parts production | |
| CN209095326U (en) | A kind of dust protected abrasive machine clamping device | |
| CN219075291U (en) | Double-sided grinding polisher | |
| CN212553018U (en) | A kind of rack processing bracket end surface grinding device | |
| CN217317380U (en) | High-universality metal piece grinding and positioning device | |
| CN110497207B (en) | A wheel hub deburring device | |
| CN111761470A (en) | Workpiece positioning workbench of numerical control grinding machine | |
| CN216442197U (en) | Large-diameter reducing pipe straight edge end machining equipment | |
| CN213795718U (en) | Polishing mechanism for plastic products | |
| CN210024844U (en) | Machine part polishing equipment | |
| CN210499413U (en) | Workpiece transfer device for part machining | |
| CN213054124U (en) | Grinding device is used in production of accurate screw | |
| CN108608302A (en) | A kind of industrial machinery polishing machine | |
| CN212020196U (en) | Polishing device for hardware pipe fitting | |
| CN211867459U (en) | Semi-automatic multi-station machine part grinding and polishing device | |
| CN113635189A (en) | Surface polishing and grinding system for forging and casting and machining process | |
| CN213411584U (en) | Planet carrier gear machining is with high-efficient burnishing machine | |
| CN218856437U (en) | Welding part grinding device | |
| CN216066694U (en) | Centerless grinding machine convenient to fast clamp workpiece | |
| CN218801235U (en) | Automatic sample block grinding and polishing device for casting detection | |
| CN222740998U (en) | Surface polishing treatment device for manufacturing hardware products | |
| CN218575724U (en) | Computer face frame equipment of polishing | |
| CN216228725U (en) | A polishing device for metal workpiece processing | |
| CN221159756U (en) | Double-sided efficient polishing device for magnet machining |
Legal Events
| Date | Code | Title | Description |
|---|---|---|---|
| GR01 | Patent grant | ||
| GR01 | Patent grant | ||
| TR01 | Transfer of patent right |
Effective date of registration: 20231107 Address after: 1st Floor, Building 60, No. 17 Huanke Middle Road, Jinqiao Science and Technology Industrial Base, Zhongguancun Science and Technology Park, Tongzhou District, Beijing, 101100 Patentee after: Eurasing Technology Development Corp. Address before: 215000 rooms 6 and 7, 9 Yangjia Road, Lujia Town, Kunshan City, Suzhou City, Jiangsu Province Patentee before: Kunshan haochun'an Hardware Products Co.,Ltd. |
|
| TR01 | Transfer of patent right | ||
| CF01 | Termination of patent right due to non-payment of annual fee |
Granted publication date: 20210219 |
|
| CF01 | Termination of patent right due to non-payment of annual fee |
