CN212533399U - 一种用于喷水织布的漂白装置 - Google Patents

一种用于喷水织布的漂白装置 Download PDF

Info

Publication number
CN212533399U
CN212533399U CN202020952395.6U CN202020952395U CN212533399U CN 212533399 U CN212533399 U CN 212533399U CN 202020952395 U CN202020952395 U CN 202020952395U CN 212533399 U CN212533399 U CN 212533399U
Authority
CN
China
Prior art keywords
bleaching
motor
support
screw rod
fixedly connected
Prior art date
Legal status (The legal status is an assumption and is not a legal conclusion. Google has not performed a legal analysis and makes no representation as to the accuracy of the status listed.)
Expired - Fee Related
Application number
CN202020952395.6U
Other languages
English (en)
Inventor
董潮军
Current Assignee (The listed assignees may be inaccurate. Google has not performed a legal analysis and makes no representation or warranty as to the accuracy of the list.)
Zhijiang Xutai Weaving Co ltd
Original Assignee
Zhijiang Xutai Weaving Co ltd
Priority date (The priority date is an assumption and is not a legal conclusion. Google has not performed a legal analysis and makes no representation as to the accuracy of the date listed.)
Filing date
Publication date
Application filed by Zhijiang Xutai Weaving Co ltd filed Critical Zhijiang Xutai Weaving Co ltd
Priority to CN202020952395.6U priority Critical patent/CN212533399U/zh
Application granted granted Critical
Publication of CN212533399U publication Critical patent/CN212533399U/zh
Expired - Fee Related legal-status Critical Current
Anticipated expiration legal-status Critical

Links

Images

Landscapes

  • Treatment Of Fiber Materials (AREA)

Abstract

本实用新型公开了一种用于喷水织布的漂白装置,包括第一支架和第二支架,所述第一支架顶部固定连接有电机安装板,本实用新型通过第一电机驱动丝杆转动,丝杆驱动丝杆套运动,丝杆套带动滑板运动,滑板在导向杆和导向套的导向作用下通过电动缸带动承重板运动,从而带动与安装座卡接的旋转筒移动,电动缸驱动旋转筒上下移动,第二电机驱动旋转筒旋转,旋转筒带着内部盛装的布料依次通过漂白池、第一清洗池和第二清洗池的漂白清洗,每当漂白清洗后旋转筒离开漂白箱时第二电机带动旋转筒转动,对布料进行脱水,该过程有利于减少布料漂白后残留的漂白剂,布料脱水后有利于工作人员的收纳和运输。

Description

一种用于喷水织布的漂白装置
技术领域
本实用新型涉及一种布料加工领域,具体是一种用于喷水织布的漂白装置。
背景技术
喷水织机是采用喷射水柱牵引纬纱穿越梭口的无梭织机,在布料生产时,喷水引纬对纬纱的摩擦牵引力比喷气引纬大,扩散性小,适应表面光滑的合成纤维、玻璃纤维等长丝引纬的需要,同时可以增加合纤的导电性能,有效地克服织造中的静电,此外喷射纬纱消耗的能量较少,噪音最低,在布料生产后,为满足一些品种的加工要求,需要对布料进行进一步的漂白处理,而漂白处理需要使用到漂白处理设备。
但是,目前市面上传统的用于喷水织布的漂白装置,只是对布料进行漂白,不能漂白后的布料进行清洗,布料上会残留大量的漂白试剂,且不能对漂白后的布料进行脱水。
实用新型内容
本实用新型的目的在于提供一种用于喷水织布的漂白装置,以解决上述背景技术中提出的问题。
为实现上述目的,本实用新型提供如下技术方案:一种用于喷水织布的漂白装置,包括第一支架和第二支架,所述第一支架顶部固定连接有电机安装板,所述电机安装板顶部固定安装有第一电机,所述第一电机输出端固定连接有丝杆,所述丝杆另一端与第二支架转动连接,所述丝杆一侧设置有导向杆,所述导向杆两端分别与第一支架和第二支架固定连接,所述丝杆外壁螺纹连接有丝杆套,所述导向杆外壁设置有导向套,所述丝杆套和导向套底部固定连接有滑板,所述滑板顶部对称设置有电动缸,所述电动缸的活动端贯穿滑板并延伸出,所述电动缸的活动端固定连接有承重板,所述承重板顶部固定连接有第二电机,所述承重板底部固定连接有安装座,所述安装座内设置有旋转筒,所述第二电机输出端贯穿承重板与旋转筒顶部固定连接,所述第一支架和第二支架之间设置有漂白箱,所述漂白箱内靠近第一支架的一端设置有漂白池,所述漂白池靠近第二支架的一侧依次在漂白箱内设置有第一清洗池和第二清洗池。
作为本实用新型进一步的方案:所述丝杆和导向杆外径相同,且安装的高度相同。
作为本实用新型再进一步的方案:所述滑板在第二电机正上方处设置有圆孔,圆孔的直径大于第二电机的直径。
作为本实用新型再进一步的方案:所述安装座内侧设置有卡槽,所述旋转筒外壁顶部一圈固定连接有卡块,所述卡块内置在卡槽中。
作为本实用新型再进一步的方案:所述旋转筒侧壁设置有筒门,所述旋转筒侧壁、底部及筒门均设置有通孔。
作为本实用新型再进一步的方案:所述承重板尺寸比漂白池的口大,所述漂白池、第一清洗池和第二清洗池的尺寸相同。
与现有技术相比,本实用新型的有益效果是:本实用新型通过第一电机驱动丝杆转动,丝杆驱动丝杆套运动,丝杆套带动滑板运动,滑板在导向杆和导向套的导向作用下通过电动缸带动承重板运动,从而带动与安装座卡接的旋转筒移动,电动缸驱动旋转筒上下移动,第二电机驱动旋转筒旋转,旋转筒带着内部盛装的布料依次通过漂白池、第一清洗池和第二清洗池的漂白清洗,每当漂白清洗后旋转筒离开漂白箱时第二电机带动旋转筒转动,对布料进行脱水,该过程有利于减少布料漂白后残留的漂白剂,布料脱水后有利于工作人员的收纳和运输。
附图说明
图1为一种用于喷水织布的漂白装置的结构示意图。
图2为一种用于喷水织布的漂白装置中的俯视图。
图3为一种用于喷水织布的漂白装置中旋转筒的结构示意图。
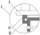
图4为图1中A处局部放大图。
图中:第一支架1、电机安装板2、第一电机3、丝杆4、电动缸5、第二电机6、滑板7、承重板8、第二支架9、漂白箱10、漂白池11、旋转筒12、第一清洗池13、第二清洗池14、导向杆15、导向套16、丝杆套17、通孔18、筒门19、卡块20、安装座21、卡槽22。
具体实施方式
下面将结合本实用新型实施例中的附图,对本实用新型实施例中的技术方案进行清楚、完整地描述,显然,所描述的实施例仅仅是本实用新型一部分实施例,而不是全部的实施例。基于本实用新型中的实施例,本领域普通技术人员在没有做出创造性劳动前提下所获得的所有其他实施例,都属于本实用新型保护的范围。
请参阅图1~4,本实用新型实施例中,一种用于喷水织布的漂白装置,包括第一支架1和第二支架9,第一支架1顶部固定连接有电机安装板2,电机安装板2顶部固定安装有第一电机3,第一电机3输出端固定连接有丝杆4,丝杆4另一端与第二支架9转动连接,丝杆4一侧设置有导向杆15,导向杆15两端分别与第一支架1和第二支架9固定连接,丝杆4外壁螺纹连接有丝杆套17,导向杆15外壁设置有导向套16,丝杆套17和导向套16底部固定连接有滑板7,滑板7顶部对称设置有电动缸5,电动缸5型号为HJL50T2,生产厂家为武汉宏晶自动化有限公司,电动缸5的活动端贯穿滑板7并延伸出,电动缸5的活动端固定连接有承重板8,承重板8顶部固定连接有第二电机6,承重板8底部固定连接有安装座21,安装座21内设置有旋转筒12,第二电机6输出端贯穿承重板8与旋转筒12顶部固定连接,第一支架1和第二支架9之间设置有漂白箱10,漂白箱10内靠近第一支架1的一端设置有漂白池11,漂白池11靠近第二支架9的一侧依次在漂白箱10内设置有第一清洗池13和第二清洗池14,丝杆4和导向杆15外径相同,且安装的高度相同,滑板7在第二电机6正上方处设置有圆孔,圆孔的直径大于第二电机6的直径,安装座21内侧设置有卡槽22,旋转筒12外壁顶部一圈固定连接有卡块20,卡块20内置在卡槽22中,旋转筒12侧壁设置有筒门19,旋转筒12侧壁、底部及筒门19均设置有通孔,承重板8尺寸比漂白池11的口大,漂白池11、第一清洗池13和第二清洗池14的尺寸相同。
本实用新型的工作原理是:使用时,将旋转筒移动到第一支架1处,打开筒门19,将需漂白的布料放置入旋转筒12内,第一电机3工作,输出端驱动丝杆4转动,丝杆4驱动丝杆套17在丝杆4上运动,丝杆套17带动滑板7运动,滑板7在导向杆15和导向套16的导向作用下通过电动缸5带动承重板8运动,从而带动与安装座21卡接的旋转筒12移动,当旋转筒12移动到漂白池11上方时第一电机3停止工作,电动缸5工作,电动缸5活动端伸长,带动滑板7底部与漂白池11顶部贴合停止工作,第二电机6工作带动旋转筒12在漂白池11内旋转,对布料进行漂白,漂白完成后,第二电机6停止工作,电动缸5活动端收缩将旋转筒12带离漂白池11,第二电机6带动旋转筒12旋转对布料脱水,然后重复上述动作,再依次经过第一清洗池13和第二清洗池14至第二支架9处,工作人员打开筒门19,将漂白后的布料取出。
尽管参照前述实施例对本实用新型进行了详细的说明,对于本领域的技术人员来说,其依然可以对前述各实施例所记载的技术方案进行修改,或者对其中部分技术特征进行等同替换,凡在本实用新型的精神和原则之内,所作的任何修改、等同替换、改进等,均应包含在本实用新型的保护范围之内。

Claims (6)

1.一种用于喷水织布的漂白装置,包括第一支架(1)和第二支架(9),其特征在于:所述第一支架(1)顶部固定连接有电机安装板(2),所述电机安装板(2)顶部固定安装有第一电机(3),所述第一电机(3)输出端固定连接有丝杆(4),所述丝杆(4)另一端与第二支架(9)转动连接,所述丝杆(4)一侧设置有导向杆(15),所述导向杆(15)两端分别与第一支架(1)和第二支架(9)固定连接,所述丝杆(4)外壁螺纹连接有丝杆套(17),所述导向杆(15)外壁设置有导向套(16),所述丝杆套(17)和导向套(16)底部固定连接有滑板(7),所述滑板(7)顶部对称设置有电动缸(5),所述电动缸(5)的活动端贯穿滑板(7)并延伸出,所述电动缸(5)的活动端固定连接有承重板(8),所述承重板(8)顶部固定连接有第二电机(6),所述承重板(8)底部固定连接有安装座(21),所述安装座(21)内设置有旋转筒(12),所述第二电机(6)输出端贯穿承重板(8)与旋转筒(12)顶部固定连接,所述第一支架(1)和第二支架(9)之间设置有漂白箱(10),所述漂白箱(10)内靠近第一支架(1)的一端设置有漂白池(11),所述漂白池(11)靠近第二支架(9)的一侧依次在漂白箱(10)内设置有第一清洗池(13)和第二清洗池(14)。
2.根据权利要求1所述的一种用于喷水织布的漂白装置,其特征在于:所述丝杆(4)和导向杆(15)外径相同,且安装的高度相同。
3.根据权利要求1所述的一种用于喷水织布的漂白装置,其特征在于:所述滑板(7)在第二电机(6)正上方处设置有圆孔,圆孔的直径大于第二电机(6)的直径。
4.根据权利要求1所述的一种用于喷水织布的漂白装置,其特征在于:所述安装座(21)内侧设置有卡槽(22),所述旋转筒(12)外壁顶部一圈固定连接有卡块(20),所述卡块(20)内置在卡槽(22)中。
5.根据权利要求1所述的一种用于喷水织布的漂白装置,其特征在于:所述旋转筒(12)侧壁设置有筒门(19),所述旋转筒(12)侧壁、底部及筒门(19)均设置有通孔。
6.根据权利要求1所述的一种用于喷水织布的漂白装置,其特征在于:所述承重板(8)尺寸比漂白池(11)的口大,所述漂白池(11)、第一清洗池(13)和第二清洗池(14)的尺寸相同。
CN202020952395.6U 2020-05-29 2020-05-29 一种用于喷水织布的漂白装置 Expired - Fee Related CN212533399U (zh)

Priority Applications (1)

Application Number Priority Date Filing Date Title
CN202020952395.6U CN212533399U (zh) 2020-05-29 2020-05-29 一种用于喷水织布的漂白装置

Applications Claiming Priority (1)

Application Number Priority Date Filing Date Title
CN202020952395.6U CN212533399U (zh) 2020-05-29 2020-05-29 一种用于喷水织布的漂白装置

Publications (1)

Publication Number Publication Date
CN212533399U true CN212533399U (zh) 2021-02-12

Family

ID=74544950

Family Applications (1)

Application Number Title Priority Date Filing Date
CN202020952395.6U Expired - Fee Related CN212533399U (zh) 2020-05-29 2020-05-29 一种用于喷水织布的漂白装置

Country Status (1)

Country Link
CN (1) CN212533399U (zh)

Cited By (2)

* Cited by examiner, † Cited by third party
Publication number Priority date Publication date Assignee Title
CN114293327A (zh) * 2021-11-26 2022-04-08 芜湖富春染织股份有限公司 一种纱线加工用可防打结缠绕的漂白装置及其实施方法
CN115323679A (zh) * 2022-10-13 2022-11-11 江苏双鸥纺织印染有限公司 一种纺织品全自动连续漂白脱色装置

Cited By (3)

* Cited by examiner, † Cited by third party
Publication number Priority date Publication date Assignee Title
CN114293327A (zh) * 2021-11-26 2022-04-08 芜湖富春染织股份有限公司 一种纱线加工用可防打结缠绕的漂白装置及其实施方法
CN114293327B (zh) * 2021-11-26 2024-01-19 芜湖富春染织股份有限公司 一种纱线加工用可防打结缠绕的漂白装置及其实施方法
CN115323679A (zh) * 2022-10-13 2022-11-11 江苏双鸥纺织印染有限公司 一种纺织品全自动连续漂白脱色装置

Similar Documents

Publication Publication Date Title
CN212533399U (zh) 一种用于喷水织布的漂白装置
CN209334284U (zh) 一种纺织辊清洗装置
CN213113850U (zh) 一种用于纺织面料的清洗装置
CN108532172A (zh) 一种纺织用纺织面料退浆装置
CN212687073U (zh) 一种服装生产用布料双面除尘装置
CN213328311U (zh) 一种酒店布草回收清洗装置
CN215430430U (zh) 一种纺织加工用洗综装置
CN208632799U (zh) 一种纺织用纺织面料退浆装置
CN114318718B (zh) 一种高效坯布清洁装置
CN219079843U (zh) 一种双条四幅水洗联合机的清洗箱结构
CN218090087U (zh) 一种纺织布生产用湿润机构
CN214458607U (zh) 一种窗帘布喷水织机
CN216427649U (zh) 一种纺织布料水洗设备
CN211645636U (zh) 一种纺织面料染布设备的喷淋装置
CN212505369U (zh) 一种纺织领域用纺织线润滑装置
CN220665669U (zh) 一种纺织退浆后纺织线清洗装置
CN114703589A (zh) 一种化纤纺织机
CN208762705U (zh) 一种织物高效连续水洗装置
CN212199552U (zh) 一种超大宽幅智能喷气织机
CN210287687U (zh) 一种新型塑料编织喷水织机
CN214655883U (zh) 一种纺织面料熨烫装置
CN210117512U (zh) 一种梭织面料生产用水洗加工装置
CN222878197U (zh) 一种双腔喷气涡流混纺机
CN220867733U (zh) 一种吸湿导湿抗uv涤纶面料制备装置
CN219861830U (zh) 一种纺织面料送经装置

Legal Events

Date Code Title Description
GR01 Patent grant
GR01 Patent grant
CF01 Termination of patent right due to non-payment of annual fee

Granted publication date: 20210212

CF01 Termination of patent right due to non-payment of annual fee