CN212533236U - A kind of automatic processing machine with cotton storage function - Google Patents

A kind of automatic processing machine with cotton storage function Download PDF

Info

Publication number
CN212533236U
CN212533236U CN201922077455.4U CN201922077455U CN212533236U CN 212533236 U CN212533236 U CN 212533236U CN 201922077455 U CN201922077455 U CN 201922077455U CN 212533236 U CN212533236 U CN 212533236U
Authority
CN
China
Prior art keywords
cotton
waste
cotton storage
comb
storage box
Prior art date
Legal status (The legal status is an assumption and is not a legal conclusion. Google has not performed a legal analysis and makes no representation as to the accuracy of the status listed.)
Active
Application number
CN201922077455.4U
Other languages
Chinese (zh)
Inventor
何洪柱
崔中浩
倪敬达
邵松娟
Current Assignee (The listed assignees may be inaccurate. Google has not performed a legal analysis and makes no representation or warranty as to the accuracy of the list.)
Qingdao Hongda Textile Machinery Co Ltd
Original Assignee
Qingdao Hongda Textile Machinery Co Ltd
Priority date (The priority date is an assumption and is not a legal conclusion. Google has not performed a legal analysis and makes no representation as to the accuracy of the date listed.)
Filing date
Publication date
Application filed by Qingdao Hongda Textile Machinery Co Ltd filed Critical Qingdao Hongda Textile Machinery Co Ltd
Priority to CN201922077455.4U priority Critical patent/CN212533236U/en
Application granted granted Critical
Publication of CN212533236U publication Critical patent/CN212533236U/en
Active legal-status Critical Current
Anticipated expiration legal-status Critical

Links

Images

Landscapes

  • Preliminary Treatment Of Fibers (AREA)

Abstract

本实用新型涉及一种带储棉功能的回花回条自动处理机,包括储棉模块和回花回条处理模块,所述回花回条处理模块设置于储棉模块的下端;所述储棉模块包括储棉箱、设置于储棉箱入口处的输棉风机、设置于储棉箱上的纤维分离器、与储棉箱连接的滤尘管道、位于储棉箱下方的下棉箱及设置于下棉箱内的喂入罗拉。本实用新型的有益效果是实现回花回条等有效纤维自动处理,结构简单紧凑,对纤维开松柔和;减少纤维损伤,节省值车工工作量,降低生产成本。

Figure 201922077455

The utility model relates to an automatic processing machine for embroidered return strips with a cotton storage function, comprising a cotton storage module and an embroidered return strip processing module, wherein the embroidered return strip processing module is arranged at the lower end of the cotton storage module; The cotton module includes a cotton storage box, a cotton conveying fan arranged at the entrance of the cotton storage box, a fiber separator arranged on the cotton storage box, a dust filter pipe connected to the cotton storage box, a lower cotton box located under the cotton storage box, and a set of Feed rollers in the lower hopper. The beneficial effect of the utility model is to realize the automatic processing of the effective fibers such as the scallops, the structure is simple and compact, and the opening of the fibers is soft;

Figure 201922077455

Description

Cotton-waste and back-strip automatic processing machine with cotton storage function
Technical Field
The utility model belongs to the technical field of spinning machine, more specifically say, relate to a set of cotton back of cotton automatic processing machine of function is stored up in area.
Background
The generation of the cotton waste and the waste sliver in the whole-flow production process of the spinning mill is inevitable. At present, two modes of processing the waste cotton slivers in a spinning mill are available, one mode is that the waste cotton slivers and waste cotton processing equipment is manually fed into the spinning mill to be processed into cotton bales; secondly, the manual feeding blowing system has the problems of inconvenient operation and high fiber damage.
The existing equipment has the following problems:
the full-automatic cotton waste sliver processing machine is purely manually fed, the placement position of the equipment is fixed, and the full-automatic cotton waste sliver processing machine cannot give consideration to both cotton cleaning, cotton carding, drawing, roving and other waste slivers and cannot be used for an automatic processing system of the waste slivers.
SUMMERY OF THE UTILITY MODEL
In order to solve the technical problem, the utility model provides a cotton function's receipt automatic treatment machine is stored up in area, the purpose realizes effective fibre automatic treatment such as receipt, reduces the fibre damage, saves value car worker work load, reduction in production cost.
The technical scheme of the utility model is that:
the automatic waste cotton sliver processor with the cotton storage function comprises a cotton storage module and a waste cotton sliver processing module, wherein the waste cotton sliver processing module is arranged at the lower end of the cotton storage module; the cotton storage module comprises a cotton storage box, a cotton conveying fan arranged at the inlet of the cotton storage box, a fiber separator arranged on the cotton storage box, a dust filtering pipeline connected with the cotton storage box, a lower cotton box positioned below the cotton storage box and a feeding roller arranged in the lower cotton box.
Compared with the prior art, the automatic processor with the function of storing the waste paper clips is designed by the technical scheme, the continuous feeding of the waste paper clips can be ensured, and in addition, the dust removal treatment of the waste paper clips can be realized by the fiber separator.
Based on the above scheme, the utility model discloses following improvement has still been made:
furthermore, the waste cotton sliver processing module comprises a feeding flat curtain, a cotton pressing roller, two pairs of cotton feeding rollers and an opening roller with a card wire, which are used for processing the waste cotton slivers and are connected in sequence. In the technical improvement, the flat curtain and the cotton pressing roller are fed to control the conveying, and the waste cotton sliver fiber is not damaged; the two pairs of cotton feeding rollers are matched to easily tear the return strips; and the opening roller is used for opening and softening the fibers.
Further, the opening roller comprises a plurality of arc-shaped carding plate bodies and carding wires implanted on the carding plate bodies; the implantation angle of the comb needle is 65-90 degrees. In the technical improvement, the traditional card clothing is mainly used for processing fiber bundles or fiber layers, is not suitable for cotton blocks with larger waste cotton slivers, and is provided with an opening roller consisting of a carding plate with an implanted card wire in order to realize the soft opening of the waste cotton slivers; in addition, in order to facilitate the output of the twisted paper clips, a card wire with a large angle is adopted.
Furthermore, the plurality of arc-shaped comb plate bodies are divided into two groups, one group of comb plate bodies are light plates, comb pins are implanted into one group of comb plate bodies, and the two groups of comb plate bodies are distributed in a staggered and uniform mode. In the technical improvement, in order to prevent the winding of the return sliver, two carding plates are arranged, one carding plate is not provided with a card wire, and the other carding plate is provided with a card wire; the two comb plate bodies are evenly arranged in a staggered way.
Furthermore, a cotton position photoelectric switch is arranged in the lower cotton box; the device also comprises an electromagnetic valve arranged at the output end of the twisted-pattern and twisted-strip processing module. In the technical improvement, the cotton position photoelectric switch is used for detecting the storage amount of the waste cotton slivers in the lower cotton box, and then controlling the suction of the waste cotton slivers at the inlet of the cotton conveying pipeline.
Furthermore, the fiber separator exhausts air from four sides, and an exhaust outlet of the fiber separator is connected with a dust filtering pipeline. In the technical improvement, the fiber separator exhausts air from four sides, and the air outlet is connected with a dust filtering pipeline to realize the impurity removal of the return flower and the return strip.
The utility model has the advantages that: effective fiber automatic treatment such as cotton waste and cotton waste is realized, the structure is simple and compact, and the opening of the fiber is soft; reduce fiber damage, save the workload of the lathe workers and reduce the production cost.
Drawings
FIG. 1 is a schematic view of the overall structure of the present invention;
fig. 2 is the schematic view of the cross-sectional structure of the opening roller of the utility model.
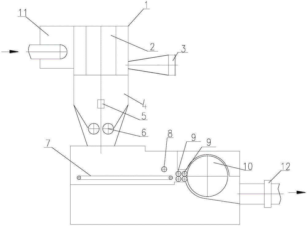
In the figure, 1, a cotton storage box; 2. a fiber separator; 3. a dust filtration pipeline; 4. discharging a cotton box; 5. a cotton position photoelectric switch; 6. a feeding roller; 7. feeding a flat curtain; 8. a cotton pressing roller; 9. a cotton feeding roller; 10. an opening roller; 11. a cotton conveying fan; 12. an electromagnetic valve; 101. a comb plate; 102. and (5) carding wires.
Detailed Description
As shown in fig. 1, an automatic machine with a cotton storing function for processing waste cotton slivers comprises a cotton storing module and a waste cotton slivers processing module, wherein the waste cotton slivers processing module is arranged at the lower end of the cotton storing module; the cotton storage module comprises cotton storage 1, a cotton conveying fan 11 arranged at the inlet of the cotton storage 1, a fiber separator 2 arranged on the cotton storage 1, a dust filtering pipeline 3 connected with the cotton storage 1, and a lower cotton box 4 positioned below the cotton storage 1 and arranged on a feeding roller 6 in the lower cotton box, wherein a cotton position photoelectric switch 5 is arranged in the lower cotton box 5; the fiber separator 2 exhausts air from four sides, and an exhaust outlet of the fiber separator is connected with the dust filtering pipeline 3.
The waste cotton back strip processing module comprises a feeding flat curtain 7, a cotton pressing roller 8, two pairs of cotton feeding rollers 9 and an opening roller 10 with a card wire, wherein the feeding flat curtain, the cotton pressing roller, the two pairs of cotton feeding rollers 9 and the opening roller are sequentially connected and used for processing waste cotton back strips, a waste cotton back strip output pipeline is arranged behind the opening roller, and an electromagnetic valve 12 is arranged on the output pipeline. As shown in fig. 2, the opening roller includes a plurality of arc-shaped comb plates 102 and comb pins 101 implanted on the comb plates; the implantation angle of the comb pins 501 is 65-90 degrees. The arc-shaped comb plate is divided into two groups, one group of comb plate is a light plate, comb pins are implanted into the other group of comb plate, and the two groups of comb plates are uniformly distributed in a staggered mode. In the embodiment, the number of the comb plate with the comb pins is the same as that of the comb plate without the comb pins, and the two comb plates are arranged in a staggered manner; in addition, 2 card boards without card needles can be arranged between the card boards with the card needles at intervals, and the card boards are specifically arranged according to the characteristics of the return pattern.
In the embodiment, the waste cotton slivers generated by the blowing-carding contact system are automatically connected into the waste cotton slivers automatic processor through the cotton conveying pipeline, the processed waste cotton slivers can be seamlessly connected into the blowing system, and the occupied space of equipment is small.

Claims (6)

1. The utility model provides a cotton function's cotton waste receipt automatic processing machine is stored up in area which characterized in that: the cotton waste processing device comprises a cotton storage module and a waste cotton waste processing module, wherein the waste cotton waste processing module is arranged at the lower end of the cotton storage module; the cotton storage module comprises a cotton storage box, a cotton conveying fan arranged at the inlet of the cotton storage box, a fiber separator arranged on the cotton storage box, a dust filtering pipeline connected with the cotton storage box, a lower cotton box positioned below the cotton storage box and a feeding roller arranged in the lower cotton box.
2. The machine according to claim 1, wherein: the waste cotton sliver processing module comprises a feeding flat curtain, a cotton pressing roller, two pairs of cotton feeding rollers and an opening roller with a card wire, which are used for processing waste cotton slivers and are connected in sequence.
3. The machine according to claim 2, wherein: the opening roller comprises a plurality of arc-shaped comb plate bodies and comb pins implanted on the comb plate bodies; the implantation angle of the comb needle is 65-90 degrees.
4. The machine according to claim 3, wherein: the arc-shaped comb plate is divided into two groups, one group of comb plate is a light plate, comb pins are implanted into the other group of comb plate, and the two groups of comb plates are uniformly distributed in a staggered mode.
5. The machine according to claim 1, wherein: a cotton position photoelectric switch is arranged in the lower cotton box; the device also comprises an electromagnetic valve arranged at the output end of the twisted-pattern and twisted-strip processing module.
6. The machine according to claim 1, wherein: the fiber separator exhausts air from four sides, and the exhaust outlet is connected with a dust filtering pipeline.
CN201922077455.4U 2019-11-27 2019-11-27 A kind of automatic processing machine with cotton storage function Active CN212533236U (en)

Priority Applications (1)

Application Number Priority Date Filing Date Title
CN201922077455.4U CN212533236U (en) 2019-11-27 2019-11-27 A kind of automatic processing machine with cotton storage function

Applications Claiming Priority (1)

Application Number Priority Date Filing Date Title
CN201922077455.4U CN212533236U (en) 2019-11-27 2019-11-27 A kind of automatic processing machine with cotton storage function

Publications (1)

Publication Number Publication Date
CN212533236U true CN212533236U (en) 2021-02-12

Family

ID=74525151

Family Applications (1)

Application Number Title Priority Date Filing Date
CN201922077455.4U Active CN212533236U (en) 2019-11-27 2019-11-27 A kind of automatic processing machine with cotton storage function

Country Status (1)

Country Link
CN (1) CN212533236U (en)

Cited By (1)

* Cited by examiner, † Cited by third party
Publication number Priority date Publication date Assignee Title
CN110923859A (en) * 2019-11-27 2020-03-27 青岛宏大纺织机械有限责任公司 Cotton-waste and back-strip automatic processing machine with cotton storage function

Cited By (1)

* Cited by examiner, † Cited by third party
Publication number Priority date Publication date Assignee Title
CN110923859A (en) * 2019-11-27 2020-03-27 青岛宏大纺织机械有限责任公司 Cotton-waste and back-strip automatic processing machine with cotton storage function

Similar Documents

Publication Publication Date Title
CN103806137B (en) Heterogeneous animal fiber opening box and equipment thereof
CN202247068U (en) Novel opening machine
CN212533236U (en) A kind of automatic processing machine with cotton storage function
CN109023602B (en) A high-production carding machine with sealed main carding area suitable for nonwovens spunlace production line
CN108677278A (en) A kind of special animal fiber joint point comb equipment
CN110923859A (en) Cotton-waste and back-strip automatic processing machine with cotton storage function
CN207699735U (en) A kind of carding machine of good working effect
CN212560566U (en) A kind of automatic processing system of return strip
CN207525395U (en) Carding machine
CN211689329U (en) Even comb and parallel cotton device of medical absorbent silver production usefulness
CN101260576A (en) Cotton carding machine
CN205205319U (en) Efficient carding machine
CN210420280U (en) Comb guide device for carding machine
CN209741328U (en) Multifunctional scutcher
CN214088769U (en) Two-way blowing device of carding machine removable cover
CN202369695U (en) Fiber carding machine
CN210215646U (en) Double carding machine
CN209890788U (en) Energy-efficient carding machine
CN212293892U (en) Semi-combing cotton carding equipment
CN110387605A (en) An assembly line environment-friendly air spinning device
CN210117469U (en) Ramie fiber carding machine
CN218621185U (en) Short fiber sucking device on carding machine compression roller
CN208183142U (en) The carding machine of crotch after a kind of reduction fiber
CN110923860B (en) Automatic processing method and system for return flowers and return strips
CN211079435U (en) Automatic carding machine

Legal Events

Date Code Title Description
GR01 Patent grant
GR01 Patent grant