CN212532793U - A special cooling pusher for potassium sulfate - Google Patents

A special cooling pusher for potassium sulfate Download PDF

Info

Publication number
CN212532793U
CN212532793U CN202020603775.9U CN202020603775U CN212532793U CN 212532793 U CN212532793 U CN 212532793U CN 202020603775 U CN202020603775 U CN 202020603775U CN 212532793 U CN212532793 U CN 212532793U
Authority
CN
China
Prior art keywords
potassium sulfate
worm
cooling
pusher
special
Prior art date
Legal status (The legal status is an assumption and is not a legal conclusion. Google has not performed a legal analysis and makes no representation as to the accuracy of the status listed.)
Expired - Fee Related
Application number
CN202020603775.9U
Other languages
Chinese (zh)
Inventor
马亮
张学伟
孔江
谭光明
董立梅
廖国志
武敏
Current Assignee (The listed assignees may be inaccurate. Google has not performed a legal analysis and makes no representation or warranty as to the accuracy of the list.)
Shandong Chengchuang Blue Sea Pharmaceutical Technology Co ltd
Original Assignee
Shandong Chengchuang Blue Sea Pharmaceutical Technology Co ltd
Priority date (The priority date is an assumption and is not a legal conclusion. Google has not performed a legal analysis and makes no representation as to the accuracy of the date listed.)
Filing date
Publication date
Application filed by Shandong Chengchuang Blue Sea Pharmaceutical Technology Co ltd filed Critical Shandong Chengchuang Blue Sea Pharmaceutical Technology Co ltd
Priority to CN202020603775.9U priority Critical patent/CN212532793U/en
Application granted granted Critical
Publication of CN212532793U publication Critical patent/CN212532793U/en
Expired - Fee Related legal-status Critical Current
Anticipated expiration legal-status Critical

Links

Images

Landscapes

  • Turbine Rotor Nozzle Sealing (AREA)

Abstract

本实用新型公开了一种硫酸钾专用冷却推料车,主要涉及硫酸钾生产设备技术领域,包括支架,在所述支架上设有轴承座,旋转电机通过轴承座与料仓内的转轴连接,在所述转轴上间隔等距设有螺旋叶片,相邻的间隔螺旋叶片之间的转轴上设有蜗杆,蜗杆一外部固定的涡轮连接,在所述料仓上部设有进料口、侧面设有出料口,通过多阶段,多阶梯的工况,能够同时对高温大块硫酸钾进行冷却降温、粉碎和输送,简化了设备结构,提高了生产效率。

Figure 202020603775

The utility model discloses a special cooling pusher for potassium sulfate, which mainly relates to the technical field of potassium sulfate production equipment. The rotating shaft is provided with helical blades at equal intervals, and the rotating shaft between the adjacent spaced helical blades is provided with a worm. The worm is connected with an externally fixed turbine. The upper part of the silo is provided with a feeding port and a side panel. There is a discharge port. Through the multi-stage and multi-step working conditions, it can simultaneously cool down, crush and transport the high-temperature bulk potassium sulfate, which simplifies the equipment structure and improves the production efficiency.

Figure 202020603775

Description

Special cooling pusher of potassium sulphate
Technical Field
The utility model mainly relates to the technical field of potassium sulfate production equipment, in particular to a special cooling pusher for potassium sulfate.
Background
At present, the main international production methods of potassium sulfate are the Mannheim method, the method for preparing potassium sulfate from salt lake brine and the method for preparing potassium sulfate from soluble sulfate ore. Compared with the Mannheim method, the process equipment for preparing the potassium sulfate by utilizing the salt lake water is simple, large-scale devices can be built, the investment is relatively low, the main defects are that the potassium yield is low, the one-step method yield is 57 percent, the two-step method yield is 78 percent, the competitiveness exists only under the conditions that the potassium chloride source is sufficient and the price is low, the high-quality line yield of the potassium sulfate is low, and the problems of discharge and pollution of byproducts cannot be well solved; the method for preparing the potassium sulfate by using the soluble sulfate ore cannot be widely popularized and applied because the double salt cannot be fully decomposed in the production process and the utilization rate of potassium is less than 60 percent and the defects of less potassium ore resources available in China, low grade, regional distribution, high difficulty in process separation treatment, poor product quality, low yield and the like are overcome, and most of domestic enterprises adopt the Mannheim method at present.
In the process of producing potassium sulfate by the Mannheim furnace method, potassium chloride and sulfuric acid react at high temperature to generate potassium sulfate and hydrogen chloride, and after the reaction is finished, the potassium sulfate is high-temperature and large block-shaped, and the high-temperature and large block-shaped potassium sulfate needs to be cooled down and crushed into small particles or powder. At present, high-temperature massive potassium sulfate is generally cooled, then crushed and conveyed, or the high-temperature massive potassium sulfate is firstly cooled, conveyed and then crushed, so that a plurality of devices are used, and a plurality of production flows are provided.
SUMMERY OF THE UTILITY MODEL
In view of the defects in the prior art, the utility model aims to provide a special cooling pusher for potassium sulfate.
In order to solve the technical problem, the utility model discloses a following technical scheme: the utility model provides a special cooling pusher of potassium sulphate which characterized in that: the worm-shaped material storage bin comprises a support, wherein a bearing seat is arranged on the support, a rotating motor is connected with a rotating shaft in the storage bin through the bearing seat, spiral blades are arranged on the rotating shaft at intervals in an equidistance mode, a worm is arranged on a rotating shaft between every two adjacent spiral blades at intervals, and a worm wheel fixed outside the worm is connected with the worm.
As a further improvement of the utility model, the bottom of one end of the cooling cavity is provided with a cooling inlet, and the top of the other end of the cooling cavity is provided with a cooling outlet.
As a further improvement of the utility model, the turbine is equipped with sealed flitch of scraping with the feed bin junction.
As a further improvement of the utility model, the turbine is fixed on the outer wall of the storage bin.
As a further improvement of the utility model, four directions or eight directions of worm are equipped with the turbine.
Compared with the prior art, the utility model discloses the beneficial effect who has does: the utility model discloses in, through the multistage, the operating mode of many ladders can cool off high temperature bold potassium sulphate, smash and carry simultaneously, has simplified equipment structure, has improved production efficiency.
Drawings
The invention will be further described with reference to the accompanying drawings:
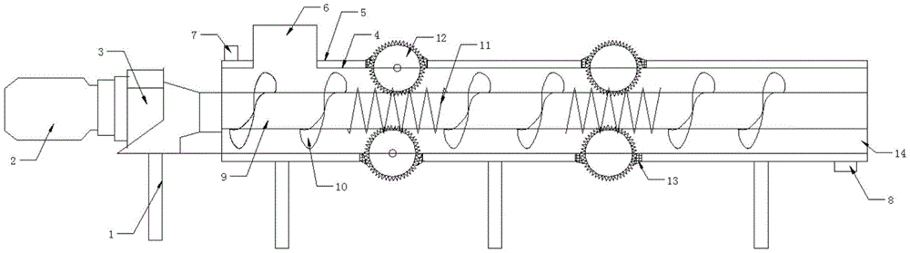
fig. 1 is a schematic structural view of a special cooling pusher for potassium sulfate according to the present invention;
in the figure: the device comprises a support 1, a rotating motor 2, a bearing seat 3, a bin 4, a cooling cavity 5, a feeding hole 6, a cooling outlet 7, a cooling inlet 8, a rotating shaft 9, a helical blade 10, a worm 11, a turbine 12, a sealing scraper 13 and a discharge hole 14.
Detailed Description
In order to make the technical solution and the advantageous effects of the present invention more clear, the present invention will be further described in detail with reference to the following embodiments.
Fig. 1 is the utility model relates to a special cooling pusher's of potassium sulphate structure schematic diagram, including support 1 be equipped with bearing frame 3 on the support 1, rotating electrical machines 2 is connected through pivot 9 in bearing frame 3 and the feed bin 4 the 4 outsides of feed bin are equipped with cooling chamber 5 one end bottom in cooling chamber 5 is equipped with cooling inlet 8, the other end top is equipped with cooling outlet 7 interval equidistance is equipped with helical blade 10 in the pivot 9, is equipped with worm 11 in the pivot 9 between the adjacent interval helical blade 10, and 11 an external fixation's of worm turbine 12 are connected, turbine 12 is fixed on the outer wall of feed bin 4, turbine 12 is equipped with sealed flitch 13 of scraping with feed bin 4 junction 4 feed bin 4 upper portion is equipped with feed inlet 6, the side is equipped with discharge gate 14.
The utility model discloses in, rotating electrical machines 2 drives pivot 9 rotation in the feed bin 4 through bearing frame 3, the material is carried under the helical blade 10 effect of pivot 9 from feed inlet 6 on 4 upper portions of feed bin, it carries out the cold district to be equipped with cooling chamber 5 through 4 outsides of feed bin, 5 one end bottoms in cooling chamber are equipped with cooling inlet 8, other end top is equipped with cooling outlet 7, increase cooling time, be equipped with worm 11 in the pivot 9 between the adjacent interval helical blade 10, 11 an external fixation's of worm turbine 12 is connected, the mode of adopting the turbine worm to connect is smashed four directions or eight directions of worm 11 are equipped with turbine 12, through multistage, the operating mode of multistep, can cool down, smash and carry high temperature bold potassium sulfate simultaneously, simplified equipment structure, improved production efficiency.
In the description of the present invention, it is to be noted that, unless otherwise explicitly specified or limited, the terms "mounted," "connected," and "connected" are to be construed broadly, and may be, for example, fixedly connected, detachably connected, or integrally connected; can be mechanically or electrically connected; they may be connected directly or indirectly through intervening media, or they may be interconnected between two elements. The specific meaning of the above terms in the present invention can be understood in specific cases to those skilled in the art. It should be understood that the detailed description and specific examples, while indicating the invention, are given by way of illustration only, not by way of limitation, since other embodiments will become apparent to those skilled in the art upon consideration of the following detailed description of the invention without any creative effort.

Claims (5)

1.一种硫酸钾专用冷却推料车,其特征在于:包括支架(1),在所述支架(1)上设有轴承座(3),旋转电机(2)通过轴承座(3)与料仓(4)内的转轴(9)连接,在所述转轴(9)上间隔等距设有螺旋叶片(10),相邻的间隔螺旋叶片(10)之间的转轴(9)上设有蜗杆(11),蜗杆(11)一外部固定的涡轮(12)连接,在所述料仓(4)上部设有进料口(6)、侧面设有出料口(14)。1. a special-purpose cooling pusher for potassium sulfate, is characterized in that: comprise support (1), be provided with bearing seat (3) on described support (1), and rotating electrical machine (2) is connected with bearing seat (3) by bearing seat (3). The rotating shafts (9) in the silo (4) are connected, and the rotating shafts (9) are provided with helical blades (10) at equal intervals, and the rotating shafts (9) between the adjacent spaced helical blades (10) are provided on the rotating shafts (9). There is a worm (11), the worm (11) is connected with an externally fixed turbine (12), a feeding port (6) is provided on the upper part of the silo (4), and a discharging port (14) is provided on the side. 2.根据权利要求1所述的一种硫酸钾专用冷却推料车,其特征在于:在冷却腔(5)一端底部设有冷却进口(8)、另一端顶部设有冷却出口(7)。2. A kind of special-purpose cooling pusher for potassium sulfate according to claim 1, characterized in that: a cooling inlet (8) is provided at the bottom of one end of the cooling cavity (5), and a cooling outlet (7) is provided at the top of the other end. 3.根据权利要求1所述的一种硫酸钾专用冷却推料车,其特征在于:所述涡轮(12)与料仓(4)连接处设有密封刮料板(13)。3. A kind of special-purpose cooling pusher for potassium sulfate according to claim 1, characterized in that: a sealing scraper (13) is provided at the connection between the turbine (12) and the silo (4). 4.根据权利要求1所述的一种硫酸钾专用冷却推料车,其特征在于:所述涡轮(12)固定在料仓(4)的外壁上。4. a kind of special-purpose cooling pusher for potassium sulfate according to claim 1, is characterized in that: described turbine (12) is fixed on the outer wall of silo (4). 5.根据权利要求1所述的一种硫酸钾专用冷却推料车,其特征在于:所述蜗杆(11)的四个方向或者八个方向设有涡轮(12)。5. A kind of special-purpose cooling pusher for potassium sulfate according to claim 1, characterized in that: four directions or eight directions of the worm (11) are provided with turbines (12).
CN202020603775.9U 2020-04-21 2020-04-21 A special cooling pusher for potassium sulfate Expired - Fee Related CN212532793U (en)

Priority Applications (1)

Application Number Priority Date Filing Date Title
CN202020603775.9U CN212532793U (en) 2020-04-21 2020-04-21 A special cooling pusher for potassium sulfate

Applications Claiming Priority (1)

Application Number Priority Date Filing Date Title
CN202020603775.9U CN212532793U (en) 2020-04-21 2020-04-21 A special cooling pusher for potassium sulfate

Publications (1)

Publication Number Publication Date
CN212532793U true CN212532793U (en) 2021-02-12

Family

ID=74518992

Family Applications (1)

Application Number Title Priority Date Filing Date
CN202020603775.9U Expired - Fee Related CN212532793U (en) 2020-04-21 2020-04-21 A special cooling pusher for potassium sulfate

Country Status (1)

Country Link
CN (1) CN212532793U (en)

Cited By (1)

* Cited by examiner, † Cited by third party
Publication number Priority date Publication date Assignee Title
CN120333006A (en) * 2025-06-20 2025-07-18 山东大华新材料集团有限公司 A cooling pusher for potassium sulfate transportation

Cited By (2)

* Cited by examiner, † Cited by third party
Publication number Priority date Publication date Assignee Title
CN120333006A (en) * 2025-06-20 2025-07-18 山东大华新材料集团有限公司 A cooling pusher for potassium sulfate transportation
CN120333006B (en) * 2025-06-20 2025-09-09 山东大华新材料集团有限公司 Cooling pusher for potassium sulfate conveying

Similar Documents

Publication Publication Date Title
CN212532793U (en) A special cooling pusher for potassium sulfate
CN202155243U (en) Special crushing and stirring machine for online recycling of filter-pressing coal slime
CN108402474A (en) Fruit juice production separator
CN206081726U (en) Novel high -efficient anticorrosive board -like continuous crystallizer of scraping
CN211070055U (en) Large-volume ternary anode material precursor reaction kettle with high stirring shearing force
CN221397382U (en) System for use useless silicon mud as raw materials preparation sodium silicate
CN201445928U (en) Spiral stirring blade structure
CN209917311U (en) Continuous multi-stage constant temperature difference cooling crystallizer
CN212594083U (en) Sodium sulfide continuous cooling crystallization system
CN217288385U (en) Continuous lithium-precipitating reaction kettle
CN216171925U (en) Retrieve dry product calcium formate dissolving device
CN214346287U (en) Dry-process granulator
CN207030979U (en) A kind of grey crystallization apparatus of soda ash weight
CN105689053B (en) A kind of raw material reducing mechanism for single crystal growing furnace
CN211070054U (en) Large-volume ternary cathode material precursor reaction kettle
CN212566846U (en) Lead melting furnace for recycling of aluminic acid storage battery
CN112284132A (en) Alloy lead processing equipment and processing technology thereof
CN209093152U (en) It is a kind of for stirring the Horizontal type stirring device of sauerkraut
CN108425006B (en) Spodumene concentrate calcined crushing line
CN220238580U (en) Stirring device of reaction kettle
CN217189921U (en) Extracting device for detecting content of tellurium in multi-metal ore
CN112410823A (en) Electrolyte for electrolysis in diamond production
CN222900252U (en) A high-temperature crystallization device for preparing high-purity sodium carbonate
CN210543465U (en) Crystallization kettle
CN207748857U (en) The system that spodumene concentrate produces lithium carbonate

Legal Events

Date Code Title Description
GR01 Patent grant
GR01 Patent grant
CF01 Termination of patent right due to non-payment of annual fee

Granted publication date: 20210212

CF01 Termination of patent right due to non-payment of annual fee