CN212501548U - A rack-type pallet system for prefabricated concrete components that can be quickly disassembled and assembled - Google Patents

A rack-type pallet system for prefabricated concrete components that can be quickly disassembled and assembled Download PDF

Info

Publication number
CN212501548U
CN212501548U CN202021668634.1U CN202021668634U CN212501548U CN 212501548 U CN212501548 U CN 212501548U CN 202021668634 U CN202021668634 U CN 202021668634U CN 212501548 U CN212501548 U CN 212501548U
Authority
CN
China
Prior art keywords
connecting rod
locking
quickly disassembled
type pallet
pallet system
Prior art date
Legal status (The legal status is an assumption and is not a legal conclusion. Google has not performed a legal analysis and makes no representation as to the accuracy of the status listed.)
Expired - Fee Related
Application number
CN202021668634.1U
Other languages
Chinese (zh)
Inventor
唐凯
刘建石
王涛
陈国财
赵洪波
Current Assignee (The listed assignees may be inaccurate. Google has not performed a legal analysis and makes no representation or warranty as to the accuracy of the list.)
Nanjing Anju Affordable Housing Construction Development Co ltd
Nanjing Yangtze River Urban Architectural Design Co Ltd
Original Assignee
Nanjing Anju Affordable Housing Construction Development Co ltd
Nanjing Yangtze River Urban Architectural Design Co Ltd
Priority date (The priority date is an assumption and is not a legal conclusion. Google has not performed a legal analysis and makes no representation as to the accuracy of the date listed.)
Filing date
Publication date
Application filed by Nanjing Anju Affordable Housing Construction Development Co ltd, Nanjing Yangtze River Urban Architectural Design Co Ltd filed Critical Nanjing Anju Affordable Housing Construction Development Co ltd
Priority to CN202021668634.1U priority Critical patent/CN212501548U/en
Application granted granted Critical
Publication of CN212501548U publication Critical patent/CN212501548U/en
Expired - Fee Related legal-status Critical Current
Anticipated expiration legal-status Critical

Links

Images

Landscapes

  • Pallets (AREA)

Abstract

本发明公开了一种可快速拆卸组装的砼预制构件货架式托盘系统,先将一层支架平放在地面上,然后将支腿放在支架上的正反面钢板上方处,支腿下方的下锁止装置拉住凸起栓钉一纵向锁紧定位,再将第二层支架平吊放在四个支腿上方,十字导向键插入支腿方管管口内进行纵向粗定位,然后移动锁紧手柄一,使卡勾一横向移动卡住第二层支架上的凸起栓钉二,进行横向锁紧定位,以此循环完成搭建,本发明结构新颖,每层有三种锁止结构,安装方便快捷,每层安装时间只需要1分钟左右,通过三种锁止结构,能够堆高码垛,为叠合板码放及运输提供可靠安全保证。

Figure 202021668634

The invention discloses a shelf-type pallet system of concrete prefabricated components that can be quickly disassembled and assembled. First, a layer of brackets are placed flat on the ground, and then the outriggers are placed above the front and back steel plates on the brackets. The locking device pulls the raised peg to lock and position it longitudinally, then hang the second-layer bracket flat on the top of the four outriggers, insert the cross guide key into the mouth of the square tube of the outrigger for longitudinal rough positioning, and then move and lock it. The handle 1 makes the hook 1 move laterally to lock the raised pegs on the second-layer bracket to perform lateral locking and positioning, and the construction is completed in a cycle. Fast, it only takes about 1 minute to install each layer. Through three locking structures, it can be stacked high, providing a reliable and safe guarantee for the stacking and transportation of laminated boards.

Figure 202021668634

Description

Concrete prefabricated part shelf type tray system capable of being disassembled and assembled quickly
Technical Field
The invention belongs to the field of stacking and transporting of laminated plates, and particularly relates to a shelf type tray system for concrete prefabricated parts, which can be quickly disassembled and assembled.
Background
Along with the continuous perfection of the green building construction technology and the increase of the popularization of the market, the concrete prefabricated member is widely applied in the fields of buildings, traffic, water conservancy and the like, and the variety is as follows: prefabricated reinforced concrete composite floor slab, wallboard, stair, balcony, piping lane, air conditioner board and enclosure etc. building prefabricated product, assembled reinforced concrete structure is one of the important direction of china's building structure development, and it is favorable to the development of the building industrialization of china, improves production efficiency energy saving, development green building. Compared with a cast-in-place construction method, the assembly type construction method is more in line with the requirements of land saving, energy saving, material saving, water saving, environmental protection and the like of green construction, reduces negative effects on the environment, including noise reduction, dust prevention, environmental pollution reduction, clean transportation, site interference reduction, water, electricity, material and other resources and energy, and follows the principle of sustainable development.
The tray is used as an indispensable logistics appliance in the loading, unloading, transporting and distributing processes of the concrete prefabricated part, and is widely applied to logistics and storage industries. At present, most concrete prefabricated part manufacturing enterprises use laminated slab trays which are single-layer, and because of the limitation of relevant standards, each tray of laminated slabs can only be stacked by 6-8 slabs, a large amount of stacking fields are required. It is statistically determined that the laminated slab occupies approximately 2/3% of the finished product yard area in the construction plant. And all concrete prefabricated part manufacturing enterprises have the common problem that the part stacking site is seriously insufficient.
Part of concrete prefabricated component manufacturing enterprises develop and use the laminated plate tray with two layers, and the supporting legs of the tray with two layers and the tray with the bottom layer are welded into a whole. The upper layer and the lower layer of the tray can not be used universally and can not be used flexibly. And the supporting legs are transported to a construction site along with the bottom layer tray and cannot be disassembled to be recycled in a factory, so that the investment of enterprises is increased.
At present, trays of a plurality of enterprises are placed in a storage yard in a marking mode, and no accurate positioning device is provided; in order to meet the management requirements of enterprises, more manpower and working hours are required to be consumed to arrange materials in order, otherwise, potential safety hazards are caused, and further improvement is required.
Disclosure of Invention
In order to solve the problems, the invention discloses a shelf type tray system of concrete prefabricated parts, which can be quickly disassembled and assembled, has novel structure and convenient installation, can stack and stack, and provides reliable safety guarantee for stacking and transporting laminated plates.
In order to achieve the purpose, the technical scheme of the invention is as follows:
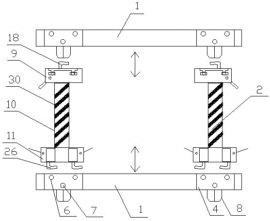
a shelf type tray system of a concrete prefabricated part capable of being quickly disassembled and assembled comprises a support (tray) and supporting legs, wherein the support is of a square frame structure formed by welding H-shaped steel, front and back steel plates are arranged on two sides of the H-shaped steel at the front end and the back end of the support, two horizontal protruding studs are arranged above the front and back steel plates, a protruding stud is arranged below the front and back steel plates, the protruding studs and the protruding studs are arranged in a triangular mode, four cross-shaped guide keys are arranged below the H-shaped steel, the supporting legs are divided into four groups, each supporting leg comprises an upper locking device, a square tube and a lower locking device, the upper locking device and the lower locking device are respectively arranged above and below the square tube, each upper locking device comprises a square box I, a locking handle I, a locking steel plate I, a connecting rod I and a connecting rod II, the upper side and the outer side of the square box I are provided with openings, the first connecting rod is arranged in the horizontal long hole, two ends of the first connecting rod are connected with the first locking steel plate, the cross-shaped guide key is inserted into the pipe orifice of the square pipe, the first locking handle is arranged at an opening at the outer side, the first locking handle is communicated with the first connecting rod through the second connecting rod, the second connecting rod is arranged at the outer side below the first connecting rod, a first horizontally inward clamping hook is arranged above the first locking steel plate, the first clamping hook is matched with the protruding stud, the first clamping hook is higher than the first square box, the lower locking device comprises a second square box, a second locking steel plate, a second locking handle, a third connecting rod and a fourth connecting rod, the front end and the rear end of the second square box are provided with a first symmetrical vertical long hole, the left side and the right side of the second square box are provided with a second symmetrical vertical long hole, the third connecting rod is arranged in the first vertical long hole, two ends of the, the second clamping hook is matched with the first protruding stud, the second clamping hook is lower than the second square box, the second locking handle is arranged in the second vertical long hole, the second locking handle is communicated with the third connecting rod through the fourth connecting rod, and the fourth connecting rod is arranged on the outer side of the third connecting rod.
As an improvement of the invention, a reinforcing rod and a hanging plate are arranged inside the bracket.
As an improvement of the invention, the first locking handle comprises two auxiliary rods and a middle cross rod, and the two auxiliary rods are communicated with the first connecting rod through the second connecting rod.
As an improvement of the invention, the second locking handle is an iron plate which is vertically arranged.
As an improvement of the invention, a slimming groove is arranged on the first horizontal long hole and the first vertical long hole.
As an improvement of the invention, the surface of the square tube is provided with a reflective strip.
As an improvement of the invention, the cross-shaped guide key is formed by vertically combining two iron plates, and a chamfer is arranged below the cross-shaped guide key.
A method for installing a shelf-type tray system of concrete prefabricated parts capable of being quickly disassembled and assembled comprises the following steps:
(1) a layer of the support is horizontally placed on the ground,
(2) placing the supporting legs above the front and back steel plates, lifting the locking handle II to enable the locking steel plate II to fall down, moving the supporting legs transversely, clamping the protruding stud I with the clamping hook II transversely, pressing the locking handle II downwards to enable the locking steel plate II to lift upwards, and longitudinally locking and positioning the clamping hook II and the protruding stud I;
(3) then the second layer of support is horizontally hung above the four supporting legs, the cross-shaped guide key is inserted into the pipe orifice of the square pipe of the supporting legs for longitudinal coarse positioning,
(4) moving the locking handle I to enable the first clamping hook to transversely move to clamp the second protruding stud on the second layer of support, and transversely locking and positioning;
(5) and (5) placing the support legs of the second layer on the support of the second layer, and repeating the steps (2) - (4) to complete the construction in a circulating way.
The invention has the beneficial effects that:
the shelf type tray system of the concrete prefabricated part capable of being rapidly disassembled and assembled, which is disclosed by the invention, is novel in structure, and each layer has three locking structures:
1. the cross-shaped guide key below the bracket is inserted into the pipe orifice of the square pipe of the next layer of supporting leg to carry out longitudinal coarse positioning,
2. two groups of symmetrical clamping hooks I move inwards transversely to clamp a second protruding stud on the upper layer of the support, and transverse locking and positioning are carried out; the upper bracket is prevented from moving upwards, so that the 'instant hinge' is formed. The method has the advantages that a, the bending moment of the bottom of the upper-layer column is not transmitted to the lower-layer column, and the superposition of unfavorable bending moment of the bottom of the bottommost column is avoided; b. when the upper layer bracket is subjected to horizontal acting force, under the premise of ensuring that secondary bending moment is not transmitted, the upper layer bracket can play a role in embedding and fixing when being deformed to a certain degree, and shares column bottom bending moment; c. the internal force of the H-shaped steel is different under two working conditions of lifting and falling of the support. Due to the existence of the instant hinge, the stress of the supporting leg cannot be influenced by the internal force redistribution of the H-shaped steel beam caused by the two working conditions of lifting and falling of the supporting leg.
3. The four clamping hooks II below the square box of the supporting leg move upwards to be longitudinally locked and positioned with the protruding studs I on the bracket; and forming an embedded end, and transmitting the bending moment, the shearing force and the vertical force of the bottom of the support leg to the H-shaped steel beam of the lower-layer support.
The whole installation is convenient and fast, each layer of installation time only needs about 1 minute, and through three kinds of locking structures, the goods shelf system that makes support, landing leg, locking mechanism, cross key socket joint constitute becomes a statically indeterminate structural system, can pile up the pile up neatly, can ensure safety.
Drawings
FIG. 1 is a schematic structural diagram of the present invention.
Fig. 2 is a schematic view of a stent according to the present invention.
Fig. 3 is a schematic view of an upper locking device according to the present invention.
Fig. 4 is a schematic view of a second square box of the lower locking device of the present invention.
FIG. 5 is a schematic view of a lower locking device according to the present invention.
List of reference numerals:
1. the support, 2, landing leg, 3, H shaped steel, 4, positive steel sheet, 5, reverse side steel sheet, 6, protruding peg one, 7, protruding peg two, 8, cross guide key, 9, upper locking device, 10, square pipe, 11, lower locking device, 12, square box one, 13, locking handle one, 14, locking steel sheet one, 15, connecting rod one, 16, connecting rod two, 17, horizontal slot hole, 18, trip one, 19, square box two, 20, locking steel sheet two, 21, locking handle two, 22, connecting rod three, 23, connecting rod four, 24, vertical slot hole one, 25, vertical slot hole two, 26, trip two, 27, stiffener, 28, hanger plate, 29, thin body recess, 30, reflection of light strip, 31, chamfer.
Detailed Description
The present invention will be further illustrated with reference to the accompanying drawings and specific embodiments, which are to be understood as merely illustrative of the invention and not as limiting the scope of the invention. It should be noted that the terms "front," "back," "left," "right," "upper" and "lower" used in the following description refer to directions in the drawings, and the terms "inner" and "outer" refer to directions toward and away from, respectively, the geometric center of a particular component.
As shown in the figures, the shelf type tray system for the concrete prefabricated parts capable of being disassembled and assembled quickly is built up layer by layer, the support 1 is placed firstly, the four supporting legs 2 are placed secondly, the support 1 is placed secondly, the support 1 and the supporting legs 2 are tightly connected together by a locking mechanism in the period, the installation is convenient and quick, the installation time of each layer is only about 1 minute, and the stacking can be carried out through three locking structures, so that the reliable safety guarantee is provided for stacking and transporting the stacked plates.
The invention relates to a shelf type tray system of a concrete prefabricated part capable of being quickly disassembled and assembled, which comprises a support 1 and supporting legs 2, wherein the support 1 is of a square frame structure formed by welding H-shaped steel 3, a front steel plate 4 and a back steel plate 5 are arranged on two sides of the H-shaped steel at the front end and the back end of the support 1, two horizontal protruding studs 6 are arranged above the front steel plate 4 and the back steel plate 5, a protruding stud 7 is arranged below the front steel plate 4 and the back steel plate 5, the protruding studs 6 and the protruding studs 7 are arranged in a triangular shape, four cross-shaped guide keys 8 are arranged below the H-shaped steel 3, the supporting legs 2 are four or more, each supporting leg 2 comprises an upper locking device 9, a square tube 10 and a lower locking device 11, the upper locking device 9 and the lower locking device 11 are respectively arranged above and below the square tube 10, the upper locking device 9 comprises a square box 12, a locking handle 13 and a locking, The locking device comprises a first connecting rod 15 and a second connecting rod 16, wherein the upper part and the outer side of the first square box 12 are provided with openings, the front end and the rear end of the first square box 12 are provided with horizontal long holes 17, the first connecting rod 15 is arranged in the horizontal long holes 17, the two ends of the first connecting rod 15 are connected with a first locking steel plate 14, a cross-shaped guide key 8 is inserted into the pipe orifice of the square pipe 10, a first locking handle 13 is arranged at the opening at the outer side, the first locking handle 13 is communicated with the first connecting rod 15 through the second connecting rod 16, the second connecting rod 16 is arranged at the outer side below the first connecting rod 15, a first horizontally inward clamping hook 18 is arranged above the first locking steel plate 14, the first clamping hook 18 is matched with a second protruding bolt 7, the first clamping hook 18 is higher than the first square box 12, the lower locking device 11 comprises a second square box 19, a second locking steel plate 20, a second locking handle 21, a third connecting, the two left and right sides of square box are equipped with the vertical slot hole two 25 of symmetry, three 22 settings of connecting rod are in vertical slot hole one 24, and two 20 locking steel sheet are connected at three 22 both ends of connecting rod, and two 20 below locking steel sheet are equipped with two 26 of the inward trip of level, two 26 trip are supporting with protruding peg 6, two 26 highly be less than two height of square box 19 of trip, two 21 settings of locking handle are in vertical slot hole two 25, and two 21 settings of locking handle are through four 23 intercommunication connecting rods three 22 of connecting rod, and four 23 settings of connecting rod are in the outside of three 22 of connecting rod.
When the device is installed, a layer of support 1 is horizontally placed on the ground, the four cross-shaped guide keys 8 are grounded, the supporting legs are placed above the front steel plate and the back steel plate, the locking handle II 21 is lifted up to enable the locking steel plate II 20 to fall down, the supporting legs are transversely moved, the clamping hook II 26 is transversely clamped on the protruding stud I6, then the locking handle II 21 is pressed down to enable the locking steel plate II 20 to be lifted up (the connecting rod IV 23 is fixed), and the clamping hook II 26 and the protruding stud I6 are longitudinally locked and positioned (four supporting legs are used for one layer); the second layer of support 1 is horizontally hung above the four support legs 2, and the cross-shaped guide key 8 is inserted into the pipe orifice of the support leg square pipe 10 for longitudinal coarse positioning; moving the first locking handle 13 (the second connecting rod 16 is fixed), so that the first clamping hook 18 moves transversely to clamp the second raised stud 7 on the second layer of support, and carrying out transverse locking and positioning; and (5) placing the support legs of the second layer on the support of the second layer, and repeating the steps (2) - (4) to complete the construction in a circulating way.
That is, the bracket 1 and the leg 2 are connected into a whole, and there are three kinds of locking structures:
1. the cross guide key 8 of support below inserts and carries out vertical coarse positioning in the pipe orifice of next one deck landing leg side pipe 10, and concrete operation is with the support hoist, falls down behind the alignment position, and the cross guide key 8 of support below is formed by two iron plate vertical welding, and cross guide key below is equipped with the chamfer, is convenient for insert fast side's pipe orifice in, and this step can let square pipe 10 be in vertical state, can not askew the burying potential safety hazard in the east down west.
2. Two groups of symmetrical clamping hooks I18 move inwards transversely to clamp the convex stud II 7 on the upper layer of the support, and transverse locking and positioning are carried out; it should be noted that: the first clamping hooks 18 on the four supporting legs 2 have two directions, as shown in the figure I, the two left clamping hooks are oppositely arranged right, the two left clamping hooks move leftwards to clamp the second protruding studs, the two right clamping hooks move rightwards to clamp the second protruding studs, and the whole body is transversely tightened to form an instant hinge. It has the functions of
a. The bending moment of the bottom of the upper-layer column is ensured not to be transmitted to the lower-layer column, and the superposition of unfavorable bending moment of the bottom of the bottommost column is avoided;
b. when the upper layer bracket is subjected to horizontal acting force, under the premise of ensuring that secondary bending moment is not transmitted, the upper layer bracket can play a role in embedding and fixing when being deformed to a certain degree, and shares column bottom bending moment;
c. the internal force of the H-shaped steel is different under two working conditions of lifting and falling of the support. Due to the existence of the instant hinge, the stress of the supporting leg cannot be influenced by the internal force redistribution of the H-shaped steel beam caused by the two working conditions of lifting and falling of the supporting leg.
3. Pressing the second locking handle 21 downwards to lift the second locking steel plate 20 upwards, and moving the second clamping hook 26 upwards to be longitudinally locked and positioned with the first protruding stud 6; the protruding stud 6 is transversely blocked by the second clamping hook 26 in the front, and the second clamping hook can be easily inserted into the supporting leg, but the stress is large when the second clamping hook is longitudinally lifted, so that the supporting leg 2 and the support form a whole (longitudinally), an embedded end is formed, and the bending moment, the shearing force and the vertical force of the bottom of the supporting leg are transmitted to the H-shaped steel beam of the lower-layer support.
The first clamping hook 18 and the second clamping hook 26 both have certain radians, are suitable for clamping the round heads of connecting rods or protruding studs, cannot be easily loosened, and are high in safety.
According to the invention, the horizontal long hole 17 and the vertical long hole 24 are provided with the slimming grooves 29, as shown in fig. 4, the distance between the two slimming grooves 29 is slightly smaller than the diameters of the connecting rod I15 and the connecting rod III 22, and under the action of the handle, the strokes of the connecting rod I15 and the connecting rod III 22 just exceed the slimming grooves 29, so that the locking effect is realized.
According to the invention, the reinforcing rods 27 are arranged on the inner framework of the support 1, so that the strength is increased, the service life is prolonged, and in addition, the hanging plate 28 is arranged on the support 1, so that the lifting is convenient.
The first locking handle 13 comprises two auxiliary rods and a middle cross rod, an operator pulls the cross rod to move up and down, and the two auxiliary rods are communicated with a first connecting rod 15 through a second connecting rod 16.
The second locking handle 21 is a vertically arranged iron plate and moves up and down in the second vertical long hole 25 to drive the second locking steel plate 20 to move up and down.
The surface of the square tube 10 is provided with the light reflecting strips, so that the light reflecting reminding effect is achieved when the light is weak, the light reflecting reminding effect is also striking at ordinary times, whether the supporting legs are inclined or not can be visually seen, and the safety can be improved.
The technical means disclosed in the invention scheme are not limited to the technical means disclosed in the above embodiments, but also include the technical scheme formed by any combination of the above technical features.

Claims (7)

1.一种可快速拆卸组装的砼预制构件货架式托盘系统,其特征在于:包括支架、支腿,所述支架为H型钢焊接而成的方形框架结构,支架前后两端的H型钢两侧设有正、反面钢板,所述正反面钢板上方设有两个水平方向的凸起栓钉一,下方设有一个凸起栓钉二,所述凸起栓钉一与凸起栓钉二呈三角形设置,H型钢下方设有四个十字导向键,所述支腿为四个/组,每个支腿包括上锁止装置、方管、下锁止装置,所述上锁止装置与下锁止装置分别设置在方管的上下方,所述上锁止装置包括方盒一、锁紧手柄一、锁紧钢板一、连接杆一、连接杆二,所述方盒一上方与外侧开口,方盒一前后端设有水平长孔,所述连接杆一设置在水平长孔内,连接杆一两端连接锁紧钢板一,所述十字导向键插入方管管口,锁紧手柄一设置在外侧开口处,锁紧手柄一通过连接杆二连通连接杆一,连接杆二设置在连接杆一的下方外侧,所述锁紧钢板一上方设有水平向内的卡勾一,所述卡勾一与凸起栓钉二相配套,所述卡勾一高度高于方盒一高度,所述下锁止装置包括方盒二、锁紧钢板二、锁紧手柄二、连接杆三、连接杆四,所述方盒二前后端设有对称的竖直长孔一,方盒二左右两侧设有对称的竖直长孔二,所述连接杆三设置在竖直长孔一内,连接杆三两端连接锁紧钢板二,锁紧钢板二下方设有水平向内的卡勾二,所述卡勾二与凸起栓钉一相配套,所述卡勾二高度低于方盒二高度,锁紧手柄二设置在竖直长孔二内,锁紧手柄二通过连接杆四连通连接杆三,连接杆四设置在连接杆三的外侧。1. a concrete prefabricated component rack-type pallet system that can be quickly disassembled and assembled, is characterized in that: comprise bracket, outrigger, and described bracket is the square frame structure that H-beam is welded, and the H-beam at the front and rear ends of the bracket is provided on both sides. There are positive and negative steel plates, two horizontal raised pegs are arranged above the front and back steel plates, and a second raised peg is arranged below, and the first and second raised pegs are in the shape of a triangle. There are four cross guide keys below the H-beam, the legs are four/group, and each leg includes an upper locking device, a square tube, and a lower locking device. The upper locking device is connected to the lower locking device. The locking devices are respectively arranged on the upper and lower sides of the square tube. The upper locking device includes a square box, a locking handle, a locking steel plate, a connecting rod, and a second connecting rod. The upper and outer sides of the square box are open. The front and rear ends of the square box are provided with horizontal long holes, the connecting rod is set in the horizontal long hole, the two ends of the connecting rod are connected to the locking steel plate, the cross guide key is inserted into the mouth of the square tube, and the locking handle is set At the outer opening, the first locking handle communicates with the first connecting rod through the second connecting rod, and the second connecting rod is arranged on the lower and outer side of the first connecting rod. The first hook is matched with the second raised peg, the height of the first hook is higher than the height of the first square box, and the lower locking device includes the second square box, the second locking steel plate, the second locking handle, the third connecting rod, the connection Rod 4, the front and rear ends of the square box 2 are provided with a symmetrical vertical long hole 1, the left and right sides of the square box 2 are provided with a symmetrical vertical long hole 2, and the connecting rod 3 is arranged in the vertical long hole 1, The three ends of the connecting rod are connected with the second locking steel plate, and the second locking hook is arranged horizontally inward under the second locking steel plate. Two heights, the second locking handle is arranged in the second vertical long hole, the second locking handle communicates with the third connecting rod through the fourth connecting rod, and the fourth connecting rod is arranged outside the third connecting rod. 2.根据权利要求1所述的一种可快速拆卸组装的砼预制构件货架式托盘系统,其特征在于:所述支架内部设有加强杆与吊板。2 . The shelf-type pallet system for prefabricated concrete components that can be quickly disassembled and assembled according to claim 1 , wherein a reinforcing rod and a hanger plate are arranged inside the bracket. 3 . 3.根据权利要求1所述的一种可快速拆卸组装的砼预制构件货架式托盘系统,其特征在于:所述锁紧手柄一包括两根辅助杆与中间横杆组成,两根辅助杆通过连接杆二连通连接杆一。3. The concrete prefabricated component rack-type pallet system that can be quickly disassembled and assembled according to claim 1, wherein the locking handle 1 comprises two auxiliary rods and a middle cross rod, and the two auxiliary rods pass through The connecting rod two is connected to the connecting rod one. 4.根据权利要求1所述的一种可快速拆卸组装的砼预制构件货架式托盘系统,其特征在于:所述锁紧手柄二为竖直设置的铁板。4 . The shelf-type pallet system for prefabricated concrete components that can be quickly disassembled and assembled according to claim 1 , wherein the second locking handle is a vertically arranged iron plate. 5 . 5.根据权利要求1所述的一种可快速拆卸组装的砼预制构件货架式托盘系统,其特征在于:所述水平长孔、竖直长孔一上设有瘦身凹槽。5 . The shelf-type pallet system for prefabricated concrete components that can be quickly disassembled and assembled according to claim 1 , wherein the horizontal long holes and the vertical long holes are provided with slimming grooves. 6 . 6.根据权利要求1所述的一种可快速拆卸组装的砼预制构件货架式托盘系统,其特征在于:所述方管表面设有反光条。6 . The rack-type pallet system for prefabricated concrete components that can be quickly disassembled and assembled according to claim 1 , wherein the surface of the square tube is provided with reflective strips. 7 . 7.根据权利要求1所述的一种可快速拆卸组装的砼预制构件货架式托盘系统,其特征在于:所述十字导向键是由两块铁板垂直组合而成的,十字导向键下方设有倒角。7. The concrete prefabricated component shelf-type pallet system that can be quickly disassembled and assembled according to claim 1, wherein the cross guide key is formed by vertically combining two iron plates, and a cross guide key is provided below the cross guide key. Chamfered.
CN202021668634.1U 2020-08-12 2020-08-12 A rack-type pallet system for prefabricated concrete components that can be quickly disassembled and assembled Expired - Fee Related CN212501548U (en)

Priority Applications (1)

Application Number Priority Date Filing Date Title
CN202021668634.1U CN212501548U (en) 2020-08-12 2020-08-12 A rack-type pallet system for prefabricated concrete components that can be quickly disassembled and assembled

Applications Claiming Priority (1)

Application Number Priority Date Filing Date Title
CN202021668634.1U CN212501548U (en) 2020-08-12 2020-08-12 A rack-type pallet system for prefabricated concrete components that can be quickly disassembled and assembled

Publications (1)

Publication Number Publication Date
CN212501548U true CN212501548U (en) 2021-02-09

Family

ID=74383603

Family Applications (1)

Application Number Title Priority Date Filing Date
CN202021668634.1U Expired - Fee Related CN212501548U (en) 2020-08-12 2020-08-12 A rack-type pallet system for prefabricated concrete components that can be quickly disassembled and assembled

Country Status (1)

Country Link
CN (1) CN212501548U (en)

Cited By (1)

* Cited by examiner, † Cited by third party
Publication number Priority date Publication date Assignee Title
CN111776419A (en) * 2020-08-12 2020-10-16 南京长江都市建筑设计股份有限公司 A rack-type pallet system for prefabricated concrete components that can be quickly disassembled and assembled

Cited By (1)

* Cited by examiner, † Cited by third party
Publication number Priority date Publication date Assignee Title
CN111776419A (en) * 2020-08-12 2020-10-16 南京长江都市建筑设计股份有限公司 A rack-type pallet system for prefabricated concrete components that can be quickly disassembled and assembled

Similar Documents

Publication Publication Date Title
CN104652671B (en) Prefabricated assembly-type concrete outer-hanging wallboard fixing device and installation method
CN107100358A (en) Cantilever bracket, frame body and construction method for non-unloading industrialized safety protection
CN210914947U (en) Hoisting and turning-over system suitable for large prefabricated stand board
CN212501548U (en) A rack-type pallet system for prefabricated concrete components that can be quickly disassembled and assembled
CN105155836A (en) Aluminum alloy formwork for buildings and method for applying aluminum alloy formwork
CN208618791U (en) A kind of construction formwork for placing
CN107299710A (en) Integrated prefabricated lightweight floor slab and its construction method
CN111846527B (en) Longitudinal locking device for laminated slab stacking rack
CN203877109U (en) Lifting storage rack for building prefabricated composite floor slabs
RU154791U1 (en) REINFORCED CONSTRUCTION COMPONENT OF BUILDING FROM CONTAINER MODULES
CN205990773U (en) A kind of construction discharging platform
CN213594778U (en) Upper locking mechanism of concrete prefabricated part shelf capable of being piled up
CN111776419A (en) A rack-type pallet system for prefabricated concrete components that can be quickly disassembled and assembled
CN207160354U (en) An integrated assembled lightweight floor slab
CN203547162U (en) Detachable stairway for construction
CN103508339B (en) Mobile tower flap seat
CN213331839U (en) Laminated plate tray and supporting leg lower end locking mechanism
CN110606435B (en) Suspension type electric hoist suitable for reverse construction method soil taking port transferring materials
CN212984662U (en) Self-climbing type discharging platform
CN112124745B (en) Upper locking mechanism of concrete prefabricated part goods shelf capable of piling up
CN211443114U (en) Prefabricated component of assembled building transports frame
CN208396326U (en) Concrete floor in due course construction material containing stage apparatus
CN209556320U (en) A steel structure work platform for super high-rise building core tube construction
CN211665925U (en) Precast concrete supporting beam
CN215208069U (en) Hanging hook convenient for hanging articles along with steel structure hoisting

Legal Events

Date Code Title Description
GR01 Patent grant
GR01 Patent grant
CF01 Termination of patent right due to non-payment of annual fee

Granted publication date: 20210209

CF01 Termination of patent right due to non-payment of annual fee