CN212501006U - 一种具有减震底座的无人机 - Google Patents

一种具有减震底座的无人机 Download PDF

Info

Publication number
CN212501006U
CN212501006U CN202020336029.8U CN202020336029U CN212501006U CN 212501006 U CN212501006 U CN 212501006U CN 202020336029 U CN202020336029 U CN 202020336029U CN 212501006 U CN212501006 U CN 212501006U
Authority
CN
China
Prior art keywords
unmanned aerial
aerial vehicle
movable
base
spring
Prior art date
Legal status (The legal status is an assumption and is not a legal conclusion. Google has not performed a legal analysis and makes no representation as to the accuracy of the status listed.)
Expired - Fee Related
Application number
CN202020336029.8U
Other languages
English (en)
Inventor
汪诗立
Current Assignee (The listed assignees may be inaccurate. Google has not performed a legal analysis and makes no representation or warranty as to the accuracy of the list.)
Individual
Original Assignee
Individual
Priority date (The priority date is an assumption and is not a legal conclusion. Google has not performed a legal analysis and makes no representation as to the accuracy of the date listed.)
Filing date
Publication date
Application filed by Individual filed Critical Individual
Priority to CN202020336029.8U priority Critical patent/CN212501006U/zh
Application granted granted Critical
Publication of CN212501006U publication Critical patent/CN212501006U/zh
Expired - Fee Related legal-status Critical Current
Anticipated expiration legal-status Critical

Links

Images

Landscapes

  • Vibration Prevention Devices (AREA)

Abstract

本实用新型属于无人机技术领域,尤其是一种具有减震底座的无人机,包括底座,所述底座上开设有活动腔,且底座的顶部沿竖直方向上开设有第一活动槽,活动腔与第一活动槽相连通,所述底座的上方设有无人机本体,无人机本体的底部固定安装有升降杆,升降杆的底部活动安装在第一活动槽内,所述第一活动槽的两侧内壁上均开设有第二活动槽,两个第二活动槽的底部内壁上均固定安装有第一弹簧的一端,第一弹簧的另一端固定安装有连接块,两个连接块与升降杆的两侧均固定安装有转杆。本实用新型结构简单、使用方便,经过两级减震缓冲,有效提高无人机本体的稳定性,避免了装置内部精密电子设备因震动出现的故障。

Description

一种具有减震底座的无人机
技术领域
本实用新型涉及无人机技术领域,尤其涉及一种具有减震底座的无人机。
背景技术
随着高新技术在武器装备上的广泛应用,无人机的研制取得了突破性的进展,并在几场局部战争中频频亮相,屡立战功,受到各国军界人士的高度赞誉,可以预言在21世纪战场上,人们将面临日益增多的无人机,军用无人机将会重塑21世纪的作战模式。
无人机在降落时由于自身重量、降落速度调节失误等因素会与地面发生碰撞或着地后发生弹跳等,底座的强烈振动会导致机器搭载的精密电子设备出现故障,因而降落时的减震缓冲装置尤为重要,为此,我们提出一种具有减震底座的无人机。
实用新型内容
本实用新型的目的是为了解决现有技术中存在的缺点,而提出的一种具有减震底座的无人机。
为了实现上述目的,本实用新型采用了如下技术方案:
一种具有减震底座的无人机,包括底座,所述底座上开设有活动腔,且底座的顶部沿竖直方向上开设有第一活动槽,活动腔与第一活动槽相连通,所述底座的上方设有无人机本体,无人机本体的底部固定安装有升降杆,升降杆的底部活动安装在第一活动槽内,所述第一活动槽的两侧内壁上均开设有第二活动槽,两个第二活动槽的底部内壁上均固定安装有第一弹簧的一端,第一弹簧的另一端固定安装有连接块,两个连接块与升降杆的两侧均固定安装有转杆,位于同一侧的两个转杆上转动安装有同一个连杆,所述升降杆的底部固定安装有横杆,横杆位于活动腔内且横杆的两端均固定安装有活动块。
优选的,两个第二活动槽相互远离的一侧内壁上均固定安装有滑轨,两个滑轨上均滑动安装有滑块,滑块与连接块固定连接。
优选的,所述活动腔的两侧内壁沿水平方向上固定安装有安装杆,两个安装杆内均活动安装有滑杆,两个滑杆相互靠近的一端均转动安装有滚轮,活动块靠近滚轮的一侧与滚轮相互接触。
优选的,活动块为曲面设置。
优选的,所述滑杆上套接安装有第二弹簧,第二弹簧的一端固定安装在滑杆上,另一端固定安装在安装杆上。
本实用新型中,所述一种具有减震底座的无人机,由于设置有底座、无人机本体、升降杆、第一活动槽、第二活动槽、横杆、活动腔、安装杆、活动块、连接块、转杆、滑轨、连杆、滑块、第一弹簧、滑杆、第二弹簧、滚轮,通过升降杆的向下移动,向下挤压第一弹簧,达到了一级减震的效果,通过活动块挤压滚轮,带动滑杆挤压第二弹簧达到二级减震的效果,本实用新型结构简单、使用方便,经过两级减震缓冲,有效提高无人机本体的稳定性,避免了装置内部精密电子设备因震动出现的故障。
附图说明
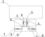
图1为本实用新型提出的一种具有减震底座的无人机的结构示意图;
图2为本实用新型提出的一种具有减震底座的无人机A部分的结构示意图;
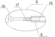
图3为本实用新型提出的一种具有减震底座的无人机B部分的结构示意图。
图中:1底座、2无人机本体、3升降杆、4第一活动槽、5第二活动槽、6横杆、7活动腔、8安装杆、9活动块、10连接块、11转杆、12滑轨、13连杆、14滑块、15第一弹簧、16滑杆、17第二弹簧、18滚轮。
具体实施方式
下面将结合本实用新型实施例中的附图,对本实用新型实施例中的技术方案进行清楚、完整地描述,显然,所描述的实施例仅仅是本实用新型一部分实施例,而不是全部的实施例。
实施例1
参照图1-3,一种具有减震底座的无人机,包括底座1,底座1上开设有活动腔7,且底座1的顶部沿竖直方向上开设有第一活动槽4,活动腔7与第一活动槽4相连通,底座1的上方设有无人机本体2,无人机本体2的底部固定安装有升降杆3,升降杆3的底部活动安装在第一活动槽4内,第一活动槽4的两侧内壁上均开设有第二活动槽5,两个第二活动槽5的底部内壁上均固定安装有第一弹簧15的一端,第一弹簧15的另一端固定安装有连接块10,两个连接块10与升降杆3的两侧均固定安装有转杆11,位于同一侧的两个转杆11上转动安装有同一个连杆13,升降杆的底部固定安装有横杆6,横杆6位于活动腔7内且横杆6的两端均固定安装有活动块9。
实施例2
参照图1-3,本实用新型中,两个第二活动槽5相互远离的一侧内壁上均固定安装有滑轨12,两个滑轨12上均滑动安装有滑块14,滑块14与连接块10固定连接,通过滑轨12与滑块14方便连接块10的上下移动。
本实用新型中,活动腔7的两侧内壁沿水平方向上固定安装有安装杆8,两个安装杆8内均活动安装有滑杆16,两个滑杆16相互靠近的一端均转动安装有滚轮18,活动块9靠近滚轮18的一侧与滚轮18相互接触,通过活动块9的向下移动,可以挤压滚轮18使得安装杆8向外移动。
本实用新型中,活动块9为曲面设置,曲面设置的作用是为了方便滚轮18可以在活动块9上滚动。
本实用新型中,滑杆16上套接安装有第二弹簧17,第二弹簧17的一端固定安装在滑杆16上,另一端固定安装在安装杆8上,第二弹簧17的作用是为了使得整个装置复位并达到了减震的作用。
本实用新型中,当无人机在降落时由于自身重量、降落速度调节失误等因素会与地面发生碰撞或着地后发生弹跳时,升降杆3向下移动,通过转杆11与连杆13的作用带动连接块10向下移动,通过第一弹簧达到了一级减震的作用,由于滚轮18的作用,当升降杆3向下移动的过程中,升降杆3底部的横杆6也会向下移动,带动活动块9向下移动,通过滚轮18的作用,使得两个滑杆16相相反的方向移动,挤压第二弹簧17,到达了二级减震的作用,本实用新型结构简单、使用方便,经过两级减震缓冲,有效提高无人机本体的稳定性,避免了装置内部精密电子设备因震动出现的故障。
以上所述,仅为本实用新型较佳的具体实施方式,但本实用新型的保护范围并不局限于此,任何熟悉本技术领域的技术人员在本实用新型揭露的技术范围内,根据本实用新型的技术方案及其实用新型构思加以等同替换或改变,都应涵盖在本实用新型的保护范围之内。

Claims (5)

1.一种具有减震底座的无人机,包括底座(1),其特征在于,所述底座(1)上开设有活动腔(7),且底座(1)的顶部沿竖直方向上开设有第一活动槽(4),活动腔(7)与第一活动槽(4)相连通,所述底座(1)的上方设有无人机本体(2),无人机本体(2)的底部固定安装有升降杆(3),升降杆(3)的底部活动安装在第一活动槽(4)内,所述第一活动槽(4)的两侧内壁上均开设有第二活动槽(5),两个第二活动槽(5)的底部内壁上均固定安装有第一弹簧(15)的一端,第一弹簧(15)的另一端固定安装有连接块(10),两个连接块(10)与升降杆(3)的两侧均固定安装有转杆(11),位于同一侧的两个转杆(11)上转动安装有同一个连杆(13),所述升降杆的底部固定安装有横杆(6),横杆(6)位于活动腔(7)内且横杆(6)的两端均固定安装有活动块(9)。
2.根据权利要求1所述的一种具有减震底座的无人机,其特征在于,两个第二活动槽(5)相互远离的一侧内壁上均固定安装有滑轨(12),两个滑轨(12)上均滑动安装有滑块(14),滑块(14)与连接块(10)固定连接。
3.根据权利要求1所述的一种具有减震底座的无人机,其特征在于,所述活动腔(7)的两侧内壁沿水平方向上固定安装有安装杆(8),两个安装杆(8)内均活动安装有滑杆(16),两个滑杆(16)相互靠近的一端均转动安装有滚轮(18),活动块(9)靠近滚轮(18)的一侧与滚轮(18)相互接触。
4.根据权利要求1所述的一种具有减震底座的无人机,其特征在于,活动块(9)为曲面设置。
5.根据权利要求3所述的一种具有减震底座的无人机,其特征在于,所述滑杆(16)上套接安装有第二弹簧(17),第二弹簧(17)的一端固定安装在滑杆(16)上,另一端固定安装在安装杆(8)上。
CN202020336029.8U 2020-03-17 2020-03-17 一种具有减震底座的无人机 Expired - Fee Related CN212501006U (zh)

Priority Applications (1)

Application Number Priority Date Filing Date Title
CN202020336029.8U CN212501006U (zh) 2020-03-17 2020-03-17 一种具有减震底座的无人机

Applications Claiming Priority (1)

Application Number Priority Date Filing Date Title
CN202020336029.8U CN212501006U (zh) 2020-03-17 2020-03-17 一种具有减震底座的无人机

Publications (1)

Publication Number Publication Date
CN212501006U true CN212501006U (zh) 2021-02-09

Family

ID=74441152

Family Applications (1)

Application Number Title Priority Date Filing Date
CN202020336029.8U Expired - Fee Related CN212501006U (zh) 2020-03-17 2020-03-17 一种具有减震底座的无人机

Country Status (1)

Country Link
CN (1) CN212501006U (zh)

Cited By (1)

* Cited by examiner, † Cited by third party
Publication number Priority date Publication date Assignee Title
CN112874765A (zh) * 2021-03-23 2021-06-01 江汉大学 一种具有减震功能的无人机

Cited By (1)

* Cited by examiner, † Cited by third party
Publication number Priority date Publication date Assignee Title
CN112874765A (zh) * 2021-03-23 2021-06-01 江汉大学 一种具有减震功能的无人机

Similar Documents

Publication Publication Date Title
CN212501006U (zh) 一种具有减震底座的无人机
CN110350123B (zh) 一种新能源汽车的电池避震装置
CN214061167U (zh) 一种道路桥梁工程防护装置
CN215107629U (zh) 一种建筑施工用减震支架
CN210484500U (zh) 一种卧式千斤顶减震后轮组件
CN210638890U (zh) 一种用于汽车转向节的试验台
CN210191809U (zh) 一种无人机降落缓冲装置
CN112357067A (zh) 一种无人机防震起落架
CN208898458U (zh) 一种网络通信施工登高装置
CN113882228B (zh) 一种道路桥梁用路面水平切缝装置
CN210235312U (zh) 一种固定翼无人机用全地形越野起落架
CN210371781U (zh) 减震器及移动车载质谱仪的减震设备及运输车辆
CN210191071U (zh) 移动底盘和机器人
CN220583423U (zh) 一种房屋建筑工程用测量装置
CN218780543U (zh) 一种单级双离心泵的安装固定结构
CN221144017U (zh) 一种具有缓冲效果的工业提升门
CN211459732U (zh) 一种轨道用的减震装置
CN214221884U (zh) 一种精密铸造的减震型不锈钢底座
CN218112622U (zh) 一种台面具有固定结构的电动平车
CN212377587U (zh) 一种煤矿机械用减震底座
CN215402479U (zh) 一种电梯曳引机加固基座缓冲装置
CN219365914U (zh) 一种移动式悬航门支撑架
CN221590342U (zh) 一种电力施工用登高架
CN215722230U (zh) 一种机场用无线电监测设备安装架
CN220643735U (zh) 一种公路养护用夯实装置

Legal Events

Date Code Title Description
GR01 Patent grant
GR01 Patent grant
CF01 Termination of patent right due to non-payment of annual fee
CF01 Termination of patent right due to non-payment of annual fee

Granted publication date: 20210209