CN212499102U - A molding device for sludge treatment in urban sewage plant - Google Patents

A molding device for sludge treatment in urban sewage plant Download PDF

Info

Publication number
CN212499102U
CN212499102U CN202020599899.4U CN202020599899U CN212499102U CN 212499102 U CN212499102 U CN 212499102U CN 202020599899 U CN202020599899 U CN 202020599899U CN 212499102 U CN212499102 U CN 212499102U
Authority
CN
China
Prior art keywords
wall
sludge treatment
forming device
municipal sewage
fixedly connected
Prior art date
Legal status (The legal status is an assumption and is not a legal conclusion. Google has not performed a legal analysis and makes no representation as to the accuracy of the status listed.)
Active
Application number
CN202020599899.4U
Other languages
Chinese (zh)
Inventor
毕婷婷
Current Assignee (The listed assignees may be inaccurate. Google has not performed a legal analysis and makes no representation or warranty as to the accuracy of the list.)
Anhui Nine Chen Environmental Technology Co ltd
Original Assignee
Anhui Nine Chen Environmental Technology Co ltd
Priority date (The priority date is an assumption and is not a legal conclusion. Google has not performed a legal analysis and makes no representation as to the accuracy of the date listed.)
Filing date
Publication date
Application filed by Anhui Nine Chen Environmental Technology Co ltd filed Critical Anhui Nine Chen Environmental Technology Co ltd
Priority to CN202020599899.4U priority Critical patent/CN212499102U/en
Application granted granted Critical
Publication of CN212499102U publication Critical patent/CN212499102U/en
Active legal-status Critical Current
Anticipated expiration legal-status Critical

Links

Images

Landscapes

  • Treatment Of Sludge (AREA)

Abstract

本实用新型公开了一种城市污水厂污泥处理用成型装置,包括底座,底座的顶部水平固定连接有壳体,壳体的内壁固定来连接有压缩机构,以及内部固定设置有电机,以及基面连通有出料机构和输料筒,以及位于出料机构下方的底部连通有出料口;输料筒的一端转动穿接有转轴,以及顶部的外壁连通有投料口;转轴的内部为中空设置,以及位于输料筒外部的一端安装有加热组件,以及位于输料筒内部的外壁设置有螺旋叶片,以及位于输料筒外部的外壁固定套接有第一皮带轮,本实用新型涉及污水处理技术领域。本实用新型,解决了城市污水厂污泥没有经过处理直接运输走扔掉,造成资源浪费,同时,带水的污泥运输也不方便,增加了运输成本的问题。

Figure 202020599899

The utility model discloses a molding device for sludge treatment in an urban sewage plant, which comprises a base, the top of the base is horizontally fixedly connected with a casing, the inner wall of the casing is fixedly connected with a compression mechanism, a motor is fixedly arranged inside, and a base The surface is connected with the discharging mechanism and the feeding cylinder, and the bottom under the discharging mechanism is connected with the discharging port; one end of the feeding cylinder is connected with the rotating shaft, and the outer wall of the top is connected with the feeding port; the interior of the rotating shaft is hollow A heating assembly is installed at one end outside the feeding cylinder, and the outer wall located inside the feeding cylinder is provided with a helical blade, and the outer wall located outside the feeding cylinder is fixedly sleeved with a first pulley. The utility model relates to sewage treatment technical field. The utility model solves the problem that the sludge of the urban sewage plant is directly transported and thrown away without being treated, which causes waste of resources, and meanwhile, the transport of the sludge with water is inconvenient and increases the transportation cost.

Figure 202020599899

Description

Forming device for sludge treatment of urban sewage plant
Technical Field
The utility model relates to a sewage treatment technical field especially relates to a forming device for sludge treatment of municipal sewage plant.
Background
In the prior art, the sludge of the municipal sewage plant is not directly transported and thrown away after being treated, so that the resource waste is caused, and meanwhile, the transportation of the sludge with water is inconvenient, so that the transportation cost is increased, and a forming device capable of forming a block-shaped object as a building material is improved for recycling the sludge.
SUMMERY OF THE UTILITY MODEL
In order to solve the problem that the sludge of the municipal sewage plant is not directly transported away and thrown away through treatment, so that the resource waste is caused, and simultaneously, the transportation of the sludge with water is inconvenient, so that the transportation cost is increased, the utility model aims to provide a forming device for the sludge treatment of the municipal sewage plant.
In order to achieve the above purpose, the utility model adopts the following technical scheme: a forming device for sludge treatment in an urban sewage plant comprises a base, wherein the top of the base is horizontally and fixedly connected with a shell, the inner wall of the shell is fixedly connected with a compression mechanism, a motor is fixedly arranged in the shell, a base surface is communicated with a discharging mechanism and a conveying cylinder, and the bottom of the base surface below the discharging mechanism is communicated with a discharging hole; one end of the material conveying cylinder is rotatably connected with a rotating shaft in a penetrating manner, the outer wall of the top is provided with an air outlet, and the outer wall of the top is communicated with a feeding port; the inside of pivot is the cavity setting to and be located the outside one end of feed delivery section of thick bamboo and install heating element, and be located the inside outer wall of feed delivery section of thick bamboo and be provided with helical blade, and be located the fixed cover of the outer wall of feed delivery section of thick bamboo outside and have connect first belt pulley.
Preferably, the compressing mechanism comprises a partition board fixedly arranged on the inner wall of the shell, a first hydraulic cylinder is fixedly connected to the side wall of the partition board, the first hydraulic cylinder is a telescopic end facing the direction of the discharge port, and the telescopic end is connected with a pressing plate in a shaft connection mode, wherein the pressing plate is connected with the inner wall of the shell in a sliding mode.
Preferably, discharge mechanism is including the holding tank with the casing intercommunication, the inner wall sliding connection of holding tank has row flitch, the top coupling of arranging the flitch has the second pneumatic cylinder that sets up fixedly in the holding tank top.
Preferably, the inner wall of the air outlet hole is provided with a metal mesh.
Preferably, the heating assembly comprises a cap rotatably sleeved with the outer wall of the rotating shaft, the inner portion of the cap is fixedly connected with a heating rod arranged inside the rotating shaft, and the outer wall of the cap is fixedly sleeved with a vertical plate fixedly connected with the shell.
Preferably, one end of the motor is coupled with a second belt pulley, and the second belt pulley and the first belt pulley are driven by a belt.
Preferably, a supporting plate is fixedly connected between the shell and the material conveying cylinder.
Preferably, the side wall of the discharge port is connected with a sealing plate in a sliding penetrating manner, and the side wall of the sealing plate is connected with a third hydraulic cylinder fixedly arranged at the bottom of the shell in a shaft connection manner.
Compared with the prior art, the utility model discloses the beneficial effect who realizes: drop into mud from throwing material port department, the motor rotates through the first belt pulley of second belt pulley drive, then pivot and helical blade rotate, with mud towards the inside transport of venthole, the heating rod heats simultaneously, pivot and helical blade are the heat conduction material, heat mud, evaporate most water, and from venthole discharge steam, then mud gets into in the casing, first pneumatic cylinder drive clamp plate operation, carry out compression molding to mud, then the discharge gate is opened to third pneumatic cylinder drive shrouding, second pneumatic cylinder drive row flitch is down, release mud from the discharge gate department.
Drawings
The invention is described in further detail below with reference to the following figures and detailed description:
fig. 1 is a schematic overall structure diagram of the present invention;
fig. 2 is a schematic structural diagram of the heating assembly of the present invention.
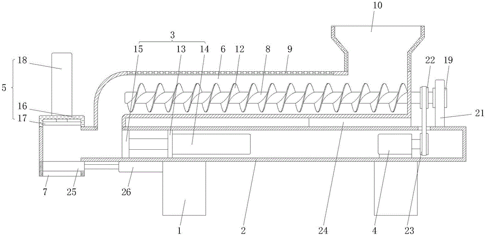
In the figure: 1-base, 2-shell, 3-compression mechanism, 4-motor, 5-discharge mechanism, 6-delivery cylinder, 7-discharge port, 8-rotating shaft, 9-air outlet, 10-feed port, 11-heating component, 12-helical blade, 13-clapboard, 14-first hydraulic cylinder, 15-pressing plate, 16-holding tank, 17-discharging plate, 18-second hydraulic cylinder, 19-cap, 20-heating rod, 21-vertical plate, 22-first belt pulley, 23-second belt pulley, 24-supporting plate, 25-sealing plate and 26-third hydraulic cylinder.
Detailed Description
The following description is provided for illustrative purposes, and other advantages and features of the present invention will become apparent to those skilled in the art from the following detailed description.
Please refer to fig. 1-2. It should be understood that the structure, ratio, size and the like shown in the drawings attached to the present specification are only used for matching with the content disclosed in the specification, so as to be known and read by those skilled in the art, and are not used for limiting the limit conditions that the present invention can be implemented, so that the present invention has no technical essential meaning, and any structure modification, ratio relationship change or size adjustment should still fall within the scope that the technical content disclosed in the present invention can cover without affecting the function that the present invention can produce and the purpose that the present invention can achieve. Meanwhile, the terms such as "upper", "lower", "left", "right", "middle" and "one" used in the present specification are for convenience of description, and are not intended to limit the scope of the present invention, and changes or adjustments of the relative relationship thereof may be made without substantial technical changes, and the present invention is also regarded as the scope of the present invention.
The utility model provides a technical scheme: a forming device for sludge treatment in an urban sewage plant comprises a base 1, wherein the top of the base 1 is horizontally and fixedly connected with a shell 2, the inner wall of the shell 2 is fixedly connected with a compression mechanism 3, a motor 4 is fixedly arranged in the shell, a base surface is communicated with a discharge mechanism 5 and a feed delivery cylinder 6, and the bottom of the base surface below the discharge mechanism 5 is communicated with a discharge hole 7; one end of the material conveying cylinder 6 is rotatably connected with a rotating shaft 8 in a penetrating manner, the outer wall of the top is provided with an air outlet 9, and the outer wall of the top is communicated with a feeding port 10; the inside of pivot 8 is the cavity setting to and be located the outside one end of feed delivery section of thick bamboo 6 and install heating element 11, and be located the inside outer wall of feed delivery section of thick bamboo 6 and be provided with helical blade 12, and be located the fixed first belt pulley 22 that has cup jointed of the outside outer wall of feed delivery section of thick bamboo 6.
Compressing mechanism 3 is including fixed baffle 13 that sets up in casing 2 inner wall, the first pneumatic cylinder 14 of lateral wall fixedly connected with of baffle 13, first pneumatic cylinder 14 is flexible end towards 7 directions of discharge gate, and flexible end coupling have with casing 2 inner walls be sliding connection's clamp plate 15.
Discharge mechanism 5 is including the holding tank 16 with casing 2 intercommunication, the inner wall sliding connection of holding tank 16 has row flitch 17, row flitch 17's top coupling has the second pneumatic cylinder 18 of fixed setting in the holding tank 16 top.
And a metal net is arranged on the inner wall of the air outlet 9.
The heating assembly 11 comprises a cover cap 19 rotatably sleeved with the outer wall of the rotating shaft 8, the inner portion of the cover cap 19 is fixedly connected with a heating rod 20 arranged inside the rotating shaft 8, and the outer wall of the cover cap 19 is fixedly sleeved with a vertical plate 21 fixedly connected with the shell 2.
One end of the motor 4 is coupled with a second belt pulley 23, and the second belt pulley 23 and the first belt pulley 22 are driven by a belt.
A supporting plate 24 is fixedly connected between the shell 2 and the material conveying cylinder 6.
The lateral wall of discharge gate 7 has worn sealing plate 25 in the slip, the lateral wall coupling of sealing plate 25 has the third pneumatic cylinder 26 of fixed setting in casing 2 bottom.
During the use, drop into mud from dog-house 10, motor 4 rotates through second belt pulley 23 drive first belt pulley 22, then pivot 8 and helical blade 12 rotate, with mud towards the inside transport of venthole 9, heating rod 20 heats simultaneously, pivot 8 and helical blade 12 are the heat conduction material, heat mud, evaporate most water, and discharge steam from venthole 9, then mud gets into in the casing 2, first pneumatic cylinder 14 drives the operation of clamp plate 15, carry out compression moulding to mud, then third pneumatic cylinder 26 drives shrouding 25 and opens discharge gate 7, second pneumatic cylinder 18 drives row flitch 17 and descends, release mud from discharge gate 7.
The above embodiments are merely illustrative of the principles and effects of the present invention, and are not to be construed as limiting the invention. Modifications and variations can be made to the above-described embodiments by those skilled in the art without departing from the spirit and scope of the present invention. Accordingly, it is intended that all equivalent modifications or changes which may be made by those skilled in the art without departing from the spirit and technical spirit of the present invention be covered by the claims of the present invention.

Claims (8)

1. The utility model provides a forming device for municipal sewage plant sludge treatment, includes base (1), its characterized in that: the top of the base (1) is horizontally and fixedly connected with a shell (2), the inner wall of the shell (2) is fixedly connected with a compression mechanism (3), a motor (4) is fixedly arranged in the shell, a base surface is communicated with a discharging mechanism (5) and a material conveying cylinder (6), and the bottom of the base surface below the discharging mechanism (5) is communicated with a discharging hole (7); one end of the material conveying cylinder (6) is rotatably connected with a rotating shaft (8) in a penetrating manner, the outer wall of the top is provided with an air outlet hole (9), and the outer wall of the top is communicated with a feeding port (10); the inside of pivot (8) is the cavity setting to and be located the outside one end of feed delivery cylinder (6) and install heating element (11), and be located the inside outer wall of feed delivery cylinder (6) and be provided with helical blade (12), and be located the fixed first belt pulley (22) that has cup jointed of outer wall of feed delivery cylinder (6) outside.
2. The forming device for sludge treatment in municipal sewage plants according to claim 1, wherein: compressing mechanism (3) including fixed baffle (13) that set up in casing (2) inner wall, the first pneumatic cylinder (14) of lateral wall fixedly connected with of baffle (13), first pneumatic cylinder (14) are flexible end towards discharge gate (7) direction, and flexible end coupling has clamp plate (15) for sliding connection with casing (2) inner wall.
3. The forming device for sludge treatment in municipal sewage plants according to claim 1, wherein: discharge mechanism (5) including holding tank (16) with casing (2) intercommunication, the inner wall sliding connection of holding tank (16) has row flitch (17), the top coupling of arranging flitch (17) has fixed second hydraulic cylinder (18) that set up in holding tank (16) top.
4. The forming device for sludge treatment in municipal sewage plants according to claim 1, wherein: and a metal net is arranged on the inner wall of the air outlet (9).
5. The forming device for sludge treatment in municipal sewage plants according to claim 1, wherein: heating element (11) including rotate the cap (19) that cup joints with pivot (8) outer wall, the inside fixedly connected with of cap (19) sets up in inside heating rod (20) of pivot (8), the outer wall of cap (19) is fixed to be cup jointed riser (21) that are fixed connection with casing (2).
6. The forming device for sludge treatment in municipal sewage plants according to claim 1, wherein: one end coupling of motor (4) has second belt pulley (23), second belt pulley (23) and first belt pulley (22) pass through belt transmission.
7. The forming device for sludge treatment in municipal sewage plants according to claim 1, wherein: a support plate (24) is fixedly connected between the shell (2) and the material conveying cylinder (6).
8. The forming device for sludge treatment in municipal sewage plants according to claim 1, wherein: the side wall of the discharge port (7) is connected with a sealing plate (25) in a sliding penetrating mode, and the side wall of the sealing plate (25) is connected with a third hydraulic cylinder (26) fixedly arranged at the bottom of the shell (2) in a shaft mode.
CN202020599899.4U 2020-04-18 2020-04-18 A molding device for sludge treatment in urban sewage plant Active CN212499102U (en)

Priority Applications (1)

Application Number Priority Date Filing Date Title
CN202020599899.4U CN212499102U (en) 2020-04-18 2020-04-18 A molding device for sludge treatment in urban sewage plant

Applications Claiming Priority (1)

Application Number Priority Date Filing Date Title
CN202020599899.4U CN212499102U (en) 2020-04-18 2020-04-18 A molding device for sludge treatment in urban sewage plant

Publications (1)

Publication Number Publication Date
CN212499102U true CN212499102U (en) 2021-02-09

Family

ID=74430663

Family Applications (1)

Application Number Title Priority Date Filing Date
CN202020599899.4U Active CN212499102U (en) 2020-04-18 2020-04-18 A molding device for sludge treatment in urban sewage plant

Country Status (1)

Country Link
CN (1) CN212499102U (en)

Cited By (1)

* Cited by examiner, † Cited by third party
Publication number Priority date Publication date Assignee Title
CN117382236A (en) * 2023-12-08 2024-01-12 江苏康泰环保股份有限公司 Sludge spreading and conveying equipment

Cited By (2)

* Cited by examiner, † Cited by third party
Publication number Priority date Publication date Assignee Title
CN117382236A (en) * 2023-12-08 2024-01-12 江苏康泰环保股份有限公司 Sludge spreading and conveying equipment
CN117382236B (en) * 2023-12-08 2024-02-02 江苏康泰环保股份有限公司 Sludge spreading and conveying equipment

Similar Documents

Publication Publication Date Title
CN112960884B (en) Dry-wet separating device for pigsty manure
CN212499102U (en) A molding device for sludge treatment in urban sewage plant
CN209877520U (en) Organic fertilizer conveying and drying device
CN205635327U (en) Sludge dewatering mummification forming device
CN214665886U (en) A microwave dryer for plant cat litter production
CN110260632A (en) Drying device is used in a kind of preparation of flame-resistant plastic-wood composite materials
CN209541343U (en) A kind of high-quality poultry and livestock feed self-circulating energy-saving drying unit
CN210718539U (en) Livestock and poultry excrement drying equipment
CN211903602U (en) Environment-friendly material drying system
CN210718556U (en) Drying device is used in preparation of fire-retardant wood-plastic composite
CN218523843U (en) Biphenyl alcohol hot air drying device
CN210070467U (en) Chinese-medicinal material raw materials drying device
CN212293266U (en) HF type rotation type solid-liquid separation machine
CN214634039U (en) A kind of coating preparation dehydration equipment
CN219251739U (en) Bubble eliminating device for adhesive
CN216998118U (en) Silt solidification dehydration carries flattening device
CN207227258U (en) Self-cleaning type sludge dewatering treatment environmental protecting device
CN219765534U (en) An organic fertilizer drying and crushing device
CN220906034U (en) Large vertical storage tank for corn seed storage
CN112665320A (en) Rotary blanking type functional food intermediate drying device and drying process thereof
CN218189493U (en) Sludge extrusion forming device with stirring effect
CN222556786U (en) Sludge collection device based on municipal wastewater treatment
CN218262318U (en) Organic fertilizer production equipment based on microbial fermentation
CN221233056U (en) Feeding equipment for polyethylene pipe extruder
CN214095290U (en) Wood powder drying machine for co-extruded wood-plastic plate

Legal Events

Date Code Title Description
GR01 Patent grant
GR01 Patent grant
CP03 Change of name, title or address

Address after: 230000 Anhui Province Hefei City Feixi County Economic Development Zone Hefei Innovation Science and Technology Park A2-1-5 West

Patentee after: Anhui nine Chen Environmental Technology Co.,Ltd.

Country or region after: China

Address before: 230000 Anhui Province Hefei City Feixi County Taohua Town Tangkou Road and Jiulong Road intersection south 600 meters

Patentee before: Anhui nine Chen Environmental Technology Co.,Ltd.

Country or region before: China

CP03 Change of name, title or address