CN212495729U - 一种便于定位的铝模板锯床 - Google Patents
一种便于定位的铝模板锯床 Download PDFInfo
- Publication number
- CN212495729U CN212495729U CN202021303685.4U CN202021303685U CN212495729U CN 212495729 U CN212495729 U CN 212495729U CN 202021303685 U CN202021303685 U CN 202021303685U CN 212495729 U CN212495729 U CN 212495729U
- Authority
- CN
- China
- Prior art keywords
- workstation
- sawing machine
- fixed block
- fixed
- machine convenient
- Prior art date
- Legal status (The legal status is an assumption and is not a legal conclusion. Google has not performed a legal analysis and makes no representation as to the accuracy of the status listed.)
- Expired - Fee Related
Links
- XAGFODPZIPBFFR-UHFFFAOYSA-N aluminium Chemical compound [Al] XAGFODPZIPBFFR-UHFFFAOYSA-N 0.000 title claims abstract description 23
- 229910052782 aluminium Inorganic materials 0.000 title claims abstract description 23
- 239000002994 raw material Substances 0.000 claims abstract description 60
- 238000005452 bending Methods 0.000 claims description 7
- 239000004411 aluminium Substances 0.000 abstract description 2
- 230000000694 effects Effects 0.000 abstract description 2
- 239000000463 material Substances 0.000 description 14
- 238000009415 formwork Methods 0.000 description 5
- 238000000034 method Methods 0.000 description 2
- 230000009286 beneficial effect Effects 0.000 description 1
- 238000010276 construction Methods 0.000 description 1
- 230000007547 defect Effects 0.000 description 1
- 238000013508 migration Methods 0.000 description 1
- 230000005012 migration Effects 0.000 description 1
- 230000000087 stabilizing effect Effects 0.000 description 1
Images
Landscapes
- Sawing (AREA)
Abstract
本申请涉及一种便于定位的铝模板锯床,包括工作台,工作台下方设置有圆锯,工作台上设置有供圆锯伸出工作台表面的切割槽,工作台上设置有固定块,原料件抵触在固定块的一侧,固定块上表面设置有刻度尺,固定块一端还设置有定位件,原料件端部抵在定位件上。本申请具有方便精确切割原料件的长度的效果。
Description
技术领域
本申请涉及铝模板加工设备的领域,尤其是涉及一种便于定位的铝模板锯床。
背景技术
铝模板是新一代模板系统,铝模板是由铝面板、支架和连接件三部分系统组成的通用配件,能组合拼装成不同尺寸的外形尺寸复杂的整体模架,解决了以往传统模板存在的缺陷,大大提高了施工效率。在铝模板成型前,需要将原料板切割成不同尺寸大小,便于加工拼装。
目前有相关技术公开了一种铝模板锯床,包括工作台,工作台的下方设置有圆锯床,在工作台上开设有供圆锯通过的切割槽,在工作台上设有驱动圆锯床水平移动的驱动装置。在工作台上设置有固定块,固定块上固定有气缸,气缸竖直设置。确定好原料件要切割的长度后,控制气缸,使气缸将原料件进行压紧。
针对上述中的相关技术,发明人认为存在有不便于精确确定原料件切割长度的缺陷。
实用新型内容
为了方便精确切割原料件的长度,本申请提供一种便于定位的铝模板锯床。
本申请提供的一种便于定位的铝模板锯床,采用如下的技术方案:
一种便于定位的铝模板锯床,包括工作台,工作台下方设置有圆锯,工作台上设置有供圆锯伸出工作台表面的切割槽,工作台上设置有固定块,原料件抵触在固定块的一侧,固定块上表面设置有刻度尺,固定块一端还设置有定位件,原料件端部抵在定位件上。
通过采用上述技术方案,参照刻度尺可确定原料件切割的长度,将原料件抵在定位件上,防止在切割的时候,原料件在工作台上滑动,使得切割精度更加准确。
优选的,所述定位件包括抵紧在固定块上的固定扣,固定扣与放置有原料件同侧的侧壁上连接有定位板,原料件端部抵在定位板边缘。
通过采用上述技术方案,定位板使固定扣避开压紧气缸,并伸入到固定块一侧,使其可限位的长度范围变大。
优选的,所述固定扣侧壁上固定有螺母,固定扣侧壁上有在螺母中央的孔,螺母(内螺纹连接有调节杆,调节杆穿过孔抵紧在固定块上。
通过采用上述技术方案,当确定限位位置后,旋紧旋紧杆,使固定扣的位置固定,操作方便。
优选的,所述定位板远离固定扣的一端设置有弯折板,弯折板和固定块侧壁之间构成插槽,原料件侧壁插入插槽中。
通过采用上述技术方案,使原料件在固定时更加稳定,防止原料件边缘从定位板一侧滑脱。
优选的,所述插槽宽度与原料件侧壁厚度相同。
通过采用上述技术方案,使原料件更加稳定被限位在插槽内,抵紧固定块和插槽,使原料件更加稳定。
优选的,所述固定块一端设置有螺杆,螺杆与工作台螺纹连接。
通过采用上述技术方案,旋下螺杆,固定块调整与切割槽之间的夹角,固定螺杆后,因此抵紧在固定块一侧的原料件倾斜放置在切割槽上方,即原料件被切下的角度可以调节。
优选的,所述工作台上设置有角度尺,角度尺与螺杆的轴心重合,角度尺的零刻度线与切割槽延长方向平行。
通过采用上述技术方案,角度尺方便在转动固定块时监看固定块所转动的角度,方便实用和调节。
优选的,所述圆锯设置在圆锯床上,在工作台下方设置沿切割槽长度延伸方向延长的滑轨,滑轨上滑动有滑动板,滑动板底面固定有竖直的托举气缸,托举气缸的输出端从滑动板伸出并与圆锯床底面固定,滑轨一端的工作台上设置有与滑轨延长方向平行的拉动气缸,拉动气缸的输出端与滑动板固定。
通过采用上述技术方案,需要切割原料件的时候,拉动气缸拉动圆锯床沿着切割槽滑动,并且托举气缸将圆锯床举起,圆锯的边缘即从切割槽中伸出,对原料件进行切割,操作方便。
综上所述,本申请包括以下至少一种有益技术效果:
1.参照刻度尺可确定原料件切割的长度,将原料件抵在定位件上,防止在切割的时候,原料件在工作台上滑动,使得切割精度更加准确;
2.原料件更加稳定被限位在插槽内,抵紧固定块和插槽,使原料件更加稳定。
附图说明
图1是本申请实施例1的整体结构示意图;
图2是本申请实施例1中圆锯床在工作台上滑动的结构示意图;
图3是本申请实施例1中拉动气缸与圆锯床的位置结构示意图;
图4是本申请实施例1中压紧气缸的结构示意图;
图5是本申请实施例1中原料件抵在定位板上的结构示意图;
图6是图1中A部分的局部放大示意图;
图7是本申请实施例2中原料件插入插槽中的结构示意图;
图8是本申请实施例2中角度尺的结构示意图。
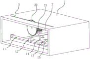
附图标记说明:1、工作台;11、滑轨;12、滑动板;13、托举气缸;14、定位柱;15、拉动气缸;2、圆锯床;21、电机;22、圆锯;3、切割槽;4、固定块;41、螺杆;5、压紧气缸;6、原料件;7、定位件;71、固定扣;72、螺母;73、旋紧杆;74、扳动杆;75、定位板;8、刻度尺;9、立柱;91、调节件;911、通孔;912、紧固螺栓;92、调节杆;10、插槽;101、弯折板;16、角度尺。
具体实施方式
以下结合附图对本申请作进一步详细说明。
本申请实施例公开一种便于定位的铝模板锯床。
实施例1
参照图1和图2,铝模板锯床包括工作台1,工作台1下方设置有圆锯床2,在圆锯床2上固定有电机21,电机21带动圆锯22转动。在工作台1上设置有供圆锯22从中伸出的切割槽3。在工作台1上表面设置有固定块4,切割时原料件6贴紧固定块4,并且原料件6位于切割槽3的上方,固定块4上固定有刻度尺8,方便观测刻度尺8来留取切割后原料件6的长度。
参照图2和图3,在工作台1下方设置有滑轨11,圆锯床2固定在一滑动板12上,滑动板12在滑轨11上滑动,并且滑动板12底面固定有竖直的托举气缸13,托举气缸13的输出端从滑动板12伸出并与圆锯床2底面固定,圆锯床2底面固定有与滑动板12滑动连接的定位柱14。滑轨11一端的工作台1上设置有与滑轨11延长方向平行的拉动气缸15,拉动气缸15的输出端与滑动板12固定。切割槽3位于圆锯22的正上方,并且切割槽3的延伸方向与圆锯22的滑动方向相同。
当切割时,拉动气缸15拉动圆锯床2沿着滑轨11滑动,同时托举气缸13推动圆锯床2升起,因此圆锯22从切割槽3伸出,并沿着切割槽3行进,并且电机21带动圆锯22转动,因此放置在切割槽3上方的原料件6被切割。
参照图4,固定块4一端竖直贯穿有螺杆41,在工作台1上开设有螺纹孔,螺杆41插入螺纹孔中并旋紧,因此固定块4即可固定在工作台1上。固定块4一侧边缘和切割槽3之间即形成一夹角,需要调节固定块4与切割槽3之间夹角的角度时,拧松螺杆41,转动固定块4,并重新旋紧螺杆41,使得原料件6与切割槽3之间的角度改变,从而根据需求对原料件6进行切割。参照图1,将原料件6放置在工作台1上,并且一侧侧壁抵触固定块4,原料件6即倾斜放置在切割槽3上,圆锯22(参照图2)从切割槽3经过后,原料件6一端被切削成斜面。
参照图4,为了在竖直方向上固定原料件6,在固定块4上设置两组压紧气缸5。在固定块4顶面固定有两竖直的立柱9,立柱9上设置有一调节件91,调节件91上开设有两轴心垂直的通孔911,通孔911两侧设置有与固定块4侧壁连通的开口,在开口上固定紧固螺栓912。立柱9贯穿入其中一通孔911中,并可相对滑动,旋紧紧固螺栓912,调节件91的高度即固定;压紧气缸5固定在一旋紧杆73上,旋紧杆73插入调节件91另一通孔911上,并固定,即可调节压紧气缸5在原料件6上方的位置,便于找到更好地压紧原料件6的位置。
参照图5,为了便于确定切割后原料件6的长度,在固定块4一端设置有定位件7。定位件7包括凹陷成槽状的固定扣71,固定扣71由上至下卡到固定块4外侧,参照图1和图6,在固定扣71一侧侧壁上固定有螺母72,固定扣71侧壁上有开设在螺母72中央的孔,螺母72内螺纹连接有旋紧杆73,旋紧杆73一端设置扳动杆74,方便转动调节杆73,使旋紧杆73穿过孔抵紧固定块4。
参照图5,固定扣71上连接有紧贴在固定块4侧壁上的定位板75。刻度尺8的零刻度线位于固定块4靠近切割槽3的一侧边缘上,而固定块4的一角贴紧切割槽3,定位板75靠近切割槽3一端的边缘对应刻度尺8上的某一刻度。将原料件6放置在工作台1上并且侧壁抵紧在固定块4侧壁上后,将原料件6底端边缘抵在定位板75的边缘,原料件6越过切割槽3的部分将被切掉,即固定块4靠近切割槽3的一端与定位板75之间的距离即为被切割后原料件6的长度。
因此可以调节固定扣71的位置,观测定位板75的边缘所对应的刻度尺8的刻度,即可确定留取的原料件6的长度。
实施例1的实施原理为:旋松螺杆41,转动固定块4,确定固定块4边缘与切割槽3之间的夹角后,旋紧螺杆41。
根据要得到的原料件6长度,调节固定扣71的位置,使定位板75的边缘指向要得到的原料件6的长度所对应的刻度,扳动扳动杆74,旋紧旋紧杆73,固定固定扣71和定位板75。
将原料件6放置在工作台1上,并且抵紧在固定块4侧壁上,原料架的底端抵紧在定位板75的边缘。
启动电机21和拉动气缸15,并且托举气缸13升起,转动的圆锯22从切割槽3中伸出并沿着切割槽3滑动,原料件6即被切割。
实施例2
参照图7和图8,与实施例1的不同之处在于,由于定位板75的边缘较薄,当原料件6抵触在定位板75边缘的时候,较不稳定,因此在定位板75远离固定扣71的一侧边缘设置插槽10,插槽10由一块与定位板75边缘连接的弯折板101与定位板75围成,弯折板101与固定块4之间的缝隙可供原料件6插入。插槽10宽度与原料件6的侧壁厚度相同,进一步稳固原料件6。
在工作台1上还设置有角度尺16,角度尺16的圆心与螺杆41轴心重合,角度尺16的零刻度线与切割槽3延长方向平行,因此在调节切割的原料件6角度的时候,方便观测,根据角度尺16标识调节固定块4。
实施例2的实施原理为:根据角度尺16的标识调节固定块4的角度,确定原料件6切割的角度。当切割原料件6时,将原料件6放置在工作台1上,并一侧侧壁抵紧固定块4,沿着固定块4侧壁相向于插槽10滑动,使原料件6的侧壁插入插槽10中。
以上均为本申请的较佳实施例,并非依此限制本申请的保护范围,故:凡依本申请的结构、形状、原理所做的等效变化,均应涵盖于本申请的保护范围之内。
Claims (8)
1.一种便于定位的铝模板锯床,包括工作台(1),工作台(1)下方设置有圆锯(22),工作台(1)上设置有供圆锯(22)伸出工作台(1)表面的切割槽(3),工作台(1)上设置有固定块(4),原料件(6)抵触在固定块(4)的一侧,其特征在于:固定块(4)上表面设置有刻度尺(8),固定块(4)一端还设置有定位件(7),原料件(6)端部抵在定位件(7)上。
2.根据权利要求1所述的一种便于定位的铝模板锯床,其特征在于:所述定位件(7)包括抵紧在固定块(4)上的固定扣(71),固定扣(71)与放置有原料件(6)同侧的侧壁上连接有定位板(75),原料件(6)端部抵在定位板(75)边缘。
3.根据权利要求2所述的一种便于定位的铝模板锯床,其特征在于:所述固定扣(71)侧壁上固定有螺母(72),固定扣(71)侧壁上有在螺母(72)中央的孔,螺母(72)内螺纹连接有调节杆(73),调节杆(73)穿过孔抵紧在固定块(4)上。
4.根据权利要求2所述的一种便于定位的铝模板锯床,其特征在于:所述定位板(75)远离固定扣(71)的一端设置有弯折板(101),弯折板(101)和固定块(4)侧壁之间构成插槽(10),原料件(6)侧壁插入插槽(10)中。
5.根据权利要求4所述的一种便于定位的铝模板锯床,其特征在于:所述插槽(10)宽度与原料件(6)侧壁厚度相同。
6.根据权利要求1所述的一种便于定位的铝模板锯床,其特征在于:所述固定块(4)一端设置有螺杆(41),螺杆(41)与工作台(1)螺纹连接。
7.根据权利要求6所述的一种便于定位的铝模板锯床,其特征在于:所述工作台(1)上设置有角度尺(16),角度尺(16)与螺杆(41)的轴心重合,角度尺(16)的零刻度线与切割槽(3)延长方向平行。
8.根据权利要求1所述的一种便于定位的铝模板锯床,其特征在于:所述圆锯(22)设置在圆锯床(2)上,在工作台(1)下方设置沿切割槽(3)长度延伸方向延长的滑轨(11),滑轨(11)上滑动有滑动板(12),滑动板(12)底面固定有竖直的托举气缸(13),托举气缸(13)的输出端从滑动板(12)伸出并与圆锯床(2)底面固定,滑轨(11)一端的工作台(1)上设置有与滑轨(11)延长方向平行的拉动气缸(15),拉动气缸(15)的输出端与滑动板(12)固定。
Priority Applications (1)
| Application Number | Priority Date | Filing Date | Title |
|---|---|---|---|
| CN202021303685.4U CN212495729U (zh) | 2020-07-06 | 2020-07-06 | 一种便于定位的铝模板锯床 |
Applications Claiming Priority (1)
| Application Number | Priority Date | Filing Date | Title |
|---|---|---|---|
| CN202021303685.4U CN212495729U (zh) | 2020-07-06 | 2020-07-06 | 一种便于定位的铝模板锯床 |
Publications (1)
| Publication Number | Publication Date |
|---|---|
| CN212495729U true CN212495729U (zh) | 2021-02-09 |
Family
ID=74434155
Family Applications (1)
| Application Number | Title | Priority Date | Filing Date |
|---|---|---|---|
| CN202021303685.4U Expired - Fee Related CN212495729U (zh) | 2020-07-06 | 2020-07-06 | 一种便于定位的铝模板锯床 |
Country Status (1)
| Country | Link |
|---|---|
| CN (1) | CN212495729U (zh) |
-
2020
- 2020-07-06 CN CN202021303685.4U patent/CN212495729U/zh not_active Expired - Fee Related
Similar Documents
| Publication | Publication Date | Title |
|---|---|---|
| CN208976550U (zh) | 一种铝合金板材折弯装置 | |
| CN201807905U (zh) | 车刀快速准确安装装置 | |
| CN206085222U (zh) | 一种自动化的木材切割装置 | |
| CN212495729U (zh) | 一种便于定位的铝模板锯床 | |
| CN107160442A (zh) | 一种成型板切边机 | |
| CN202517303U (zh) | 一种标准试片加工夹具 | |
| CN217453023U (zh) | 一种新型的十字形快速定位组合装置 | |
| CN215392805U (zh) | 一种切割机的定位装置 | |
| CN209888263U (zh) | 一种同轨双刀式手动纸板开槽机 | |
| CN222037180U (zh) | 一种手工激光切割枪头倒角工装 | |
| CN219902480U (zh) | 一种木材直边机 | |
| CN218903797U (zh) | 一种铝模板加工用可调式夹紧装置 | |
| CN216607452U (zh) | 一种轴承生产用切割装置 | |
| CN222958926U (zh) | 一种水泥纤维板切割装置 | |
| CN220534281U (zh) | 贴合机便携式分条治具 | |
| CN217749952U (zh) | 一种光纤激光切割机用可调式底座 | |
| CN220740239U (zh) | 布料器支架加工定位装夹工装 | |
| CN212885445U (zh) | 一种可灵活调节角度的铜棒切割支架 | |
| CN219336179U (zh) | 一种童车用铝合金支架的斜口切割工装 | |
| CN216326765U (zh) | 一种简易cnc夹持工装 | |
| CN219190332U (zh) | 电缆附件切割装置 | |
| CN217858913U (zh) | 一种不锈钢钢板的生产装置 | |
| CN218398570U (zh) | 一种胶合板生产用板材切割装置 | |
| CN223367975U (zh) | 一种标识牌加工用精准冲孔装置 | |
| CN220479905U (zh) | 一种半挂车鞍座开口端盖切边模具 |
Legal Events
| Date | Code | Title | Description |
|---|---|---|---|
| GR01 | Patent grant | ||
| GR01 | Patent grant | ||
| CF01 | Termination of patent right due to non-payment of annual fee |
Granted publication date: 20210209 |
|
| CF01 | Termination of patent right due to non-payment of annual fee |