CN212495568U - Mechanical part drilling equipment - Google Patents

Mechanical part drilling equipment Download PDF

Info

Publication number
CN212495568U
CN212495568U CN202020870934.1U CN202020870934U CN212495568U CN 212495568 U CN212495568 U CN 212495568U CN 202020870934 U CN202020870934 U CN 202020870934U CN 212495568 U CN212495568 U CN 212495568U
Authority
CN
China
Prior art keywords
dust removal
removal device
slide rail
top plate
mechanical parts
Prior art date
Legal status (The legal status is an assumption and is not a legal conclusion. Google has not performed a legal analysis and makes no representation as to the accuracy of the status listed.)
Active
Application number
CN202020870934.1U
Other languages
Chinese (zh)
Inventor
王德强
Current Assignee (The listed assignees may be inaccurate. Google has not performed a legal analysis and makes no representation or warranty as to the accuracy of the list.)
Chongqing Huanmin Technology Co.,Ltd.
Original Assignee
Chongqing Bishan Honghai Machinery Parts Co ltd
Priority date (The priority date is an assumption and is not a legal conclusion. Google has not performed a legal analysis and makes no representation as to the accuracy of the date listed.)
Filing date
Publication date
Application filed by Chongqing Bishan Honghai Machinery Parts Co ltd filed Critical Chongqing Bishan Honghai Machinery Parts Co ltd
Priority to CN202020870934.1U priority Critical patent/CN212495568U/en
Application granted granted Critical
Publication of CN212495568U publication Critical patent/CN212495568U/en
Active legal-status Critical Current
Anticipated expiration legal-status Critical

Links

Images

Landscapes

  • Cooling Or The Like Of Electrical Apparatus (AREA)

Abstract

本实用新型公开了一种机械零部件钻孔设备,涉及钻孔设备技术领域,包括工作台,所述工作台的下端外表面设置有支架,所述工作台的上端外表面设置有滑轨与支撑板。本实用新型所述的一种机械零部件钻孔设备,通过滑轨与滑块的设置,滑轨与滑块在使用时有益于根据不同尺寸大小机械零部件进行调整滑块位置,使其能够更好的对机械零部件进行放置,且可通过滑块在滑轨上进行移动,通过降温装置的设置,降温装置在使用时有益于对钻头进行降温,在使用时有益于延长钻头的使用寿命,通过除尘装置的设置,除尘装置在使用时有益于对钻孔产生的粉尘进行收集清理,在使用时可使工作环境更加整洁,使用的效果相对于传统方式更好。

Figure 202020870934

The utility model discloses a drilling equipment for mechanical parts, which relates to the technical field of drilling equipment. support plate. In the drilling equipment for mechanical parts according to the utility model, through the arrangement of the slide rail and the slide block, the slide rail and the slide block are beneficial to adjust the position of the slide block according to the mechanical parts of different sizes during use, so that the slide rail and the slide block can be used to adjust the position of the slide block. The mechanical parts can be placed better, and the slider can be moved on the slide rail. Through the setting of the cooling device, the cooling device is beneficial to cooling the drill bit when in use, and it is beneficial to prolong the service life of the drill bit. , Through the setting of the dust removal device, the dust removal device is beneficial to collect and clean the dust generated by the drilling when in use, and can make the working environment more tidy and the use effect is better than the traditional method.

Figure 202020870934

Description

Mechanical part drilling equipment
Technical Field
The utility model relates to a drilling equipment technical field, concretely relates to machine parts drilling equipment.
Background
The mechanical part, also called mechanical element, is the basic element that constitutes the machine and is a non-detachable single piece that constitutes the machine and the machine.
Mechanical parts are usually needed to drill in the machining process of the mechanical parts, but when the existing drilling equipment is used, when a drill bit works for a long time with the mechanical parts, the drill bit is easy to generate high heat, the service life of the drill bit is easy to break, the existing drilling equipment is inconvenient to collect drilled dust when in use, and the existing drilling equipment is inconvenient to move and place the mechanical parts, so that the mechanical parts drilling equipment is provided.
SUMMERY OF THE UTILITY MODEL
The utility model discloses a main aim at provides a machine parts drilling equipment can effectively solve the problem in the background art.
In order to achieve the above purpose, the utility model adopts the following technical scheme: a mechanical part drilling device comprises a workbench, wherein a support is arranged on the outer surface of the lower end of the workbench, a slide rail and a support plate are arranged on the outer surface of the upper end of the workbench, the support plate is positioned on two sides of the slide rail, a slide block is arranged on the outer surface of the upper end of the slide rail, a placing support block is arranged on the outer surface of the upper end of the slide block, a top plate is arranged on the outer surface of the upper end of the support plate, a cooling device, a control electric box and a dust removing device are arranged on the outer surface of the upper end of the top plate, the cooling device is positioned on one side of the control electric box, the dust removing device is positioned on the other side of the control electric box, an electric push rod is arranged on the outer surface of the lower end of the top plate, a control panel is arranged on the, the outer surface of the lower end of the water pump is provided with a drainage tube, the outer surface of one end of the drainage tube is provided with a high-pressure atomizing spray head, the outer surface of the upper end of the dust removal device is provided with a fan box, an exhaust fan is arranged inside the fan box, a dust collection net is arranged inside the dust removal device, a closed cleaning opening is formed in the outer surface of one side of the dust removal device, an air pipe is arranged on the outer surface of the lower end of the dust removal device, the outer surface of one end of the air pipe is provided with a dust collection head, the outer wall of the electric push rod is provided with a power motor, an inner movable rod is arranged inside the electric push.
Preferably, a cross bolt is arranged between the workbench and the slide rail, the outer surface of the upper end of the workbench is detachably connected with the outer surface of the lower end of the slide rail through the cross bolt, a sliding groove is arranged between the slide rail and the slide block, and the outer surface of the upper end of the slide rail is movably connected with the outer surface of the lower end of the slide block through the sliding groove.
Preferably, a strong glue is arranged between the sliding block and the placing support block, the outer surface of the upper end of the sliding block is fixedly connected with the outer surface of the lower end of the placing support block through the strong glue, the placing support block is made of composite rubber, and the number of the sliding blocks is two.
Preferably, be provided with the rice word bolt between roof and the heat sink, the upper end surface of roof can be dismantled through the lower extreme surface of rice word bolt and heat sink and be connected, be provided with the fixed slot between heat sink and the water pump, the lower extreme internal surface of heat sink can be dismantled through the lower extreme surface of fixed slot and water pump and be connected, be provided with fixed thread between water pump and the drainage tube, the lower extreme surface of water pump can be dismantled through the other end surface of fixed thread and drainage tube and be connected, and the drainage tube runs through heat sink and roof, the input of control electronic box and the output electric connection of water pump, the model of water pump is R385.
Preferably, a hexagonal screw is arranged between the top plate and the dust removal device, the outer surface of the upper end of the top plate is detachably connected with the outer surface of the lower end of the dust removal device through the hexagonal screw, the outer surface of the upper end of the dust removal device is welded with the outer surface of the lower end of the fan box, the dust removal device and the fan box are of a through structure, a buckle is arranged between the dust removal device and the dust collection net, and the inner surfaces of the two sides of the dust removal device are detachably connected with the outer surfaces of the two sides of the dust collection net through.
Preferably, dust collector's lower extreme surface and the other end surface welded connection of tuber pipe, and the tuber pipe passes the roof, the input of control electronic box and the output electric connection of air exhauster, the lower extreme surface of roof and electric putter's one end surface welded connection, be provided with movable groove between electric putter and the movable inner rod, electric putter's inner wall passes through movable groove and the outer wall swing joint of movable inner rod.
Preferably, a butterfly bolt is arranged between the electric push rod and the power motor, the outer wall of the electric push rod is detachably connected with the outer wall of the power motor through the butterfly bolt, a linear transmission mechanism is arranged between the power motor and the movable inner rod, the input end of the control electric box is electrically connected with the output end of the power motor, and the power motor is a vertical motor.
Compared with the prior art, the utility model discloses following beneficial effect has: this mechanical parts drilling equipment, setting through slide rail and slider, slide rail and slider are favorable to adjusting the slider position according to not unidimensional size mechanical parts when using, make that it can be better place mechanical parts, and the accessible slider removes on the slide rail, setting through heat sink, heat sink is favorable to cooling down the drill bit when using, be favorable to prolonging the life of drill bit when using, setting through dust collector, dust collector is favorable to collecting the clearance to the dust that drilling produced when using, can make operational environment cleaner and tidier when using, it is more convenient when using, the effect of use is better for traditional mode.
Drawings
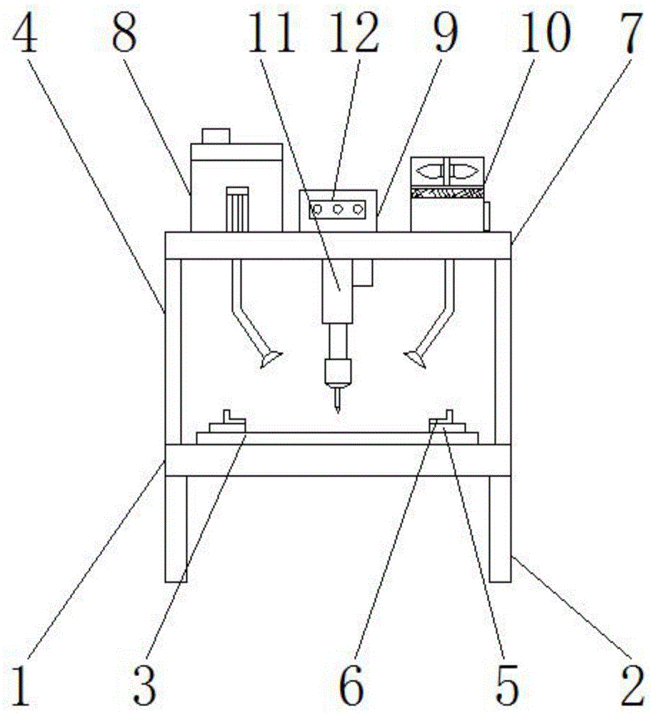
Fig. 1 is a schematic view of the overall structure of a mechanical component drilling apparatus of the present invention;
fig. 2 is a structural diagram of a cooling device 8 of the mechanical part drilling equipment of the present invention;
fig. 3 is a structural diagram of a dust removing device 10 of a mechanical part drilling device of the present invention;
fig. 4 is a structural diagram of the electric push rod 11 of the mechanical component drilling device of the present invention.
In the figure: 1. a work table; 2. a support; 3. a slide rail; 4. a support plate; 5. a slider; 6. placing a support block; 7. a top plate; 8. a cooling device; 9. controlling an electric box; 10. a dust removal device; 11. an electric push rod; 12. A control panel; 13. a sealing cover; 14. an injection hole; 15. a water pump; 16. a drainage tube; 17. a high pressure spray head; 18. a fan box; 19. an exhaust fan; 20. a dust collection net; 21. sealing the cleaning port; 22. an air duct; 23. a dust collection head; 24. a power motor; 25. a movable inner rod; 26. a drilling machine; 27. a drill bit.
Detailed Description
In order to make the technical means, the creation features, the achievement purposes and the functions of the present invention easy to understand, the present invention will be further explained below with reference to the following embodiments and the accompanying drawings, but the following embodiments are only the preferred embodiments of the present invention, and not all embodiments are included. Based on the embodiments in the implementation, other embodiments obtained by those skilled in the art without any creative work belong to the protection scope of the present invention.
Specific embodiments of the present invention will be described below with reference to the accompanying drawings.
As shown in fig. 1-4, a mechanical part drilling device comprises a workbench 1, a support 2 is arranged on the outer surface of the lower end of the workbench 1, a slide rail 3 and a support plate 4 are arranged on the outer surface of the upper end of the workbench 1, the support plate 4 is positioned on two sides of the slide rail 3, a slide block 5 is arranged on the outer surface of the upper end of the slide rail 3, a holding support 6 is arranged on the outer surface of the upper end of the slide block 5, a top plate 7 is arranged on the outer surface of the upper end of the support plate 4, a cooling device 8, a control electric box 9 and a dust removing device 10 are arranged on the outer surface of the upper end of the top plate 7, the cooling device 8 is positioned on one side of the control electric box 9, the dust removing device 10 is positioned on the other side of the control electric box 9, an electric push rod 11 is arranged on the outer surface of the, the inside of heat sink 8 is provided with water pump 15, the outer surface of the lower end of water pump 15 is provided with drainage tube 16, the outer surface of one end of drainage tube 16 is provided with high-pressure atomizing head 17, the outer surface of the upper end of dust collector 10 is provided with fan box 18, the inside of fan box 18 is provided with air exhauster 19, the inside of dust collector 10 is provided with dust absorption net 20, the outer surface of one side of dust collector 10 is provided with sealed cleaning opening 21, the outer surface of the lower end of dust collector 10 is provided with air pipe 22, the outer surface of one end of air pipe 22 is provided with dust absorption head 23, the outer wall of electric putter 11 is provided with power motor 24, the inside of electric putter 11 is provided with movable inner rod 25, the outer surface.
Further, be provided with the cross bolt between workstation 1 and the slide rail 3, the upper end surface of workstation 1 can be dismantled through the lower extreme surface of cross bolt and slide rail 3 and be connected, be provided with the spout between slide rail 3 and the slider 5, the upper end surface of slide rail 3 passes through the lower extreme surface swing joint of spout and slider 5, slide rail 3 and slider 5 are useful for adjusting slider 5 position according to not unidimensional size mechanical parts when using, make that it can be better place mechanical parts, and accessible slider 5 removes on slide rail 3.
Further, a strong glue is arranged between the sliding block 5 and the support block 6, the outer surface of the upper end of the sliding block 5 is fixedly connected with the outer surface of the lower end of the support block 6 through the strong glue, the support block 6 is made of composite rubber, the sliding blocks 5 are two in number, and the support block 6 is placed to mainly play a drag-and-drop role on mechanical parts when in use.
Further, be provided with rice word bolt between roof 7 and the heat sink 8, the upper end surface of roof 7 can be dismantled through rice word bolt and heat sink 8's lower extreme surface and be connected, be provided with the fixed slot between heat sink 8 and the water pump 15, the lower extreme internal surface of heat sink 8 can be dismantled through the lower extreme surface of fixed slot and water pump 15 and be connected, be provided with the fixed thread between water pump 15 and the drainage tube 16, the lower extreme surface of water pump 15 can be dismantled through the other end surface of fixed thread and drainage tube 16 and be connected, and drainage tube 16 runs through heat sink 8 and roof 7, the input of control electronic box 9 and the output electric connection of water pump 15, the model of water pump 15 is R385, heat sink 8 is favorable to cooling bit 27 when using, be favorable to prolonging the life of bit 27 when using.
Further, be provided with the hexagonal screw between roof 7 and dust collector 10, the upper end surface of roof 7 can be dismantled with dust collector 10's lower extreme surface through the hexagonal screw and be connected, dust collector 10's upper end surface and fan case 18's lower extreme surface welded connection, and dust collector 10 and fan case 18 are through structure, be provided with the buckle between dust collector 10 and the dust absorption net 20, the both sides internal surface of dust collector 10 can be dismantled with the both sides surface of dust absorption net 20 through the buckle and be connected, dust collector 10 is favorable to collecting the clearance to the dust that drilling produced when using, can make operational environment cleaner and tidier when using, it is more convenient when using.
Further, dust collector 10's lower extreme surface and the other end surface welded connection of tuber pipe 22, and tuber pipe 22 passes roof 7, control electronic box 9's input and exhaust fan 19's output electric connection, the lower extreme surface of roof 7 and electric putter 11's one end surface welded connection, be provided with the activity groove between electric putter 11 and the interior pole 25 of activity, the outer wall swing joint of pole 25 in activity groove and the activity is passed through to electric putter 11's inner wall, exhaust fan 19 mainly absorbs the dust when using.
Furthermore, a butterfly bolt is arranged between the electric push rod 11 and the power motor 24, the outer wall of the electric push rod 11 is detachably connected with the outer wall of the power motor 24 through the butterfly bolt, a linear transmission mechanism is arranged between the power motor 24 and the movable inner rod 25, the input end of the control electric box 9 is electrically connected with the output end of the power motor 24, the power motor 24 is a vertical motor, and the electric push rod 11 can drive the drilling machine 26 to perform drilling work.
It should be noted that, the utility model relates to a mechanical parts drilling equipment, when using, the mechanical parts that need to be processed can be placed on the placing support block 6, the position of the slide block 5 on the slide rail 3 can be adjusted through the chute, so that the mechanical parts with different sizes can be better used, the power motor 24 can be controlled by the control electric box 9 to operate, the power motor 24 drives the movable inner rod 25 to movably extend and retract through the linear transmission mechanism, the linear transmission mechanism can change the rotary motion of the power motor 24 into the linear motion, the movable inner rod 25 can be extended and retracted by the positive and negative rotation of the power motor 24, so that the drilling machine 26 can fall down, the drilling bit 27 can drill the mechanical parts, when the drilling bit 27 works for a long time, water can be injected into the cooling device 8 through the injection hole 14, the water pump 15 is controlled by the control electric box 9 to absorb water, through 16 back follow high pressure atomising heads 17 blowout of drainage tube, from cooling down the processing to drill bit 27, when drilling, accessible control electronic box 9 control air exhauster 19 operates, makes air exhauster 19 make the dust that the drilling produced inhale to dust collector 10 through rotatory convulsions, and dust absorption net 20 can avoid inspiratory dust to fly away at will, prevents to enter into air exhauster 19, and the accessible seals clearance mouth 21 when long-time use and clears up inspiratory dust, and is comparatively practical.
The foregoing shows and describes the general principles, essential features, and advantages of the invention. It should be understood by those skilled in the art that the present invention is not limited by the above embodiments, and the description in the above embodiments and the description is only preferred examples of the present invention, and is not intended to limit the present invention, and that the present invention can have various changes and modifications without departing from the spirit and scope of the present invention, and these changes and modifications all fall into the scope of the claimed invention. The scope of the invention is defined by the appended claims and equivalents thereof.

Claims (7)

1.一种机械零部件钻孔设备,包括工作台(1),其特征在于:所述工作台(1)的下端外表面设置有支架(2),所述工作台(1)的上端外表面设置有滑轨(3)与支撑板(4),所述支撑板(4)位于滑轨(3)的两侧,所述滑轨(3)的上端外表面设置有滑块(5),所述滑块(5)的上端外表面设置有放置托块(6),所述支撑板(4)的上端外表面设置有顶板(7),所述顶板(7)的上端外表面设置有降温装置(8)、控制电箱(9)与除尘装置(10),所述降温装置(8)位于控制电箱(9)的一侧,所述除尘装置(10)位于控制电箱(9)的另一侧,所述顶板(7)的下端外表面设置有电动推杆(11),所述控制电箱(9)的前端外表面设置有控制面板(12),所述降温装置(8)的上端外表面设置有密封盖(13),所述密封盖(13)的上端外表面设置有注入孔(14),所述降温装置(8)的内部设置有水泵(15),所述水泵(15)下端外表面设置有引流管(16),所述引流管(16)的一端外表面设置有高压喷雾头(17),所述除尘装置(10)的上端外表面设置有风机箱(18),所述风机箱(18)的内部设置有抽风机(19),所述除尘装置(10)的内部设置有吸尘网(20),所述除尘装置(10)的一侧外表面设置有封闭清理口(21),所述除尘装置(10)的下端外表面设置有风管(22),所述风管(22)的一端外表面设置有吸尘头(23),所述电动推杆(11)的外壁设置有动力电机(24),所述电动推杆(11)的内部设置有活动内杆(25),所述活动内杆(25)的一端外表面设置有钻机(26),所述钻机(26)的一端外表面设置有钻头(27)。1. A drilling equipment for mechanical parts, comprising a workbench (1), characterized in that: a bracket (2) is provided on the outer surface of the lower end of the workbench (1), and a support (2) is provided on the outer surface of the lower end of the workbench (1). The surface is provided with a slide rail (3) and a support plate (4), the support plate (4) is located on both sides of the slide rail (3), and a slider (5) is provided on the outer surface of the upper end of the slide rail (3). , the outer surface of the upper end of the slider (5) is provided with a placing block (6), the outer surface of the upper end of the support plate (4) is provided with a top plate (7), and the outer surface of the upper end of the top plate (7) is provided with There is a cooling device (8), a control electric box (9) and a dust removal device (10), the cooling device (8) is located on one side of the control electric box (9), and the dust removal device (10) is located in the control electric box (10). 9) on the other side, the outer surface of the lower end of the top plate (7) is provided with an electric push rod (11), the outer surface of the front end of the control electric box (9) is provided with a control panel (12), the cooling device The outer surface of the upper end of (8) is provided with a sealing cover (13), the outer surface of the upper end of the sealing cover (13) is provided with an injection hole (14), and the inside of the cooling device (8) is provided with a water pump (15), A drainage pipe (16) is provided on the outer surface of the lower end of the water pump (15), a high-pressure spray head (17) is provided on the outer surface of one end of the drainage pipe (16), and a high-pressure spray head (17) is provided on the outer surface of the upper end of the dust removal device (10). A blower box (18), an exhaust fan (19) is arranged inside the blower box (18), a dust suction net (20) is arranged inside the dust removal device (10), and one part of the dust removal device (10) is provided. A closed cleaning port (21) is provided on the outer surface of the side, an air duct (22) is provided on the outer surface of the lower end of the dust removal device (10), and a dust suction head (23) is provided on the outer surface of one end of the air duct (22). , the outer wall of the electric push rod (11) is provided with a power motor (24), the interior of the electric push rod (11) is provided with a movable inner rod (25), and the outer surface of one end of the movable inner rod (25) A drill (26) is provided, and a drill bit (27) is provided on the outer surface of one end of the drill (26). 2.根据权利要求1所述的一种机械零部件钻孔设备,其特征在于:所述工作台(1)与滑轨(3)之间设置有十字螺栓,所述工作台(1)的上端外表面通过十字螺栓与滑轨(3)的下端外表面可拆卸连接,所述滑轨(3)与滑块(5)之间设置有滑槽,所述滑轨(3)的上端外表面通过滑槽与滑块(5)的下端外表面活动连接。2. A kind of drilling equipment for mechanical parts according to claim 1, characterized in that: a cross bolt is provided between the worktable (1) and the slide rail (3), and the The outer surface of the upper end is detachably connected to the outer surface of the lower end of the slide rail (3) through cross bolts, a chute is provided between the slide rail (3) and the slider (5), and the upper end of the slide rail (3) is outside The surface is movably connected with the outer surface of the lower end of the slider (5) through the chute. 3.根据权利要求1所述的一种机械零部件钻孔设备,其特征在于:所述滑块(5)与放置托块(6)之间设置有强力胶,所述滑块(5)的上端外表面通过强力胶与放置托块(6)的下端外表面固定连接,所述放置托块(6)的材质为复合型橡胶,所述滑块(5)的数量为两组。3 . The drilling equipment for mechanical parts according to claim 1 , wherein a super glue is arranged between the sliding block ( 5 ) and the placing support block ( 6 ), and the sliding block ( 5 ) The outer surface of the upper end is fixedly connected with the outer surface of the lower end of the placing block (6) by super glue, the material of the placing block (6) is composite rubber, and the number of the sliders (5) is two groups. 4.根据权利要求1所述的一种机械零部件钻孔设备,其特征在于:所述顶板(7)与降温装置(8)之间设置有米字螺栓,所述顶板(7)的上端外表面通过米字螺栓与降温装置(8)的下端外表面可拆卸连接,所述降温装置(8)与水泵(15)之间设置有固定槽,所述降温装置(8)的下端内表面通过固定槽与水泵(15)的下端外表面可拆卸连接,所述水泵(15)与引流管(16)之间设置有固定螺纹,所述水泵(15)的下端外表面通过固定螺纹与引流管(16)的另一端外表面可拆卸连接,且引流管(16)贯穿降温装置(8)和顶板(7),所述控制电箱(9)的输入端与水泵(15)的输出端电性连接,所述水泵(15)的型号为R385。4. A kind of drilling equipment for mechanical parts according to claim 1, characterized in that: between the top plate (7) and the cooling device (8) is provided with a square bolt, the upper end of the top plate (7) The outer surface is detachably connected to the outer surface of the lower end of the cooling device (8) by means of a square bolt, a fixing groove is provided between the cooling device (8) and the water pump (15), and the inner surface of the lower end of the cooling device (8) is provided with a fixing groove. The fixing groove is detachably connected to the outer surface of the lower end of the water pump (15), a fixing thread is provided between the water pump (15) and the drainage pipe (16), and the outer surface of the lower end of the water pump (15) is connected to the drainage through the fixing thread. The outer surface of the other end of the pipe (16) is detachably connected, and the drainage pipe (16) runs through the cooling device (8) and the top plate (7), the input end of the control electric box (9) and the output end of the water pump (15) For electrical connection, the model of the water pump (15) is R385. 5.根据权利要求1所述的一种机械零部件钻孔设备,其特征在于:所述顶板(7)与除尘装置(10)之间设置有六角螺丝,所述顶板(7)的上端外表面通过六角螺丝与除尘装置(10)的下端外表面可拆卸连接,所述除尘装置(10)的上端外表面与风机箱(18)的下端外表面焊接连接,且除尘装置(10)与风机箱(18)为贯通式结构,所述除尘装置(10)与吸尘网(20)之间设置有卡扣,所述除尘装置(10)的两侧内表面通过卡扣与吸尘网(20)的两侧外表面可拆卸连接。5. The drilling equipment for mechanical parts according to claim 1, characterized in that hexagonal screws are arranged between the top plate (7) and the dust removal device (10), and the upper end of the top plate (7) is outside the The surface is detachably connected to the outer surface of the lower end of the dust removal device (10) through hexagonal screws, the outer surface of the upper end of the dust removal device (10) is connected to the outer surface of the lower end of the fan box (18) by welding, and the dust removal device (10) is connected to the air blower. The chassis (18) is of a through-type structure, a buckle is provided between the dust removal device (10) and the dust suction net (20), and the inner surfaces of the two sides of the dust removal device (10) pass through the buckle and the dust suction net (20). 20) The outer surfaces of both sides are detachably connected. 6.根据权利要求1所述的一种机械零部件钻孔设备,其特征在于:所述除尘装置(10)的下端外表面与风管(22)的另一端外表面焊接连接,且风管(22)穿过顶板(7),所述控制电箱(9)的输入端与抽风机(19)的输出端电性连接,所述顶板(7)的下端外表面与电动推杆(11)的一端外表面焊接连接,所述电动推杆(11)与活动内杆(25)之间设置有活动槽,所述电动推杆(11)的内壁通过活动槽与活动内杆(25)的外壁活动连接。6. The drilling equipment for mechanical parts according to claim 1, characterized in that: the outer surface of the lower end of the dust removal device (10) is connected with the outer surface of the other end of the air duct (22) by welding, and the air duct is connected by welding. (22) Passing through the top plate (7), the input end of the control electric box (9) is electrically connected with the output end of the exhaust fan (19), and the outer surface of the lower end of the top plate (7) is connected to the electric push rod (11) The outer surface of one end of the electric push rod (11) is connected by welding, and a movable groove is provided between the electric push rod (11) and the movable inner rod (25), and the inner wall of the electric push rod (11) is connected to the movable inner rod (25) through the movable groove. The outer wall of the active connection. 7.根据权利要求1所述的一种机械零部件钻孔设备,其特征在于:所述电动推杆(11)与动力电机(24)之间设置有蝶形螺栓,所述电动推杆(11)的外壁通过蝶形螺栓与动力电机(24)的外壁可拆卸连接,所述动力电机(24)与活动内杆(25)之间设置有直线传动机构,所述控制电箱(9)的输入端与动力电机(24)的输出端电性连接,所述动力电机(24)为立式电机。7. A kind of drilling equipment for mechanical parts according to claim 1, characterized in that: a butterfly bolt is provided between the electric push rod (11) and the power motor (24), and the electric push rod ( 11) The outer wall is detachably connected to the outer wall of the power motor (24) through butterfly bolts, a linear transmission mechanism is arranged between the power motor (24) and the movable inner rod (25), and the control electric box (9) The input end of the power motor (24) is electrically connected with the output end of the power motor (24), and the power motor (24) is a vertical motor.
CN202020870934.1U 2020-05-22 2020-05-22 Mechanical part drilling equipment Active CN212495568U (en)

Priority Applications (1)

Application Number Priority Date Filing Date Title
CN202020870934.1U CN212495568U (en) 2020-05-22 2020-05-22 Mechanical part drilling equipment

Applications Claiming Priority (1)

Application Number Priority Date Filing Date Title
CN202020870934.1U CN212495568U (en) 2020-05-22 2020-05-22 Mechanical part drilling equipment

Publications (1)

Publication Number Publication Date
CN212495568U true CN212495568U (en) 2021-02-09

Family

ID=74393495

Family Applications (1)

Application Number Title Priority Date Filing Date
CN202020870934.1U Active CN212495568U (en) 2020-05-22 2020-05-22 Mechanical part drilling equipment

Country Status (1)

Country Link
CN (1) CN212495568U (en)

Cited By (2)

* Cited by examiner, † Cited by third party
Publication number Priority date Publication date Assignee Title
CN113000883A (en) * 2021-03-09 2021-06-22 台州学院 Mechanical steel plate drilling device convenient to piece clearance and temperature cooling function
CN113231668A (en) * 2021-05-19 2021-08-10 中启胶建集团有限公司 Building construction drilling equipment who has dust removal effect of accurate location

Cited By (2)

* Cited by examiner, † Cited by third party
Publication number Priority date Publication date Assignee Title
CN113000883A (en) * 2021-03-09 2021-06-22 台州学院 Mechanical steel plate drilling device convenient to piece clearance and temperature cooling function
CN113231668A (en) * 2021-05-19 2021-08-10 中启胶建集团有限公司 Building construction drilling equipment who has dust removal effect of accurate location

Similar Documents

Publication Publication Date Title
CN212495568U (en) Mechanical part drilling equipment
CN214350255U (en) Dust removal control device of laser cutting workbench
CN211989878U (en) A cleaning device for electrical automation equipment
CN218799905U (en) Metal processing laser cutting machine
CN216503619U (en) Machining device for computer shell panel
CN210024634U (en) Dust collection processing device of cutting machine
CN116276150A (en) A square ram horizontal processing machine tool
CN118789132A (en) Laser cutting equipment for stainless steel processing
CN216731267U (en) A high-efficient dust collecting equipment for sheet metal processing
CN214518301U (en) Laser cutting workbench with energy-saving dust removal control device
CN210731130U (en) Numerical control plane double-end milling machine
CN211639208U (en) Ash handling equipment for milling machine
CN222493311U (en) Casting reaming processing equipment
CN219966547U (en) Milling equipment for cylinder cover of refrigeration compressor
CN221135109U (en) Sweeps processing structure of drilling machine for valve processing
CN221792975U (en) A pipe punching device capable of recycling waste chips
CN210878569U (en) Drilling device for aluminum alloy plate of radiator
CN221675874U (en) Radial drilling machine convenient for chip removal
CN108526666B (en) Welding set convenient for heat dissipation for communication equipment production
CN221890928U (en) Drilling device for metal processing
CN218874706U (en) Workpiece powder cleaning device for machine tool
CN222154840U (en) Chip removal device on double-shaft drilling machine
CN222404696U (en) Digit control machine tool with cooling circulation structure
CN221496335U (en) Drilling device for processing insulating board
CN221833915U (en) A drilling device for processing and producing metal iron products

Legal Events

Date Code Title Description
GR01 Patent grant
GR01 Patent grant
TR01 Transfer of patent right
TR01 Transfer of patent right

Effective date of registration: 20241206

Address after: No. 38 Zhouji Road, Xiantao Street, Yubei District, Chongqing City 401120, China 15-2-91

Patentee after: Chongqing Huanmin Technology Co.,Ltd.

Country or region after: China

Address before: 402760 Puyuan street, Bicheng, Bishan District, Chongqing

Patentee before: Chongqing Bishan Honghai Machinery Parts Co.,Ltd.

Country or region before: China