CN212495478U - Vertical and horizontal drilling integrated machine - Google Patents

Vertical and horizontal drilling integrated machine Download PDF

Info

Publication number
CN212495478U
CN212495478U CN202020940607.9U CN202020940607U CN212495478U CN 212495478 U CN212495478 U CN 212495478U CN 202020940607 U CN202020940607 U CN 202020940607U CN 212495478 U CN212495478 U CN 212495478U
Authority
CN
China
Prior art keywords
guide rail
base
movable
pneumatic guide
lead screw
Prior art date
Legal status (The legal status is an assumption and is not a legal conclusion. Google has not performed a legal analysis and makes no representation as to the accuracy of the status listed.)
Active
Application number
CN202020940607.9U
Other languages
Chinese (zh)
Inventor
王广昌
宋丽芳
Current Assignee (The listed assignees may be inaccurate. Google has not performed a legal analysis and makes no representation or warranty as to the accuracy of the list.)
Dalian Shuanghua Yongxin Wood Industry Co ltd
Original Assignee
Dalian Shuanghua Yongxin Wood Industry Co ltd
Priority date (The priority date is an assumption and is not a legal conclusion. Google has not performed a legal analysis and makes no representation as to the accuracy of the date listed.)
Filing date
Publication date
Application filed by Dalian Shuanghua Yongxin Wood Industry Co ltd filed Critical Dalian Shuanghua Yongxin Wood Industry Co ltd
Priority to CN202020940607.9U priority Critical patent/CN212495478U/en
Application granted granted Critical
Publication of CN212495478U publication Critical patent/CN212495478U/en
Active legal-status Critical Current
Anticipated expiration legal-status Critical

Links

Images

Landscapes

  • Drilling And Boring (AREA)

Abstract

The utility model discloses an upright brill all-in-one that crouches, the on-line screen storage device comprises a base, the base top is equipped with the mount, mount and base fixed connection, mount one side is equipped with vertical drilling mechanism, workstation top one side is equipped with horizontal drilling mechanism, the base top is equipped with adjustment mechanism, vertical drilling mechanism includes first pneumatic guide rail, first pneumatic guide rail is established in mount one side, first pneumatic guide rail and mount fixed connection, first pneumatic guide rail one side is equipped with first slider, first pneumatic guide rail and first slider sliding connection. The utility model discloses a set up first pneumatic guide rail, make first rig carry out the drilling of vertical direction, through setting up the pneumatic guide rail of second, make the second rig carry out the drilling of horizontal direction, improved drilling efficiency, accomplish the drilling of two directions through once fixing a position, improved position accuracy between hole and the hole, and only need alone the operation, practiced thrift the cost of labor.

Description

Vertical and horizontal drilling integrated machine
Technical Field
The utility model relates to a rig field, concretely relates to bore all-in-one crouches immediately.
Background
The drilling machine is a machine tool which mainly uses a drill to machine a hole on a workpiece. Typically the drill bit is rotated into a primary motion and the drill bit is moved axially into a feed motion. The drilling machine is simple in structure, relatively low in machining precision, capable of drilling through holes and blind holes, replacing special cutters, and capable of expanding, reaming or tapping and the like. In the machining process, the workpiece is fixed, the cutter moves, the center of the cutter is aligned with the center of the hole, and the cutter rotates. The drilling machine is characterized in that a workpiece is fixed, a cutter rotates and feeds along the direction of a main shaft, and the operation can be manual or motor-driven.
Need select horizontal drilling machine or upright drill according to the drilling position when present work piece drilling, but it is when the in-service use, when the hole site on the work piece needs to use above two kinds of drilling machines simultaneously, need place the work piece in proper order and process on two kinds of drilling machines, lead to the machining precision low, and process speed is slow.
Therefore, it is necessary to provide an all-in-one machine for vertical and horizontal drilling to solve the above problems.
Disclosure of Invention
The utility model aims at providing a bore all-in-one crouches immediately, through setting up first pneumatic guide rail, make first slider drive first rig and remove the work piece top, make first rig carry out the drilling of vertical direction, simultaneously through setting up the pneumatic guide rail of second, make the second slider drive the second rig and remove work piece one side, make the second rig carry out the drilling of horizontal direction, drilling efficiency has been improved, the drilling of two directions is accomplished through once fixing a position, position accuracy between hole and the hole has been improved, and only need alone operation, the cost of labor has been practiced thrift, with the above-mentioned weak point in the solution technology.
In order to achieve the above object, the present invention provides the following technical solutions: a vertical and horizontal drilling integrated machine comprises a base, wherein a fixing frame is arranged at the top of the base and fixedly connected with the base, a vertical drilling mechanism is arranged on one side of the fixing frame, a horizontal drilling mechanism is arranged on one side of the top of the base, and an adjusting mechanism is arranged at the top of the base;
the vertical drilling mechanism comprises a first pneumatic guide rail, the first pneumatic guide rail is arranged on one side of a fixed frame and fixedly connected with the fixed frame, a first sliding block is arranged on one side of the first pneumatic guide rail and slidably connected with the first sliding block, a first drilling machine is arranged on one side of the first sliding block and fixedly connected with the first sliding block;
horizontal drilling mechanism includes the pneumatic guide rail of second, the pneumatic guide rail of second is established at the base top, the pneumatic guide rail of second and base fixed connection, the pneumatic guide rail top of second is equipped with the second slider, the pneumatic guide rail of second and second slider sliding connection, second slider top is equipped with the second rig, second rig and second slider fixed connection.
Preferably, adjustment mechanism includes the fixing base, the fixing base is established at the base top, fixing base and base fixed connection, the fixing base top is equipped with first movable table, be equipped with the lifting unit between first movable table and the fixing base.
Preferably, the top of the first movable table is provided with two second movable tables, the two second movable tables are arranged on the top of the first movable table in an overlapped mode, one of the second movable tables is provided with a fixing clamp, and the bottom of each second movable table is provided with a moving assembly.
Preferably, the lifting assembly comprises a first lead screw, the first lead screw is arranged on one side of the fixed seat, the first lead screw is rotatably connected with the fixed seat through a bearing, two moving blocks are sleeved outside the first lead screw and are in threaded connection with the first lead screw, connecting rods are arranged at the tops of the two moving blocks, one end of each connecting rod is hinged to the corresponding moving block, and the other end of each connecting rod is hinged to the corresponding first movable table.
Preferably, two the connecting rod symmetric distribution, a plurality of telescopic links of fixedly connected with between fixing base and the first movable table, first lead screw both ends screw thread is to opposite directions soon.
Preferably, the removal subassembly includes the second lead screw, the second lead screw is established in second movable table bottom, second lead screw both ends all are equipped with the fixed block, fixed block and second movable table fixed connection, the second lead screw runs through two fixed blocks and passes through the bearing rotation with two fixed blocks respectively and be connected, two the fixed block is established respectively in second movable table bottom both sides, two be equipped with the movable block between the fixed block, movable block and second lead screw threaded connection, second lead screw both sides all are equipped with the slide rail, slide rail and second movable table fixed connection.
Preferably, the number of the movable blocks is two, one of the movable blocks is fixedly connected with the top of the second movable table, the other movable block is fixedly connected with the top of the first movable table, the number of the second screw rods is two, and the second screw rods are distributed in a cross shape.
In the technical scheme, the utility model provides a technological effect and advantage:
through setting up first pneumatic guide rail, make first slider drive first rig and remove the work piece top, make first rig carry out the drilling of vertical direction, simultaneously through setting up second pneumatic guide rail, make the second slider drive the second rig and remove work piece one side, make the second rig carry out the drilling of horizontal direction, drilling efficiency has been improved, accomplish the drilling of two directions through once fixing a position, position accuracy between hole and the hole has been improved, and only need alone operation, the cost of labor has been practiced thrift.
Drawings
In order to more clearly illustrate the embodiments of the present application or the technical solutions in the prior art, the drawings needed to be used in the embodiments will be briefly described below, and it is obvious that the drawings in the following description are only some embodiments described in the present invention, and other drawings can be obtained by those skilled in the art according to these drawings.
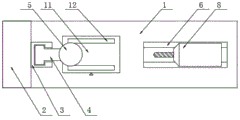
Fig. 1 is a schematic view of the overall structure of the present invention.
Fig. 2 is a top view of the present invention.
Fig. 3 is a front view of the adjusting mechanism of the present invention.
Fig. 4 is a cross-sectional view of the adjusting mechanism of the present invention.
Fig. 5 is an enlarged view of the structure of the portion a of fig. 4 according to the present invention.
Description of reference numerals:
the drilling machine comprises a base 1, a fixed frame 2, a first pneumatic guide rail 3, a first sliding block 4, a first drilling machine 5, a second pneumatic guide rail 6, a second sliding block 7, a second drilling machine 8, a fixed seat 9, a first movable table 10, a second movable table 11, a fixed clamp 12, a first screw rod 13, a movable block 14, a connecting rod 15, a second screw rod 16, a fixed block 17 and a movable block 18.
Detailed Description
In order to make the technical solution of the present invention better understood by those skilled in the art, the present invention will be further described in detail with reference to the accompanying drawings.
The utility model provides a vertical and horizontal drilling integrated machine as shown in figures 1-5, which comprises a base 1, wherein the top of the base 1 is provided with a fixed frame 2, the fixed frame 2 is fixedly connected with the base 1, one side of the fixed frame 2 is provided with a vertical drilling mechanism, one side of the top of the base is provided with a horizontal drilling mechanism, and the top of the base 1 is provided with an adjusting mechanism;
the vertical drilling mechanism comprises a first pneumatic guide rail 3, the first pneumatic guide rail 3 is arranged on one side of a fixed frame 2, the first pneumatic guide rail 3 is fixedly connected with the fixed frame 2, a first sliding block 4 is arranged on one side of the first pneumatic guide rail 3, the first pneumatic guide rail 3 is in sliding connection with the first sliding block 4, a first drilling machine 5 is arranged on one side of the first sliding block 4, and the first drilling machine 5 is fixedly connected with the first sliding block 4;
horizontal drilling mechanism includes the pneumatic guide rail of second 6, the pneumatic guide rail of second 6 is established at base 1 top, the pneumatic guide rail of second 6 and base 1 fixed connection, the pneumatic guide rail of second 6 tops is equipped with second slider 7, the pneumatic guide rail of second 6 and second slider 7 sliding connection, 7 tops of second slider are equipped with second rig 8, second rig 8 and second slider 7 fixed connection.
Further, in above-mentioned technical scheme, adjustment mechanism includes fixing base 9, fixing base 9 is established at base 1 top, fixing base 9 and base 1 fixed connection, the top of fixing base 9 is equipped with first movable table 10, be equipped with between first movable table 10 and the fixing base 9 and promote the subassembly.
Further, in the above technical solution, two second movable tables 11 are arranged on the top of the first movable table 10, the two second movable tables 11 are arranged on the top of the first movable table 10 in an overlapping manner, a fixing clamp 12 is arranged on the top of one of the second movable tables 11, and moving components are arranged at the bottoms of the two second movable tables 11.
Further, in the above technical solution, the lifting assembly includes a first lead screw 13, the first lead screw 13 is disposed on one side of the fixing seat 9, the first lead screw 13 is rotatably connected to the fixing seat 9 through a bearing, two moving blocks 14 are sleeved outside the first lead screw 13, the moving blocks 14 are in threaded connection with the first lead screw 13, connecting rods 15 are disposed at tops of the two moving blocks 14, one end of each connecting rod 15 is hinged to the corresponding moving block 14, and the other end of each connecting rod 15 is hinged to the first movable table 10.
Further, in the above technical solution, two connecting rods 15 are symmetrically distributed, a plurality of telescopic rods are fixedly connected between the fixing seat 9 and the first movable table 10, and the screw thread directions of two ends of the first screw rod 13 are opposite.
Further, in above-mentioned technical scheme, the removal subassembly includes second lead screw 16, second lead screw 16 is established in second movable table 11 bottom, second lead screw 16 both ends all are equipped with fixed block 17, fixed block 17 and second movable table 11 fixed connection, second lead screw 16 runs through two fixed blocks 17 and passes through the bearing rotation with two fixed blocks 17 respectively and be connected, two fixed blocks 17 are established respectively in second movable table 11 bottom both sides, two be equipped with movable block 18 between the fixed block 17, movable block 18 and second lead screw 16 threaded connection, second lead screw 16 both sides all are equipped with the slide rail, slide rail and second movable table 11 fixed connection.
Further, in the above technical solution, the number of the movable blocks 18 is two, one of the movable blocks 18 is fixedly connected to the top of the second movable table 11, the other movable block 18 is fixedly connected to the top of the first movable table 10, the number of the second lead screws 16 is two, and the two second lead screws 16 are distributed in a cross shape.
The implementation mode is specifically as follows: when the utility model is used, firstly, a workpiece is placed at the top of the second movable table 11, then the workpiece is fixed by the fixing clamp 12, then the workpiece is moved to a proper position by the adjusting mechanism, the first screw rod 13 is rotated to drive the two movable blocks 14 to move along the first screw rod 13 in opposite directions, so as to drive the first movable table 10 at the other end of the connecting rod 15 to move up and down, thereby realizing the position adjustment of the workpiece in the Z-axis direction, the second screw rod 16 is rotated to drive the movable block 18 sleeved outside the second screw rod 16 to move along the second screw rod 16, because the movable block 18 is fixed, the second screw rod 16 moves, further the fixed blocks 17 at the two ends of the second screw rod 16 drive the second movable table 11 to move, thereby realizing the movement of the workpiece on the horizontal plane, by arranging the two moving components, and the second screw rods 16 in the two moving components are distributed in a cross shape, therefore, the X-axis and Y-axis movement of a workpiece on a horizontal plane is realized, the workpiece can be moved to a proper station, then the first slide block 4 drives the first drilling machine 5 to move to the top of the workpiece through arranging the first pneumatic guide rail 3, the first drilling machine 5 is enabled to drill in the vertical direction, meanwhile, the second slide block 7 drives the second drilling machine 8 to move to one side of the workpiece through arranging the second pneumatic guide rail 6, the second drilling machine 8 is enabled to drill in the horizontal direction, the drilling efficiency is improved, the drilling in two directions is completed through one-time positioning, the position precision between holes is improved, only one-person operation is needed, the labor cost is saved, the embodiment mode particularly solves the problems that when a drilling machine and a vertical drilling machine are used at the same time in hole positions on the workpiece, the workpiece needs to be sequentially placed on the two drilling machines for processing, and the processing precision is low, the processing speed is slow.
This practical theory of operation:
referring to the attached drawings 1-5 of the specification, a fixing clamp 12 is used for fixing a workpiece, then the workpiece is moved to a proper position through an adjusting mechanism, then a first sliding block 4 drives a first drilling machine 5 to move to the top of the workpiece through a first pneumatic guide rail 3, the first drilling machine 5 is enabled to drill in the vertical direction, meanwhile, a second sliding block 7 drives a second drilling machine 8 to move to one side of the workpiece through a second pneumatic guide rail 6, the second drilling machine 8 is enabled to drill in the horizontal direction, the drilling efficiency is improved, the drilling in two directions is completed through one-time positioning, the position precision between holes is improved, only one-person operation is needed, and the labor cost is saved.
While certain exemplary embodiments of the present invention have been described above by way of illustration only, it will be apparent to those of ordinary skill in the art that the described embodiments may be modified in various different ways without departing from the spirit and scope of the present invention. Accordingly, the drawings and description are illustrative in nature and should not be construed as limiting the scope of the invention.

Claims (7)

1. The utility model provides a vertical and horizontal drilling all-in-one machine, includes base (1), its characterized in that: the drilling machine is characterized in that a fixing frame (2) is arranged at the top of the base (1), the fixing frame (2) is fixedly connected with the base (1), a vertical drilling mechanism is arranged on one side of the fixing frame (2), a horizontal drilling mechanism is arranged on one side of the top of the base, and an adjusting mechanism is arranged at the top of the base (1);
the vertical drilling mechanism comprises a first pneumatic guide rail (3), the first pneumatic guide rail (3) is arranged on one side of a fixed frame (2), the first pneumatic guide rail (3) is fixedly connected with the fixed frame (2), a first sliding block (4) is arranged on one side of the first pneumatic guide rail (3), the first pneumatic guide rail (3) is in sliding connection with the first sliding block (4), a first drilling machine (5) is arranged on one side of the first sliding block (4), and the first drilling machine (5) is fixedly connected with the first sliding block (4);
horizontal drilling mechanism includes second pneumatic guide rail (6), establish at base (1) top second pneumatic guide rail (6), second pneumatic guide rail (6) and base (1) fixed connection, second pneumatic guide rail (6) top is equipped with second slider (7), second pneumatic guide rail (6) and second slider (7) sliding connection, second slider (7) top is equipped with second rig (8), second rig (8) and second slider (7) fixed connection.
2. An integrated bench drill and bench drill as defined in claim 1, wherein: adjustment mechanism includes fixing base (9), establish at base (1) top fixing base (9), fixing base (9) and base (1) fixed connection, fixing base (9) top is equipped with first movable table (10), be equipped with between first movable table (10) and fixing base (9) and promote the subassembly.
3. An integrated bench drill and bench drill as defined in claim 2, wherein: the top of the first movable table (10) is provided with two second movable tables (11), the second movable tables (11) are arranged on the top of the first movable table (10) in a superposed mode, one of the second movable tables (11) is provided with a fixing clamp (12), and the bottom of the second movable table (11) is provided with a moving assembly.
4. An integrated bench drill and bench drill as defined in claim 3, wherein: the lifting assembly comprises a first lead screw (13), the first lead screw (13) is arranged on one side of the fixed seat (9), the first lead screw (13) is rotatably connected with the fixed seat (9) through a bearing, two moving blocks (14) are sleeved outside the first lead screw (13), the moving blocks (14) are in threaded connection with the first lead screw (13), connecting rods (15) are arranged at the tops of the two moving blocks (14), one end of each connecting rod (15) is hinged to the corresponding moving block (14), and the other end of each connecting rod (15) is hinged to the corresponding first movable table (10).
5. An integrated bench drill and bench drill as defined in claim 4, wherein: two connecting rod (15) symmetric distribution, a plurality of telescopic links of fixedly connected with between fixing base (9) and first movable table (10), first lead screw (13) both ends screw thread is to opposite directions soon.
6. An integrated bench drill and bench drill as defined in claim 3, wherein: the movable assembly comprises a second lead screw (16), the second lead screw (16) is arranged at the bottom of the second movable table (11), fixed blocks (17) are arranged at two ends of the second lead screw (16), the fixed blocks (17) are fixedly connected with the second movable table (11), the second lead screw (16) penetrates through the two fixed blocks (17) and is respectively connected with the two fixed blocks (17) in a rotating mode through a bearing, the two fixed blocks (17) are respectively arranged at two sides of the bottom of the second movable table (11) and are provided with movable blocks (18) between the fixed blocks (17), the movable blocks (18) are in threaded connection with the second lead screw (16), slide rails are arranged on two sides of the second lead screw (16), and the slide rails are fixedly connected with the second movable table (11).
7. An integrated bench drill and bench drill as defined in claim 6, wherein: the number of the movable blocks (18) is two, one of the movable blocks (18) is fixedly connected with the top of the second movable table (11), the other movable block (18) is fixedly connected with the top of the first movable table (10), the number of the second screw rods (16) is two, and the second screw rods (16) are distributed in a cross shape.
CN202020940607.9U 2020-05-29 2020-05-29 Vertical and horizontal drilling integrated machine Active CN212495478U (en)

Priority Applications (1)

Application Number Priority Date Filing Date Title
CN202020940607.9U CN212495478U (en) 2020-05-29 2020-05-29 Vertical and horizontal drilling integrated machine

Applications Claiming Priority (1)

Application Number Priority Date Filing Date Title
CN202020940607.9U CN212495478U (en) 2020-05-29 2020-05-29 Vertical and horizontal drilling integrated machine

Publications (1)

Publication Number Publication Date
CN212495478U true CN212495478U (en) 2021-02-09

Family

ID=74391611

Family Applications (1)

Application Number Title Priority Date Filing Date
CN202020940607.9U Active CN212495478U (en) 2020-05-29 2020-05-29 Vertical and horizontal drilling integrated machine

Country Status (1)

Country Link
CN (1) CN212495478U (en)

Cited By (1)

* Cited by examiner, † Cited by third party
Publication number Priority date Publication date Assignee Title
CN114406787A (en) * 2022-01-24 2022-04-29 北京航天衡科技有限公司 Micro-hole machining micro CNC equipment

Cited By (1)

* Cited by examiner, † Cited by third party
Publication number Priority date Publication date Assignee Title
CN114406787A (en) * 2022-01-24 2022-04-29 北京航天衡科技有限公司 Micro-hole machining micro CNC equipment

Similar Documents

Publication Publication Date Title
CN202411822U (en) Drilling and tapping machine tool
CN110421359A (en) A kind of recombination laser pipe cutting machine
CN113560632B (en) Full-automatic numerical control horizontal deep hole drilling machine capable of replacing gun drill and guide sleeve
CN115229503A (en) An intelligent CNC machine tool for multi-axis milling in turning and milling
CN104875019A (en) Electronic valve automatic processing combination device
CN105537949A (en) Drilling and milling combined machine tool
CN212121722U (en) Multi-shaft drill convenient to feed
CN212495478U (en) Vertical and horizontal drilling integrated machine
CN202162413U (en) Numerical control high-speed hole puncher
CN206578538U (en) A kind of steering wheel die casting is from dynamic triaxial drilling tapping machine
CN209304094U (en) A multi-station drilling machine
CN104043853A (en) Numerical control drilling machine tool
CN106002263B (en) Lathe for the processing of guide rail end drilling and tapping
CN204603785U (en) Electronic valve processes combination unit automatically
CN203556909U (en) Lathe capable of machining deep holes
CN216881788U (en) Aluminum plate perforating device
CN216801919U (en) Numerical control forming machine for end face of aviation conduit
CN207668544U (en) A kind of double-station drilling machine
CN107838469A (en) A kind of Digit Control Machine Tool of working shaft-like workpiece
CN209125470U (en) A kind of micro- brill cylindrical grinding equipment
CN207547685U (en) A kind of numerically-controlled machine tool of working shaft-like workpiece
CN208913581U (en) A kind of double main shaft drilling and tapping machines
CN214236379U (en) Double-end pipe numerical control high-speed drilling machine
CN110834204A (en) Double-shaft composite numerical control machine tool
CN215749705U (en) High-efficiency carving machine with simple structure

Legal Events

Date Code Title Description
GR01 Patent grant
GR01 Patent grant