CN212484749U - A kind of prefabricated building component inclined support installation training device - Google Patents

A kind of prefabricated building component inclined support installation training device Download PDF

Info

Publication number
CN212484749U
CN212484749U CN202021307790.5U CN202021307790U CN212484749U CN 212484749 U CN212484749 U CN 212484749U CN 202021307790 U CN202021307790 U CN 202021307790U CN 212484749 U CN212484749 U CN 212484749U
Authority
CN
China
Prior art keywords
rod
mounting seat
long rod
training device
building component
Prior art date
Legal status (The legal status is an assumption and is not a legal conclusion. Google has not performed a legal analysis and makes no representation as to the accuracy of the status listed.)
Expired - Fee Related
Application number
CN202021307790.5U
Other languages
Chinese (zh)
Inventor
刘亚龙
陈锡宝
任红梅
傅赛男
应惠清
韩明珍
晏如曼
Current Assignee (The listed assignees may be inaccurate. Google has not performed a legal analysis and makes no representation or warranty as to the accuracy of the list.)
Shanghai Urban Construction Vocational College
Original Assignee
Shanghai Urban Construction Vocational College
Priority date (The priority date is an assumption and is not a legal conclusion. Google has not performed a legal analysis and makes no representation as to the accuracy of the date listed.)
Filing date
Publication date
Application filed by Shanghai Urban Construction Vocational College filed Critical Shanghai Urban Construction Vocational College
Priority to CN202021307790.5U priority Critical patent/CN212484749U/en
Application granted granted Critical
Publication of CN212484749U publication Critical patent/CN212484749U/en
Expired - Fee Related legal-status Critical Current
Anticipated expiration legal-status Critical

Links

Images

Landscapes

  • Buildings Adapted To Withstand Abnormal External Influences (AREA)

Abstract

本实用新型公开了一种装配式建筑构件斜支撑安装培训装置,包括楼板,所述楼板的侧壁设置有墙板,所述楼板的上表面安装有右安装座和左安装座,所述左安装座设置在右安装座的左边,所述墙板的一侧侧壁固定连接有下安装座和上安装座,所述上安装座设置在下安装座的上方,所述右安装座的一端设置有下长杆,所述上安装座的一端设置有上长杆,所述下安装座的一端设置有上短杆,所述左安装座的一端设置有下短杆,所述下长杆的前端外壁开设有工形滑槽,所述工形滑槽的内部滑动连接有工形滑块,所述下长杆的侧壁活动设置有加固头,所述下长杆的侧壁活动设置有加固头。本实用新型调节快速便捷,使用方便,结构稳定性好。

Figure 202021307790

The utility model discloses a prefabricated building component oblique support installation training device, comprising a floor plate, a wall plate is arranged on the side wall of the floor plate, a right installation seat and a left installation seat are installed on the upper surface of the floor plate, and the left installation seat is installed on the upper surface of the floor plate. The mounting seat is arranged on the left side of the right mounting seat, one side wall of the wall panel is fixedly connected with a lower mounting seat and an upper mounting seat, the upper mounting seat is arranged above the lower mounting seat, and one end of the right mounting seat is arranged There is a lower long rod, one end of the upper mounting seat is provided with an upper long rod, one end of the lower mounting seat is provided with an upper short rod, and one end of the left mounting seat is provided with a lower short rod, and the lower long rod is provided at one end. The outer wall of the front end is provided with an I-shaped chute, the inside of the I-shaped chute is slidably connected with an I-shaped slider, the side wall of the lower long rod is movably provided with a reinforcement head, and the side wall of the lower long rod is movably provided with a Reinforced head. The utility model has the advantages of quick and convenient adjustment, convenient use and good structural stability.

Figure 202021307790

Description

Assembled building element bearing diagonal installation training set
Technical Field
The utility model relates to an assembly type building element technical field especially relates to an assembly type building element bearing diagonal installation training set.
Background
The building component is a large important part of the assembly type building, a reinforced concrete plate type component for building assembly, called wallboard or wallboard for short, is processed and manufactured in a prefabrication factory (field) or a construction site, the assembly type large-plate building is built by adopting the prefabricated concrete wallboard, the factory and mechanical construction degree can be improved, the field wet operation is reduced, the field labor is saved, the seasonal influence is overcome, the building construction period is shortened, the small shaking easily occurs when the assembly type building component is installed, and an inclined support installation device is required to be used.
The existing training device for the inclined support installation of the assembly type building component is single in structural function, inconvenient to adjust and use, needs to rotate corresponding parts, is not fast and convenient enough in adjustment of verticality or displacement, is inconvenient to use, poor in structural stability and unreasonable in design.
SUMMERY OF THE UTILITY MODEL
The utility model aims at solving the defects existing in the prior art and providing an assembly type building component inclined support installation training device.
In order to achieve the above purpose, the utility model adopts the following technical scheme:
an assembled building component diagonal bracing installation training device comprises a floor slab, wherein a wallboard is arranged on the side wall of the floor slab, a right mounting seat and a left mounting seat are arranged on the upper surface of the floor slab, the left mounting seat is arranged on the left side of the right mounting seat, a lower mounting seat and an upper mounting seat are fixedly connected with the side wall of one side of the wallboard, the upper mounting seat is arranged above the lower mounting seat, a lower long rod is arranged at one end of the right mounting seat, an upper long rod is arranged at one end of the upper mounting seat, an upper short rod is arranged at one end of the lower mounting seat, a lower short rod is arranged at one end of the left mounting seat, an I-shaped sliding groove is formed in the outer wall of the front end of the lower long rod, an I-shaped sliding block is connected inside the I-shaped sliding groove in a sliding manner, a reinforcing head is movably arranged on the side wall of the lower long rod, and a, a connecting spring is fixedly connected between the reinforcing rod A and the reinforcing rod B, a limiting sleeve is sleeved on the surface of the connecting spring, and tightening rings are respectively arranged between two ends of the limiting sleeve and the upper short rod and between two ends of the limiting sleeve and the upper long rod.
Preferably, an inner inserting rod and an outer inserting barrel are arranged between the upper short rod and the upper long rod, one end of the inner inserting rod is inserted into the outer inserting barrel, and a square block is fixedly connected with the inner inserting rod and the outer inserting barrel.
Preferably, a rotating pin is installed at one end of the upper long rod, one end of the rotating pin is connected with the I-shaped sliding block, and a thread groove is formed in the side wall of the I-shaped sliding block.
Preferably, logical groove has all been seted up to the lateral wall of right side mount pad, left mount pad, lower mount pad and last mount pad, the circular slot has all been seted up to the inside of stock, last quarter butt and quarter butt down, the inside of logical groove and circular slot has all been run through to have the check lock lever, the one end of check lock lever is provided with lock nut.
Preferably, a bolt rod is inserted into the reinforcing joint, a nut is arranged at one end of the bolt rod, and one end of the bolt rod penetrates through the inside of the thread groove.
Preferably, the upper end of the tightening ring is provided with a transverse groove, the inner part of the transverse groove is rotatably connected with a tightening rod, and the end of the tightening rod is provided with a nut stop block.
Compared with the prior art, the beneficial effects of the utility model are that:
1. the utility model discloses in, unscrew shank of bolt and nut, when needing to adjust the displacement of wallboard, remove suitable position with the wallboard, at this moment, go up quarter butt and rotate certain angle down, down stock and last quarter butt rotate certain angle, and two turned angle are the same, later screw up shank of bolt and nut, it is fixed firm to be down between stock and the last quarter butt and between the quarter butt down, when needing to adjust the straightness that hangs down of wallboard, it is fixed with quarter butt down to go up the quarter butt, adjust down the angle between stock and the last quarter butt and can accomplish, it is convenient fast to adjust, high durability and convenient use.
2. The utility model discloses in, through setting up stiffener A and stiffener B, and set up connecting spring and stop collar between stiffener A and stiffener B, additional strengthening stability adjusts the completion back, adjusting nut dog and screws up the pole, can stable structure, reasonable in design.
Drawings
Fig. 1 is a schematic structural diagram of an assembled building component diagonal bracing installation training device provided by the utility model;
fig. 2 is a schematic partial structural view of an assembled building component diagonal bracing installation training device provided by the utility model;
fig. 3 is a schematic structural view of a reinforcing rod a of the assembling type building component inclined support installation training device provided by the utility model;
fig. 4 is a schematic partial structural view of a second embodiment of the training device for the diagonal bracing and installation of the prefabricated building components according to the present invention.
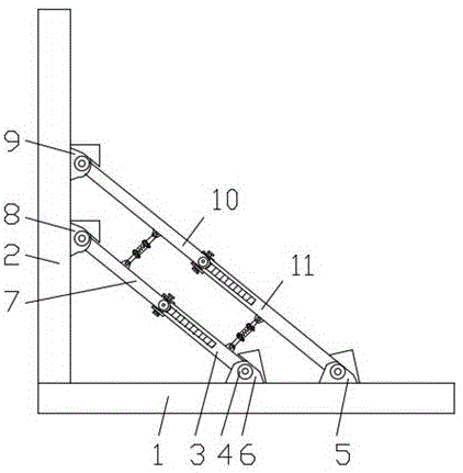
In the figure: 1 floor, 2 wallboards, 3 down quarter butt, 4 check locks, 5 right mount pads, 6 left mount pads, 7 last quarter butt, 8 mount pads, 9 last mount pads, 10 last stock, 11 down stock, 12I-shaped spout, 13 shank of bolt, 14I-shaped slider, 15 nuts, 16 anchor block, 17 stiffener A, 18 connecting spring, 19 stop collar, 20 tightening ring, 21 stiffener B, 22 interior pole, 23 squares, 24 outer insert section of thick bamboo.
Detailed Description
The technical solutions in the embodiments of the present invention will be described clearly and completely with reference to the accompanying drawings in the embodiments of the present invention, and it is obvious that the described embodiments are only some embodiments of the present invention, not all embodiments.
The first embodiment is as follows:
an assembled building component inclined strut installation training device comprises a floor slab 1, wherein a wall plate 2 is arranged on the side wall of the floor slab 1, a right mounting seat 5 and a left mounting seat 6 are arranged on the upper surface of the floor slab 1, the left mounting seat 6 is arranged on the left side of the right mounting seat 5, a lower mounting seat 8 and an upper mounting seat 9 are fixedly connected with the side wall of one side of the wall plate 2, the upper mounting seat 9 is arranged above the lower mounting seat 8, a lower long rod 11 is arranged at one end of the right mounting seat 5, an upper long rod 10 is arranged at one end of the upper mounting seat 9, an upper short rod 7 is arranged at one end of the lower mounting seat 8, a lower short rod 3 is arranged at one end of the left mounting seat 6, an I-shaped sliding groove 12 is arranged on the outer wall of the front end of the lower long rod 11, an I-shaped sliding block 14 is slidably connected inside the I-shaped sliding groove 12, a reinforcing head 16 is movably arranged on the side wall of, the side wall of the I-shaped sliding block 14 is provided with a thread groove, the side walls of the right mounting seat 5, the left mounting seat 6, the lower mounting seat 8 and the upper mounting seat 9 are provided with through grooves, the interiors of the lower long rod 11, the upper long rod 10, the upper short rod 7 and the lower short rod 3 are provided with circular grooves, locking rods 4 penetrate through the interiors of the through grooves and the circular grooves, one end of each locking rod 4 is provided with a locking nut, a bolt rod 13 is inserted into a reinforcing head 16, one end of each bolt rod 13 is provided with a nut 15, and one end of each bolt rod 13 penetrates through the interior of the thread groove, which is shown in attached figures 1 and 2; during the use, unscrew shank of bolt 13 and nut 15, when needing to adjust the displacement of wallboard 2, remove wallboard 2 suitable position, last quarter butt 7 and quarter butt 3 rotate certain angle this moment, down stock 11 and last quarter butt 10 rotate certain angle, and two turned angles are the same, later screw up shank of bolt 13 and nut 15, with down between stock 11 and the last quarter butt 10 and last quarter butt 7 and down between the quarter butt 3 fixed firm, when needing to adjust the straightness that hangs down of wallboard 2, it is fixed with quarter butt 7 down the quarter butt 3, adjust down the angle between stock 11 and the last quarter butt 10 and can accomplish, it is convenient fast to adjust, high durability and convenient use.
A reinforcing rod A17 and a reinforcing rod B21 are arranged between the upper short rod 7 and the upper long rod 10, a connecting spring 18 is fixedly connected between the reinforcing rod A17 and the reinforcing rod B21, a limiting sleeve 19 is sleeved on the surface of the connecting spring 18, a tightening ring 20 is respectively arranged between the two ends of the limiting sleeve 19 and the upper short rod 7 and the upper long rod 10, a transverse groove is formed in the upper end of the tightening ring 20, a tightening rod is rotatably connected inside the transverse groove, and a nut stop block is arranged at the end of the tightening rod, which is shown in the attached figures 1 and 3; through setting up stiffener A17 and stiffener B21, and set up connecting spring 18 and stop collar 19 between stiffener A17 and stiffener B21, reinforced structure stability, after the regulation is accomplished, adjust nut dog and screw up the pole, can stable structure, reasonable in design.
Example two:
an assembled building component inclined strut installation training device comprises a floor slab 1, wherein a wall plate 2 is arranged on the side wall of the floor slab 1, a right mounting seat 5 and a left mounting seat 6 are mounted on the upper surface of the floor slab 1, the left mounting seat 6 is arranged on the left side of the right mounting seat 5, a lower mounting seat 8 and an upper mounting seat 9 are fixedly connected to the side wall of one side of the wall plate 2, the upper mounting seat 9 is arranged above the lower mounting seat 8, a lower long rod 11 is arranged at one end of the right mounting seat 5, an upper long rod 10 is arranged at one end of the upper mounting seat 9, an upper short rod 7 is arranged at one end of the lower mounting seat 8, an inner inserting rod 22 and an outer inserting cylinder 24 are arranged between the upper short rod 7 and the upper long rod 10, one end of the inner inserting rod 22 is inserted into the outer inserting cylinder 24 and is fixedly; when the position distance between the upper short rod 7 and the upper long rod 10 is changed, one end of the inner inserting rod 22 moves in the outer inserting barrel 24, the inner inserting rod 22 is limited by the block 23, the inner inserting rod 22 is prevented from leaving the inner part of the outer inserting barrel 24, the use of a spring is reduced, and the situation that the spring fails is avoided.
One end of the left mounting seat 6 is provided with a lower short rod 3, the outer wall of the front end of the lower long rod 11 is provided with an I-shaped sliding groove 12, the inner part of the I-shaped sliding groove 12 is connected with an I-shaped sliding block 14 in a sliding way, the side wall of the lower long rod 11 is movably provided with a reinforcing head 16, one end of the upper long rod 10 is provided with a rotating pin, one end of the rotating pin is connected with the I-shaped sliding block 14, the side wall of the I-shaped sliding block 14 is provided with a thread groove, the side walls of the right mounting seat 5, the left mounting seat 6, the lower mounting seat 8 and the upper mounting, circular grooves are formed in the upper long rod 10, the upper short rod 7 and the lower short rod 3, locking rods 4 penetrate through the through grooves and the circular grooves, locking nuts are arranged at one ends of the locking rods 4, bolt rods 13 are inserted into the reinforcing heads 16, nuts 15 are arranged at one ends of the bolt rods 13, and one ends of the bolt rods 13 penetrate through the threaded grooves, which is shown in the attached figures 1 and 2; during the use, unscrew shank of bolt 13 and nut 15, when needing to adjust the displacement of wallboard 2, remove wallboard 2 suitable position, last quarter butt 7 and quarter butt 3 rotate certain angle this moment, down stock 11 and last quarter butt 10 rotate certain angle, and two turned angles are the same, later screw up shank of bolt 13 and nut 15, with down between stock 11 and the last quarter butt 10 and last quarter butt 7 and down between the quarter butt 3 fixed firm, when needing to adjust the straightness that hangs down of wallboard 2, it is fixed with quarter butt 7 down the quarter butt 3, adjust down the angle between stock 11 and the last quarter butt 10 and can accomplish, it is convenient fast to adjust, high durability and convenient use.
A reinforcing rod A17 and a reinforcing rod B21 are arranged between the upper short rod 7 and the upper long rod 10, a connecting spring 18 is fixedly connected between the reinforcing rod A17 and the reinforcing rod B21, a limiting sleeve 19 is sleeved on the surface of the connecting spring 18, a tightening ring 20 is respectively arranged between the two ends of the limiting sleeve 19 and the upper short rod 7 and the upper long rod 10, a transverse groove is formed in the upper end of the tightening ring 20, a tightening rod is rotatably connected inside the transverse groove, and a nut stop block is arranged at the end of the tightening rod, which is shown in the attached figures 1 and 3; through setting up stiffener A17 and stiffener B21, and set up connecting spring 18 and stop collar 19 between stiffener A17 and stiffener B21, reinforced structure stability, after the regulation is accomplished, adjust nut dog and screw up the pole, can stable structure, reasonable in design.
The working principle is as follows: when the wallboard is used, the bolt rod 13 and the nut 15 are unscrewed, when the displacement of the wallboard 2 needs to be adjusted, the wallboard 2 is moved to a proper position, at the moment, the upper short rod 7 and the lower short rod 3 rotate by a certain angle, the lower long rod 11 and the upper long rod 10 rotate by a certain angle, and the two rotation angles are the same, then the bolt rod 13 and the nut 15 are screwed, the lower long rod 11 and the upper long rod 10 and the upper short rod 7 and the lower short rod 3 are firmly fixed, when the verticality of the wallboard 2 needs to be adjusted, the upper short rod 7 and the lower short rod 3 are fixed, the adjustment of the angle between the lower long rod 11 and the upper long rod 10 can be completed, the adjustment is quick and convenient, the use is convenient, by arranging the reinforcing rod A17 and the reinforcing rod B21, and arranging the connecting spring 18 and the limiting sleeve 19 between the reinforcing rod A17 and the reinforcing rod B21, the structural stability is enhanced, after the adjustment is completed, the nut stopper and the screwing rod are, reasonable in design, when going up the position distance between short pole 7 and the last long pole 10 and changing, the one end of interior pole 22 is in the inside removal of outer cartridge 24, and the square 23 is spacing to interior pole 22, avoids interior pole 22 to leave the inside of outer cartridge 24, reduces the use of spring, avoids the condition that the spring became invalid to appear.
The above, only be the concrete implementation of the preferred embodiment of the present invention, but the protection scope of the present invention is not limited thereto, and any person skilled in the art is in the technical scope of the present invention, according to the technical solution of the present invention and the utility model, the concept of which is equivalent to replace or change, should be covered within the protection scope of the present invention.

Claims (6)

1.一种装配式建筑构件斜支撑安装培训装置,包括楼板(1),其特征在于,所述楼板(1)的侧壁设置有墙板(2),所述楼板(1)的上表面安装有右安装座(5)和左安装座(6),所述左安装座(6)设置在右安装座(5)的左边,所述墙板(2)的一侧侧壁固定连接有下安装座(8)和上安装座(9),所述上安装座(9)设置在下安装座(8)的上方,所述右安装座(5)的一端设置有下长杆(11),所述上安装座(9)的一端设置有上长杆(10),所述下安装座(8)的一端设置有上短杆(7),所述左安装座(6)的一端设置有下短杆(3),所述下长杆(11)的前端外壁开设有工形滑槽(12),所述工形滑槽(12)的内部滑动连接有工形滑块(14),所述下长杆(11)的侧壁活动设置有加固头(16),所述上短杆(7)和上长杆(10)之间设置有加强杆A(17)和加强杆B(21),所述加强杆A(17)和加强杆B(21)之间固定连接有连接弹簧(18),所述连接弹簧(18)的表面套接有限位套(19),所述限位套(19)的两端与上短杆(7)和上长杆(10)之间分别设置有拧紧圈(20)。1. A prefabricated building component oblique support installation training device, comprising a floor slab (1), characterized in that the side wall of the floor slab (1) is provided with a wall panel (2), and the upper surface of the floor slab (1) is provided with a wall panel (2). A right mounting seat (5) and a left mounting seat (6) are installed, the left mounting seat (6) is arranged on the left side of the right mounting seat (5), and one side wall of the wall panel (2) is fixedly connected with a A lower mounting seat (8) and an upper mounting seat (9), the upper mounting seat (9) is arranged above the lower mounting seat (8), and one end of the right mounting seat (5) is provided with a lower long rod (11) One end of the upper mounting seat (9) is provided with an upper long rod (10), one end of the lower mounting seat (8) is provided with an upper short rod (7), and one end of the left mounting seat (6) is provided with an upper short rod (7) There is a lower short rod (3), the front end outer wall of the lower long rod (11) is provided with an I-shaped chute (12), and an I-shaped slider (14) is slidably connected to the inside of the I-shaped chute (12). , the side wall of the lower long rod (11) is movably provided with a reinforcement head (16), and a reinforcement rod A (17) and a reinforcement rod B are arranged between the upper short rod (7) and the upper long rod (10). (21), a connecting spring (18) is fixedly connected between the reinforcing rod A (17) and the reinforcing rod B (21), the surface of the connecting spring (18) is sleeved with a limiting sleeve (19), the Tightening rings (20) are respectively provided between the two ends of the limiting sleeve (19) and the upper short rod (7) and the upper long rod (10). 2.根据权利要求1所述的一种装配式建筑构件斜支撑安装培训装置,其特征在于,所述上短杆(7)和上长杆(10)之间设置有内插杆(22)和外插筒(24),所述内插杆(22)的一端插接在外插筒(24)的内部且固定连接有方块(23)。2. A prefabricated building component oblique support installation training device according to claim 1, characterized in that an insert rod (22) is provided between the upper short rod (7) and the upper long rod (10). and an outer insertion cylinder (24), one end of the inner insertion rod (22) is inserted into the inside of the outer insertion cylinder (24) and is fixedly connected with a block (23). 3.根据权利要求1所述的一种装配式建筑构件斜支撑安装培训装置,其特征在于,所述上长杆(10)的一端安装有转动销,所述转动销的一端与工形滑块(14)连接,所述工形滑块(14)的侧壁开设有螺纹槽。3. A prefabricated building component oblique support installation training device according to claim 1, characterized in that, a rotating pin is installed at one end of the upper long rod (10), and one end of the rotating pin is slidably connected to the I-shape. The block (14) is connected, and the side wall of the I-shaped slider (14) is provided with a threaded groove. 4.根据权利要求1所述的一种装配式建筑构件斜支撑安装培训装置,其特征在于,所述右安装座(5)、左安装座(6)、下安装座(8)和上安装座(9)的侧壁均开设有通槽,所述下长杆(11)、上长杆(10)、上短杆(7)和下短杆(3)的内部均开设有圆槽,所述通槽和圆槽的内部均贯穿有锁紧杆(4),所述锁紧杆(4)的一端设置有锁紧螺母。4. A prefabricated building component oblique support installation training device according to claim 1, characterized in that the right mounting seat (5), the left mounting seat (6), the lower mounting seat (8) and the upper mounting seat The side walls of the seat (9) are all provided with through grooves, and the lower long rod (11), the upper long rod (10), the upper short rod (7) and the lower short rod (3) are all provided with circular grooves. A locking rod (4) runs through the interior of the through groove and the circular groove, and a locking nut is provided at one end of the locking rod (4). 5.根据权利要求1所述的一种装配式建筑构件斜支撑安装培训装置,其特征在于,所述加固头(16)内部插接有螺栓杆(13),所述螺栓杆(13)的一端设置有螺母(15),所述螺栓杆(13)的一端贯穿螺纹槽的内部。5. A prefabricated building component oblique support installation training device according to claim 1, characterized in that a bolt rod (13) is inserted inside the reinforcement head (16), and the bolt rod (13) is One end is provided with a nut (15), and one end of the bolt rod (13) penetrates the inside of the threaded groove. 6.根据权利要求1所述的一种装配式建筑构件斜支撑安装培训装置,其特征在于,所述拧紧圈(20)的上端开设有横槽,所述横槽的内部转动连接有拧紧杆,所述拧紧杆的端头设置有螺母挡块。6 . The prefabricated building component oblique support installation training device according to claim 1 , wherein the upper end of the tightening ring ( 20 ) is provided with a transverse groove, and the interior of the transverse groove is rotatably connected with a tightening rod. 7 . , the end of the tightening rod is provided with a nut stopper.
CN202021307790.5U 2020-07-07 2020-07-07 A kind of prefabricated building component inclined support installation training device Expired - Fee Related CN212484749U (en)

Priority Applications (1)

Application Number Priority Date Filing Date Title
CN202021307790.5U CN212484749U (en) 2020-07-07 2020-07-07 A kind of prefabricated building component inclined support installation training device

Applications Claiming Priority (1)

Application Number Priority Date Filing Date Title
CN202021307790.5U CN212484749U (en) 2020-07-07 2020-07-07 A kind of prefabricated building component inclined support installation training device

Publications (1)

Publication Number Publication Date
CN212484749U true CN212484749U (en) 2021-02-05

Family

ID=74455823

Family Applications (1)

Application Number Title Priority Date Filing Date
CN202021307790.5U Expired - Fee Related CN212484749U (en) 2020-07-07 2020-07-07 A kind of prefabricated building component inclined support installation training device

Country Status (1)

Country Link
CN (1) CN212484749U (en)

Similar Documents

Publication Publication Date Title
CN108678365B (en) Self-angle-changing hydraulic climbing formwork system
CN212484749U (en) A kind of prefabricated building component inclined support installation training device
CN111997271A (en) A steel bar connecting device and method of using the same
CN216341168U (en) Reinforced concrete beam reinforcing structure
CN111021585A (en) Assembled shear force wall and heat preservation partition wall together prefabricate connection structure
CN212249329U (en) Temporary floor supporting device
CN214005723U (en) Steel pipe support concrete foundation structure
CN112012382B (en) Floor heat-insulation sound-insulation structure applying microcrystal heat-insulation self-leveling mortar
CN220621037U (en) Concrete column template reinforced structure
CN220621072U (en) Unilateral formwork of building structure
CN215717283U (en) Convenient and quick building aluminum alloy template diagonal bracing device
CN222716219U (en) Building frame for building engineering
CN221321786U (en) A construction template that is convenient for stable support
CN222576236U (en) Building structure reinforcing apparatus
CN107299759A (en) A kind of method that template is adjusted in skyscraper
CN210342738U (en) Diagonal bracing sleeve for laminated floor slab
CN218264285U (en) A prefabricated building frame
CN219587270U (en) Reinforcing and connecting device for building structure
CN221878822U (en) Corner supporting structure of shear wall template and floor template
CN219452385U (en) Water pump rag bolt limit structure
CN221399944U (en) Ancient building reinforced structure
CN216476378U (en) Reinforced concrete shear wall template reinforced structure
CN222456603U (en) Assembled building stair card post fixing device
CN217581325U (en) A prefabricated wall installation adjustment tool
CN222558175U (en) A steel beam safety net hook device

Legal Events

Date Code Title Description
GR01 Patent grant
GR01 Patent grant
CF01 Termination of patent right due to non-payment of annual fee
CF01 Termination of patent right due to non-payment of annual fee

Granted publication date: 20210205