CN212446208U - 一种抗老化的pvc铝塑共挤底板加工用废料处理装置 - Google Patents
一种抗老化的pvc铝塑共挤底板加工用废料处理装置 Download PDFInfo
- Publication number
- CN212446208U CN212446208U CN202020581204.XU CN202020581204U CN212446208U CN 212446208 U CN212446208 U CN 212446208U CN 202020581204 U CN202020581204 U CN 202020581204U CN 212446208 U CN212446208 U CN 212446208U
- Authority
- CN
- China
- Prior art keywords
- reaction box
- plastic
- box
- aluminum
- crushing
- Prior art date
- Legal status (The legal status is an assumption and is not a legal conclusion. Google has not performed a legal analysis and makes no representation as to the accuracy of the status listed.)
- Expired - Fee Related
Links
- 239000002699 waste material Substances 0.000 title claims abstract description 23
- 229910052782 aluminium Inorganic materials 0.000 title claims abstract description 22
- 238000012545 processing Methods 0.000 title claims abstract description 19
- 230000032683 aging Effects 0.000 title claims description 7
- 238000006243 chemical reaction Methods 0.000 claims abstract description 48
- 229920003023 plastic Polymers 0.000 claims abstract description 29
- 239000004033 plastic Substances 0.000 claims abstract description 29
- 238000001125 extrusion Methods 0.000 claims abstract description 10
- 230000003712 anti-aging effect Effects 0.000 claims abstract description 7
- 230000005540 biological transmission Effects 0.000 claims description 12
- 238000000926 separation method Methods 0.000 abstract description 18
- 238000003756 stirring Methods 0.000 abstract description 18
- 239000003814 drug Substances 0.000 abstract description 8
- 239000000376 reactant Substances 0.000 abstract description 7
- 238000001914 filtration Methods 0.000 abstract description 4
- 238000002156 mixing Methods 0.000 abstract description 4
- XAGFODPZIPBFFR-UHFFFAOYSA-N aluminium Chemical compound [Al] XAGFODPZIPBFFR-UHFFFAOYSA-N 0.000 description 11
- 230000002457 bidirectional effect Effects 0.000 description 7
- 239000004411 aluminium Substances 0.000 description 6
- 239000007788 liquid Substances 0.000 description 6
- 230000009467 reduction Effects 0.000 description 5
- 230000005012 migration Effects 0.000 description 4
- 238000013508 migration Methods 0.000 description 4
- 230000003014 reinforcing effect Effects 0.000 description 4
- 238000000605 extraction Methods 0.000 description 3
- 239000000463 material Substances 0.000 description 2
- 239000000203 mixture Substances 0.000 description 2
- 239000013502 plastic waste Substances 0.000 description 2
- 230000004075 alteration Effects 0.000 description 1
- 230000009286 beneficial effect Effects 0.000 description 1
- 239000002131 composite material Substances 0.000 description 1
- 238000013461 design Methods 0.000 description 1
- 230000000694 effects Effects 0.000 description 1
- 238000003912 environmental pollution Methods 0.000 description 1
- 230000006872 improvement Effects 0.000 description 1
- 238000000034 method Methods 0.000 description 1
- 238000012986 modification Methods 0.000 description 1
- 230000004048 modification Effects 0.000 description 1
- 238000006467 substitution reaction Methods 0.000 description 1
Images
Classifications
-
- Y—GENERAL TAGGING OF NEW TECHNOLOGICAL DEVELOPMENTS; GENERAL TAGGING OF CROSS-SECTIONAL TECHNOLOGIES SPANNING OVER SEVERAL SECTIONS OF THE IPC; TECHNICAL SUBJECTS COVERED BY FORMER USPC CROSS-REFERENCE ART COLLECTIONS [XRACs] AND DIGESTS
- Y02—TECHNOLOGIES OR APPLICATIONS FOR MITIGATION OR ADAPTATION AGAINST CLIMATE CHANGE
- Y02W—CLIMATE CHANGE MITIGATION TECHNOLOGIES RELATED TO WASTEWATER TREATMENT OR WASTE MANAGEMENT
- Y02W30/00—Technologies for solid waste management
- Y02W30/50—Reuse, recycling or recovery technologies
- Y02W30/52—Mechanical processing of waste for the recovery of materials, e.g. crushing, shredding, separation or disassembly
-
- Y—GENERAL TAGGING OF NEW TECHNOLOGICAL DEVELOPMENTS; GENERAL TAGGING OF CROSS-SECTIONAL TECHNOLOGIES SPANNING OVER SEVERAL SECTIONS OF THE IPC; TECHNICAL SUBJECTS COVERED BY FORMER USPC CROSS-REFERENCE ART COLLECTIONS [XRACs] AND DIGESTS
- Y02—TECHNOLOGIES OR APPLICATIONS FOR MITIGATION OR ADAPTATION AGAINST CLIMATE CHANGE
- Y02W—CLIMATE CHANGE MITIGATION TECHNOLOGIES RELATED TO WASTEWATER TREATMENT OR WASTE MANAGEMENT
- Y02W30/00—Technologies for solid waste management
- Y02W30/50—Reuse, recycling or recovery technologies
- Y02W30/62—Plastics recycling; Rubber recycling
Landscapes
- Processing Of Solid Wastes (AREA)
Abstract
本实用新型公开了一种抗老化的PVC铝塑共挤底板加工用废料处理装置,属于PVC铝塑共挤底板加工技术领域,包括粉碎箱,所述粉碎箱的顶部设有进料斗,所述粉碎箱内转动安装有两个粉碎辊,两个粉碎辊啮合,所述粉碎箱的底部安装有反应箱,粉碎箱和反应箱之间设有连通管,所述反应箱的一侧设有上药管,所述反应箱内安装有水平设置的滑杆,所述滑杆上滑动套设有运动块,所述运动块的底部转动安装有搅拌杆,所述反应箱内转动安装有水平设置的往复丝杆,往复丝杆与运动块螺纹连接;本实用新型粉碎和搅拌实现铝塑废料的充分反应,使得反应物充分混合,反应更充分完全,分离效果好,并通过过滤分离,实现铝塑分离,使用质量高。
Description
技术领域
本实用新型属于PVC铝塑共挤底板加工技术领域,具体涉及一种抗老化的PVC铝塑共挤底板加工用废料处理装置。
背景技术
PVC铝塑共挤底板加工时,产生很大废料,在废料中残留很多铝,回收铝可以节约资源,具有重要意义,铝塑分离指将铝塑复合材料彻底地分离为铝和塑料,分离液及完全干式分离,不造成二次环境污染,具有较好的社会和经济效益,现有的通过铝塑分离药水进行分离,但是分离效果较差,分离不完全,不便把塑料和铝溶液分开,因此,需要一种抗老化的PVC铝塑共挤底板加工用废料处理装置来解决以上问题。
发明内容
本实用新型的目的在于提供一种抗老化的PVC铝塑共挤底板加工用废料处理装置,以解决上述背景技术中提出的问题。
为实现上述目的,本实用新型提供如下技术方案:一种抗老化的PVC铝塑共挤底板加工用废料处理装置,包括粉碎箱,所述粉碎箱的顶部设有进料斗,所述粉碎箱内转动安装有两个粉碎辊,两个粉碎辊啮合,所述粉碎箱的底部安装有反应箱,粉碎箱和反应箱之间设有连通管,所述反应箱的一侧设有上药管,所述反应箱内安装有水平设置的滑杆,所述滑杆上滑动套设有运动块,所述运动块的底部转动安装有搅拌杆,所述反应箱内转动安装有水平设置的往复丝杆,往复丝杆与运动块螺纹连接,所述反应箱的下方设有竖直设置的连接杆,连接杆的底部固定安装有倾斜设置的过滤管,所述反应箱的底部安装有排出管,排出管上设有阀门,排出管的底部与过滤管固定连接,所述进料斗内滑动安装有活动板,活动板上开设有通孔,通孔内设有滤板。
作为一种优选的实施方式,所述活动板的一端安装有两个斜杆,活动板内安装有两个固定块,斜杆的一端安装有斜板,斜板与固定块之间转动安装有螺纹杆,螺纹杆与活动板螺纹连接,斜板上设有双向电机,双向电机的输出轴与螺纹杆传动连接。
作为一种优选的实施方式,所述粉碎箱内转动安装有两个水平设置的横轴,所述横轴上开设有水平设置的安装孔,横轴通过横轴固定套设于安装孔上,粉碎箱外固定安装有两个伺服电机,伺服电机的输出轴与横轴传动连接。
作为一种优选的实施方式,所述反应箱的一侧固定安装有水平设置的放置板,放置板上固定安装有马达,马达的竖直与往复丝杆传动连接,反应箱的一侧设有倾斜设置的加固杆,加固杆的顶部与放置板的底部固定连接。
作为一种优选的实施方式,所述运动块上开设有空腔,空腔内设有减速电机,所述减速电机的输出轴与搅拌杆传动连接,运动块的底部转动安装有竖直设置的连接杆,连接杆的底部与搅拌杆固定连接,连接杆的顶部延伸至空腔内并与减速电机的输出轴固定连接。
作为一种优选的实施方式,所述反应箱的底部固定安装有支撑柱体,支撑柱体为四个,四个支撑柱体分别设置于反应箱底部的四角位置。
与现有技术相比,本实用新型的有益效果是:
通过进料斗放入废料,然后伺服电机带动横轴转动使得粉碎辊转动对废料进行碾压粉碎,粉碎后通过连通管进入反应箱内,通过上药管加入铝塑分离药剂,使得药剂与粉碎的铝塑废料混合,通过粉碎使得混合更充分,接触面积更大,同时通过减速电机带动连接杆转动使得搅拌杆进行转动搅拌,实现对反应物的搅拌,通过马达所述往复丝杆进行转动使得运动块进行水平移动实现搅拌杆在转动的同时进行来回水平移动,实现大范围搅拌,使得反应物充分混合,反应更充分完全,把铝溶解在溶液中,塑料不溶于溶液。
通过打开排出管上的阀门混合液进入过滤管内,通过滤板进行过滤,塑料被滤板挡住,铝溶液通过滤板,实现铝和塑料的分离。通过双向电机带动螺纹杆转动使得活动板在过滤管内向左上方移动,使得活动板和滤板推动塑料滤渣排出过滤管,实现了塑料的提取,分离方便。
本实用新型通过粉碎和搅拌实现铝塑废料的充分反应,使得反应物充分混合,反应更充分完全,分离效果好,并通过过滤分离,实现铝塑分离,使用质量高。
附图说明
图1为本实用新型的结构示意图;
图2为本实用新型的反应箱剖视结构示意图;
图3为本实用新型的过滤管剖视结构示意图。
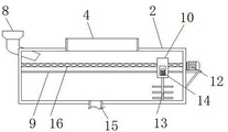
图中:1、粉碎箱;2、反应箱;3、过滤管;4、连通管;5、进料斗;6、横轴;7、粉碎辊;8、上药管;9、滑杆;10、运动块;11、双向电机;12、马达;13、搅拌杆;14、减速电机;15、排出管;16、往复丝杆;17、活动板;18、滤板;19、螺纹杆。
具体实施方式
下面结合实施例对本实用新型做进一步的描述。
以下实施例用于说明本实用新型,但不能用来限制本实用新型的保护范围。实施例中的条件可以根据具体条件做进一步的调整,在本实用新型的构思前提下对本实用新型的方法简单改进都属于本实用新型要求保护的范围。
请参阅图1-3,本实用新型提供一种抗老化的PVC铝塑共挤底板加工用废料处理装置,包括粉碎箱1,粉碎箱1的顶部设有进料斗5,粉碎箱1内转动安装有两个粉碎辊7,两个粉碎辊7啮合,粉碎箱1的底部安装有反应箱2,粉碎箱1和反应箱2之间设有连通管4,反应箱2的一侧设有上药管8,反应箱2内安装有水平设置的滑杆9,滑杆9上滑动套设有运动块10,运动块10的底部转动安装有搅拌杆13,反应箱2内转动安装有水平设置的往复丝杆16,往复丝杆16与运动块10螺纹连接,反应箱2的下方设有竖直设置的连接杆,连接杆的底部固定安装有倾斜设置的过滤管3,反应箱2的底部安装有排出管15,排出管15上设有阀门,排出管15的底部与过滤管3固定连接,进料斗5内滑动安装有活动板17,活动板17上开设有通孔,通孔内设有滤板18。
活动板17的一端安装有两个斜杆,活动板17内安装有两个固定块,斜杆的一端安装有斜板,斜板与固定块之间转动安装有螺纹杆19,螺纹杆19与活动板17螺纹连接,斜板上设有双向电机11,双向电机11的输出轴与螺纹杆19传动连接(见图1和图3);通过双向电机11带动螺纹杆19转动使得活动板17在过滤管3内向左上方移动,使得活动板17和滤板18推动塑料滤渣排出过滤管3,实现了塑料的提取。
粉碎箱1内转动安装有两个水平设置的横轴6,横轴6上开设有水平设置的安装孔,横轴6通过横轴固定套设于安装孔上,粉碎箱1外固定安装有两个伺服电机,伺服电机的输出轴与横轴传动连接(见图1);伺服电机带动横轴6转动使得粉碎辊转动对废料进行碾压粉碎。
反应箱2的一侧固定安装有水平设置的放置板,放置板上固定安装有马达12,马达12的竖直与往复丝杆16传动连接,反应箱2的一侧设有倾斜设置的加固杆,加固杆的顶部与放置板的底部固定连接(见图1和图2);通过马达12所述往复丝杆16进行转动使得运动块10进行水平移动实现搅拌杆13在转动的同时进行来回水平移动。
运动块10上开设有空腔,空腔内设有减速电机14,减速电机14的输出轴与搅拌杆13传动连接,运动块10的底部转动安装有竖直设置的连接杆,连接杆的底部与搅拌杆13固定连接,连接杆的顶部延伸至空腔内并与减速电机14的输出轴固定连接(见图1和图2);通过减速电机14带动连接杆转动使得搅拌杆13进行转动搅拌,实现对反应物的搅拌。
反应箱2的底部固定安装有支撑柱体,支撑柱体为四个,四个支撑柱体分别设置于反应箱2底部的四角位置(见图1);支撑柱体用于支撑反应箱2,支撑稳定。
在使用时,通过进料斗5放入废料,然后伺服电机带动横轴6转动使得粉碎辊转动对废料进行碾压粉碎,粉碎后通过连通管4进入反应箱2内,通过上药管加入铝塑分离药剂,使得药剂与粉碎的铝塑废料混合,通过粉碎使得混合更充分,接触面积更大,同时通过减速电机14带动连接杆转动使得搅拌杆13进行转动搅拌,实现对反应物的搅拌,通过马达12所述往复丝杆16进行转动使得运动块10进行水平移动实现搅拌杆13在转动的同时进行来回水平移动,实现大范围搅拌,使得反应物充分混合,反应更充分完全,把铝溶解在溶液中,塑料不溶于溶液。通过打开排出管15上的阀门混合液进入过滤管3内,通过滤板18进行过滤,塑料被滤板18挡住,铝溶液通过滤板18,实现铝和塑料的分离。通过双向电机11带动螺纹杆19转动使得活动板17在过滤管3内向左上方移动,使得活动板17和滤板18推动塑料滤渣排出过滤管3,实现了塑料的提取,分离方便。
尽管已经示出和描述了本实用新型的实施例,对于本领域的普通技术人员而言,可以理解在不脱离本实用新型的原理和精神的情况下可以对这些实施例进行多种变化、修改、替换和变型,本实用新型的范围由所附权利要求及其等同物限定。
Claims (6)
1.一种抗老化的PVC铝塑共挤底板加工用废料处理装置,包括粉碎箱(1),其特征在于:所述粉碎箱(1)的顶部设有进料斗(5),所述粉碎箱(1)内转动安装有两个粉碎辊(7),两个粉碎辊(7)啮合,所述粉碎箱(1)的底部安装有反应箱(2),粉碎箱(1)和反应箱(2)之间设有连通管(4),所述反应箱(2)的一侧设有上药管(8),所述反应箱(2)内安装有水平设置的滑杆(9),所述滑杆(9)上滑动套设有运动块(10),所述运动块(10)的底部转动安装有搅拌杆(13),所述反应箱(2)内转动安装有水平设置的往复丝杆(16),往复丝杆(16)与运动块(10)螺纹连接,所述反应箱(2)的下方设有竖直设置的连接杆,连接杆的底部固定安装有倾斜设置的过滤管(3),所述反应箱(2)的底部安装有排出管(15),排出管(15)上设有阀门,排出管(15)的底部与过滤管(3)固定连接,所述进料斗(5)内滑动安装有活动板(17),活动板(17)上开设有通孔,通孔内设有滤板(18)。
2.根据权利要求1所述的一种抗老化的PVC铝塑共挤底板加工用废料处理装置,其特征在于:所述活动板(17)的一端安装有两个斜杆,活动板(17)内安装有两个固定块,斜杆的一端安装有斜板,斜板与固定块之间转动安装有螺纹杆(19),螺纹杆(19)与活动板(17)螺纹连接,斜板上设有双向电机(11),双向电机(11)的输出轴与螺纹杆(19)传动连接。
3.根据权利要求1所述的一种抗老化的PVC铝塑共挤底板加工用废料处理装置,其特征在于:所述粉碎箱(1)内转动安装有两个水平设置的横轴(6),所述横轴(6)上开设有水平设置的安装孔,横轴(6)通过横轴固定套设于安装孔上,粉碎箱(1)外固定安装有两个伺服电机,伺服电机的输出轴与横轴传动连接。
4.根据权利要求1所述的一种抗老化的PVC铝塑共挤底板加工用废料处理装置,其特征在于:所述反应箱(2)的一侧固定安装有水平设置的放置板,放置板上固定安装有马达(12),马达(12)的竖直与往复丝杆(16)传动连接,反应箱(2)的一侧设有倾斜设置的加固杆,加固杆的顶部与放置板的底部固定连接。
5.根据权利要求1所述的一种抗老化的PVC铝塑共挤底板加工用废料处理装置,其特征在于:所述运动块(10)上开设有空腔,空腔内设有减速电机(14),所述减速电机(14)的输出轴与搅拌杆(13)传动连接,运动块(10)的底部转动安装有竖直设置的连接杆,连接杆的底部与搅拌杆(13)固定连接,连接杆的顶部延伸至空腔内并与减速电机(14)的输出轴固定连接。
6.根据权利要求1所述的一种抗老化的PVC铝塑共挤底板加工用废料处理装置,其特征在于:所述反应箱(2)的底部固定安装有支撑柱体,支撑柱体为四个,四个支撑柱体分别设置于反应箱(2)底部的四角位置。
Priority Applications (1)
| Application Number | Priority Date | Filing Date | Title |
|---|---|---|---|
| CN202020581204.XU CN212446208U (zh) | 2020-04-18 | 2020-04-18 | 一种抗老化的pvc铝塑共挤底板加工用废料处理装置 |
Applications Claiming Priority (1)
| Application Number | Priority Date | Filing Date | Title |
|---|---|---|---|
| CN202020581204.XU CN212446208U (zh) | 2020-04-18 | 2020-04-18 | 一种抗老化的pvc铝塑共挤底板加工用废料处理装置 |
Publications (1)
| Publication Number | Publication Date |
|---|---|
| CN212446208U true CN212446208U (zh) | 2021-02-02 |
Family
ID=74471637
Family Applications (1)
| Application Number | Title | Priority Date | Filing Date |
|---|---|---|---|
| CN202020581204.XU Expired - Fee Related CN212446208U (zh) | 2020-04-18 | 2020-04-18 | 一种抗老化的pvc铝塑共挤底板加工用废料处理装置 |
Country Status (1)
| Country | Link |
|---|---|
| CN (1) | CN212446208U (zh) |
Cited By (2)
| Publication number | Priority date | Publication date | Assignee | Title |
|---|---|---|---|---|
| CN114589194A (zh) * | 2022-04-02 | 2022-06-07 | 临邑睿能再生资源利用有限公司 | 一种铝塑再生资源循环利用装置及其制备方法 |
| CN117484742A (zh) * | 2024-01-02 | 2024-02-02 | 临邑睿能再生资源利用有限公司 | 一种铝塑废料中铝箔分离设备以及方法 |
-
2020
- 2020-04-18 CN CN202020581204.XU patent/CN212446208U/zh not_active Expired - Fee Related
Cited By (2)
| Publication number | Priority date | Publication date | Assignee | Title |
|---|---|---|---|---|
| CN114589194A (zh) * | 2022-04-02 | 2022-06-07 | 临邑睿能再生资源利用有限公司 | 一种铝塑再生资源循环利用装置及其制备方法 |
| CN117484742A (zh) * | 2024-01-02 | 2024-02-02 | 临邑睿能再生资源利用有限公司 | 一种铝塑废料中铝箔分离设备以及方法 |
Similar Documents
| Publication | Publication Date | Title |
|---|---|---|
| CN210125366U (zh) | 一种利用科威特与卡斯蒂拉原油混合生产沥青的生产设备 | |
| CN212446208U (zh) | 一种抗老化的pvc铝塑共挤底板加工用废料处理装置 | |
| CN207653460U (zh) | 一种肉产品加工用灌肠机 | |
| CN113333076A (zh) | 一种旧沥青混凝土回收装置 | |
| CN215693623U (zh) | 一种化学试剂助剂生产用混合装置 | |
| CN221564999U (zh) | 一种物料螺旋输送装置 | |
| CN119869718A (zh) | 一种瓦片生产废料用回收粉碎设备 | |
| CN220277086U (zh) | 一种混凝土原料破碎装置 | |
| CN112757469A (zh) | 一种建筑垃圾再生保温砖制造设备及制造工艺 | |
| CN215619064U (zh) | 一种便于出料的混凝土搅拌装置 | |
| CN117944178A (zh) | 混凝土砌块废砂浆再利用装置 | |
| CN215842586U (zh) | 一种植物萃取眼部专用按摩膏混料装置 | |
| CN111203302B (zh) | 一种高强度混凝土及其生产系统与生产方法 | |
| CN223342623U (zh) | 一种节能减排型再生胶脱硫装置 | |
| CN223376309U (zh) | 一种尾渣熔炼装置 | |
| CN219482874U (zh) | 一种注射液生产用原料粉碎设备 | |
| CN217752670U (zh) | 一种废旧轮胎加工的双螺杆挤出设备 | |
| CN222969707U (zh) | 一种用于化工原料混合装置 | |
| CN219993222U (zh) | 一种便于压实修补物的地坪修补装置 | |
| CN221492675U (zh) | 一种用于萃取罐的粉碎进料装置 | |
| CN223299891U (zh) | 一种利用粘土新材料制备污水处理药剂的生产设备 | |
| CN217068703U (zh) | 一种环保型水泥生产用抗裂防水剂加工设备 | |
| CN214974274U (zh) | 一种园林绿化中建筑垃圾资源化利用装置 | |
| CN222197099U (zh) | 一种方便出料的高分子材料粉碎装置 | |
| CN112058387B (zh) | 一种建筑固废综合再利用粉碎处理系统 |
Legal Events
| Date | Code | Title | Description |
|---|---|---|---|
| GR01 | Patent grant | ||
| GR01 | Patent grant | ||
| CF01 | Termination of patent right due to non-payment of annual fee |
Granted publication date: 20210202 |
|
| CF01 | Termination of patent right due to non-payment of annual fee |