CN212444934U - Panel processing fixing device - Google Patents

Panel processing fixing device Download PDF

Info

Publication number
CN212444934U
CN212444934U CN202021219559.0U CN202021219559U CN212444934U CN 212444934 U CN212444934 U CN 212444934U CN 202021219559 U CN202021219559 U CN 202021219559U CN 212444934 U CN212444934 U CN 212444934U
Authority
CN
China
Prior art keywords
plate
fixed
clamping plate
supporting
fixing device
Prior art date
Legal status (The legal status is an assumption and is not a legal conclusion. Google has not performed a legal analysis and makes no representation as to the accuracy of the status listed.)
Expired - Fee Related
Application number
CN202021219559.0U
Other languages
Chinese (zh)
Inventor
朱晓燕
Current Assignee (The listed assignees may be inaccurate. Google has not performed a legal analysis and makes no representation or warranty as to the accuracy of the list.)
Individual
Original Assignee
Individual
Priority date (The priority date is an assumption and is not a legal conclusion. Google has not performed a legal analysis and makes no representation as to the accuracy of the date listed.)
Filing date
Publication date
Application filed by Individual filed Critical Individual
Priority to CN202021219559.0U priority Critical patent/CN212444934U/en
Application granted granted Critical
Publication of CN212444934U publication Critical patent/CN212444934U/en
Expired - Fee Related legal-status Critical Current
Anticipated expiration legal-status Critical

Links

Images

Landscapes

  • Connection Of Plates (AREA)

Abstract

The utility model relates to a panel processing field specifically is a panel processing fixing device, including fixed case, a mount pad is installed respectively to the inside left and right sides of fixed case, just install the screw drive subassembly that is used for driving two mount pads and is close to or keeps away from in step on the fixed case, the upside of mount pad is installed respectively and is fixed with telescoping cylinder and support column, the upper end installation of telescoping cylinder is fixed with L shape frame, and the upper end installation of support column is fixed with the support deflector, just support the vertical portion cooperation sliding connection of deflector and L shape frame, the horizontal part downside installation of L shape frame is fixed with the punch holder, and the installation is fixed with the lower plate on the support deflector of punch holder below, the movable opening that a is used for supporting deflector and L shape frame removal has still been seted up respectively to the top both sides of fixed case. The utility model discloses novel structure conveniently carries out stable regulation and control, the fixed needs of panel of adaptable not unidimensional.

Description

Panel processing fixing device
Technical Field
The utility model relates to a panel processing field specifically is a panel processing fixing device.
Background
The plate is a flat rectangular building material plate with standard size, is applied to the building industry, is used as a component of a wall, a ceiling or a floor, and is also a metal plate formed by forging, rolling or casting.
When adding panel, need use fixing device, but the general structure tradition of current fixing device, inconvenient regulation and control that carries on is inconvenient, can't adapt to the fixed needs of panel of unidimensional not.
Therefore, in view of the above situation, there is an urgent need to develop a plate processing and fixing device to overcome the shortcomings in the current practical application.
Disclosure of Invention
An object of the embodiment of the utility model is to provide a panel processing fixing device to solve the problem that proposes among the above-mentioned background art.
In order to achieve the above object, the embodiment of the present invention provides the following technical solutions:
the utility model provides a panel processing fixing device, includes fixed case, a mount pad is installed respectively to the inside left and right sides of fixed case, just install on the fixed case and be used for driving two mount pads and be close to or the screw drive subassembly of keeping away from in step, the upside of mount pad is installed respectively and is fixed with telescoping cylinder and support column, the upper end installation of telescoping cylinder is fixed with L shape frame, and the upper end installation of support column is fixed with the support deflector, just support the vertical portion cooperation sliding connection of deflector and L shape frame, the horizontal part downside installation of L shape frame is fixed with the punch holder, and the installation is fixed with the lower plate on the support deflector of punch holder below, the activity mouth that one was used for supporting deflector and L shape frame removal is still seted up respectively to the top both sides of fixed case.
Compared with the prior art, the utility model discloses the beneficial effect of embodiment is:
according to the plate processing and fixing device, the distance between the two mounting seats can be adjusted through the screw driving assembly, so that the distance between the two groups of clamping devices can be adjusted to meet the fixing requirements of plates with different sizes; the L-shaped frame can be driven to move up and down through the telescopic cylinder, and the plate can be clamped and fixed through the matching of the upper clamping plate and the lower clamping plate; and set up L shape frame and support deflector cooperation sliding connection, can further promote the stability that L shape frame reciprocated, hoisting device's life is worth promoting.
Drawings
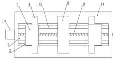
Fig. 1 is a schematic front sectional structure view of an embodiment of the present invention.
Fig. 2 is a schematic top view of the embodiment of the present invention.
Fig. 3 is a schematic perspective view of the supporting guide plate and the L-shaped frame of the embodiment of the present invention.
Fig. 4 is a schematic perspective view of an installation seat portion in an embodiment of the present invention.
In the figure: 1-movable opening, 2-supporting guide plate, 3-L-shaped frame, 4-upper clamping plate, 5-lower clamping plate, 6-supporting column, 7-plate, 8-middle supporting plate, 9-positive and negative threaded rod, 10-foot pad, 11-fixing box, 12-mounting seat, 13-telescopic cylinder, 14-servo motor and 15-guide rod.
Detailed Description
The technical solution of the present patent will be described in further detail with reference to the following embodiments.
Reference will now be made in detail to embodiments of the present patent, examples of which are illustrated in the accompanying drawings, wherein like or similar reference numerals refer to the same or similar elements or elements having the same or similar function throughout. The embodiments described below with reference to the drawings are exemplary only for the purpose of explaining the present patent and are not to be construed as limiting the present patent.
Example 1
Referring to fig. 1-2, in an embodiment of the present invention, a plate processing and fixing device includes a fixing box 11, a mounting seat 12 is respectively installed on the left and right sides of the inside of the fixing box 11, and a screw driving component for driving the two mounting seats 12 to synchronously approach or depart from is arranged on the fixed box 11, a telescopic cylinder 13 and a support column 6 are respectively arranged and fixed on the upper side of the mounting seat 12, an L-shaped frame 3 is arranged and fixed on the upper end of the telescopic cylinder 13, a support guide plate 2 is arranged and fixed on the upper end of the support column 6, the supporting guide plate 2 is connected with the vertical part of the L-shaped frame 3 in a sliding way in a matching way, an upper clamping plate 4 is fixedly arranged at the lower side of the horizontal part of the L-shaped frame 3, a lower clamping plate 5 is fixedly arranged on the supporting guide plate 2 below the upper clamping plate 4, two sides of the top of the fixed box 11 are respectively provided with a movable opening 1 for supporting the guide plate 2 and the L-shaped frame 3 to move.
In the embodiment of the utility model, the distance between the two mounting seats 12 can be adjusted by the screw driving component, and further the distance between the two groups of clamping devices can be adjusted to adapt to the fixing requirements of the plates 7 with different sizes; the L-shaped frame 3 can be driven to move up and down through the telescopic cylinder 13, and the plate 7 can be clamped and fixed through the matching of the upper clamping plate 4 and the lower clamping plate 5; and set up L shape frame 3 and support deflector 2 cooperation sliding connection, can further promote the stability that L shape frame 3 reciprocated, hoisting device's life is worth promoting.
Example 2
Referring to fig. 1-4, the difference between the present embodiment and embodiment 1 is:
in this embodiment, as shown in fig. 1, 2 and 4, the screw drive subassembly is including positive and negative threaded rod 9, guide bar 15 and servo motor 14, the middle screw-thread fit of mount pad 12 is connected with a positive and negative threaded rod 9, and both sides cooperate sliding connection respectively to have a guide bar 15 around mount pad 12, just positive and negative threaded rod 9 and the equal level setting of guide bar 15, lateral wall rotation about both ends and the fixed case 11 of positive and negative threaded rod 9 are connected, and the outside of fixed case 11 still is equipped with the servo motor 14 of being connected with positive and negative threaded rod 9 one end, can drive positive and negative threaded rod 9 rotatory through servo motor 14, the both ends and the fixed case 11 left and right sides wall fixed connection of guide bar 15 are used for carrying out stable direction to mount pad 12 through guide bar 15.
In this embodiment, as shown in fig. 1 to 3, the upper surface of the supporting guide plate 2 is flush with the upper surface of the fixed box 11, and the supporting guide plate 2 is in sliding connection with the front and rear side port walls of the movable port 1 in a matching manner, so that the operation stability of the supporting guide plate 2 is further improved.
The utility model discloses a set up the fixed effect of plate 7, including punch holder 4, lower plate 5, the equal level of punch holder 4 and lower plate sets up, just the structural dimension of punch holder 4 and lower plate 5 is the same, and the vertical setting that corresponds of punch holder 4 and lower plate 5, the middle part of punch holder 4 and the horizontal part downside of L shape frame 3 are connected fixedly, and both ends salient sets up in the front and back terminal surface of L shape frame 3 around punch holder 4, and lower plate 5 still slides with the top cooperation of fixed box 11 and sets up, promotes the tight fixed effect of clamp of punch holder 4 and lower plate.
Fixed box 11's top middle still installation is fixed with well fagging 8, and the upper surface of well fagging 8 flushes with the upper surface of lower plate 5, has the effect to the middle part auxiliary stay of panel 7 through well fagging 8.
In this embodiment, as shown in fig. 1, a plurality of foot pads 10 are further installed at the bottom of the fixing box 11, the foot pads 10 are made of hard rubber materials, and the fixing box 11 can be supported stably in an auxiliary manner through the foot pads 10.
In this embodiment, the servo motor 14 and the telescopic cylinder 13 are controlled by a PLC controller disclosed in the prior art, and the specific types and circuit connections of the PLC controller, the servo motor 14, and the telescopic cylinder 13 are not specifically limited, and can be flexibly set in actual application.
The circuits, electronic components and modules involved are prior art and may be implemented by those skilled in the art without further elaboration, and the invention also does not relate to improvements in software and methods.
The above is only the preferred embodiment of the present invention, and it should be noted that, for those skilled in the art, without departing from the concept of the present invention, several modifications and improvements can be made, which should also be regarded as the protection scope of the present invention, and these will not affect the effect of the implementation of the present invention and the practicability of the patent.

Claims (7)

1. The utility model provides a panel processing fixing device, includes fixed case (11), its characterized in that:
the left side and the right side of the inside of the fixed box (11) are respectively provided with a mounting seat (12), and the fixed box (11) is provided with a screw driving component for driving the two mounting seats (12) to synchronously approach or leave;
a telescopic cylinder (13) and a supporting column (6) are respectively fixedly installed on the upper side of the installation base (12), an L-shaped frame (3) is fixedly installed at the upper end of the telescopic cylinder (13), a supporting guide plate (2) is fixedly installed at the upper end of the supporting column (6), and the supporting guide plate (2) is in sliding connection with the vertical part of the L-shaped frame (3) in a matching mode;
an upper clamping plate (4) is fixedly arranged on the lower side of the horizontal part of the L-shaped frame (3), and a lower clamping plate (5) is fixedly arranged on the supporting guide plate (2) below the upper clamping plate (4);
and two movable openings (1) used for supporting the guide plate (2) and the L-shaped frame (3) to move are respectively formed in two sides of the top of the fixed box (11).
2. A plate processing fixing device according to claim 1, wherein the screw driving component comprises a positive and negative threaded rod (9), a guide rod (15) and a servo motor (14);
the middle screw thread cooperation of mount pad (12) is connected with a positive and negative threaded rod (9), and both sides cooperate sliding connection respectively to have a guide bar (15) around mount pad (12), and lateral wall rotates about the both ends of positive and negative threaded rod (9) and fixed box (11) to be connected, and the outside of fixed box (11) still is equipped with servo motor (14) of being connected with positive and negative threaded rod (9) one end, lateral wall fixed connection about the both ends of guide bar (15) and fixed box (11).
3. A plate processing fixture according to claim 2, wherein said forward and reverse threaded rods (9) and said guide rods (15) are horizontally disposed.
4. A plate processing fixing device according to any one of claims 1-3, characterized in that the upper surface of the supporting and guiding plate (2) is flush with the upper surface of the fixing box (11), and the supporting and guiding plate (2) is in sliding connection with the front and rear side opening walls of the movable opening (1).
5. A plate processing and fixing device according to claim 4, characterized in that the upper clamping plate (4) and the lower clamping plate (5) are horizontally arranged, and the structural sizes of the upper clamping plate (4) and the lower clamping plate (5) are the same;
the upper clamping plate (4) and the lower clamping plate (5) are vertically and correspondingly arranged, the middle part of the upper clamping plate (4) is fixedly connected with the lower side of the horizontal part of the L-shaped frame (3), and the front end and the rear end of the upper clamping plate (4) protrude out of the front end face and the rear end face of the L-shaped frame (3);
the lower clamping plate (5) is matched with the top of the fixed box (11) in a sliding mode.
6. A plate processing and fixing device as claimed in claim 5, wherein a middle supporting plate (8) is further installed and fixed in the middle of the top of the fixing box (11), and the upper surface of the middle supporting plate (8) is flush with the upper surface of the lower clamping plate (5).
7. A plate processing and fixing device according to claim 4, wherein a plurality of foot pads (10) are further mounted at the bottom of the fixing box (11), and the foot pads (10) are made of hard rubber materials.
CN202021219559.0U 2020-06-29 2020-06-29 Panel processing fixing device Expired - Fee Related CN212444934U (en)

Priority Applications (1)

Application Number Priority Date Filing Date Title
CN202021219559.0U CN212444934U (en) 2020-06-29 2020-06-29 Panel processing fixing device

Applications Claiming Priority (1)

Application Number Priority Date Filing Date Title
CN202021219559.0U CN212444934U (en) 2020-06-29 2020-06-29 Panel processing fixing device

Publications (1)

Publication Number Publication Date
CN212444934U true CN212444934U (en) 2021-02-02

Family

ID=74462561

Family Applications (1)

Application Number Title Priority Date Filing Date
CN202021219559.0U Expired - Fee Related CN212444934U (en) 2020-06-29 2020-06-29 Panel processing fixing device

Country Status (1)

Country Link
CN (1) CN212444934U (en)

Cited By (2)

* Cited by examiner, † Cited by third party
Publication number Priority date Publication date Assignee Title
CN113414252A (en) * 2021-06-24 2021-09-21 淮安益恒精密机械制造有限公司 Processing technology and processing equipment for multipurpose storage rack
CN115503263A (en) * 2022-10-20 2022-12-23 合肥学院 Thermosetting forming method and device for fiber composite material

Cited By (3)

* Cited by examiner, † Cited by third party
Publication number Priority date Publication date Assignee Title
CN113414252A (en) * 2021-06-24 2021-09-21 淮安益恒精密机械制造有限公司 Processing technology and processing equipment for multipurpose storage rack
CN113414252B (en) * 2021-06-24 2022-12-13 淮安益恒精密机械制造有限公司 Processing technology and processing equipment for multipurpose storage rack
CN115503263A (en) * 2022-10-20 2022-12-23 合肥学院 Thermosetting forming method and device for fiber composite material

Similar Documents

Publication Publication Date Title
CN212444934U (en) Panel processing fixing device
CN214024486U (en) Motor housing processing equipment
CN212123137U (en) Spring clamping device
CN218560868U (en) Axle through shaft hanger
CN113315013A (en) Power distribution cabinet assembling equipment and assembling process thereof
CN218755458U (en) Support for fixing glass substrate
CN218276333U (en) New energy automobile motor assembly bracket
CN217924838U (en) Beam-slab combined type supporting top
CN215658624U (en) Fixed point welding device for steel structural member production
CN213104140U (en) Full-electric quick-change die terminal machine
CN212945015U (en) Stamping device is used in production of general gasoline engine decompression mechanism
CN216967800U (en) Automobile parts production and processing presss from both sides with getting mobile device
CN219659623U (en) Anti-seismic solar photovoltaic bracket
CN210257032U (en) Injection mold's stop gear
CN215973867U (en) PSU resin rod processing that stability is strong is with pressing from both sides device of getting
CN210548667U (en) High-efficient continuous mould electric spark pore electrical discharge machining equipment
CN218320629U (en) Lifting device for power equipment installation
CN218776943U (en) Mould processing location frock
CN216654945U (en) Novel wet electric dust removal anode plate is fixed device
CN223492312U (en) A laser-engraved clamp with a U-shaped frame
CN213379586U (en) Double-station plate shearing machine with clamping function
CN212967549U (en) Joint assembling device of automobile relay
CN217254318U (en) Air blowing screw machine
CN220660776U (en) Eccentric cam fixing clamp
CN215357329U (en) Mechanism for realizing rapid machining of front rack of loader

Legal Events

Date Code Title Description
GR01 Patent grant
GR01 Patent grant
CF01 Termination of patent right due to non-payment of annual fee

Granted publication date: 20210202

CF01 Termination of patent right due to non-payment of annual fee